AGATHA 2800 - Fier de călcat TAURUS - Manual de utilizare gratuit
Găsiți gratuit manualul dispozitivului AGATHA 2800 TAURUS în format PDF.
Întrebările utilizatorilor despre AGATHA 2800 TAURUS
0 întrebare despre acest aparat. Răspundeți la cele pe care le cunoașteți sau puneți-vă propria.
Pune o întrebare nouă despre acest aparat
Descărcați instrucțiunile pentru Fier de călcat în format PDF gratuit! Găsiți manualul dvs. AGATHA 2800 - TAURUS și luați din nou în mână dispozitivul dvs. electronic. Pe această pagină sunt publicate toate documentele necesare pentru utilizarea dispozitivului dvs. AGATHA 2800 mărcii TAURUS.
MANUAL DE UTILIZARE AGATHA 2800 TAURUS
Fier de călcat cu abur
IapHa IOtna
S OBC = S BOC + S_ CBA






Fig.2

Fig.3
Espanol
Plancha de vapor
Geyser Eco 2600, 2800, 3000
Distinguido paciente:
Vă multumim pentru ca ați ales sa achizitionați un produs marca TAURUS.
Datorità technologiei sale, designului si modului de functione, precum si faptului ca depaseste cele mai stricte standarde de calitate, se poate garantà outilizare complet satisfácatoare si de lunga durata a produsului.
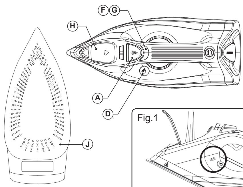
DESCRIBE
A Buton pentru pulverizare
B Buton pentru jetul de abur
C Controlul jetului de abur
D Buton de auto-curatare
E Regulator de temperatura
F Lampa pilot
G Indicator luminos pentru oprire automata
H Orificiu de umplere
I Duză de pulverizare
J Talpa fierului de calcat
K Cartus anti-tartru**
*Disponibil doar pe modele ECO 3000 Şi Geyser ECO 2800
-
Disponibil doar pentru modelul Geyser ECO 3000
-
Inainte de a porni aparatul, cititi cu atenție aciste instruciuniși păstrați-le pentru a le consulta in viitor. Nerespectarea acestor instruciuni poate provoca un accident.
RECOMANDÁRİ ŞI AVERTIZÁRİ PRIVIND SIGURANTA
- Aparatul trebuie utilizes i păstrat pe o suprață plană și stabilă.
-
Când aparatul este plasat pe suportul său, verificati ca suprafata pe care stă să fie stabilă.
-
Nu lasaşi aparatul nesuprave-gheat atunci când acesta este connectat la rețeaua de energia electrică.
- Acest aparat poate fi folosit de persone neobisnuite cu manevrarea sa si de persone cu handicap, sub supraveghe- re sau instruciuni privind utilizes area aparatului in condiţi de siguranta, astfel incât sa inteleaga pericolele prezentate de acesta.
- Curățareași intreținerea nu trebuie efectuate de copii fără supraveghere.
- Nu lasaşi aparatul Şi cablul acestuia laindhăna copiilor cu vârsta sub 8 ani.
- Acest aparat nu este o jucărie. Copiii trebuie supravegheata pentru a va asigura că nu se joacă cu aparatul.
- Nuutilizati aparatul dacăa fost scâpat pe jos, dacă există semne vizibile de deteriorare saudacă prezintă scurgeri.
- Temperatura suprafetelor accesibile poate fi ridicata in timpul folosirii aparatului.
- Dacă legătura la priză este deteriorata, aceasta trebuie înlocuită. Duceti aparatul la un serviciu de asistentă tehnica autorizat. Pentru a preveni orice pericol, nu incercati să-l demonțași sau reparati dvs.
Acest symbolism arata că suprafata se poate incalzi in tampul folosirii.
- Inainte de a umple rezervorul de apă, scoateşi aparatul din przyă.
- Verificati dacă tensiunea indicată pe plăcuța de identificare a aparatului corespunde tensiunii de la priză, înnte de a branșa aparatul.
- Conectaţi aparatul la o priză cu impamantare de 16 A.
- Stecherul aparatului trebuie să intre corect in przyă. Nu modificati stecherul. Nu utilizati adaptoare pentru stechere.
- Nu utilizati s i nici nu depozitate aparatul la exterior.
- Nu lasa ti aparatul in ploaie sau expus la umezeală. In cazul in care se infiltreaza apă in interiorul aparatului, riscul de electrocutare va creste.
- Nu intindei cablul de alimentare. Nu utilizati niciodata cablul electric pentru a ridica, transporte sau decupla aparatul.
- Nu infasurati cablul in jurul aparatului.
- Asigurat-vacablulelectric nueste blocat sauc incurcat.
- Nu permiteci cablului de conexiune să atârne liber sa să intre în contact cu suprața fierbinte a aparatului.
- Verificati starea cablului de alimentare. Cablure deteriorate sau incurcate maresc riscul de electrocutare.
- Nu atingeti stecherul cu mainile ude.
- Nu utiliziati aparatul dacă acesto are stecherul sau cablul de alimentare deteriorat.
- Daca una din pàrtile carcasei aparatului se sparge, deconectați imedit aparatul de la rețea, pentru a preveni posibilitatea unuișoc electric.
- Nu atingeti pàrtile fncălìze ale aparatului, deoarece ele va pot produce arsuri grave.
UTILIZARE SINGRJIRE:
- Desfâsuarti complet cablul de alimentare al aparatului inaunte de ficare'utilizare.
- Nu utiliziati aparatul, dacă accesoriile atasate sunt defecte. Inlocuiti-le imediat.
- Nu utilizes aparatul dacă intrerupătorul pornit/oprinit nu functionează.
-
Utilizati mnerele aparatului pentru a-l apuca sau deplasa.
-
Nuutilizati aparatul dacă este inclinat in susși nu il intoarceti.
- Nu răsturnaşi aparatul în timpul UTILIZARIi sau dacă este conectat la rețeaua de alimentare.
- Pentru a mentine tratamentul antiaderent in stare buna, nu folositi ustensile metalice sau ascutite.
- Respectaţi indicatoră de nival MAX. (Fig.1)
- Decuplate aparatul de la priză atunci cand nu-l folositi si inainte de a-l cură.
- Acest aparat este destinat'utilizarii in gospodarie, nu profesionale sau industriale.
- Acest aparat trebuie depositat intr-un loc care sá nu fie la indemàna copiilor sí/sau a personelor cu capacităti fizice, senzoriale sau mentale reduse, sau care nu sunt familiarizate cu Utilizarea acestuia
- Nu deposizatişi nici nu transportati aparatul dacă mai este fierbinte.
- Dacă fierul de calcat este lâsat in carcasasa la temperatură maxima pentru o perioadaprulungită de tip, aceasta poate duce la decolorare, care nu va afecta functiònarea aparatului.
- Pentru a va asigura că fierul de calcat functionează corespunzător, păstrați fata fierului netedăși nu o loviți de obiecte metalice (de exemplu, mese de calcat, nasturi, fermoare...)
- Se recomanda utilizes area apei distilate, mai ales dacá apa din zona dvs. contine orice fel de nisip sau este durá (contine calciu sau magneziu).
- Capacul trebuie să fie进展情况 mod corespunzător进展情况 de a porni aparatul.
- Nu lasaşi niciodata aparatul conectatși nesupravegheat dacă nu este Utilizat. Astfel se economisește energiași se prelungește durata de viță a aparatului.
- Nu puneṇi niciodata aparatul pe o suprafata in tampul utilizārii.
- Nu utilizati aparatul pe vreo portiune a corpului unei personane Sau unui animal.
- Nu utilizati aparatul in preajma animalelor.
- Nu utilità aparatul pentru a usca articole textile de nici un tip.
- Setarea comenzii pentru termostat la nivel minim (MIN) nu garanteză oprirea completă a fierului de calcat.
SERVICE:
- Asigurati-vá că lucrările de service sunt efectuate doar de personal calificat și că sunt utilize doar PIEse de schimb și accesorii originale pentru înlocuirea pieselor/accesoriilor existente.
- Oriceutilizaregresita saunerespectareinastructiunilorpoate fi periculoasa,anulandsi
lipsind de efect garantia si responsabilitatea producatorului.
INSTRUCTIONS DE UTILIZARE
INAINTE DE UTILIZARE:
- Scoateti delicula de protectie a aparatului.
- Asigurati-va că ați inlăturat toate ambalajele produsului.
- Anumitecies ale aparatului au fost lubriifate uor, prin urmare, aparatul poate emite un volum redus de fum la prima'utilize. Dupo perioda scurta de temp, fumul va dispaarea.
- Pregati aparatul conform functiei pe care doriti sa o folosi.
UMPLEREA CU APA:
- Este esentiaI s a umplei recipientul cu apa pentru a putea lucra cu abur.
- Deschideti capacul de pe orificiul de umplere.
- Ucomplete recipientul cu respectarea nivelului MAX (Fig.1)
- Inchideti capacul orificiului de umplere.
UTILIZARE:
- Desfăsrati complet cablul inaînte de a-l introduce in przy.
- Conectati aparatul la reteaua electrica.
- Rotiti butonul termostatului in poziţia temperaturii dorite.
-
Nu utiliziati temperaturi mai mari decât cele indicate pe hainele care urmează să fie calcate.
-
Temperatura pentru fibre sintetice (poliester, nailon...).
-
Temperaturea pentru mătase, lână. (Temperatură minimă pentru calcarea cu abur)
Temperatura pentru bumbac Temperatura maximă pentru in. -
Daca hainele au diverse tipuri de fibre, selectati temperatura pentru fibra care necessities cea mai scăzută valoare. (De exemplu, selectati temperatura de poliester pentru un articol fabricat din 60% poliester și 40% bumbac).
-
Aşteptati până cánd lampa pilot (F) se stinge, fapt care arata că aparatul a atins o temperatura adecvata.
- In timpul utilizarii, lampa pilot (F) va clipi automat, indicand astfel ca elementele de incalzire functioneazã pentru mentinerea temperaturii dorite.
CALCARE USCATA:
- Aparatul este un dotat cu un regulator pentru
fluxul de abur care, dacă este setat la 1, permite calcarea uscata (fãră abur).
CALCARECUABUR:
- Se poate calca folosind abur atunci candin recipientul este umplat cu apa si este selectata temperatura potrivita.
CONTROLUL JETULUI DE ABUR:
- Aparatul are un buton de control (C) pentru regla-rea fluxului de abur.
PULVERIZARE:
- Pulverizatorul poate fi utilizat atat pentru calcarea cu abur, CAT si pentru cea fara abur.
- Apasati butonul de pulverizare (A) pentru a utilizeaceaestă functie.
- Butonul de pulverizare trebuie apasat in mod repetat pentru eliberarea primului jet.
JET DE ABUR:
-Aceastafunctieoferaunvolummairmarede abur,pentruindepartareacutelor.
- Apasati butonul pentru jet de abur (B). Asteptati cateva secunde până cónd vaporii penetr堆放 fibrele hainelor inainte de a apasa butonul din nou. Pentru calitatea optimă a aburului, nu aplicati mai mult de trei jeturi successive.
- Butonul de pulverizare trebuie apasat in mod repetat pentru eliberarea primului jet.
CALCAREA VERTICALA:
Se pot calca perdele suspendate,iese de imbracamnte in cuier etc. Pentru aceasta, respectati instructiunile:
- Selecta temperatura maxima a fierului de calcat prin rotirea regulatorului de temperatura al acestuia spre dreapta. (Fig. 2)
- Calcati de sus in jos tinand apasat butonul pentru abur (B). Important: pentru bumbac si in, este recomandat sa puneti baza fierului in contact cu materialul. Pentru alte fibre, mai delicate, este recomandat sa păstrați baza fierului la cătiva centimetri distanță.
FUNCTIA DE OPRIRE AUTOMATA (AUTO-OFF):*
- Pentru a economisi energia, aparatul trece in modul de oprire automata (auto-off), dacă nu este misçcat pentru o anumită perioada de tamp. Atunci cand se intâmplă acest lucru, aparatul va emite un sunet, iar indicatorul luminos pentru oprire automata (G) va lumina intermitent, indicandi
faptul că această functie a fost activata.
- Pozitia orientală de oprir automată: după aproximativ 30 secunde fãră a misça aparatul.
- Poziţia verticală de oprire automată: după aproximativ 8 minute fără așița aparatul.
- Pentru a reveni la fonctionarea normală, trebuie doar să miscati aparatul din nou.
*Disponibil doar pe modele ECO 3000 Şi Geyser ECO 2800
DUPÄ CE ATI TERMINAT UTILIZAREA APARATULUI:
- Selectaţi poziţia minimă (MIN) folosind termostatul.
- Deconnectați aparatul de la retea..
- Scoaterea apei din rezervorul de apă
-Curatati aparatul.
CURATARE
- Decuplate aparatul de la priza s i lasati-I sa se racea Scandinentea oricarei operatii de curatare.
-Curatati aparatul cu un prosop umed impregnat cu cateva picaturi de detergent si apoi stergeti-l. - Nu utiliziati solventi tau produse cu pH acid sau bazic, de exemplu inalbitori tau produse abrazive, pentru curățarea aparatului.
- Nu introduci niciodata aparutul in apa sai orice alt lichid, nu amplasati aparatul sub robinet.
FUNCTIA DE AUTO-CURATARE:
- Este important să'utilizati functi de autocurătare a aparatului cel puțin o data pe luna, pentru a Índeparta calcarulși alte depuneri de materiale din interiorul fierului de calcat.
- Umpletei rezervorul de apă la nivelul maxim, dupacum este indicat in sectiunea „Umplere cu apă".
- Positionati fierul de calcat pe verticală, conectati cablul la prizăși selectati temperatura maximă.
- Lásati aparatul să se incálceasca până cánd lampa pilot indică faptul ca temperatura prevăzută a fost atinsă.
- Scoatei aparatul din prizăși asezăi-l in chiuvetă.
- Apasati siti tini ti apasat butonul de auto-curatare.
- Lasa'iapa sa curga prin orificiile pentru abur de la baza, agitand uor aparatul.
- Eliberati butonul dupa un minut sau dupa golirea rezervorului.
- Lásati fierul de calcat pe poziţie verticală până se răcește complet.
INLOCUIREA FILTRULUI ANTI-TARTRU (FIG. 3) GEYSER ECO 3000
(ATENTIE) Asigurati-va că nu există apă in rezervor.
1 Pe baza de sprijin a fierului, rotiţi discul în sens antiorar până cánd ajunge la capăt și săgeata este aliniata cu simbolul lacătului descrichis (aprox. 180^ ) și trajeți inapoi discul
2 Pentru a reintroduce filtrul, aliniati sageata cu simbolul lacatului deschis 日 roti orar, conform schitei, apasand simultan componenta inauntrpu pana cand este aliniata cu simbolul lacatului inchis.
3 Când filtrul este in poziţie, asigurati-vă că NU IESE din portiunea posteroară a aparatului. In caz contrar, inseamnă că nu l-ata positiţional corect si că apa va iesi din rezervor.
*TRATAREA DEPUNERILOR DE TARTRU:
- Pentru ca aparatul să functioneze corect, trebuie mentinut fără depunerile de tartru sau magneziu create prin folosirea apei dure.
- Pentru a preveni acest tip de problemă, noi recomandam utilizes area apei cu continut scăzut de calcar sau magneziu.
-- Cu toate acestea, dacă nu este posibilă utilizesa rea tipului de apă recomandat mai sus, trebuie să inlocuți periodic cartușul anti-tartru al fierului de calcat:
La fiecare 12 săptamani dacă apa este „foarte dura". - La fiecare 18 săptamani dacă apa este „dura".
- Pentru a face acest lucru, noi recomandam utilizes area unui produs special pentru acest tip de aparat, care poate fi gasit in magazinele specializate si servicii tehnice autorize.
- Pentru acest tip de aparat se folosește un cartuș anti-tartru specific.
- Solutiile improvisate nu sunt recomandate pentru detartrajul acestui aparat, de exemplu Utilizarea otetului.
ANOMALII SI REPARATII
Dacă apar probleme, duceti aparatul la un serviciu de asistentă tehnica autorizat. Nu incercati să-l demontati sau să-l reparati fara ajutor, deoarece poate fi periculos.
- In cazul defectarii cablului de alimentare, acesta trebuie inlocuit; procedati ca in caz de eroare.
PENTRU VERSIUNILE UE ALE PRODUSELOR SI/SAU IN CAZUL IN CARE ESTE OBLIGATORIU IN TARA DVS.:
ECOLOGIE SIRECICLAREA PRODUSULUI
- Materiaele din care este format ambalajul acestui produs sunt incluse in sistemas de colectare, clasificare 山 reciclare. Daca doriti sale aruncai, va rugam sa folosi pubele publice corespunzatoare fiecarui tip de material.
- Produsul nu contine subiste in concentraii care ar putea fi considerate daunatoare pentru mediu.

Acest symbolism inseamna cã, in cazul in care doriti sã aruncați aparatul la incheierea duratei sale de fonctionare, trebuie sã-l duceti la un centru de colectare a deşeurilor autorizat, in
vederea colectarii selective a deseurilor de echipamente electrice si electronice (WEEE)
Acest aparat respectă Directiva 2014/35/UE privind tensiunile joase, Directiva 2014/30/UE privind compatibilitatea electromagnetica, Directiva 2011/65/UE privind restricțile de'utilize a anumitor substante periculoase în echipamentele elec- trice Şi electronice, precum Şi Directiva 2009/125/ CE privind projiectarea ecologica a produselor cu impact energetic.
Бъл rapскn
Tn
Geyser Eco 2600, 2800, 3000
YbaxaemKJneHTN:
Блардам Ви, чу заушихтуелковуpeс с mapka ta TAURUS.
TexHONOrnTa,Ди3aHbTиФyHKUHOHaJIHOCTTa Ha CbIuЯ, KaKTo nФaKbTb, Ye HaNBnIaBa HauNCTpIKTHnTe HOpMn 3a KauecTBo, ue Bn Dohecat NJIHo n DJIroTOpaHNo 3aIOBOJCTBO OT Hero.
ONUCAHNE
A CnpeBytoN
B ByToH 3a napen yIap
C KoHTpOJIep 3a peryInpaHe Ha napata
D Byton 3a abTomatuHNo noCTBaHe
E INdkaTop Ha Temnepatypata
F CBeTJIINHeH INHnKaTOp
G CBeTnHHeN INdKAtOp 3a camOn3KnIOuBaHe*
H OTBOP3aПьненecBODa
I Cnpen6ytoN
JПлочазгладенe
K NaTpoH npOTnB KOtJIeH KaMbK**
*Ппебларе само с модение Geyser ECO 3000 и Geyser ECO 2800
** Празлара само с морел Geyser ECO 3000
-Прешида nucheteВ DeiCTBne ypeda, npoocheTe BnHmATEInHO HactoIaTa 6poUpa nЯ 3ana3eTe 3a NO-HaTaTbShN CnpaBKn. HecbO6pa3raBaHeTO c HactoIaHTe yka3aHn MoKe da npeDn3BnKa npOn3IeCTBne.
CbBETHN
ПЕДУПЕЖДECHИЗ 3AБE3ОПACHOCT.
- YpeIbT TpI6Ba Da ce NocTaBn I N3NoJ3Ba BbPxy paBHa I CTa6HInHa NOBbPxHOCT.
-
KoraTo noCTaBnTe ypeDa Bbpxy HeROBaTa OCHOBa, NOcNpyeTe Ce, Ye NOBbpxHOCTTa, Bbpxy KOrTO Ce NoCTaBra OCHOBaTa e Cta6nHa.
-
Mon, He octabraye ypeda 6e3 HaD3Op, DOkato E BkIIOueH B eJeKtpo3axpaHbauata Mpeka.
-To3n ypeJ moKe da 6bJe n3PON3BaH OT Xopa, HeymeeuI Da 6opabT C To3N BnD npOdyKTn, Xopa C cPn3nueckn YBpejdaHnI NJI Deca Had 8 rOdInH, CaMO I eINHCTBeHO aKO ca POn HaD3Opa Ha HЯKo Bb3pacteH YOBek NJIa aKO npEiBapNTeJIHo IM e O6yCHeHO kAK Tpr6Ba Da n3PON3Bat ypeJa PO cnrypeH NaunH I aKO pa3bnpat CbIeCTByBaIuTe pNCKOBe. - YpeIbT He MoKe Da 6bDe IOnuHCTBaH NJIa My 6bDe I3BbPbBaHa IOpIpbXka OT Deua eDInHCTBeHO PoI HaI3Opa Bb3paCTeH OBeK.
- CbxaHЯBaIte ypea n 3axpaHbAun Ka6eJ daJeU OT DOCTbNa Ha Deua POn 8 rOuHN.
-To3n ypei He e irpauchka. Deuata cJeBa da ce HAmnpaT noi Ha3Op, TaKa Ye da He IrpaT c anapata. - He n3noJ3BaIte ypeJa aKo e naJa, aKO IMa BVdIMN IOBpei nn Teu.
- TempepaTpaTa Ha DoCTbHnTe NOBbpxHOCTn MoKe Da 6bDe BnCOKa, KOraTo ypeDbT pa6OTn.
-BcIyauTeHaIOBpeDen 3axpaHbAs Ka6eI, CbUaT cIeDbA Da ce IoDMeHn. Ppi
TakbB CnyaH, MOJr OTHeCeTe ypeDa B OTOpN3npanC cepBn3 3a Texnuecko o6cnyXbaHe. C ceI n36yRbaHe Ha npOn3wecTBnI, MOJr He nonpaBryTe nIpa3rNo6BaYte ypeDa.

To3n CmB0J O3Haayaba, Ye1 NOBbpxHocTta MoKe Da ce 3aRpee No Bpeme Ha OJ3BaHeTO Ha ypeJa.
ManualUșor