DMC-GM1LEF - Câmera digital PANASONIC - Manual de utilização gratuito
Encontre gratuitamente o manual do aparelho DMC-GM1LEF PANASONIC em formato PDF.
Baixe as instruções para o seu Câmera digital em formato PDF gratuitamente! Encontre o seu manual DMC-GM1LEF - PANASONIC e retome o controlo do seu dispositivo eletrónico. Nesta página estão publicados todos os documentos necessários para a utilização do seu dispositivo. DMC-GM1LEF da marca PANASONIC.
MANUAL DE UTILIZADOR DMC-GM1LEF PANASONIC
Agradecemos a sua preferência pela DMC-GM1L (Câmara Digital/Kit de Lentes).
O kit de lentes contém a estrutura da-camera digital (DMC-GM1) e uma lente permutavel (H-X015). Consulte as instruções deestrutura fornecidas para saber como utiliser esta unidade.
Acessórios Padrao
Verifique se todos os acessos e encontrar incluidos, antes de utilizes a-camera. Numberos correctos do produits a partir de Maro de 2014. Estes podem estar sujeitos a alteracoes.
1 Lente permutavel+1 "LEICA DG SUMMILUX 15 mm/ F1.7 ASPH." (Referimo-nos a isto como lente nestas instruções de funciona.)
2 Tampa da Lente*2
3 Tampa Traseira da Lente
4 Anel de decoração*2
5 Cobertura da Lente
6 Tampa da cobertura da lente*3
7 Tampa da estrutura
| 1 H-X015 | 2 SYF0001 | 3 VFC4605 | 4 SFC0089 |
| 5 SFC0190 | 6 SFC0093 | 7 VKF4971 |
1Esta vem fixada a estrutura da-camera na ultura da compra.
2Esta vem fixada à lente permutável na alta da compra.
*3Esta vem fixada à cobertura da lente permutável na alta da compra.
Consulte as instruções de functimento de outros acessórios fornecidos.
Nomes e Funções dos Componentes
H-X015 (LEICA DG SUMMILUX 15 mm/F1.7 ASPH.)

1 Superficie da lente
2 Anel de decoração
- Rode o anel para ajustar o valor de abertura.
- Se definir a-camera para o Modelo AE com prioridade na abertura ou modo de exposicao manual, o valor de abertura do anel sera aktivado.
- Se definir a posicao do anel de abertura para [A], o valor de abertura da-camera sera activado.
- Quando o anel de abertura estiver Activado, verifique se o valor de abertura mudou antes fixar ou retirar o anel de decoração.
4 Anel de focagem
5 Interruptor [AF/MF]
- Quando o interruptor [AF/MF] da lente ou a camara para definida para [MF], a focagem manual (MF) é activada.
6 Marca de ajuste da lente
7 Ponto de contacto
Colocar a Cobertura da Lente
Lente permutável (H-X015)
- Antes de fixar a cobertura da lente, certifique-se de que retira a tampa da lente. A cobertura da lente não pode ser fixada se nãoOOTAR a tampa da lente.
1 Rode o anel de decoracao A na direcção da seta para o retiring.

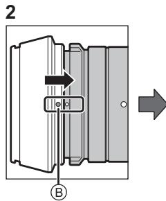
2 Alinhe a marca de montagem (B) na cobertura da lente com amarca na ponta da lente.
3 Rode a cobertura da lente na direcção da seta até fixar no lugar e alinne a posicao de paragem © na cobertura da lente com a marca na ponta da lente.


Fixar o anel de decoracao
- Antes de fixar o anel de decoração, certifique-se de que retira a tampa da lente.
1 Alinhe a posicao de montagem no anel de decoracao com uma posicao de circa de 90^ da marca de ajuste da lente E para colocar o anel de decoracao.
2 Rode o anel de decoracao na direccao da seta para alinhar a posicao de montagem D no anel de decoracao com a marca de ajuste da lente E.


Especificações
| Consumo de energia: | quando a lente permutável (H-X015) for usada 2,2 W (Quando gravar) 1,5 W (Quando reproducir) |
| Illuminação Minima | Cerca de 5 lx ( quando usar i-Low light, a velocidade do obturador é de 1/25° de segundo) |
| Flash | Alcance do flash: Cerca de 0,5 m a 9,4 m ( quando escolher [ISO AUTO]) |
| Peso | Cerca de 319 g [Com a lente permutável (H-X015), cartão e bateria] |
Consulte as instruções de functiónamento quando a outras espécificações.
Lente permutável (H-X015) "LEICA DG SUMMILUX 15 mm/F1.7 ASPH."
| Comprimento focal | f=15 mm (equivalente a uma-camera de rolo de 35 mm: 30 mm) |
| Tipo de abertura | 7 lâminas do diafração/diafragma de abertura circular |
| Abertura Tmaxima | F1.7 |
| Valor minimo de abertura | F16 |
| Fabrcação lente | 9 elementos em 7roupos (3lentes asféricas) |
| Revestimento de superfícies Nano | Sim |
| Na distência doAGO | 0,2 m a∞ (da红线 de referencia da distência de focagem) |
| Amplaçao maior da imagem | 0,1× (equivalente a uma-camera de rolo de 35 mm: 0,2×) |
| Estabilizador ótico da iamgem | Não disponible |
| Interruptor [AF/MF] | Disponível (Ligar AF/MF) |
| Montagem | “Micro Four Thirds Mount” |
| Ángulo de visão | 72° |
| Diâmetro filtró | 46 mm |
| Diâmetro max. | Cerca de 57,5 mm |
| Comprimento geral | Cerca de 36 mm (da ponta da lente ao lado da base do suporte da lente) |
| Peso | Cerca de 115 g |
- LEICA é uma marca registada da Leica Microsystems IR GmbH. SUMMILUX é uma marca registada da Leica Camera AG. As lentes LEICA DG são fabricadas using instrumentos de medicação e sistemas de segurar aquality que foram certificadas pela Leica Camera AG, com base nas normas de qualidade da Empresa.
■ Tempo de funciona e número de imagens graváveis aproximado
Quando a lente permutavel (H-X015) for usada
| Gravar imagens paradas (de acordo com o padrão CIPA no modo AE do programa) | |
| • Nível de imagens graváveis: Cerca de 240 imagens • Tempo de gravação: Cerca de 120 min | |
| Gravização de filmes | |
| [AVCHD] (Gravar com a qualida de imagem definida para [FHD/50]) | • Tempo gravavel: Cerca de 90 min |
| • Tempo gravavel actual: Cerca de 45 min | |
| [MP4] (Gravar com a qualida de imagem definida para [FHD/25p]) | • Tempo gravavel: Cerca de 90 min |
| • Tempo gravavel actual: Cerca de 45 min | |
| Reprodução | |
| • Tempo de reprodução: Cerca de 160 min | |
Notice-Facile