DMC-GM1LEF - Digitale camera PANASONIC - Gratis gebruiksaanwijzing en handleiding
Vind de handleiding van het apparaat gratis DMC-GM1LEF PANASONIC in PDF-formaat.
Download de handleiding voor uw Digitale camera in PDF-formaat gratis! Vind uw handleiding DMC-GM1LEF - PANASONIC en neem uw elektronisch apparaat weer in handen. Op deze pagina staan alle documenten die nodig zijn voor het gebruik van uw apparaat. DMC-GM1LEF van het merk PANASONIC.
GEBRUIKSAANWIJZING DMC-GM1LEF PANASONIC
Wij danken u voor de aankoop van de DMC-GM1L (Digitale Camera/Lenskit).
De lenskit bevat de body van de digitale camera (DMC-GM1) en een onderling verwisselbare lens (H-X015). Raadpleeg de bijgeleverde gebruksaanwijzing voor instructies over de bediening van dit toestel.
Standaardaccessoires
Controller of alle accessoires bijgeleverd+zijn alvorens de camera in gebruik te nemen.
De productnummers zijn correct met ingang van mei 2014. Deze können onderhevig�<|im_start|>assistant aan veranderingen.
1 Onderling verwisselbare Lens*1 LEICA DG SUMMILUX 15 mm/ F1.7 ASPH." (Hier worden waar verwezen als lens in deze gebruksaanwijzing.)
2 Lensdop*2
3 Achterste lensdop
4 Decoratieve ring*2
5 Lensbescherming
6 Dop lenskap*3
7 Body-kap
| 1 H-X015 | 2 SYF0001 | 3 VFC4605 | 4 SFC0089 |
| 5 SFC0190 | 6 SFC0093 | 7 VKF4971 |
1 Deze is op het moment van aankoop op de body van het toestel bevestigd.
2 Vastgemaakt aan de verwisselbare lens op het ogenblick van de aankoop.
*3 Deze is op het moment van aankoop op de onderlinge verwisselbare lenskap bevestigd.
Raadpleeg de gebruiksaanwijzing voor andere bijgeleverde accessoires.
Namen en functies van de componenten
H-X015 (LEICA DG SUMMILUX 15 mm/F1.7 ASPH.)

- Verwijder deze afdekking wanner u de lenskap gezruikt.
3 Lensopening-ring
- Draai eraan om de lensopeningwaarde in te stellen.
- Als u de camera op Lensopening-Prioriteit AE-modus zet, of op de handmatige belichtingsmodus, za de lensopeningwaarde van de ring vrijgeveen worden.
- Als u de positie van de lensopening-ring op [A] zet, zal de lensopeningwaarde van de camera vrijgegeven worden.
- Als de lensopening-ring vrijgegeven is, controlleren dan of de lensopeningwaarde veranderd is nedat u de decoratieve ring bevestigd of verwijderd heeft.
4 Focussring
5 [AF/MF]-schakelaar
- Als of de [AF/MF]-schakelaar van de lens, of deinstalling van de camera, op [MF] gezet is, is de manuele focus (MF) vrijgeveen.
6 Pasmarkering voor de lens
7 Contactpunt
Bevestiging van de lenskap
■ Verwisselbare lens (H-X015)
- Verwijder de lensdop alvorens de lenskap e bevestigen. De lenskap kan nicht bevestigd worden, tenzij u de lensdop verwijdert.
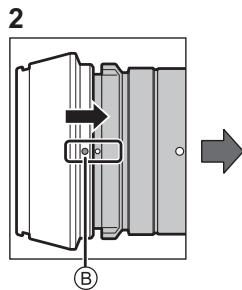
1 Draai decoratieve ring A in de richting van de pijl om hem te verwijdenen.

2 Lijn montage-index () op de lenskap UIT met het merkteken op de top van de lens.
3 Draai de lenskap in de richting van de pijlot hij op+zijn plaats klikt en lijn stoppositie op de lenskapuit met de index op de top van de lens.


■ Bevestigen van de decoratievering
- Alvorens de decorative ring te bevestigden, dient u de lensdop te verwilderen.
1 Lijn montagepositie ① op de decoratieve ring uit met een positie op onceveer 90^ afstand van merkteken zodate decoratieve ring op zijnplaats past.
2 Draai de decoratieve ring in de richting van de pijl om montagepositie ① op de decoratieve ringuit te lijnen met merkteken ② van de lens.


Specificities
| Stroomverbruik: | Als de verwisselbare lens (H-X015) gekrukt worden |
| 2,2 W (Wanneer u opneemt) | |
| 1,5 W (Wanneer u afspeelt) |
| Minimumverlichting | Ongeveer 5 lx (wanneer i-Low light gebruikt worden, is de sluitertijd 1/25ste van een seconde) |
| Flits | Bereik flitser: Ongeveer 0,5 m tot 9,4 m (Als [ISO AUTO] ingesteld is) |
| Massa | Ongeveer 319 g [met de verwisselbare lens (H-X015), kaart en batterij] |
Raadpleeg de gebruiksaanwijzing voor andere specificaties.
Onderling verwisselbare Lens (H-X015) "LEICA DG SUMMILUX 15 mm/F1.7 ASPH."
| Brandpuntsafstand | f=15 mm (35 mm filmcamera equivalent: 30 mm) |
| Diafragmatype | 7 diafragmabladen/cirkelvormige diafragmaopening |
| Maximum lensopening | F1.7 |
| Minimum openingswaarde | F16 |
| Lensopbouw | 9 elementen in 7 groepen (3 asferische lenzen) |
| Nano-afdeklaagje | Ja |
| Focusafstand | 0,2 m tot ∞ (vanaf de referentielijn van de brandpuntafstand) |
| Maximum beeldvergrotting | 0,1× (35 mm filmcamera equivalent: 0,2×) |
| Optische beeldstabilisator | Niet beschikbaar |
| [AF/MF]-schakelaar | Beschikbaar (tussen AF/MF schakelen) |
| Vatting | "Micro Four Thirds Mount" |
| Zichthoek | 72° |
| Filterdiameter | 46 mm |
| Max. diameter | Ongeveer 57,5 mm |
| Totale lenghte | Ongeveer 36 mm (vanaf de top van de lens tot de basiszijde van het montagedeel van de lens) |
| Massa | Ongeveer 115 g |
- LEICA is een gedeponeerd handelsmerk van Leica Microsystems IR GmbH. SUMMILUX is een gedeponeerd handelsmerk van Leica Camera AG. De lenzen van LEICA DG zijn gefabriceeerd met gebruik van meetinstrumenten en systemen ter verzekerung van de kwaliteit die gecertificeerd zijn door Leica Camera AG en gebaseerd zijn op die kwaliteitstandards van het bedrivijf.
■ Werktijd en aantal opneembare beelden bij benadering
Als de verwisselbare lens (H-X015) gebruikt worden
| Foto's opnemen (Met CIPA-standard in programma AE-modus) | |
| • Aantal opneembare beelden: Ongeveer 240 beelden • Opmametijd: Ongeveer 120 min | |
| Films opnemen | |
| [AVCHD] (Opnemen verwil de beeldkwaliteit op [FHD/50i] staat) | • Opmametijd: Ongeveer 90 min |
| • Huidige opnametijd: Ongeveer 45 min | |
| [MP4] (Opnemen verwil de beeldkwaliteit op [FHD/25p] staat) | • Opmametijd: Ongeveer 90 min |
| • Huidige opnametijd: Ongeveer 45 min | |
| Afspelen | |
| • Afspeeltijd: Ongeveer 160 min | |
Notice-Facile