CCTVSETW1 - Câmera de vigilância Perel - Manual de utilização gratuito
Encontre gratuitamente o manual do aparelho CCTVSETW1 Perel em formato PDF.
Perguntas dos utilizadores sobre CCTVSETW1 Perel
0 pergunta sobre este aparelho. Responda às que conhece ou faça a sua.
Faça uma nova pergunta sobre este aparelho
Baixe as instruções para o seu Câmera de vigilância em formato PDF gratuitamente! Encontre o seu manual CCTVSETW1 - Perel e retome o controlo do seu dispositivo eletrónico. Nesta página estão publicados todos os documentos necessários para a utilização do seu dispositivo. CCTVSETW1 da marca Perel.
MANUAL DE UTILIZADOR CCTVSETW1 Perel
INSTALAÇÃO E INÍCIO RÁPIDO 35
A

text_image
1 2 3 4 5 610

text_image
11 12
text_image
7 8 9
text_image
13 15 16 14B 1

INSTALAÇÃO E INÍCIO RÁPIDO
1. Introdução
Aos cidadãos da União Europeia
Importantes informações sobre o meio ambiente no que respeita a este produto

Este símbolo no aparelho ou na embalagem indica que, enquanto desperdícios, poderão causar danos no meio ambiente. Não deite o aparelho (nem as pilhas, se as houver) no lixo doméstico; dirija-se a uma empresa especializada em reciclagem. Devolva o aparelho ao seu distribuidor ou ao posto de reciclagem local. Respeite a legislação local relativa ao meio ambiente.

Em caso de dúvidas, contacte com as autoridades locais para os resíduos.
Agradecemos o facto de ter escolhido a Perel! Leia atentamente as instruções do manual antes de usar o aparelho. Caso o aparelho tenha sofrido algum dano durante o transporte não o instale e entre em contacto com o seu distribuidor.
2. Documentação disponível
Este documento descreve a instalação e as instruções básicas para utilização da câmara. Para informação mais detalhada sobre a utilização deste dispositivo, por favor consulte o manual (apenas em Inglês) disponível em www.velleman.eu (pesquisa pelo código do produto CCTVSETW1).
3. Instruções de segurança
![]() | Mantenha o aparelho fora do alcance de crianças e pessoas não autorizadas. |
![]() | Risco de choque eléctrico ao tentar abrir o aparelho. Tocar em cabos ligados à corrente pode provocar choques eléctricos mortais. |
![]() | Desligue sempre o aparelho da tomada eléctrica se este não vai ser utilizado ou antes de quaisquer operações de manutenção. Segure sempre na ficha para o desligar o cabo da rede, nunca no próprio cabo. |
4. Normas gerais
Consulte a Garantia de serviço e qualidade Velleman® na parte final deste manual do utilizador.
![]() | Mantenha o aparelho protegido do pó. |
![]() | Mantenha o aparelho protegido de temperaturas extremas.Certifique-se sempre que os orifícios de ventilação não se encontram bloqueados. |
![]() | Proteja o aparelho de quedas e má utilização. Evite usar força excessiva ao utilizar o aparelho. |
- Familiarize-se com o funcionamento do aparelho antes de o utilizar.
- Por razões de segurança, estão proíbidas quaisquer modificações do aparelho desde que não autorizadas.
- Utilize o aparelho apenas para as aplicações descritas neste manual. Uma utilização incorrecta anula a garantia completamente.
- Danos causados pelo não cumprimento das normas de segurança referidas neste manual anulam a garantia e o seu distribuidor não será responsável por qualquer danos ou outros problemas daí
CCTVSETW1
resultantes.
- Nunca utilize este aparelho para violar as leis de privacidade ou levar a cabo quaisquer actividades ilegais.
- Guarde este manual para que o possa consultar sempre que necessário.
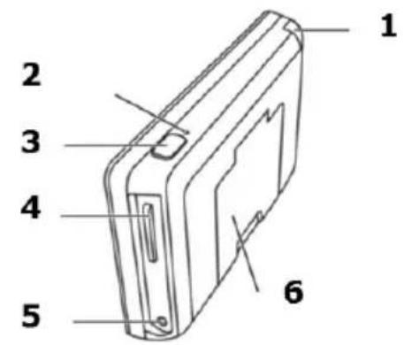
5. Descrição
Ver as figuras da página 2 deste manual do utilizador.
| 1 | entrada de antena |
| 2 | botão de reinic ializ ação |
| 3 | interruptor on/off |
| 4 | entrada do cartão SD |
| 5 | conexão de alimentação AC |
| 6 | suporte da câmara |
Suporte
| 7 | entrada para energia |
| 8 | conexão de rede RJ45 |
| 9 | conexão de alimentação AC |
Câmara (frente)
| 10 | estado da alimentação |
| 11 | estado da ligação |
| 12 | Sensor de luz |
Câmara (traseira)
| 13 | conector de antena |
| 14 | microfone |
| 15 | cabo de alimentação |
| 16 | botão para ligar |
6. Instalação da Câmara
Ferramentas necessárias
- berbequim eléctrico
• broca de alvenaria de 5 mm
• broca de alvenaria de 15 mm - chave Philips nr. 2
Normas gerais
- Recomenda-se que teste a câmara antes de a instalar no local definitivo.
- Instale a câmara a cerca de 2.5 m do chão.
- Evite posicionar a câmara de forma a que fique virada directamente para o sol visto que isso prejudica a qualidade da imagem.
- Evite apontar a lente da câmara directamente para um vidro transparente um a vez que os LEDs para visão nocturna provocarão uma imagem desfocada durante a noite.
- Evite apontar a câmara na direcção de arbustos, ramos de árvore ou objectos em movimento que se possam mover naturalmente por causa do vento. Isto é também por que se necessitar de usar a opção de detecção de movimento presente no software do PC para gravar movimento, este poderá fazer gravações desnecessárias.
Instalar a câmara
Veja a imagem C na página 4.
V. 02 - 07/01/2014
36
© Velleman nv
CCTVSETW1
- Estique a antena.
- Ligue o adaptador à câmara e depois à tomada de corrente na parede.
- Ligue o adaptador a uma tomada de corrente na parede.
Instalar o monitor
Veja a imagem D na página 4.
- Introduza um cartão SD no monitor [5] (até 32 Gb).
- Ligue o adaptador ao monitor e depois à tomada de corrente na parede [1].
- Vire o suporte da câmara para o lado de fora [4].
- Mantenha o botão de ligar pressionado durante cerca de 3-4 segundos [2]. O ecrã de Boas-Vindas aparece durante alguns segundos, depois aparece a imagem da câmara.
Montagem da câmara
Veja as imagens B1 a B3 na página 3.
- Fixe o suporte da câm ara a cerca de 2.5 m do chão.
- Desaperte o parafuso
- Escolha o ângulo de visão apropriado e aperte o suporte.
- Coloque a câmara no suporte
Nota: cartão SD
- Se estiver a planear gravar vídeos longos, recomenda-se a utilização de um cartão SD de elevada capacidade.
- Desligue sempre o dispositivo antes de retirar o cartão SD.
7. Utilização
Partes do ecrã

text_image
2 3 4 5 6 SCAN QUAD Cam1 Cam2 Cam3 Cam4 1 7 81 menus pop-up
2 estado do cartão SD
3 estado da bateria
4 estado da ligação à internet
5 estado da gravação
6 número da câm ara - força do sinal
7 indicador de movimento
8 barra de menus pop-up
Ligue o ecrã
- Mantenha o botão de ligar pressionado durante cerca de 3-4 segundos.
O ecrã de Boas-Vindas aparece durante alguns segundos, depois aparece a imagem da câmara.
Desligue o ecrã
- Mantenha o botão de ligar pressionado até o ecrã desligar.
Modos da câmara: visão em quadrúpla e ecrã total.
- Quando liga o ecrã, a imagem aparece em quadrúpla (até 4 câmaras num único ecrã).
- Toque em uma das câmaras para visualizar a imagem em ecrã total.
- Toque na imagem para voltar à visualização em quadrúpla.
Ampliação
- A ampliação funciona apenas no modo ecrã total.
- Se o ecrã estiver no modo imagem em quadrúpla, toque na câmara pretendida para ver em ecrã total.
- Toque no ícone de Zoom (am pliação).
- Seleccione a área que pretende ampliar.
CCTVSETW1
o Toque no ícone zoom out para desligar a ampliação.
o Toque mais uma vez para voltar ao modo ecrã total.
Gravação manual de um vídeo
- Na imagem em quadrúpla, toque no ícone Record (gravar).
- O ícone fica intermitente enquanto decorrer a gravação.
- Toque no ícone novamente para parar a gravação.
Poderá também agendar a gravação de vídeo. Consulte o manual completo em www.velleman.eu para mais informação (pesquisa pelo código do produto CCTVSETW1).
Usar o menu
O ecrã tem um menu que aparece no próprio ecrã (OSD).
Este menu permite aceder às configurações do dispositivo.
Para exibir ou esconder o menu, pressione brevemente o botão de ligação.
O menu permanece visível durante 30 segundos.
Reprodução
Para visualizar um vídeo gravado:


- No ecrã, seleccione e em seguida
- Seleccione no calendário o dia que pretende visualizar.
Os dias que contêm vídeo aparecem destacados. - Caso seja necessário, use a barra deslizante do lado direito para se deslocar pelas várias gravações.
- Toque na gravação que pretende visualizar.
A gravação aparece no ecrã.
o Toque em qualquer espaço vazio do ecrã para trazer de volta a barra de progresso.
o Arraste a barra de progresso para avançar ou retoceder rapidamente o vídeo.
o Toque em qualquer espaço vazio do ecrã para esconder a barra de progresso.
Vigilância à distância
- Pode aceder à câmara remotamente a partir de um dispositivo móvel com a aplicação OMGuard (disponível para iPhone, iPod, iPad e Android)
- A visualização remota só funciona se o monitor estiver no apoio e se o tipo de ligação à internet "Ligado à Internet".
- Consulte o manual completo em www.velleman.eu para mais informação (pesquisa pelo código do produto CCTVSETW1).
Ícones e botões
O ecrãa tem vários ícones e botões:
| Ícone | Nome | Função | |
![]() | Home | Num menu: Toque para voltar ao ecrã principal | |
![]() | Voltar | Num menu: Toque para retroceder um nível | |
![]() | Modo da câmara | Toque para seleccionar o modo da câmara:- modo digitalização- vista em quadrúpla- ecrã total | |
![]() | Configuração do sistema | Toque para aceder às configurações do sistema | |
![]() | Capacidade | Toque para ajustar o volume da câmara | |
![]() | Capacidade do cartão SD | Mostra o espaço disponível no cartão SD | |
![]() | Estado da bateria | Indica qual o estado da bateria | |
CCTVSETW1
| Ícone | Nome | Função |
![]() | Número da câmara | Mostra o número da câmara e a força do sinal |
![]() | Estado da gravação | Toque para iniciar a gravação manual.O botão tem uma luz indicadora do estado:- Constante: não está a gravar- Intermitente: a gravar |
![]() | Ligado à internet | Aparece quando o dispositivo está ligado à internet |
![]() | Ligado à intranet | Aparece quando o dispositivo está ligado à intranet |
![]() | Visualização Remota | Aparece quando está a decorrer a visualização remota |
![]() | Detecção de Movimento | Pisca sempre que o dispositivo estiver a gravar após detecção de movimento |
![]() | Gravação agendada | Aparece quando estiver a ser feita uma gravação que foi agendada |
![]() | Aparece a barra de menus | Tocar para abrir ou fechar os menus |
![]() | Sem cartão SD | Aparece quando não existe cartão SD ou está danificado. |
![]() | Mais zoom | Clicar para aumentar o zoom num objecto |
| [CCC] | Menos zoom | Clicar para diminuir o zoom num objecto |
Consulte o manual completo em www.velleman.eu para mais informação (pesquisa pelo código do produto CCTVSETW1).
8. Configurações avançadas
O menu Configurações inclui opções para:
- Configuração da câmara (emparelhamento da câmara, brilho)
- Configuração da gravação (detecção de movimento, gravação programada)
- Configuração de rede (ligação à internet, código de segurança, informação da rede)
- Configuração do alarme (tempo, melodia)
- Configuração do sistema (poupança de energia, bloqueio do ecrã, hora, formato de armazenamento, actualização do sistema, idioma)
Consulte o manual completo em www.velleman.eu para mais informação (pesquisa pelo código do produto CCTVSETW1).
- Especificações
| formato de vídeo | PAL |
| compressão de vídeo | H.264 |
| transmissão de vídeo | transmissão digital encriptada de 2.4 GHz |
| camera | elemento de imagem: sensor CMOS 1/4" |
| lentes: 3.6 mm | |
| ângulo da lente: 64° | |
| visão noturna: 20 IR LEDs (8 m alcance) | |
| grau de protecção IP: IP66 | |
| velocidade máxima de gravaçao | uma só câmara: 640 x 480 píxeis (VGA) (25 FPS) |
CCTVSETW1
| várias câmaras: 320 x 240 píxeis (QVGA) (25 FPS) | |
| bateria do monitor | capacidade: 1800 mAh Li-ion (3.7 V) |
| tempo de funcionamento: no máximo 1.5 h | |
| tamanho do monitor | ecrã táctil 7" |
| gravação | em cartão SDHC (não incl.) (máx. 32 GB) |
| modo de gravação | manual / temporizado / movimento |
| áudio | microfone incorporado |
| conexão de rede | através de estação de acoplamento |
| vigilância à distância: ligação e utilização através de aplicações para smart phone | |
| zoom digital 2x | |
| detecção de perda de vídeo sim | |
| fonte de alimentação (estação de acoplamento e câmara) | 5 Vdc / 1 A |
| dimensões | camera: 151 x 74 x 49 mm |
| monitor: 184 x 128 x 28 mm | |
| peso | 1600 g |
Utilize este aparelho apenas com acessórios originais. A Velleman NV não será responsável por quaisquer danos ou lesões causados pelo uso (indevido) do aparelho.
Para mais informação sobre este produto e para aceder à versão mais recente deste manual do utilizador, visite a nossa página www.perel.eu.
Podem alterar-se as especificações e o conteúdo deste manual sem aviso prévio.
Windows, Windows XP, Windows 2000, Windows Vista, Windows Aero, Windows 7, Windows 8, Windows Mobile, Windows Server são marcas da Microsoft Corporation registadas tanto nos Estados Unidos como em outros países. iPad, iPod, iPod touch, iPhone, Mac, iMac, MacBook, PowerBook, Power Mac, Mac OS são marcas da Apple Inc., registadas nos U.S. e em outros países.
iPad, iPod, iPod táctil, iPhone, Mac, iMac, MacBook, PowerBook, Power Mac, Mac OS são marcas registadas da Apple Inc., registadas nos E.U.A. e em outros países.
Android é uma marca registada da Google Inc.
© DIREITOS DE AUTOR
A Velleman NV detém os direitos de autor deste manual do utilizador. Todos os direitos mundiais reservados. É estritamente proibido reproduzir, traduzir, copiar, editar e gravar este manual do utilizador ou partes deste sem prévia autorização escrita por parte da detentora dos direitos.
EN
Garantia de serviço e de qualidade Velleman®
Desde a sua fundação em 1972 Velleman® tem adquirido uma amplia experiência no sector da eletrónica com uma distribuição em mais de 85 países.
Todos os nossos produtos respondem a exigências rigorosas e a disposições legais em vigor na UE. Para garantir a qualidade, submetemos regularmente os nossos produtos a controles de qualidade suplementares, com o nosso próprio serviço qualidade como um serviço de qualidade externo. No caso improvável de um defeito mesmo com as nossas precauções, é possível invocar a nossa garantia. (ver as condições de garantia).
Condições gerais com respeito a garantia sobre os produtos grande público (para a UE):
- qualquer produto grande público é garantido 24 mês contra qualquer vício de produção ou materiais a partir da data de aquisição efectiva;
- no caso da reclamação ser justificada e que a reparação ou substituição de um artigo é impossível, ou quando os custo são desproporcionados, Velleman® autoriza-se a substituir o dito artigo por um artigo equivalente ou a devolver a totalidade ou parte do preço de compra. Em outro caso, será consentido um artigo de substituição ou devolução completa do preço de compra no caso de um defeito no prazo de 1 ano depois da data de compra e entrega, ou um artigo de substituição pagando o valor de 50% do preço de compra ou devolução de 50% do preço de compra para defeitos depois de 1 a 2 anos.
- estão por consequência excluídos:
- todos os danos directos ou indirectos depois da entrega do artigo (p.ex. danos ligados a oxidação, choques, quedas, poeiras, areias, impurezas...) e provocado pelo aparelho, como o seu conteúdo (p.ex. perca de dados) e uma indemnização eventual por perca de receitas;
- consumíveis, peças ou acessórios sujeitos a desgaste causado por um uso normal, como p.ex. pilhas (recarregáveis, não recarregáveis, incorporadas ou substituíveis), lâmpadas, peças em borracha correias... (lista ilimitada);
- todos os danos que resultem de um incêndio, raios, de um acidente, de una catastrophe natural, etc.;
- danos provocados por negligencia, voluntária ou não, uma utilização ou manutenção incorrecta, ou uma utilização do aparelho contrária as prescrições do fabricante :
- todos os danos por causa de uma utilização comercial, profissional ou colectiva do aparelho (o período de garantia será reduzido a 6 meses para uma utilização profissional):
- todos os danos no aparelho resultando de uma utilização incorrecta ou diferente daquela inicialmente prevista e descrita no manual de utilização;
- todos os danos depois de uma devolução não embalada ou mal protegida ao nível do acondicionamento.
- todas as reparações ou modificações efectuadas por terceiros sem a autorização de SA Velleman®;
- despesas de transporte de e para Velleman® se o aparelho não estiver coberto pela garantia.
- qualquer reparação será fornecida pelo local de compra. O aparelho será obrigatoriamente acompanhado do talão ou factura de origem e bem acondicionado (de preferência dentro da embalagem de origem com indicação do defeito ou avaria);
- dica: aconselha-mos a consulta do manual e controlar cabos, pilhas, etc. antes de devolver o aparelho. Um aparelho devolvido que estiver em bom estado será cobrado despesas a cargo do consumidor:
- uma reparação efectuada fora da garantia, será cobrado despesas de transporte;
- qualquer garantia comercial não prevalece as condições aqui mencionadas.
A lista pode ser sujeita a um complemento conforme o tipo de artigo e estar mencionada no manual de utilização.
velleman ^
EN
CE
Declaração de conformidade R&TTE
Nós, Velleman NV Endereço:
Legen Heinweg, 33
9890 Gavere
Bélgica
[Non-Text]
declaramos a nossa responsabilidade relativamente ao produto abaixo mencionado:
declaramos a hossa responsabilidade
Marca: Perel
Designação comercial:
FIOS, GRAVAÇÃO E LIGAÇÃO À REDE
CCTVSETW1
-
cumpre com os requisitos essenciais e quaisquer outras disposições relevantes as
Directiva R&TTE (2011/65/EU).
Este produto está conforme a normas a seguir indicadas:
GPSD: EN 60950-1:2006 +A11:2009 +A1:2010 +A12:2011
EN 301 489-14 V2.2.1
R&TTE: EN 300 328 V1.7.1
Alimentação : KSAS0060500100VED
LVD: EN 60950-1:2006 +A11:2009 +A1:2010 +A12:2011
EMC: EN55013:2001 +A1:2003 +A2:2006 EN 55020:2007 +A11:2011
EN 55022:2010 EN 55024:2010
EN 61000-3-2:2006 +A1:2009 +A2:2009 EN 61000-3-3:2008
Os dados técnicos estão disponíveis e podem ser solicitados através da
De aduvo tecnico de suv disponirio o podom sul volutado aluto de olmiro yo doma.

Local e data de emissão:
Gavere, 20/12/2013
(1) 本次股东大会的召集和召开程序
Responsável da empresa:
ManualFácil






















