ELVEL480KE - Ventilador ELSAY - Manual de utilização gratuito
Encontre gratuitamente o manual do aparelho ELVEL480KE ELSAY em formato PDF.
Perguntas dos utilizadores sobre ELVEL480KE ELSAY
0 pergunta sobre este aparelho. Responda às que conhece ou faça a sua.
Faça uma nova pergunta sobre este aparelho
Baixe as instruções para o seu Ventilador em formato PDF gratuitamente! Encontre o seu manual ELVEL480KE - ELSAY e retome o controlo do seu dispositivo eletrónico. Nesta página estão publicados todos os documentos necessários para a utilização do seu dispositivo. ELVEL480KE da marca ELSAY.
MANUAL DE UTILIZADOR ELVEL480KE ELSAY
| Modelo | ELVEL480KE |
| Alimentação | 220-240V~ 50Hz |
| Potência | 85W |
| Classe | I |
| Símbolo | Valor | Unidade | |
| Fluxo de ar máximo | F | 66,39 | m^3/min |
| Potência absorvida | P | 40,30 | W |
| Valor de serviço | SV | 1,65 | (m^3/min)/W |
| Consumo de eletricidade com o aparelho em espera | P_SB | 0,43 | W |
| Consumo de eletricidade com o aparelho desligado | P_OFF | - | W |
| Nível de potência acústica | L_WA | 52,53 | dB(A) |
| Velocidade máxima do ar | c | 2,39 | metros/seg. |
| Consumo sazonal de eletricidade | Q | 13,38 | kWh/a |
| Norma de medição do valor de serviço | IEC 60879:1986 (corr.1992) | ||
| Dados de contacto para informações adicionais | SiplecCS 1002094859 Ivry-sur-SeineFrança | ||
CONSELHOS DE SEGURANÇA
O artigo deve ser instalado de acordo com as regras nacionais de instalação. Este aparelho destina-se apenas a um uso doméstico e interior.
- Monte totalmente a ventoinha antes de a colocar em funcionamento.
- Antes de ligar o aparelho, certifique-se de que:
- A tensão indicada na placa de características corresponde à da sua instalação elétrica,
- A tomada e a rede elétrica doméstica estão adaptadas ao aparelho,
- A ficha do cabo está adaptada à tomada elétrica.
O aparelho só foi previsto para uma tomada elétrica com tensão de ligação de 230 Volts (50 Hz).
-
Nunca insira os dedos, lápis ou qualquer outro objeto através da grelha enquanto a ventoinha estiver a funcionar.
-
Quando a ventoinha estiver a funcionar, certifique-se de que está instalada numa superfície estável.
-
Não utilize a ventoinha perto de uma janela. A chuva poderia provocar um risco de choque elétrico.
-
Nunca deixe a ventoinha a funcionar sem supervisão.
-
Por motivos de segurança, é IMPERATIVO desligar sempre o aparelho (retirar a ficha da tomada elétrica) quando este não for usado, antes de encher o depósito, antes de operações de limpeza ou manutenção.
-
Não utilize produtos químicos ou detergentes para a limpeza, pois poderiam facilmente danificar ou deformar o aparelho.
-
Não puxe pelo cabo de alimentação para desligar o aparelho da tomada elétrica.
-
Não utilize o aparelho em caso de cabo ou ficha danificados.
-
Nunca tente réparar o aparelho por si próprio. Em caso de reparação por uma pessoa não competente, a garantia será anulada.
-
Desligue a ventoinha sempre que a quiser deslocar.
-
Nunca deixe o aparelho em funcionamento ou ao alcance de crianças sem supervisão.
-
O aparelho e a grelha não devem ser desmontados para operações de limpeza ou manutenção.
-
Este aparelho pode ser utilizado por crianças com pelo menos 8 anos de idade e pessoas com capacidades físicas, sensoriais ou mentais reduzidas ou sem experiência ou conhecimentos, desde que tenham beneficiado de uma supervisão correta ou instruções relativas à utilização do aparelho com toda a segurança e tenham entendido os perigos incorridos. As crianças não devem brincar com o aparelho. A limpeza e a manutenção a cargo do utilizador não devem ser efetuadas por crianças sem supervisão.
-
AVISO!!! Se o cabo de alimentação ficar danificado, deverá ser substituído pelo fabricante, o serviço pós-venda ou pessoas igualmente qualificadas de modo a evitar qualquer perigo.
-
Desligue a ficha do cabo de alimentação da tomada elétrica antes de limpar o aparelho ou de proceder a operações de manutenção.
-
Uma vez o aparelho montado, é proibido desmontar as grelhas.
-
Este artigo deve sempre ser utilizado e guardado na posição vertical.
-
Nunca deslocar a ventoinha quando esta estiver em funcionamento.
-
Certifique-se sempre de que há água suficiente no depósito quando o aparelho é utilizado como nebulizadora.
-
Utilize apenas água fria na nebulizadora! Não utilizar água quente.
- O artigo deve ser montado corretamente antes de ser utilizado.
- Este aparelho destina-se a ser utilizado em aplicações domésticas e interiores.
- Os aparelhos não se destinam a serem ligados através de um temporizador exterior ou de um sistema de comando remoto separado.
- A tomada elétrica da instalação deve sempre possuir ligação à terra. Se a sua rede doméstica não estiver provida de ligação à terra, não ligue o aparelho.
- Para uma montagem correta do aparelho, refira-se ao parágrafo correspondente na página 34.
- No que respeita às instruções de limpeza e manutenção, refira-se ao parágrafo Cuidados de limpeza e manutenção na página 38.
- As instruções de utilização devem ser fornecidas juntamente com o aparelho e guardadas com o mesmo, de modo a este poder ser utilizado sem perigo.
- Durante a utilização do aparelho, convém estar atento à emissão de vapor de água quente.
O aparelho está provido de uma ficha elétrica com ligação à terra.
O aquecedor deve ser ligado a uma tomada de parede corretamente instalada e equipada com ligação à terra.
ATENÇÃO: uma utilização incorreta da tomada com ligação à terra pode causar um risco de choque elétrico.
Notas: em caso de pergunta relativa à tomada de terra ou à ligação elétrica, consulte um técnico habilitado.
Em caso de curto-circuito, a ligação à terra reduz o risco de choque elétrico, permitindo à corrente ser evacuada pelo fio de terra.
Limpeza do depósito de água:
As instruções de utilização devem estar incluídas juntamente com o aparelho e guardadas com o mesmo, de modo a este poder ser utilizado sem perigo.

Limpe os depósitos a cada três dias.
- Um depósito de água cria humidade, o que pode favorecer o desenvolvimento de organismos biológicos no ambiente.
- Não deixe a zona em torno do humidificador ficar molhada. Em caso de formação de gotas de água, reduza o caudal do humidificador. Se o caudal do humidificador não puder ser reduzido, utilize o humidificador de forma intermitente. Não deixe materiais absorventes, como tapetes, cortinados, tapeçarias ou toalhas, ficarem húmidos.
- Desligue o aparelho durante o enchimento e a limpeza.
- Nunca deixe água no depósito quando o aparelho não estiver a ser utilizado. - Evvazie e limpe o aparelho antes de o guardar. Limpe o humidificador antes da utilização seguinte.
Atenção: Micro-organismos podem desenvolver-se e estar presentes na água do depósito ou no ambiente de utilização ou armazenagem do aparelho.
Esses micro-organismos podem ser soprados para o ar e causar sérios riscos de saúde se a água não for renovada e se o depósito não for limpo corretamente a cada 3 dias.
MONTAGEM
a. Montagem da base

Insira os tubos (1) na base (4) apertando os quatro parafusos (3) e a placa (5) com as porcas (6).
Introduza a tampa (2) em direção à parte inferior da base (4). (Esq. 1)

Fixe a base da nebulizadora à base da ventoinha, utilizando o parafuso incluído (Esq. 2).
Insira os eixos e as rodas (ver esquema abaixo).

text_image
Roda Eixo Base
Coloque o corpo da ventoinha nos tubos com o auxílio dos 2 parafusos incluídos (Esq. 3)
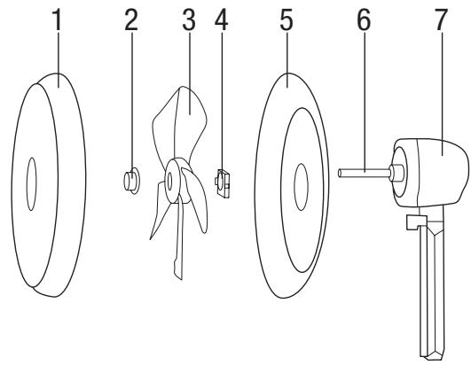
b. Montagem da ventoinha
Desaperte a porca (4) do motor (7) girando no sentido oposto ao dos ponteiros do relógio. Coloque firmemente a grelha traseira (5) no motor, fazendo coincidir os 3 calços de montagem. Volte a apertar a porca (4) na grelha girando no sentido dos ponteiros do relógio, de modo a fixar convenientemente a grelha no motor.

text_image
1 2 3 4 5 6 7Monte as pás da ventoinha (3) no eixo (6).
Fixe-as firmemente com o auxílio da porca invertida (2) no sentido oposto ao dos ponteiros do relógio.
As pás devem poder girar livremente sem tocar na porca de aperto da grelha traseira.
Coloque a grelha dianteira na grelha traseira, fixe os clipes (Esq. 4) e aperte os

text_image
Esq. 4
text_image
Esq. 5parafusos e a porca de bloqueio (Esq. 5).
Faça passar o tubo de neblina no meio dos 2 tubos de suporte (1). Em seguida, puxe o tubo para cima passando por trás do painel de controlo. Extraia o tubo de neblina pelo orifício, por cima do painel de controlo (2).

As extremidades do tubo de neblina devem ter o mesmo comprimento.
Uma vez o comprimento do tubo ajustado, ligue a parte superior do tubo de neblina ao difusor na parte da frente da grelha dianteira (1). Ligue a parte inferior do tubo de neblina no orifício central na parte superior do depósito de água.
UTILIZAÇÃO

IMPORTANTE: o depósito de água deve sempre estar colocado na base do humidificador para o aparelho funcionar, em modo ventoinha e/ou em modo nebulizadora. O aparelho não funcionará se o depósito de água não estiver instalado! Para utilizar o modo nebulizadora, o depósito deve conter água (ver parágrafo «Utilização da nebulizadora»).
A. UTILIZAÇÃO DA NEBULIZADORA
Segurança sanitária
Para garantir um nível de segurança suficiente em relação ao risco sanitário relacionado com a utilização de uma nebulizadora de água de ultrassons, as instruções que se seguem devem ser cumpridas.
a. Primeira colocação em funcionamento da nebulizadora
Comece por limpar e desinfetar o depósito, o tubo de neblina e o difusor.
Em seguida, passe esses elementos por água limpa ou esterilizada antes de os deixar secar por completo ao ar livre antes da primeira utilização.
b. Utilização da nebulizadora
Encher o depósito:
A capacidade máxima do depósito de água é de 3 litros. Não exceder o nível máximo de água indicado.
- Comece por desligar o aparelho.
-
Retire o depósito da base da nebulizadora. (Ver esquema em seguida)
-
Desaperte a tampa situada no fundo do depósito.
- Encha o depósito de água diretamente com 50% de água potável fria e com 50% de água desmineralizada previamente esterilizada (ou encha diretamente o depósito com água potável fria unicamente).

text_image
Desapertar Apertar Virar o depósito Depósito de água Base da nebulizadoraNota: o uso de água desmineralizada permite limitar a formação de calcário no difusor.
- Volte a apertar a rolha e reinstale o depósito na nebulizadora.
O aparelho está pronto a funcionar.
Depois de cada utilização:
- Desmonte e esvazie toda a água do depósito antes de o limpar e desinfetar (ver «Primeira colocação em funcionamento»).
ATENÇÃO! Não deixe água no depósito quando a nebulizadora não estiver a ser utilizada.
ATENÇÃO! Não guardar água no depósito durante mais de 24 horas. Renove todos os dias a totalidade da água, purgue o circuito de água, limpe e desinfete o depósito.
IMPORTANTE! A temperatura da água a nebulizar nunca deve exceder os 23°C. Nunca exponha parte ou totalidade da nebulizadora à luz direta do sol!
c. Manutenção da nebulizadora
Limpe e desinfete a cada trimestre durante o período de utilização da nebulizadora. Limpe e desinfete todos os elementos da nebulizadora antes de a utilizar após um longo período de inutilização.
IMPORTANTE: o incumprimento destas instruções pode causar a difusão de micro-organismos patogénicos e/ou alergénicos durante a utilização da nebulizadora.
a. Painel de controlo da ventoinha
MODOS
A ventoinha funciona em modo NOR (NORMAL).
Neste modo, a velocidade de ventilação VENTIL selecionável é 1 (lenta) / 2 (média) / 3 (rápida) através do botão velocidade.
Para passar para o modo BRI (BRISA), prima o botão MODO.
O aparelho muda de ritmo aleatoriamente, para proporcionar a sensação de uma brisa natural.
Neste modo, a velocidade de ventilação selecionável através do botão de velocidade é 1 / 2 / 3.
- Velocidade 1 (lenta): alterna automaticamente entre velocidade lenta e paragem.
- Velocidade 2 (média): alterna automaticamente entre velocidade média e lenta.
- Velocidade 3 (rápida): alterna automaticamente entre velocidade rápida, média e lenta.

text_image
ALIM OSCIL BRUME 1 2 3 VENTIL 1 2 3 NOR BRI SOM 0.5H 1H 2H 4H MODE MINUT MODE OSCIL BRUME M/APara passar para o modo SOM (SONO) prima mais uma vez o botão MODO.
Neste modo, a velocidade de ventilação selecionável através do botão de velocidade é 1 / 2 / 3.
- Velocidade 1 (lenta): alterna automaticamente entre velocidade lenta e paragem.
- Velocidade 2 (média): alterna automaticamente entre velocidade média e lenta durante 30 min e entre velocidade lenta e paragem.
- Velocidade 3 (rápida): alterna automaticamente entre velocidade rápida, média e lenta durante 30 min, depois alterna automaticamente entre velocidade média e lenta durante 30 min e, por fim, alterna automaticamente entre velocidade lenta e paragem.
TEMPORIZADOR
Pode programar o tempo de funcionamento da ventoinha através do botão MINUT (TEMPORIZADOR). Cada pressão do botão acrescenta 30 minutos / 1 hora / 2 horas / 4 horas de funcionamento (de 30 minutos a 7h30).
O tempo selecionado aparece no visor de controlo com os indicadores ligados.
VELOCIDADE
Por defeito, a ventilação está definida na velocidade lenta 1.
Prima o botão VITESSE (VELOCIDADE) para passar para a velocidade média 2 e mais uma vez para passar para a velocidade rápida 3. A velocidade selecionada aparece no visor.
OSCILAÇÃO
Prima o botão OSCIL para ativar ou desativar a oscilação.
NEBLINA
Prima o botão BRUME (NEBLINA) para ativar ou desativar a nebulizadora com 3 níveis reguláveis.
Antes de ativar a função Brume (Neblina), encha o depósito com água.
Neste modo, o nível de neblina selecionável através do botão é 1 (baixo) / 2 (médio) / 3 (forte).
A nebulizadora pode funcionar independentemente da ventoinha.
LIGAR/DESLIGAR
Prima o botão de Ligar/Desligar para ligar ou desligar a ventoinha. O botão de Ligar/Desligar controla apenas a ventoinha, não a nebulizadora.
b. Telecomando
Pressione o botão VENTIL para Ligar ou desligar a ventoinha. O botão VENTIL (Ventoinha) controla apenas a ventoinha, não a nebulizadora.
Funções do telecomando:
BRUME (Nebulização): Para ativar ou desativar a função Nebulização.
OSCIL (Oscilação): Para ativar a oscilação.
MINUT (Temporizador): Para programar o tempo de funcionamento da ventoinha.
MODE (Modo): Para selecionar os modos: Normal / Brisa / Sono.
VITESSE (Velocidade): Para selecionar a velocidade.
VENTIL (Ventoinha): Para ligar ou desligar a ventoinha.
- Funciona com 2 pilhas LR03/AAA, 1.5 volts (não incluídas). As pilhas gastos devem ser eliminadas de modo seguro. Coloque-as nos coletores previstos para o efeito, de modo a proteger o ambiente.
- Ao inserir as pilhas observe as polaridades indicadas nas mesmas e no interior do compartimento.
- Oriente o telecomando em direção ao painel de controlo da nebulizadora para a colocar em funcionamento.
CUIDADOS DE LIMPEZA E MANUTENÇÃO
Atenção: o aparelho deve imperativamente ser desligado antes de qualquer operação de limpeza.
Desligue o aparelho antes de o limpar.
- Limpe as peças em plástico com uma esponja húmida impregnada com sabão suave.
- Retire o sabão com água limpa e seque com um pano suave.
- Certifique-se de que não entra água em contacto com o motor da ventoinha.
- Não volte a ligar o aparelho antes de este estar totalmente seco.
Não utilize diluente, álcool ou produtos químicos para limpar o aparelho.
O aparelho deve ser limpo e verificado regularmente se for utilizado diariamente. Limpe e desinfete a cada trimestre durante o período de utilização da nebulizadora.
Limpe e desinfete todos os elementos da nebulizadora antes de a utilizar após um longo período de inutilização.
IMPORTANTE: o incumprimento destas instruções pode causar a difusão de micro-organismos patogénicos e/ou alergénicos durante a utilização da nebulizadora.
Descalcificação:
- Desligue o aparelho e deixe-o arrefecer totalmente.
- Limpe o depósito de água, enchendo parcialmente a base da nebulizadora com 20 ml de vinagre de limpeza. Deixe a solução atuar durante 20 minutos.
- Limpe toda a superfície interior com uma escova macia. Molhe um pano com vinagre de limpeza não diluído e limpe a base interior em contacto com a água para remover o calcário.
- Passe por água limpa morna para remover o calcário e o vinagre de limpeza.

- Este símbolo aposto no produto significa que o aparelho deve ser tratado como resíduo sujeito à regulamentação da Diretiva 2012/19/UE relativa aos resíduos de equipamentos elétricos e eletrónicos (REEE).
- A presença de substâncias perigosas nos equipamentos elétricos e eletrónicos pode ter efeitos potenciais no ambiente e na saúde humana no ciclo de reprocessamento do produto.
- Por conseguinte, no final de vida do aparelho, não o elimine juntamente com os resíduos municipais indiferenciados.
- Enquanto consumidor final, o seu papel é fundamental no ciclo de reutilização, reciclagem e outras formas de valorização dos equipamentos elétricos e eletrónicos. São colocados ao seu dispor sistemas de recolha e retoma pelas autarquias locais (estação de tratamento de resíduos) e pelos distribuidores.
- É sua obrigação utilizar os sistemas de recolha seletiva disponibilizados.
Informações relativas ao significado da marcação de conformidade C€
A marca CE indica que o produto cumpre os principais requisitos das Diretivas Europeias 2014/35/CE (Baixa Tensão), 2014/30/CE (Compatibilidade Eletromagnética), 2011/65/UE (Restrição do uso de determinadas substâncias perigosas em EEE).
Os produtos elétricos não devem ser descartados juntamente com o lixo doméstico. Recicle-os nos pontos de recolha previstos para o efeito. Informe-se junto das autoridades locais ou do revendedor para obter conselhos referentes à reciclagem.
A eliminação correta dos aparelhos antigos ajuda a preservar o ambiente e a saúde.
Para pedidos de informações, manual de instruções, pontos de segurança e condições de utilização: SIPLEC, CS 10020, 94859 Ivry-sur-Seine Cedex, França.
SERVIÇO DE APOIO AO CLIENTE/GARANTIA
- Os produtos ELSAY são concebidos segundo os mais altos padrões de qualidade dos produtos para o lar.
- Os produtos ELSAY beneficiam do período de garantia legal (24 meses) que inicia a contar da data de compra do produto por parte do consumidor ou da data de entrega do produto. Em complemento dessa garantia legal, uma extensão de um ano (12 meses) é proporcionada pelo E. Leclerc. O período de garantia total fica, assim, de 3 anos (36 meses).
A extensão de garantia proporcionada pelo E. Leclerc não se aplica aos acessórios* (saco de aspirador, jarro, etc.).
- As intervenções realizadas a título da garantia legal de conformidade proporcionarão uma extensão de garantia legal de conformidade de 6 meses ao produto. Contudo, as intervenções efetuadas durante o período de garantia complementar proporcionado pelo E. Leclerc não poderão beneficiar dessa extensão de garantia.
- Estão abrangidas todas e quaisquer avarias ou deficiências, que tornem o produto impróprio ao uso e que resultem na devolução do produto por parte do consumidor durante o período da garantia.
- Se o produto ELSAY não puder ser reparado durante o período total de garantia (garantia legal de conformidade e extensão de garantia proporcionada pelo E. Leclerc), o mesmo será substituído e a garantia total será renovada.
- Estão excluídos da garantia* quaisquer danos, avarias, falhas ou defeitos decorrentes:
a. de um uso ou uma instalação não conformes com as instruções constantes do manual fornecido
b. de danos resultantes de uma causa externa o produto
c. de uma alteração das características técnicas pelo utilizador
d. de uma utilização profissional
* No seguimento de uma análise efetuada pelos pontos de Serviço de Apoio ao Cliente E. LECLERC ou pelo ponto de venda E. LECLERC.
- A garantia aplicar-se-á exclusivamente nos pontos de venda E. LECLERC. Em caso de problema ou defeito, deverá sempre deslocar-se até um ponto de venda E. LECLERC para poder beneficiar da cobertura da garantia.
- Qualquer pedido de serviço pós-venda apenas poderá ser processado se: a. For fornecido um comprovativo de compra (talão de caixa ou cartão E. LECLERC); b. O produto for rigorosamente idêntico ao comprado.
- A sua loja E. LECLERC está ao seu dispor para quaisquer informações adicionais.
- Assim como está disponível o número verde 0800 35 35 20 (chamada sem valor acrescentado).

ManualFácil