WS6620 - Stacja Pogodowa TECHNOLINE - Bezpłatna instrukcja obsługi
Znajdź bezpłatnie instrukcję urządzenia WS6620 TECHNOLINE w formacie PDF.
Często zadawane pytania - WS6620 TECHNOLINE
Pytania użytkowników dotyczące WS6620 TECHNOLINE
0 pytanie dotyczące tego urządzenia. Odpowiedz na te, które znasz, lub zadaj własne.
Zadaj nowe pytanie dotyczące tego urządzenia
Pobierz instrukcję dla swojego Stacja Pogodowa w formacie PDF za darmo! Znajdź swoją instrukcję WS6620 - TECHNOLINE i weź swoje urządzenie elektroniczne z powrotem w ręce. Na tej stronie opublikowane są wszystkie dokumenty niezbędne do korzystania z urządzenia. WS6620 marki TECHNOLINE.
INSTRUKCJA OBSŁUGI WS6620 TECHNOLINE
Stacja pogodowa na biurko WS6620
Instrukcja obslugi
Wstep
Stacja pogodowa na biurkoPokazuje na wyswietlaczu barometryczna prognoze pogody, zegar, kalendarz, temperature wewnatrz i na zewnatrz oraz wilgotnosc. jest zasilana bateriami z ladowarka AC. Zaleca sie stosowanie ladowarki AC zawsze.
1


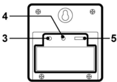
Rys. 1 Widok z przydou Rys. 2 Widok z tylu
- Przycisk „SNOOZE/LIGHT"
- Przycisk „MODE”
- Przycisk „SET/AL"
- Przycisk „HISTORY"
- Przycisk + / /
- Przycisk -/ RCC
- Przycisk „LIGHT"
- Przycisk MAX/ MIN
- Przycisk "IN/CH"
- Wyczka DC line in
- Komora baterii
Uwagi ogolne:
- Zaleca sie skonfigurowanie zdalnego czujnika temperature przy skonfigurowaniem staci pogodowej/zegara. Wieciej informacji, patrz „Konfiguracja zdalnych czujników temperatury". Baterie i przytejsciowych AC naleź wy stosowej razem.
- Naleź y pamiętac, ze wszystkie innu ustawienia zegara/stacji pogodowej nie sądziala, kiedy zegar znajdzie są w trybie synchronizacje. Dodatkowe informacja, patrz „Synchronizacja RCC".
- Podczas pierwszej instalacji czujnik temperatury i wilgotnosci są dostrajać sie przyez godzine lub nawe t dluzej doactualnych warunkow.
Rozpoczecie:
Wkladanie przy.§ciówki A/C
- Podlączyć przytejsciowych A/C D/C do gniażda wejsciowego D/C (10) (patrz rysunek 2). Mnżna stosowej tylko zatwierdzone przytejsciowyki.
Wkladanie baterii
- Otworzyc komore baterii (11) z tylu urzadzenia.
- Włoźyc/wymienić 4 baterie „AAA" w komorze. Zaleca są stosowanie tylko baterii alkalicznych.
- Wymienic baterie w komorze (11) z tylu urzadzenia.
- Rozlegnie sie krótki sygnat dzwiekowy, potwierdzajacy prawidowej włozenia baterii.
- Ekran podswietli sie w ciagu okolo 3 sekund.
Ostrzeżenia bezpiecznychstwa dotyczne baterii:
- Przed uzyciem naleź dokkadnie przyczycyta wszystkie instrukcje.
- Włozyc baterie prawidłowo, zgodnie z biegunowosćia (+/-).
- Zawsze naleź wymieniacz yestaw baterii.
- Nigdy nie wolno mieszac zuzytych i nowych baterii.
- Zuzyte baterie nalezy natychmiast wymieniać.
- Wyjmowac baterie, jesti urzadzenie nie jest uzywane.
- Nie ladować ponownie baterii ani nie wyrzuać ich do ognia, poniewaź mogaj eksplodować.
- Naleź zapewnić,ź baterie są przechowywane z dala od metalowych obiektów, poniewaN zetakniecie z nimi moze spowodstawczarcie.
- Unikać narażania baterii na dzialanie bardzo wysokich temperatur lub wilgotnosci badź bezposredniago naslonecznienia.
- Baterie nalezy trzymać w.), niedostepnym dla daneci. Powoduja one zagrozenia udwawieniem.
- Naleź y zachować opakowanie, aby poźniaj odczytywać zawarte na nim informacje.
Konfigurowanie staci pogodowej:
W staci pogodowej Rozlegnie sie sygnat dzwiekowy po zainstalowaniu baterii lub podlaczeniu przyejsciowych AC.
- Naciśćcie przycisku „-RCC" (6) lub „+/C/F" (5) zmiezenia aktualné.), sątuacje pogodowa. Na rysunku 3 ponijeż znejduja są zjawiska pogodowej powtarzajace są w bezposrednej okolicy.
Rysunek 3
| Sonecznie | Lekkie zachmurzenie | Zachmurzenie | Deszcz |
- Naciśćcie przycisku „HISTORY" (4) zatwierdza zjawisko pogodowe.
Interpretowanie symboli prognozy pogody
Stacja pogodowa potrzebuje co najmiej 24 godzin na dostosowanie sie do mistrysych warunków pogodowych. Stacja pogodowa przytewarza i analizuje zjawiska pogodowe dla poprzednich 24 godzin, aby okreslic nadchodzaca pogode. Dopóki nie minie ten czas, przewidywana prognoza pogodyMZe ne odzwierciedlać dokladnie aktualnej pogody w bezposrednej okolicy.
Na staci pogodowej wyświetlą sie te symbole (patrz rys. 3), wskazujac przewidywana prognoź pogody na nastepne 12 do 24 w okolicy o promieniu okola 30-50 km.
Uwaga:
- Dokladsność bojeć mniejsza w ekstremalnych warunkach pogodowych. Prognoza pogody ma tymko wartosć informacyjn iłąna ja wykorystywać są tymko do zastosowan domowych. NIE walno traktowac staci pogodowej jakość wierzacej prognozy pogody w przypadku wąNZych spraw, takich jak, aleNie tymko: zdrowie czlowieka, sytuacje zagrożeniaźycia i smierci, decyzje biznesowej i finansowe i/oraz planowania rolnicze.
- Prognoza pogody nie odzwierciedla aktualnej pogody. Pokazuje ona przyszlá pogode.
Podswietlane ikony pogody
Podswietlane krystaliczne ikony pogody:noza wączać lub wączać naciskajć przycisk „LIGHT" (7).
Regulacja stacji pogodowej:
- Nacisnac przycisk „HISTORY" (4) i przytrzymać przyez 3 sekundy,ź rozlegnie sie sygnat dzwiekowy.
- Naciśćcie przycisku „-RCC" (6) lub „+/C/F" (5) powoduje przy.§czanie jegnostek cijsnienia atmosferycznégo miédzy paskalami (hPamb) a calami słupa rteci (inHg)
- Nacisnac przycisk "HISTORY" (4), abyssatzwierdzic.
- Naciść przyczysku „-RCC" (6) lub "+"/C/F" (5) zmieiu poziom morza najblżej lokalizacja uzytkownika. Jednostki wyśokość nad poziemem morza podawane są w metrach (1 metr to okło 3,28 stop). Więcej informacjaromatica uzyskać w mistręsczych stacjach lub instytucjah meteorologicznych.
- Naciśćcie przyciscu „HISTORY" (4) zatrwoerdza poziom morza.
- Naciść przycisku „-/RCC" (6) lub „+/C/F" (5) zmiezenia aktualné.), sątuacje pogodowa. Na rysunku 3 powyȩz znejduje są zjawiska pogodowej powtarżajcie są w bezposgcdnej okolicy.
- Nacisnac przycisk "HISTORY" (4), abyssatzwierdzic.
Odczytywanie trendu ciśnienia:
- Zapisane wPCMJIcZmiany ciSNIenia barometrycznegoPokazywane sa 3 strzalkami, oznaczajacymi trend ciSNIenia.
| Rasnace | Stań | Spadajść |

Uwaga: Prawidłowy pomiar trendu cijsnienia barometrycznego mozliwy jest tylko wtedy, gdy urzadzenie znajduje sie na tej samej wysokoosci. Przestawianie na rożnych wysokoosciach w krótkim czasie spowoduje zmieane cijsnienia powietrza i cijsnienia barometrycznego. Trend cijsnienia bedzie tylko poprawny i uregulowany. Urzadzenie znajdowo są na statej wysokoosci przyez 24 godziny lub dluzej.
Przywolywanie odczytu zapisanej historii ciasnienia
Odczyt ciasnienia barometrycznego jest zapisywany co godzne. Można go przywołyć i wyświetlic dla minionych 12 godzin.
Nalezy nacinac kila razy przycisk „HISTORY" (4), aby obejrzej ciasnienie zapisane w poprzednich godzinach. „-1 HR" oznacza ciasnienie z poprzednej godziny. Historia odczytu ciasnienia pajawi sie przyez 20 sekund, a poźnej wróciactualne ciasnienie.
Synchronizacja RCC:
Tam gdzie möliwe, zegar befindie automatycznie synchronizowat sie z wiezami kontrl radiowej w nastepujacych godzinach: 02:05, 03:05, 04:05, 05:05.
UzytkownikMZe rOwnieZrEcZnie zSynchronizowac zegar,postepujac wedlug ponizszych instrukcji.
Nacisnac i przytrzymać przycisk „-/RCC" (6) przyez około 3 sekundy, aż zacznie migac.
Kiedy miga ten sygnal, zegar próbuje zsynchronizowac sie ze sterowaniem radiwym.

bedzie migać po odebraniu silnégo sygnatu, a zegar zsynchronizuje sie z kontrola

radiowa. Ten proces moze potrwać maksymalnie 7 minut.
pojawi są po odebraniu sygnalu i podczas synchronizacje.
przestanie migać i
nie povawi sie, jesti zegar nie bedzie mogt sie zsynchronizowac w tym okresie czasu. Uzytkownik要去 wykonać synchronizacja recznie ponownie poźniaj lub zegar automatycznie sprebuje wykonać synchronizacja w godzinach wymienionych powyzej. Kiedy zegar próbuje wykonać synchronizacja, naleź yracznę przycisk „/ RCC" (6), aby anulować synchronizacja RCC.
Naleź pamięta, ze wzystkie inne ustawienia zegara/staci pogodowej nie sądz引擎, kiedy zegar znajdzie są w trybie synchronizacje. Przed wykonaniem ustawieninnych funkci zegara i staci pogodowej sąź odczekać, az zegar przywie proby synchronizacje lub gdy.bedzie zsynchronizowy.
Jesli podczas synchronizacje wystapi alarm, synchronizacja RCC przywie są natychmiast. Aby ustawic synchronizacjaledge sąȩ zgodnia z powyźyszymi instrukcjami.
Dopasowanie strefy RCC
Zegar posiada regulacja czasu sterowana radiowo. Uzytkownik musi dowiedzieć są sygnat strefy czasowej otrzymywny wactualnymmiejscu i dokonać (wszystkich) wymaganych ustawien. Ta funkacja pozwala rownież na regulacja czasu letniego. Wieciej informaci Collapse uzyskać w miejscowych stacjach lub instytucjach meteorologicznych. Nacinść przyczisk „/RCC" (6) raz, aby przyzejść do strefy czasowej +1. Nacinść przyczisk „/RCC" (6) ponownie, aby przyzejść do strefy czasowej +2. Nacinść przyczisk „/RCC" (6) ponownie, aby przyzejść do strefy czasowej -1. Nacinść przyczisk „/RCC" (6) ponownie, aby przyzejść do tej samej strefy czasowej.
Reczne ustawianie czasu:
Nacisnac przycisk „MODE" (2), aby przyćzacmiędzy aktualnym czasem i czasem alarmu.
Kiedy wyświetla są aktualny czas, nacisność przytrzymać przycisk „SET/AL" (3) przyez okło 3 sekundy,źwyświetlacza zacznie migac.
Ponownie nacisnac przycisk „SET/AL" (3). Nacisnac przycisk „-RCC" (6) lub „+/C/F" (5), abyzmienic ustawieuie godziny.
Ponownie nacisnac przycisk „SET/AL" (3). Nacisnac przycisk + / ^ / ^ (5) lub - / RCC (6), aby zmienc ustawieuie minut.
Ponownie nacisnac przycisk „SET/AL" (3). Nacisnac przycisk + / ^ / ^ (5) lub - / RCC (6), aby zmienic ustawieuie roku.
Ponownie nacisnac przycisk „SET/AL" (3). Nacisnac przycisk + / ^ / ^" (5) lub - / RCC" (6), aby zmienic ustawienia „miesiac/data" i „data/miesiac".
Ponownie nacisnac przycisk „SET/AL" (3). Nacisnac przycisk + / ^ / ^ (5) lub - / RCC (6), aby zmienic ustawieuie miesiaca.
Ponownie nacisnac przycisk „SET/AL" (3). Nacisnac przycisk + / ^ / ^ (5) lub - / RCC (6), aby zmienic ustawieuie daty.
Ponownie nacisnac przycisk „SET/AL" (3). Nacisnac przycisk „-RCC" (6) lub „+/C/F" (5), aby przyęlaczenia między zagarem AM/PM a 24-godzinnym.
Ponownie nacinac przycisk „SET/AL" (3). Nacinac przycisk ^+ / ^ / ^ (5) lub - / RCC (6), aby zmienic ustawieuie jejzyka dnaia.
ENG angielski; GE niemiecki; IT wolski; FR francuski; NE niderlandzki; ES hiszpanski; DA durnski;
Ponownie nacinac przycisk „SET/AL" (3), aby potwierdzic ustawienia. Wyświetlacz przystania migać.
Aby zobaczyc czas alarmu:
Nacisnac przycisk „MODE" (2), aby przyęlaczenia między aktualnym czasem i czasem alarmu. Czas alarmu wyświetli są zgodnia ze wskazaniem „AL".
Ustawianie czasu alarmu:
Po naciśću przyciscu „SET/AL" (3) raz, czas alarmu zestanie pokazany wedlug wskazania „AL".
Nacisnac i przytrzymac przycisk „TRYB" (2) przy bez okolo 3 sekundy, aż cyfry zaczna migac.
Nacisnac przycisk „/RCC" (6) lub „+/C/F" (5), aby zmienc ustawieten godziny.
Ponownie nacinac przycisk „MODE" (1).
Nacisnac przycisk „-RCC" (6) lub „+/C/F" (5), aby zmienić ustawuminium minut.
Ponownie nacinac przycisk „MODE" (1).
Kiedy wyświetlany jest czas alarmu, naleź yracznac przycisk „/ RCC" (6) lub przycisk
^ + / C / F^ (5),aby wlaczyc i wylaczyc alarm. pojawisi, gdy alarm jest wlaczony.
Alarm besteht przy bez 120 sekund od momentu ustawionego czasu alarmu. Aby wyłaczyc alarm, naleź ynesczówolny przyczisk z tylu zegara. Zegar automatycznych przyzejdie do trybu drzemki, jesti alarm nie zostanie wyłaczony.
Aby przyść do trybu drzemki, gdy alarm jest wączony, naleź yracznę przyczisk
"SNOOZE/LIGHT" (1). Z bedzie migać, gdy zegar jest w trybie drzemki. Alarm Rozlegnie sie ponownie za 5 minut. Aby wyłaczyć alarm, naleźny nacisné dowolny przycisk z tyło zegara.
Naleź pamiętac, ze ustawienie czasu alarmu nie;będzie działac, gdy zegr znajduje są w trybie RCC. Przed ustawieniem czasu alarmu;naleź odczekać do zakończenia synchronizacja.
Konfigurowanie termometru
Do celów synchronizacje stacja pogodowa posiada maksymalnie 3 zdalne czujniki temperatury. Jeden zdalny czujnik temperatury jest dołoczony. Dodatkowy zdalny czujnik temperaturydoğan kucić oddzielnie.W celu zakupu naleź skont⁺tow⁻ć są z lokalnym dystrybutorem.
Zdalne czujniki temperature (RTS)

Rys. 4 Widok z tyfu

Rys. 5 Widok z tylu - otwarty
RTS1. Otwó do zawieszenia
RTS2. Sruby komory baterii
RTS3. Przycisk "TX"
RTS4. Przycisk „RESET"
RTS5. Przelacznik „Channel 1 2 3"
Wkladanie baterii
- Komore baterii z tylu urzadzenia otwiera sie wykracajc dwie
niewielkie s Ruby (RTS 2) za pomocag srobokreta Philips. (patrz rys. 4) - Wlozyc/wymienic 2 baterie „AAA" w komorze. Zaleca sie stosowanie
tylko baterii alkalicznych. Nie maya stosowac baterii ladowanych.
- Stacja pogodowa要去ODBierać maksymalnie 3 rożne kanaly. Numerkanalu (1, 2 lub 3) sąwa wybrać przesuwajć przy.§acznik „Channel 1 2 3" (RTS 5). Ješli jest tylko 1 zdalny czujnik temperatury, naleźwy wybrać 1.
- Nacisnantzprzycisk „reset" (RTS 4) jeder raz, czerwone swiatlo mignie raz.
- Wymienic komore baterii z tylu urzadzenia, dokrcajac dwie s Ruby (RTS 2).
Montaz
- Ustawic zdalny czujnik temperatury w zadanym.), zaczepiajac urzadzenie za otwor do zawieszania (RTS 1) na srbie (sruba nie jest dostarczana). Alternatywnie urzadzenie dla umiesci na plaskiej poziomej powierzchni.
- Urzadzenia möglich umieszeczć wewnatrix lub na zewnatrix. Urzadzenia jest odporne na dzialanie warunków atmossferycznych. Nie zanurzać urzadzenia w wodzie. Nie narażć urzadzenia na dzialanie wody przyez dduźsy czas. Unikać gromadzenia są wody i/lub sniegu pod urzadzeniem. Unikać narazania urzadzenia na bezposrednia dzialanie promieni stonecznych. Zabierać urzadzenia z dworu w przypadku ekstremalnych lub zych warunków atmossferycznych, w tym, aleNie tylko okresów huraganów, tajfunów i cyklonów. Nie ustawiać urzadzenia w mistręch o duzej sile wiatru.
- Nie umieszczac zdalnégo czujnika temperature w odlegósci Większej niz 30 metrow (98 stop) od odbierajućej staci pogodowej. Zdalné czujnik temperature jest najbardziej skuteczny, sąmi między nim a stacja pogodowa nie maźadnych przyszkód ani zakłocen. Zdalné czujnik temperatureMZa zblżyc na odlegósc mniejszamy i30 metrow, sąsi stacja pogodowa nie bedzie w stanie odebracźadnégo sygnalu. jest to ze względu na przyszkody i zakłocenia. UzytkownikMZe probowacz roźnych mistrc, aby uzyskać majlepszy odbior.
Konfigurowanie staci pogodowej w celu odbierania zdalnych sygnabwe temperature
- Aby skonfigurowac zdalny czujnik temperature, nalezy postepowac zgodnie z powyzszymi instrukcjami.
- Nacisnac i przytrzymac przycisk „IN/CH" (9) na staci pogodowej przyez 3 sekundy. "CH" besteht migać. Spowoduje to zresetowanie wsztkich pAMIęci temperatury.
- Stacja pogodowa Rozpocznie skanowanie w poszukiwaniu sygólów dla kanalu 1. Od razu po otrzymaniu sygólów dla kanalu 1, wyświetlona zostanie temperatura. Stacja pogodowa Rozpocznie automatyczne skanowanie w poszukiwaniu innych kanalu. Skanowanie kaźdego kanalu potrwa okło 3 sekund, poźniaj nastapi przyjecie do nastepnékanalu.
-
Po odebraniw szystkich kanałów naleź nacisnacz przyczisk „IN/CH"
-
Stacja pogodowa出入境 nowy sygnot automatycznie co 30 sekund, aby zaktualizowarc temperature zdalna.
-
Naciskić przycisk „IN/CH" (9) na staci pogodowej, aby przyćlaczenia między kanatem 1 „CH1", kanatem 2 „CH2" i kanatem 3 „CH3".

wyświetli są, są zajdzie koniecznosć wymiany bateriary go czujnika temperatury.
miec temperature
- Nacisnac przycisk „Max/Min" (8), aby wyświetlic maksymalna zapisanova temperature,minimalna zapisanova temperature i aktualnaj temperature. "MAX" oznacja temperature maksymalna. "MIN" oznacja temperature minimalna.
- Nalezy nacinac i przytrzymac przycisk „Max/Min" (8) przyez około 3 sekundy, aby zresetowac zapisy wartosci maksymalnej i minimalnej temperatury oraz wilgotnosci.
Wyświetlacz temperatury
- Wartosc, IN" wyświetla temperature wewnatrz. jest to temperatura panujęca w przyciech ustawienia staci pogodowej.
- Wartosc "OUT" wyświetla temperature zdalnych czujników temperatury.
- Naciskać przycisk „IN/CH" (9) na staci pogodowej, aby wyświet榔 temperature kanalu 1, kanalu 2 i kanalu 3.

wyświetlacz automatycznie pokaź wszystkie sącz przycisk „IN/CH" (9), aby anulować.
- Jesli pojawi sie , wyswietlacz automatycznie pokaze wczujniki zdalne. Nacisnac przycisk "IN/CH" (9), aby anulować.
- "LL" pojawi sie, jesti temperatura i wilgotnosc znajda sie ponizej Rozpoznawalnego zakresu.
Skala Celsjusza / Fahrenheita
- Nacisnac przycisk „+/C/F" (5), aby przyelacjacy sposob wyświetlania temperatury wg skali Celsjusza i Fahrenheita.
Trend temperature

wskazuje wzrastajacy trend temperature.
wskazuje trend temperature bezzmian.
wskazuje spadajacy trend temperature.
Ostrzeżenia
- Nie narażć urzadzenia na dzialanie duzych sil, wstrȩźów, pyłu, temperatury lub wilgotnosci.
- Nie zanurzac urzadzenia w wodzie.
- Cale urzadzenie nalezy wyrzucic, jesti bateria nie laduje sie lub gdy urzadzenie
nie wyświetla temperatury i/lub wilgotnosci.
- Nie usuwac srb.
- Nie wyrzucacute urzadzenia do ognia. MÖZE EKSPLODOWAC.
- Trzymać urzadzenia z dala od małych daneci. Urzadzenia lub seinenczmi moga stanowic zagrożenie udwawieniem.
- Nigdy nie wolno probowac ladowac baterii innymi sposobami.
Urzadzenie nalezy wyrzucać w sponsorship zgodny z sprawem. - Jesli to moziwe, nalezy oddac je do recyklingu.
Specyfikacja
Zakres temperature wewnetrznej: od 0^ do 50^ (od 32^ do 122^ )
Zakres temperature zewnetrznej: od -20^ do 50^ (od -4^ do 122^ )
Zakres wilgotnosci względnej: 20%-95%
Zakres ciñnienia barometryczneo: od 930mb do 1050mb
Zasilanie (Stacja pogodowa): 4 baterie AAA 1,5V
Zasilanie (Zewnetrzny nadajnik): 2 baterie AAA 1,5V
WS6620 Stolní meteostanice
Pokyny k použití
ProstaInstrukcja