WS6620 - Meteostanice TECHNOLINE - Bezplatný návod k obsluze
Najděte návod k zařízení zdarma WS6620 TECHNOLINE ve formátu PDF.
Často kladené otázky - WS6620 TECHNOLINE
Dotazy uživatelů ohledně WS6620 TECHNOLINE
0 otázka o tomto zařízení. Odpovězte na ty, které znáte, nebo položte vlastní.
Položte novou otázku o tomto zařízení
Stáhněte si návod pro váš Meteostanice ve formátu PDF zdarma! Najděte svůj návod WS6620 - TECHNOLINE a vezměte svůj elektronický přístroj zpět do rukou. Na této stránce jsou zveřejněny všechny dokumenty potřebné k používání vašeho zařízení. WS6620 značky TECHNOLINE.
NÁVOD K OBSLUZE WS6620 TECHNOLINE
Tato stolní meteorologická stanice disponuje funkcem i predpovedi počasí na základě barometrického tlaku, hodinami, kalendářem, pokojovým a venkovním měrením teploty a zobrazením vlhosti. Je napajena bateriemi i AC adaptérem. Je vždy doporučeno použiti AC adaptéru.
1


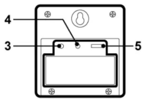
Obr. 1 Pohled zepredu Obr. 2 Pohled zezadu
- T I a cītko "SNOOZE/LIGHT"
- T I a cǐtko “MODE”
- T I a Čitko "SET/AL"
- T I a cītko "HISTORY"
- T I a cijko“+/C/F”
- Tlačitko "-/RCC"
- T I a cǐtko “LIGHT”
- T I a c itko "MAX/MIN"
- T I ačitko "IN/CH"
- Vstupni DC konektor
- Bateriový prostor
Obecné pozmámky:
- Pred nastavením meteorologické stanice se doporučuje nastavit vzdálené teplotné Čidlo. Viz "Konfigurace vzdálenych teplotnéch senzoru" pro vice informaci. Baterie a AC adapter ér by měly být používány společné.
- Prosím, vezměte na vědomí, ze věsechny ostatné hodiny/meteostanice začnou fungovat, když jsou hodiny v synchronizačním režimu RCC. Viz "Synchronizace RCC" pro daláři informace.
- Bēhem počáteční instalace muže trvat teplotnínu senzoru a senzoru vlhkosti až hodinu nebo vice než se aklimatúží na aktuální podmíky.
Zacíname:
Instalace A/C adaptéru
- Zapojte A/C D/C do vstupni zdirky D/C (10) (viz obrazek c. 2). Použivejte pouze doporučné adaptéry.
Vlozeni baterij
- Na zadni straně Jednotky otevře tateriový prostor (11).
- Do bateriového prostoru vlozte 4 ks baterii velikosti "AAA". Je doporučeno používat pouze alkalické baterie.
- Vlozte zpět prostor pro baterie (11) v zadni Časti Jednotky.
- Správnou instalaci baterií potvrdi krát ké pipnu
- Obrazovka sereozsviti asi po 3 sekundach.
Bezpečnostní opatřné u baterí:
- Před použitím si prosím požorně prěctěte věsechnyPokyny k uživání.
- Vlozte baterie s pravnou polaritou (+/ -).
- Vždy vyměnte kompletní sadu baterij.
- Nikdy nevkladejte zarověn použité a nové baterie.
- Slabé baterie okamžite vyměnte.
- Vestlze meteorologickou stanici nepoužíváte, vyjměte z ní baterie.
- Baterie nenabijejte a nevhazujte je do ohne - mohou explodovat.
- Dbejte na to, aby byly baterie skladovány z dosahu kovovych predmétú, kontakt s nimi muže privodit zkrat.
- Vyhněte se vystavováni bateriý vysokým teplotám nebo vlhkosti āpříméu slunečnímu světlu.
- Drzte vsechny baterie z dosahu deti. Hrozi riziko uduşeni.
- Uschovejte si prosim obalovy materialk budoucimu vyuziti.
Nastavení meteorologické stance:
Pri vlozeni bateri nebo pripojeni AC adapturu meteorologicka stanice pipne.
- Pro změnu stavají meteorologické situace ve vaši oblasti stisknéte tlacítko "-/RCC" (6) nebo tlacítko "+"/C/F" (5). Viz nizě uvedeny obrázek Č. 3 pro charakter počasi, které se podobá vaší bezprostřední oblasti.
| Slunečno | Mirná oblačnost | Oblacno | Deštivo |
Obrázekč.3
- Stiskněte tlačitko "HISTORY" (4) a potvrd'te charakter počasi.
Vysvětlení symbolu predpovědi počasi
Meteorologická stanice vyžaduje nejméně 24 hodin k aklimatizaci na mistrí meteorologické podminky. Meteorologická stanice zpracováva a analyzujte charakter počasi za minulych 24 hodin k predpovědi budouciho počasi. Dokud tento ācas neuběhne, predpověd počasi nemusi být prěsná a nemusi odrážet aktuálné počasi ve vašem miste.
Meteostanice zobraź symboly (viz obrázek Č. 3), aby označila prędpóved poćasí na prístích 12 - 24 hodin pro oblast s dosahem cca. 30-50 km.
Poznámka:
- Mira prěsnosti muže byt niží prí extrémnich meteorologickych podminkách. Predpoved' počasi má pouze referenčné charakter a je určena pouze pro domáci používání. NESPOLÉHEJTE na meteorologickou stanici jestlíze má prědpoved' počasi duležité dusledky např.: Pokud se týká osobniho zdraví, situaciŽivota a smrti, obchodních nebo finančné rozhodnutí, a/nebo plánování v zemědělstvi.
- Předpoved počasí nezobrazuje aktuální počasí. Zobrazuje počasí pro budoucnost.
Osvětlené ikony počasí
Osvětlené ikony počasi je možné zapnout nebo vypnout stisknutím tlacítka "LIGHT" (7).
Nastavení meteorologické stanice:
- Stiskněte tlačitko "HISTORY" (4) na 3 sekundy dokud neuslyšite pipnutú.
- Pro prepinani mezi Jednotkami atmosferekho tlaku Pascal (hPamb) a inch of mercury (inHg) stiskne tlačitko "-/RCC" (6) nebo tlačitko"+/C/F" (5).
- Pro potvrzení stlačte tlacitko "HISTORY" (4).
- Pro změnu nadmořné výšky stlačte tlacitko "-/RCC" (6) nebo tlacitko "+"/C/F" (5). Jednotky urovné hladiny moře jsou v metrech (1 metr je pržblízně 3,28 stopy). Kontaktujte mistrí meteorologickou stanici nebo jiné odborníky k ziskány podrobnějsích informaci.
- Pro potvrzení nadmořné výšky stlačte tlacítko "HISTORY" (4).
- Pro změnu stavají meteorologické situace ve vaši oblasti stisknéte tlacitko "-/RCC" (6) nebo tlacitko "+"/C/F" (5). Viz vyše uvedeny obrázek Č. 3 pro charakter počasí, který se podobá počasí ve vaší bezprostřední blízkosti.
- Pro potvrzení stlachte tlacitko "HISTORY" (4).
Udaje tlakové tendency:
- Pamět zmen barometrického tlaku je zobrażena 3 šipkami k znázorněni tlakové tendence.
| Zvyšujíci Trvalý | Snižujíci | |
| hPa | hPa | hPa |
Poznámka: Spolehlíve měřeni barometrického tlaku je možné pouze v pripadě, ze Jednotka zústáva ve stejné vyšce. Pri jejím pohybu v odlišnych vyškách za krátý casový interval se tlak vzduchu a barometrický tlak změni. Tlaková tendence bude pouze správná a regulovaná. Jednotka zústala v konstantní nadmořské vyšce 24 hodin nebo vice.
Vyvolani zaznamenané historie udaju
Udaje barometrického tlaku jsou zaznamenávány v hodinovych intervalech a mohou byt vyvolány a zobrazenia za predeslchy 12 hodin.
Pro zobrazení udajú tlaku v poslednich hodinách opakovaně stisknéte tlacítko "HISTORY" (4). "-1 HR" označuje tlak v prechodží hodině. Historie tlakovych udajú se objeví na 20 sekund a poté bude zobrazen aktuální tlak.
Jestlize je dostupná, hodiny automatickyy synchronizuji svuj ācas s rádiovymi vysilaci v následujíci ācas: 2:05, 3:05, 4:05, 5:05.
Máte také możnost synchronizovat hodiny ručné podle níze uvedenychPokynu.
Stlache a drzte tlacitko "-/RCC" (6) po dobu cca. 3 sekund, nez se rozblika.
Jestlize tento signal bliká, hodiny sePokousi synchronizovatcas s rádiovym vysilacem.

bude blikat, je-li prijimany signal intenzivn a hodiny provedou synchronizaci s
rádiovym vysilacem. Tento proces muže trvat až 7 minut. ā prestane blikat a bude zobrazen, jakmile je signal přijat a synchronizován s hodinami.
nebude zobrazen, jestliže hodiny nejsou schopny provest synchronizaci casu během títo doby. Uživatel muže provest synchronizaci ručné později, nebo se budou hodiny automaticky snažit synchronizovat ve vyše uvedenycas. Když se budou hodiny snažit synchronizovat, stlache tlacitko “-/RCC” button (6) pro zruşeni synchronizace RCC.
Prosím, vezměte na vědomí, ze věsechny ostatné hodiny/meteostanice začnou fungovat, když jsou hodiny v synchronizačním režimu RCC. Vyčkejte, až se hodiny jiz nepokusi synchronizovat Čas nebo je synchronizováno nastavení jiních hodin a funkce meteorologické stanice.
Jestlize se beshem synchronizačniho režimu ozve alarm, RCC synchronizace se okamžitě ukonci. K opětovnému nastavení synchronizace Času provedte vyše uvedené pokyny.
RCC vyvä Zeni casové zony
Tyto hodiny jsou vybaveny korekci czsu za pomoci radiosvho vysilace. Budete muset zjistit signal z czosve zony, ktery prijmate na svemmiste a prizpusobit ho. Tato funkce také umozhujene nastaveni letniho czsu. Kontaktujte mstní meteorologickou stanici nebo jine odborníky k ziskání podrobnějsích informaci.
Pročasovou zónu +1 stisknéte{jednou tlacítko“-/RCC" (6).
Pročasovou zónu +2 stisknéte jestě Jednou tlačitko “-/RCC” (6).
Pro Časovou zónu -1 stisknéte jestě Jednou tlačitko “-/RCC” (6).
Stiskněte jestě Jednou tlačitko “-/RCC” (6) pro stejnu casovou zónu.
Pro zmenu mezi soucasnym casem a casem alarmu stisknete tlačitko "MODE" (2). Když se ukáze soucasny cas, tak stisknete a držte tlačitko "SET/AL" (3) po cca 3 sekundy až se rozbliká displej.
Znovu stlachte tlacitko "SET/AL" (3). Pro zmenu nastaveni hodiny stiskněte tlacitko "-/RCC" (6) nebo tlacitko "+"/C/F" (5).
Znovu stlačte tlačitko "SET/AL" (3). Pro změnu natavení minut stisknéte tlačitko +/^o C/^o F (5) nebo tlačitko "-/RCC" (6).
Znovu stlačte tlačitko "SET/AL" (3). Pro změnu nastavení roku stisknéte tlačitko +/^o C/^o F (5) nebo tlačitko "-/RCC" (6).
Znovu stlachte tlacitko "SET/AL" (3). Pro zmenu nastaveni meseice/data a data/mesice stisknete tlacitko + / ^ / ^ (5) nebo tlacitko "-/RCC" (6).
Znovu stlachte tlacitko "SET/AL" (3). Pro zmenu nataveni msesice stisknene tlacitko + / ^ / ^ (5) nebo "-RCC" tlacitko (6).
Znovu stlačte tlačitko "SET/AL" (3). Pro změnu nastavení data stisknéte tlačitko +/^o C/^o F (5) nebo tlačitko "-/RCC" (6).
Znovu stlačte tlačitko “SET/AL” (3). Pro prepínámmezi AM/PM a 24 hodinovým formátem stisknéte tlačitko “-/RCC” button (6) nebo tlačitko “+/C/F” (5).
Znovu stlachte tlacitko "SET/AL" (3). Pro zmenu nastaveni jazyka pro dny v tydnu stiskněte tlacitko + / ^ / ^ (5) nebo tlacitko "-/RCC" (6).
ENG pro anglictinu; GE pro nemcinu; IT pro italstinu; FR pro francouzstinu; NE pro holandstinu; ES pro spanelistinu; DA pro dänstinu;
Pro potvrzení nastavení stiskněte opět tlacítko “SET/AL” (3). DispJE již nebude blikat.
Zobrazenícasualarmu:
Pro změnu mezi současným Časem a Časem alarmu stisknéte tlacítko “MODE” (2). Čas buzení se ukáže námipsem “AL”.
Nastavenícasualarmu:
Stisknéte jegnou tlacitko "SET/AL" (3) a Čas alarmu se ukáze napisem "AL".
Stiskněte a podržte tlacítko "MODE" (2) po dobu cca. 3 sekund až se cislice Rozbliká.
Prozmenu nastaveni hodiny stisknete tlačitko "-/RCC" (6) nebo tlačitko "+/C/F" (5).
Opět stisknéte tlacítko "MODE" (1).
Pro změnu nastavení minut stisknéte tlacítko “-/RCC” (6) nebo tlacítko “+/C/F” (5).
Opět stisknéte tlacítko "MODE" (1).
Když se ukaže Čas alarmu, tak stisknéte tlačitko “-/RCC” (6) nebo tlačitko “+/C/F” (5) pro
zapnutí a vypnutí alarmu. bude zobrazeno pri zapnutém alarmu.
Alarm bude znít 120 sekund po dosaženi nastaveného Času alarmu. K deaktivaci alarmu stisknéte kterékoliv tlacitko v zadni Časti hodin. Hodiny prejdou automaticky do režimu opakovaného alarmu, jestlize nebyl alarm deaktivován.
Když je alarm zapnuty a prechází do režimu opakovaného alarmu, stisknéte tlacitko
"SNOOZE/LIGHT" (1). Z bude blikat, jestlje jsou hodiny v režimu opakovaného alarmu. Alarm zazni znovu za 5 minut. K deaktivaci alarmu stisknéte kterékoliv tlačitko v zadní casti hodin.
Uvedomte si prosim, ze nastaveni casu alarmu prestane fungovat, jestlje jsou hodiny v synchronizovanem rezimu. Pred nastavenim casu alarmu vyčkejte, než se synchronizace casu ukonči.
Konfigurace teplomeru
Tato meteorologická stanice muže synchronizovat až 3 dálkové teplotní senszory. Jeden dálkový teplotní senzor je současti baleni. Dalí dálkové teplotní senszory si mužete zakoupit samostatné. K zakoupení prosím kontaktujte vašeho mistrínho prodejce.
Dálkové teplotné senszory (RTS)


Obr. 4 Pohled zezadu Obr. 5 Pohled zezadu s otevrenym krytem
RTS1. Závesny otvor
RTS2. Sroubky prostoru pro baterie
RTS3. Tlačitko "TX"
RTS4. Tlačitko “RESET”
RTS5. Přepínač "Channel 1 2 3"
Vlozeni baterii
- Otevřete prostor pro baterie v zadni casti Jednotky vyrsroubováním dvou malych sroubkú (RTS 2) křížovým sroubovákem. (viz obrázek Č. 4)
- Instalujte /znovu vlozte 2 ks bateri i velik prostoru. Je doporučeno používat pouze alkalické baterie. Nepoužívejte dobijeci baterie.
- Meteorologická stanice muže prjímat signal až ze 3 rúznych kanálu. Zvolte si cislo kanálu (1, 2, or 3) naladěním "Channel 1 2 3" pomoci prěpínace (RTS 5). jestliže mate pouze 1 dálkový teplotní senzor vyberte 1.
- Stisknéte jegnou tlacítko "reset" (RTS 4) a zabliká jegnou Červéné světlo.
- Vložte zpět prostor pro baterie do zadni Časti Jednotky a zabezpečte ho dvěma šrouby (RTS 2).
Instalace
- Umistete dalkovy teplotni senzor na požadované misto a závesny otvor (RTS 1) uchytt'ne na šroub (není současti baleni). Eventuálne muze byt jednotka umistěna na plochý horizonálné povrch.
- Jednotka mûze být umistěna uvnitř nebo venku. Jednotka je odolná
vuči počasi. Neponořujte ji do vody. Nevystavujte ji po dlouhou dobu vodě. Vyhněte se nahromaděni vody nebo sněhu na Jednotce. Nevystavujte jestnotku prímému slunečním u světlu. Přenesti jestnotku dovnitř v pripadě extrémniho nebo drsného počasi například pri hurikánu, tajfunu nebo v cyklonovychsezonách. Neumistůte jestnotku na miste, kde bude vystavena velkému větru.
- Neumist'ujte dalkovy teplotni senzor dare nez 30 metru (98 stop) od prijimaci meteorologicke stanice. Dalkovy teplotni senzor pracije nejlepe, jestlje mezi nim a meteorologickou stanici nejsou zaadne prekazky nebo rušive vlivy. Dalkovy teplotni senzor by mel byt blze nez 30 metru od meteorologicke stanice, jestlje ta neni schopna z nej prijimat signaly. To je zpúsobeno prekazkami nebo rušivymi vlivy. Meli bye ste vyzkouset ruzná mista k dosazenji nejlepšio prijmu.
Konfigurace meteostanice pro prijem vzdalenych teplotnich signalu
- K nastaveni teplotniho senzoru se fidte vyse uvedenymi poukny.
- Stiskněte a podržte tlacítko "IN/CH" (9) meteostanice po dobu cca. 3 sekund. Rozbliká se "CH". Tim dojde k resetovani všech teplotné paměti.
- Meteorologická stanice bude vyhledávat s budou prijaty signály na kanálu 1, bude zobrazenia teplota. Meteorologická stanice bude automaticky vyhledávat dalíkanály. Každý kanál bude vyhledávat asi 3 sekundy a poté bude vyhledávat dalíkanál.
- Až dojde k príjmu všech kanálù, stisknéte pro potvrzení kanálu Jednou
tlačítko "IN/CH" (9). C již nebude zobrazeno.
- Meteorologická stance bude prijímat nový signal automaticky kazdych 30 sekund kactualizaci dalkového měřeni teploty.
- Opakovaně stisknéte tlacítko "IN/CH" (9) meteostanice pro prępınámezi kanálem 1 "CH1", kanálem 2 "CH2", a kanálem 3 "CH3".
bude zobrazeno v pripadé, ze jakýkoliv dalkový teplotní senzor potrebujé vyměnit baterie.
Pamět'teploty
- Pro zobrazení maximálné zaznamené tep zaznamenané teploy a současné teploy stiskné tlacítko“Max/Min” (8). “MAX” označuje maximálné teplou. “MIN” označuje minimálné teplou.
- Pro resetováni maximálí a minimálí teploty a záznámů vlhkosti stisknéte a podržte tlacitko "Max/Min" (8) po dobu cca. 3 sekund.
Zobrażenis teploty
- Teplota označena "IN" ukazuje vnitřné teplotu. Je to teplota v mistě meteorologické stance.
- Teplota označená “OUT” zobrazujte teplotu dalkovych teplotnich Čidel.
- Pro zobrazení teploty kanálu 1, kanálu 2 a kanálu 3 opakovaně
stiskné tlačítko "IN/CH" (9) meteostanice.
- Je - I i z o b - a budounaotomaticky zobrazeny vsechny kanaly dalkovych senzor. Pro zrušeni stiskněte tlacitko "IN/CH" (9).
- "LL" se zobráź v prípadě, ze je teplota a/nebo vlhkost pod identifikovatelným rozsahem.
Celsiova stipnice/Fahrenheitova stipnice
- Pro prépínání mezi Celsiovou stipnicá a Fahrenheititovou stipnicí stisknéte tlacítko “+/C/F” (5).
Teplotni tendency
- indikuje, ze teplota má stoupajici tendenci.
- indikuje, ze teplota se něměné.
- indikuje, ze teplota ma klesajici tendenci.
Upozorněni
- Nevystavujte Jednotku nadměrné sile, nárazüm, prašnosti, velké teplote nebo vlhkosti.
- Neponořujte jegnotku do vody.
- Celou jegnotku vyhodte, kdyz se baterie uz nenabiji nebo kdyz uz jegnotka nezobrazujte teplotu a/nebo vlhost.
- Nevy jímejte jakékoliv šrouby.
- Nevhazujte tuto jegnotku do ohne. MÜZE EXPLODOVAT.
- Drzte jegnotku z dosahu malych deti. Jednotka a jej casti mohou privodit uduşeni.
. Nikdy selenesnažte nabíjet baterie - Jednotku likvidujte v souladus prdepisy.
Provedte recyklaci jesti je to moźne.
Technické specifikace
Pokojové teplotní Rozpěti: 0°C do 50°C (32°F do 122°F)
Venkovni teplotnirorozpeti: -20^ do 50^ (-4^ do 122^)
Rozpétí relativí vlhkosti: 20%-95%
Napájení (Meteorologická stanice): 4 ks baterii velikosti AAA 1.5V
Napajeni (Externí vysilac): 2 ks bateri velikosti AAA 1.5V
SnadnýManuál