WS6620 - Wetterstation TECHNOLINE - Kostenlose Bedienungsanleitung
Finden Sie kostenlos die Bedienungsanleitung des Geräts WS6620 TECHNOLINE als PDF.
Häufig gestellte Fragen - WS6620 TECHNOLINE
Benutzerfragen zu WS6620 TECHNOLINE
0 Frage zu diesem Gerät. Beantworten Sie die, die Sie kennen, oder stellen Sie Ihre eigene.
Eine neue Frage zu diesem Gerät stellen
Laden Sie die Anleitung für Ihr Wetterstation kostenlos im PDF-Format! Finden Sie Ihr Handbuch WS6620 - TECHNOLINE und nehmen Sie Ihr elektronisches Gerät wieder in die Hand. Auf dieser Seite sind alle Dokumente veröffentlicht, die für die Verwendung Ihres Geräts notwendig sind. WS6620 von der Marke TECHNOLINE.
BEDIENUNGSANLEITUNG WS6620 TECHNOLINE
WS6620 Schreibtisch-Wetterstation
Bedienungsanleitung
Einführung
These Schreibtisch-Wetterstation besitzt folgende Funktionen: barometrische Wettervorhorsage, Uhr, Kalender, AuBen- und Innentemperatur und Feuchtigkeitsanzeige. Sie wird mit einer Batterie, bzw. über einen Netzadapter mit Strom versorgt. Es wird empfohlen, den Netzadapter stets zu verwenden.
1


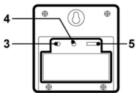
Abbildung 1 Frontansicht Abbildung 2 Rückansicht
- SNOOZE/LIGHT"-Taste
- .MODE“-Taste
- SET/AL“-Taste
- HISTORY" -Taste
- + / C / F^* -Taste
- / RCC“-Taste
- LIGHT"-Taste
- MAX/MIN"-Taste
- IN/CH“-Taste
- DC-Eingangsbuchse
- Batteriefach
Allgemeine Hinweise:
- Vor dem Einrichten des Außensensors empfeht es sich, die Wetterstation/Uhr einzustellen. Siehe „Konfigurieren des (der) Außensensors(en)" für weitere Informationen. Batterien und Netzadapter sollen gleichzeitig benutzt werden.
2.itte beachten Sie, dass alle anderen Uhr/Wetterstationseinstellungen blockiert sind, wenn die Uhr sich im RCC-Synchronisationsmodus (Funkuhrempfang) befindet. Für zusätzliche Informationen siehe „RCC-Synchronisierung". - Bei der Erstinstallation kann der Temperatur- und Feuchtigkeitssensor bis zu eine Stunde benötigen, um sich zu aklimatisieren.
Erste Schritte:
Installation des AC-Netzteils
- Stecken Sie das AC/DC-Netzteil in die DC-Eingangsbuchse (10) (siehe Abbildung 2) ein. Verwenden Sie nur den Originaladapter.
Batterien einlagen
- Öffnen Sie das Batteriefach (11) auf der Rückseite des Gerätes.
- Legen/ersetzen Sie 4 Batterien Typ „AAA" in das Batteriefach ein. Es ist ratsam, nur Alkali-Batterien zu verwenden.
- Schlieben Sie das Batteriefach (11) auf der Rückseite des Gerats.
- Ein kurzer Piepton ertont, um das korrekte Einlagen der Batterien zu bestätigen.
- Es dauert ungebung 3 Sekunden, bis das Display aufleucht.
Batterie-Sicherheitshinweise:
1.itte lesen Sie vor der Inbetriebnahme alle Anweisungen sorgfaltig durch.
2. Legen Sie die Batterien unter Beachtung der Polaritat (+/-) richtig ein.
3. Stets einen vollständigen Batteriesatz ersetzen.
4. Alte und neue Batterien niemals mischen.
5. Erschöpfte Batterien sofort entfernen.
6. Bei Nichtbenutzung die Batterien entfernen.
7. Die Batterien nicht aufladen und nicht in ein Feuer werfen, da sie explodieren können.
8. Achten Sie darauf, dass die Batterien nicht in der Höhe von Metallobiecteken aufbewahrt werden, da durch einen Kontakt ein Kurzschluss verursichen kann
9. Setzen Sie Batterien keinen hohen Temperaturen, extremer Feuchtigkeit oder direktem Sonnenlicht aus.
10. Bewahren Sie Batterien außerhalb der Reichweite von Kindern auf. Verschlucken der Batterien kann zum Ersticken führen.
11. Die Verpackung für spätere Verwendung aufheiten.
Einrichten der Wetterstation:
Die Wetterstation gibt einen Piepton aus, sobald die Batterien eingelegt oder Netzadapter angeschlossen wurde.
- Drücken Sie die - / RCC-Taste (6) oder die + / C / F-Taste (5) und passen Sie das angezeigte Wettersymbol dem aktuellen Wetter an. Siehe Abb. 3 für die verschiedene Wettersymbole und deren Bedeutung.

Abbildung 3
- Drucken Sie die HISTORY- Taste (4), um die Einstellung zu bestätigten.
Interpretieren der Wettervorhersagesymbole
Die Wetterstation besteht mit mindestens 24 Stunden, um sich an die ortlichen Witterungsverhältnisse zu akklimatisieren. Die Wetterstation verarbeitet und analysiert
die Wettersymbole der vergangenen 24 Stunden, um das zukünftige Wetter vorherzusagen. Wahrend thesez Zeitraums konnen die Wettervorhersagen ungenau sein.
Die Wetterstation zeigt dann mit den Symbolen an (siehe Abbildung 3), welches Wetter für die{nachsten 12 bis 24 Stunden innerhalb eines Radius von ungebahr 30 bis 50 km zu erwarten ist.
Hinweis:
- Die Genauigkeit ist bei extremen Witterungsverhältnissen niedriger. Die Wettervorhersage dient nur als Referenz und sie ist nur für den Hausgebrauch gedacht. Verlassen Sie sich NICHT auf die Wettervorhersage der Wetterstation, wenn ernsthafte Folgen auf ihr basieren, einschließlich, aber nicht beschränkt auf: personenbezogene Gesundheit, lebensgefährliche und tõdliche Situationen, Geschäfte oder finanzielle Entscheidungen, bzw. landwirtschaftliche Planung.
- Die Wettervorhersage zeigt nicht das aktuelle Wetter an. Sie stellt das zukünftige Wetter dar.
Beleuchtete Wettersymbole
Die Wettersymbole konnen mit der LIGHT-Taste (7) bei Betrieb mit Netzteil ein- und ausgeschelt werden. Im Batteriebetrieb konnen die Wettersymbole konnen mit der SNOOZE/LIGHT-Taste (1) für 10 Sekunden eingeschaltet werden.
Einrichten der Wetterstation:
- Drücken Sie die „HISTORY“-Taste (4) für 3 Sekunden lang, bis ein Piepton zu horen ist.
- Drücken Sie die „-RCC“-Taste (6) oder „+/C/F“-Taste (5), um zwischen den Luftdruckeinheiten von Pascal (hPamb) auf Zoll Quecksilbersäule (inHg) umzuschalten.
- Drücken Sie die HISTORY"-Taste (4), um zu bestätigen.
- Drücken Sie die „-/RCC“-Taste (6) oder „+/C/F“-Taste (5), um den Meeresspiegel zu ändern, der so nah wie möglich an Ihr hem Standort ist. Die Einheit des Meeresspiegels ist Meter (1 Meter entspricht ungebär 3,28 Fuß). Wenden Sie sich für weitere Informationen an ihre örtlichen Wetterdienste oder Behörden.
- Drücken Sie die „HISTORY“-Taste (4), um den Meeresspiegel zu bestätigen.
- Drücken Sie die „-RCC“-Taste (6) oder „+/C/F“-Taste (5), um die aktuelle Wettersituation an Ihr hem Standort zu ändern. Siehe Abbildung 3 offen für das Wettersymbol, das zu Ihr hem unmittelbaren Standort passt.
- Drucken Sie die „HISTORY“-Taste (4), um zu bestätigten.
Messen der Luftdrucktendenz:
- Die aufgezeichneten Daten der barometrischen Druckänderungen werden mit 3 Pfeilen angezeigt, um die Luftdrucktendenz darzustellen.
| Zunehmend Unverändert Abnehmend | |
| hPa | hPa |
Hinweis: Die barometrische Drucktendenz kann nur ordnungsgemäß gemessen werden, wenn das Gerät auf der gleichen Höhe bleibt. Beim Bewegen auf entsprechenden Höhen innerhalb kurzer Zeit,ändern sich der Luftdruck und der barometrische Druck. Die Luftdrucktendenz wird nur dann zutreffend und regulierbar sein. Das Gerät ist auf einer konstanten Höhe für 24 Stunden oder länger geblieben.
Abrufen der aufgezeichneten Messungen des Luftdruckverlaufs
Die Messung des barometrischen Drucks wird in einem stündlichen Interval aufgezeichnet und kann für die vergangenen 12 Stunden abgerufen und angezeigt werden.
Drücken Sie die „HISTORY“-Taste (4) wiederholt, um den Druck zu sehen, der in den letzten Stunden aufgezeichnet wurde. „1 HR“ zeigt den Druck der vorherigen Stunde. Der Verlauf der Druckmessung wird für 20 Sekunden angezeigt, bevor zur aktuellen Druckanzeige zurückgekehrt wird.
RCC-Synchronisierung:
Wenn verfügbar, wird sich diese Uhr zu folgenden Zeiten mit den Funk-Zeitsenden automatisch synchronisieren: 02:05, 03:05, 04:05, 05:05.
Sie konnen die Uhr mit folgenden Anweisungen auch manuell synchronisieren.
Drücken und halten Sie die „-/RCC“-Taste (6) für ca. 3 Sekunden lang, bis blinkt. Wenn these Symbol blinkt, versucht die Uhr sich mit den Funk-Zeitsendern zu
synchronisieren. leuchtet auf, wenn ein starkes Signal empfangen wird. Die Uhr wird sich mit dem Funk-Zeitsender synchronisieren. Dieser Vorgang kann zu 7 Minuten
duern. hort auf zu blinken und die Zeit wird angezeigt, sobald das Signal empfangen und die Zeit synchronisiert wird.
I wird nicht angezeigt, wenn sich die Uhr innerhalb dieser Zeitspanne nicht synchronisieren kann. Sie konnen später erneut manuell synchronisieren oder die Uhr wird automatisch versuchen, sich zur oben erwähnten Zeit zu synchronisieren. Wenn die Uhr versucht zu synchronisieren, drücken Sie die „-RCC“-Taste (6), um die RCC-Synchronisation abzubrechen.
Bitte beachten Sie, dass die Weckzeiteinstellung blockiert ist, wenn die Uhr sich im RCC-Synchronisationsmodus befindet. Warten Sie, bis die Uhr nicht mehr versucht sich zu synchronisieren oder synchronisiert ist, um andere Funktionen der Uhr- und Wetterstation einzustellen.
Wenn der Alarm sich im Synchronisierungsmodus ausschaltet, wird die RCC-Synchronisierung(sofort wirksam. Befolgen Sie erneut die obigen Anweisungen, um die Synchronisierung einzustellen.
RCC-Zeitzonenoffset
These Uhr ist mit einer funkgesteuerten Zeiteinstellung ausgestellt. Die müssen das Zeitzonensignal auswerten, das Sie an ihrem aktuellen Standort empfangen und nötigenfalls Einstellungen vornehen. Mit dieser Funktion konnen Sie auch die Sommerzeitanpassung einstellen. Wenden Sie sich für weitere Informationen an ihre örtlichen Wetterdienste oder Behörden.
Drücken Sie die „-/RCC“-Taste (6) einmal für +1 Zeitzone.
Drücken Sie die „-/RCC“-Taste (6) erneut für +2 Zeitzone.
Drücken Sie die „-/RCC“-Taste (6) erneut für -1 Zeitzone.
Drücken Sie die „-/RCC“-Taste (6) erneut für dieselbe Zeitzone.
Manuelles Einstellen der Uhrzeit:
Drücken Sie die „MODE“-Taste (2), um zwischen der aktuellen Uhrzeit und der Weckzeit umzuschalten.
Wenn die aktuelle Uhrzeit angezeigt wird, drücken und halten Sie die „SET/AL“-Taste (3) für ca. 3 Sekunden, bis die Anzeige blinkt.
Drücken Sie die „SET/AL“-Taste (3) erneut. Drücken Sie die „-/RCC“-Taste (6) oder „+/C/F“-Taste (5), um die Stundeneinstellung zu ändern.
Drücken Sie die „SET/AL“-Taste (3) erneut. Drücken Sie die + / ^ / ^ -Taste (5) oder - / ^ -Taste (6), um die Minuteneinstellung zu ändern.
Drücken Sie die „SET/AL“-Taste (3) erneut. Drücken Sie die „+/°C/°F“-Taste (5) oder „-/RCC“-Taste, (6) um die Jahresinstellung zuändern.
Drucken Sie die „SET/AL“-Taste (3) erneut. Drucken Sie die „+/°C/°F“-Taste (5) oder
-/RCC"-Taste (6), um die Monat/Datum- und Datum/Monat-Einstellung zu ändern.
Drücken Sie die „SET/AL“-Taste (3) erneut. Drücken Sie die „+/°C/°F“-Taste (5) oder „-/RCC“-Taste (6), um die Monat-Einstellung zuändern.
Drücken Sie die „SET/AL“-Taste (3) erneut. Drücken Sie die „+/°C/°F“-Taste (5) oder „-/RCC“-Taste (6), um die Datum-Einstellung zuändern.
Drücken Sie die „SET/AL“-Taste (3) erneut. Drücken Sie die „-/RCC“-Taste (6) oder „+/C/F“-Taste (5), um zwischen vormittags/nachmittags und der 24-Stunden-Uhr umzuschalten.
Drücken Sie die „SET/AL“-Taste (3) erneut. Drücken Sie die „+/°C/°F“-Taste (5) oder „-/RCC“-Taste (6), um die Spracheinstellung am Wochentag zuändern.
ENG für Englisch; GE für Deutsch; IT für Italienisch; FR für Französisch; NE für Niederlandisch; ES für Spanisch; DA für Dänisch;
Drücken Sie die „SET/AL“-Taste (3) erneut, um die Einstellungen zu bestätigen. Die Anzeige blinkt nicht mehr.
Anzeige der Weckzeit:
Drücken Sie die „MODE“-Taste (2), um zwischen der aktuellen Uhrzeit und der Weckzeit umzuschalten. Die Weckzeit wird angezeigt, wie sie mit „AL“ angegeben ist.
Einstellen der Weckzeit:
Drücken Sie die „SET/AL“-Taste (3) einmal, und die Weckzeit wird angezeigt, wie sie mit „AL“ angegeben ist.
Drücken und halten Sie die „MODE“-Taste (2) für ca. 3 Sekunden lang, bis die Ziffern blinking.
Drücken Sie die „-/RCC“-Taste (6) oder „+/C/F“-Taste (5), um die Stundeneinstellung zuändern.
Drucken Sie die MODE"-Taste (1) erneut.
Drücken Sie die „-/RCC“-Taste (6) oder „+/C/F“-Taste (5), um die Minuteneinstellung zuändern.
Drucken Sie die MODE"-Taste (1) erneut.
Wenn die Weckzeit angezeigt wird, drücken Sie die „-/RCC“-Taste (6) oder + / C / F "Taste
(5), um den Alarm ein- und auszuschalten. wird angezeigt, wenn der Wecker eingeschaltet ist.
Der Wecker ertont 120 Sekunden lang, wenn die voreingestellte Weckzeit erreicht wurde. Drücken Sie eine beliebige Taste auf der Rückseite der Uhr, um den Wecker zu deaktivieren. Wenn der Wecker nicht deaktiviert wurde, wird die Uhr automatisch den Schlummermodus aktivieren.
Drucken Sie die „SNOOZE/LIGHT“-Taste (1), wenn der Alarm im Schlummermodus
einzugegeben ist. blinkt, wenn die Uhr sich im Schlummermodus befindet. Der Wecker ertont nach 5 Minuten erneut. Drücken Sie eine beliebige Taste auf der Rückseite der Uhr, um den Wecker zu deaktivieren.
Bitte beachten Sie, dass die Weckzeiteinstellung blockiert ist, wenn die Uhr sich im RCC-Synchronisationsmodus befindet. Warten Sie, bis Synchronisierung beendet ist, bevor Sie die Weckzeit einstellen.
Konfigurieren des Thermometers
These Wetterstation kann sich mit bis zu 3 Außensensoren synchronisieren. Ein Außensensor wird mitgeliefert. Zusätzliche Außensensoren sind separat erhältlich.itte wenden Sie sich zum Erwerben an ihren örtlichen Distributor.
AuBensensoren (RTS)


Abbildung 4 Rückansicht Abb.5 Rückansicht-offen
RTS1. Aufhängeose
RTS2. Batteriefachschrauben
RTS3. "TX"-Taste
RTS4. RESET“-Taste
RTS5. Channel 1 2 3"Schalter
Batterien einlagen
- Offnen Sie das Batteriefach auf der Rückseite des Geräts, indem Sie die beiden kleinen Schrauben (RTS 2) mit einem Kreuzschlitzschraubendreher entfernen. (siehe Abbildung 4)
- Legen/ersetzen Sie 2 Batterien Typ „AAA" in das Batteriefach ein. Es ist ratsam, nur Alkali-Batterien zu verwenden. Verwenden Sie keine wiederaufladbaren Batterien.
- Die Wetterstation kann bis zu 3 unterschiedliche Kanäle empfangen. Wahlen Sie die Kanalnummer (1, 2 oder 3), indem Sie den „Channel 1 2 3“-Schalter (RTS 5) schieren. Wenn Sie nur 1 Außensor besitzen, wahren Sie 1.
- Drücken Sie die „Reset“-Taste (RTS 4) einmal, und das rote Licht blinkt einmal.
- Schlieben Sie das Batteriefach auf der Rückseite des Geräts, indem Sie die zwei Schrauben (RTS 2) festziehen.
Aufstellen
- Platzieren Sie den Außensor am gewünschten Ort, indem Sie die Aufhängese des Gerätes (RTS 1) auf eine Schraube setzen (Schraube nicht im Lieferumfang enthalten). Alternativ kann das Gerät auf einer ebenen horizontalen Fläche aufgestellt werden.
- Das Gerät kann im Innen- und Außenbereich aufgestellt werden. Das Gerät ist witterungsbeständig. Das Gerät nicht in Wasser tauchen. Das Gerät nicht langere Zeit Wasser aussetzen. Die Ansammlung von Wasser oder Schnee auf dem Gerät vermeiden. Das Gerät nicht direkter Sonnenstrahlung aussetzen. Bei extremen oder rauen Wetterbedingungen das externe Gerät entfernen. Das ist nicht nur auf die Jahreszeiten für einen Hurrikan, Taifun oder Zyklon beschrankt. Stellen Sie das Gerät nicht im Bereich der hohen Windgeschwindigkeiten.
- Stellen Sie den Außensor nicht weiter als 30 Meter von der empfangenden Wetterstation auf. Der Außensor funktioniert am effektivsten, wenn zwischen dem Außensor und der Wetterstation keine Hindernisse oder Störungen vorhanden sind. Die Entfernung zwischen dem Außensor und der Wetterstation könnte weniger als 30 Meter betragen, wenn die Signale nicht empfangen werden. Dies kann an Hindernissen oder Störungen liegen. Sie müssen für den bestmöglichen Empfang möglicherweise verschiedene Standorte testen.
Konfiguration der Wetterstation zum Empfang der AuBensignale
- Befolgen Sie die Anweisungen zum Einrichten des Auβensensors.
- Drücken und halten Sie die „IN/CH“-Taste (9) auf der Wetterstation für 3 Sekunden lang. „CH“ blinking. Dies setzt alle Temperaturspeicher darüber.
- Die Wetterstation fängt an, nach Signalen von Kanal 1 zuuchen.
Sobald Signale von Kanal 1 empfangen werden, wird die Temperatur angezeigt. Die Wetterstation wird automatisch die anderen Kanäleuchen. Es wird jeder Kanal für ungebär 3 Sekunden gesucht, bevor zum nachsten Kanal weiter gegangen wird.
- Wenn Sie alle ihre Kanäle einmal erhalten haben, drücken Sie die
"IN/CH"-Taste (9) einmal, um den Kanal zu bestätigen. wird nicht mehr angezeigt.
-
Die Wetterstation empfängt automatisch alle 30 Sekunden ein neuen Signal, um die Außentemperatur zuactualisieren.
-
Drücken Sie die „IN/CH“-Taste (9) auf der Wetterstation wiederholt, um zwischen dem Kanal 1 „CH1“, dem Kanal 2 „CH2“ und dem Kanal 3 „CH3“ umzuschalten.
-
wird angezeigt, wenn die Batterie eines der Außensensoren ersetzt werden muss.
Temperaturspeicher
-
Drücken Sie die „Max/Min“-Taste (8), um die maximal gemessene Temperatur, die minimal gemessene Temperatur und die aktuelle Temperatur anzuzeigen. „MAX“ gibt die Maximaltemperatur an. „MIN“ gibt die Minimaltemperatur an.
-
Drücken und halten Sie die „Max/Min“-Taste (8) für etwa 3 Sekunden lang, um die maximale und minimale Temperatur und Luftfeuchtgkeitswerte zurückzusetzen.
Temperatu ranzeige
-
Die "IN"-Temperatur zeigt die Innentemperatur an. Das ist die Temperatur des Aufstellungssorts der Wetterstation.
-
Die "OUT"-Temperatur zeigt die Temperatur der AuBensensoren an.
-
Drücken Sie die „IN/CH“-Taste (9) auf der Wetterstation wiederholt, um die Temperatur des Kanals 1, Kanals 2 und Kanals 3 anzuzeigen.
-
Wenn angezeigt wird, zeigt das Display zyklisch alle AuBensensorkanäle an. Drücken Sie die „IN/CH“-Taste (9), um abzubrechen.
-
"LL" wird angezeigt, wenn die Temperatur und/oder Luftfeuchtigkeit unterhalb des erkennbaren Bereiches liegt.
Celsius/Fahrenheit
- Drücken Sie die + / C / F "Taste (5), um zwischen den Temperaturanzeigen in Celsius und Fahrenheit umzuschalten.
Temperaturtendenz
-
Zeigman, dass die Temperatur in eine steigende Tendenz hat.
-
Zeigt, dass die Temperatur keine Tendenz zur Änderung hat.
- Zeigt an, dass die Temperatur in eine sinkende Tendenz hat.
Warnhinweise
- Setzen Sie das Gerät keinen übermögen Kraftanwendungen, Stößen, Staub, Temperatur oder Feuchtigkeit aus.
. Das „ Gerät „ nicht in „ Wasser „ tauchern - Entsorgen Sie das Komplettgerät, wenn die Batterie nicht mehr geladen wird, oder wenn die Temperatur und/oder Luftfeuchtigkeit auf dem Gerät nicht mehr angezeigt wird.
• Entfernen Sie keine Schrauben .
· Werfen Sied dieses Gerät nicht in - Halten Sie dazu keine Kinder von diesen Gerät fern. Verschlucken des Geräts oder von seinen Teilen kann zum Ersticken führen.
- Versuchen Sie niemals die Batterien mit anderen Methoden aufzuladen.
- Entsorgen Sie das Gerät entsprechend zu den örtlichen Vorschriften.
Recycle n Sies moglich st.
Technische Daten
Innentemperaturmessbereich: 0^ bis 50^
Außentemperaturmessbereich: -20°C bis 50°C
Relativier Luftfeuchtigkeitsmessbereich: 20% -95%
Barometrischer Druckmessbereich: 930mb bis 1050mb
Spannungsversorgung Station: 4 x 1,5V Batterien Typ AAA
Spanningsversorgung Sender: 2 x 1,5V Batterien Typ AAA
Celsius / Fahrenheit
Celsius / Fahrenheit
- Premereil pulsante ^+ /C/F (5) per spon della temperatura in Celsius e Fahrenheit.
EinfachAnleitung