WS6620 - Station Météo TECHNOLINE - Notice d'utilisation et mode d'emploi gratuit
Retrouvez gratuitement la notice de l'appareil WS6620 TECHNOLINE au format PDF.
| Caractéristiques Techniques | Station météo sans fil avec écran LCD, capteur extérieur, prévisions météorologiques, affichage de la température intérieure et extérieure, humidité, et heure. |
|---|---|
| Utilisation | Installation facile, utilisation intuitive avec boutons de navigation, affichage clair des données météorologiques en temps réel. |
| Maintenance et Réparation | Remplacement des piles du capteur et de la station, nettoyage régulier de l'écran et des capteurs pour assurer une précision optimale. |
| Sécurité | Ne pas exposer à des conditions extrêmes (humidité, chaleur excessive), éviter les chocs physiques pour préserver l'intégrité de l'appareil. |
| Informations Générales | Compatible avec plusieurs capteurs, portée sans fil jusqu'à 100 mètres, garantie constructeur, manuel d'utilisation inclus. |
FOIRE AUX QUESTIONS - WS6620 TECHNOLINE
Questions des utilisateurs sur WS6620 TECHNOLINE
0 question sur cet appareil. Repondez a celles que vous connaissez ou posez la votre.
Poser une nouvelle question sur cet appareil
Téléchargez la notice de votre Station Météo au format PDF gratuitement ! Retrouvez votre notice WS6620 - TECHNOLINE et reprennez votre appareil électronique en main. Sur cette page sont publiés tous les documents nécessaires à l'utilisation de votre appareil WS6620 de la marque TECHNOLINE.
MODE D'EMPLOI WS6620 TECHNOLINE
Station météorologique de table WS6620
Guide d'instructions
Introduction
Cette station météorologique vous donne accès à diverses informations telles que les prévisions météorologiques, l'heure actuelle, un calendrier, la température interieure et extérieure, et l'humidité interieure et extérieure. Elle fonctionne avec des piles rechargeables. Pour economiser les piles, utilisez le chargeur secteur autant que possible.
1


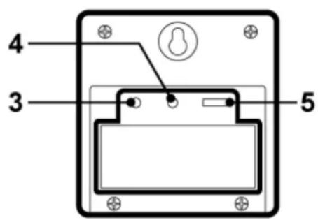
Fig. 1 Vue avant Fig. 2 Vue arrêté
- Touche "SNOOZE/LIGHT"
- Touche "MODE"
- Touche "SET/AL"
- Touche "HISTORY"
- Touche "+"/C/F"
- Touche "/RCC"
- Touche "LIGHT"
- Touche "MAX/MIN"
- Touche "IN/CH"
- Entree CC
- Compartment des piles
Recommendations generales :
- Configurez les détecteurs de température avant de configurer la station météorologique/l'horloge. Reportez-vous à la section "Configuration des détecteurs de température" pour en savoir plus. Utilisez les piles et l'adaptateur secteur en même temps.
-
Toutes les autres fonctions de l'horloge/la station météorologique sont inaccessibles en mode de synchronisation RCC. Reportez-vous à la section "Synchronisation RCC" pour en savoir plus.
-
Pendant l'installation initiale, une heures et plus peut être nécessaire au détector de température et d'humidité pour s'adapter aux conditions climatiques actuelles.
Mise en route :
Branchement de l'adaptateur secteur
- Branchez l'adaptateur CA/CC sur l'entrée d'alimentation CC (10) (voir la figure 2). Utilisez uniquement un adaptateur agreé.
Installation des piles
- Ouvrez le compartment des piles (11) à l'arrière de la station.
- Installez/remplacez les 4 x pile "AAA". Si possible, utilisez uniquement des piles alcalines.
- Fermez le compartment de piles (11) à l'arrière de la station.
- Un bip vous confirme la bonne installation des piles.
- Environ 3 secondes après, I'ecran s'allume.
Avertissements de sécurité concernant les piles :
- Lisez attentivement toutes les instructions avant la première utilisation.
- Installez les piles en respectant le sens des polarités (+/-).
- Remplacez toujours toutes les piles en même temps.
- Ne combiniez pas des piles usagées avec des piles neuves.
- Lorsque les piles sont déchargees, retirez-les immédiatement de l'appareil.
- Retirez les piles lorsque vous n'envisagez pas d'utiliser votre apparéil avant longtemps.
- N'essayez pas de recharger des piles qui ne sont pas rechargeables et ne jetez aucune pile dans le feu (elle risque d'exploser).
- Rangez vos piles de façon à ce qu'aucun objet métallique ne puissemettre leurs bornes en court-circuit.
- Évitez d'exposer les piles à des températures extrêmes, à une humidité extrête et aux rayons directs du soleil.
- Conserve vos piles hors de portée des enfants. Elles doivent un risque d'étouffement.
- Conservez ces informations pour reférence ultérieure.
Configuration de la station météorologique :
Un bip retentit lorsque vous installez des piles ou branchez la station sur l'adaptateur secteur.
- Appuyez sur la touche "-/ RCC" (6) ou sur la touche "+"/C/F" (5) pour modifier la situation météorologique de l'endetroit où vous vous trouvez. Reportez-vous à la figure 3 ci-dessous pour selectionner le modele qui convient le比较好 en environnement immédiat.

Figure 3
- Appuyez sur la touche "HISTORY" (4) pour confirmer le modele meteorologique.
Description des symboles de prévisions météorologiques
La station météorologique nécessite au moins 24 heures pour s'adapter aux conditions atmosphériques locales. Elle traite et analyse les modèles météorologiques des 24 dernières heures afin d'établier ses prévisions. Si vous démarrez trop tout le processus de prévisions, ces prévisions risquent de ne pas reflérer la réelle tendance météorologique de votre lieu géographique immédiat.
Les prévisions météorologiques sont affichées sous forme de symboles (voir la figure 3) et valent pour les 12 à 24 heures à partir, dans un rayon de 30 - 50km de l'endroit où vous avez posé la station.
Remarque :
- Plus les conditions atmosphériques sont mauvaises et plus l'imprecision des mesures augmente. Les prévisions météorologiques fournies par notre station n'ont qu'une valeur de référence et se limitent à des applications domestiques. Ne vous fiez JAMAIS à ces prévisions pour toute affaire quelque peu sérieuse dont, sans y'être limite : la santé, une situation de vie et de mort, une DECISION commerciale ou financière et/ou une planification agricole.
- Les prévisions météorologiques ne renseignent nullement sur le temps actuel, mais uniquement sur le temps à partir.
Icones meteorologiques allumées
Vous activez/desactivez l'allumage des icones meteorologiques à l'aide de la touche "LIGHT" (7).
Réglages de la station météorologique :
- Appuyez sur la touche "HISTORY" (4) et maintenez-la enfoncée pendant 3 secondes, jusqu'à entendre un bip.
- Appuyez sur la touche "-/ RCC" (6) ou sur la touche "+"/C/F" (5) pour sélectionner l'unité de mesure de la pression atmosphérique (Pascal - hPa ou pouces de mercure - inHg)
- Appuyez sur la touche "HISTORY" (4) pour confirmer.
- Appuyez sur la touche "-/ RCC" (6) ou sur la touche "+"/C/F" (5) pour modifier le niveau de la mer le plus proche de l'endetroit où vous vous trouvez. Le niveau de la mer est mesure en metres (1 mètre est égal à 3,28 pieds). Pour en savoir plus, prenez contact avec votre agence ou l'autorité météorologique locale.
- Appuyez sur la touche "HISTORY" (4) pour confirmer le niveau de la mer.
- Appuyez sur la touche "-/ RCC" (6) ou sur la touche "+"/C/F" (5) pour modifier la situation météorologique de l'endetroit où vous vous trouvez. Reportez-vous à la figure 3 ci-dessus pour selectionner le modele qui convient le moins à votre environnement immédiat.
- Appuyez sur la touche "HISTORY" (4) pour confirmer.
Lecture de la tendance de pression :
- 3 symboles fléchés vous indiquent la tendance de la pression barométrique à partir des variations enregistrées dans la mémoire de la station.

Remarque: La station doit rester à la même altitude pour pouvoir mesurer correctement la tendance de la pression barométrique. Or, changer d'altitude dans un intervalle de temps suffisamment court entraine des changements de la pression atmosphérique et de la pression barométrique. La tendance de la pression affichée ne commence à être fiable et régulière. Qu'aupres que la station soit restée au moins 24 heures à une altitude constante.
Affichage de l'historique des pressions
La station enregistre la lecture de la pression barométrique toutes les heures. Pour consulter l'historique de ces pressions pour les 12 dernières heures :
Appuyez sur la touche "HISTORY" (4) jusqu'à parcourir toutes les pressions enregistrées au cours des dernières heures. "-1 HR" indique que la pression est celle qui a été enregistrée une heures plus tout. L'historique reste affché pendant 20 secondes, puis la pression actuelle réapparait.
Synchronisation RCC :
La station procèle à la synchronisation automatique de l'horloge aux heures suivantes, lorsque cette synchronisation est possible : 02:05, 03:05, 04:05, 05:05.
Pour synchroniser l'horloge en-dehors de ces heures, manuellement, procédez comme indiqué ci-dessous.
Appuyez sur la touche "-/RCC" (6) et maintenez-la enfoncée pendant environ
3 secondes, jusqu'à ce que clignote sur l'écran.
Ce symbole clignotant vous indique que l'horloge essaye de se synchroniser avec le
signal radiocommandé. indique que le signal de synchronisation reçu est un fort signal et que l'horloge se synchronisera sur ce signal. La synchronisation peut durer
jusqu'à 7 minutes. cesse de clignoter et reste allumé à la réception du signal et au démarrage de la synchronisation.
ne s'allume pas lorsque l'horloge ne parvient pas à se synchroniser dans le délambda imparti. Ultérieurement, démarrez manuellement la synchronisation ou attendez que l'horloge procèle automatiquement à cette synchronisation à l'heure indiquée ci-dessus. Pour annuler la synchronisation RCC en cours, appuyez sur la touche "-/RCC" (6).
Toutes les autres fonctions de l'horologie la station météorologique sont inaccessibles en mode de synchronisation RCC. Attendez la fin de la tentative de synchronisation ou la fin de la synchronisation pour pouvoir y acceder de nouveau.
Si le réveil se déclenché pendant une synchronisation RCC, la synchronisation s'arrête immidiatement. Pour la reprene, procédez comme nous l'avons indiqué ci-dessus pour la synchronisation manuelle.
Changement de zone RCC
Cette horloge est équipée d'un dispositif radiocommandé d'ajustement de l'heure. Vous devez déterminer le signal de fuseau hora que vous receivez à votre position géographique et, eventulement, procédér aux ajustements requis. Cette fonction est également appropriée pour le passage à l'heure d'éte. Pour en savoir plus, prenez contact avec votre agence ou l'autorité météorologique locale.
Appuyez une fois sur la touche "-/RCC" (6) pour vous aligner sur le fuseau hora +1. Appuyez une deuxième fois sur la touche "-/RCC" (6) pour vous aligner sur le fuseau hora +2.
Appuyez une deuxième fois sur la touche "-/RCC" (6) pour vous aligner sur le fuseau horaire -1.
Appuyez une quatrième fois sur la touche "-/ RCC" (6) pour revenir sur votre fuseau horaire.
Réglage manuel de l'horloge :
Appuyez sur la touche "MODE" (2) pour passer du mode horloge au mode réveil et vice-versa.
Attendez que les chiffres de l'horloge apparaisent sur l'écran puis appuyez sur la touche "SET/AL" (3) et maintenez-la enforcée pendant 3 secondes, jusqu'à ce que les chiffres clignotent sur l'écran.
Réappuyez sur la touche "SET/AL" (3). Appuyez sur la touche "-/RCC" (6) ou sur la touche "+"/C/F" (5) pour régler les chiffres des heures.
Réappuyez sur la touche "SET/AL" (3). Appuyez sur la touche "-/RCC" (6) ou sur la touche "+"/C/F" (5) pour régler les chiffres des minutes.
Réappuyez sur la touche "SET/AL" (3). Appuyez sur la touche "-/RCC" (6) ou sur la touche "+"/C/F" (5) pour régler les chiffres de l'année.
Réappuyez sur la touche "SET/AL" (3). Appuyez sur la touche "-/RCC" (6) ou sur la touche "+"/C/F" (5) pour désirer le format d'affichage mois/date ou date/mois.
Réappuyez sur la touche "SET/AL" (3). Appuyez sur la touche "-/RCC" (6) ou sur la touche "+"/C/F" (5) pour régler le mois.
Réappuyez sur la touche "SET/AL" (3). Appuyez sur la touche "-/RCC" (6) ou sur la touche "+"/C/F" (5) pour régler la date.
Réappuyez sur la touche "SET/AL" (3). Appuyez sur la touche "-/RCC" (6) ou sur la touche "+"/C/F" (5) pour désirer le format d'affichage AM/PM ou 24 heures.
Réappuyez sur la touche "SET/AL" (3). Appuyez sur la touche "-/RCC" (6) ou sur la touche "+"/C/F" (5) pour désirir la langue d'affichage des jours de la semaine.
ENG pour l'anglais ; GE pour l'allemand ; IT pour l'italien ; FR pour le français ; NE pour le néerlandais ; ES pour l'espagnol ; DA pour le danois ;
Réappuyez sur la touche "SET/AL" (3) pour confirmer vos réglages. Le contenu de l'écran cette de clignoter.
Pour afficher l'heure de réveil :
Appuyez sur la touche "MODE" (2) pour passer du mode horloge au mode réveil et vice-versa. L'heure de réveil actuelle apparait sur l'écran, comme l'indique le symbole "AL".
Pour régler l'heure de réveil :
Appuyez une fois sur la touche "SET/AL" (3). L'heure de réveil actuelle apparait sur
I'ecran, comme I'indique le symbole "AL".
Appuyez sur la touche "MODE" (2) et maintenez-la enfoncée pendant environ
3 secondes, jusqu'à ce que les chiffres clignotent.
Appuyez sur la touche "-/RCC" (6) ou sur la touche "+"/C/F" (5) pour régler les chiffres des heures.
Réappuyez sur la touche "MODE" (1).
Appuyez sur la touche "-/RCC" (6) ou sur la touche "+"/C/F" (5) pour régler les chiffres des minutes.
Réappuyez sur la touche "MODE" (1).
Dés que l'heure de réveil apparait sur l'écran, appuyez sur la touche "-/RCC" (6) ou sur
la touche + / C / F (5) pour activer ou désactiver la fonction réveil. s'allume sur l'écran lorsque la fonction réveil est active.
La sonnerie de réveil retentit pendant environ 120 secondes. Pour arrêté le mode rappel, appuyez sur l'une quelconque des touches à l'arrière du réveil. L'horloge se place automatiquement en mode rappel si vous n'arrêtez pas le réveil.
Appuyez sur la touche "SNOOZE/LIGHT" (1) lorsque la sonnerie de réveil retentit pour
passer en mode Rappel. clignote sur I'ecran lorsque I'horloge est en mode Rappel. La sonnerie retentira de nouveau 5 minutes après. Pour arreter le mode rappel, appuyez sur I'une qualconque des touches à I'arriere du réveil.
Notez que la fonction de réglage de l'heure de réveil est inaccessible lorsque l'horloge est en mode synchronisation RCC. Attendeze la fin de la synchronisation avant de régler l'heure de réveil.
Configuration du thermomètre
Cette station météorologique a été concise pour pilotier jusqu'à 3 détecteurs de température places à distance. À l'achat, elle n'est livrée qu'avac un seul détecteur. Pour en installer d'autres, achetez-les séparation. Aupres de votre revendeur local.
Detecteurs de température à distance (RTS)


Fig. 4 Vue arrrière Fig. 5 Vue arrrière - ouvert
RTS1. Trou de fixation
RTS2. Vis du couvercle du compartment de piles
RTS3. Touche "TX"
RTS4. Contact "RESET"
RTS5. Commutateur "Channel 1 2 3"
Installation des piles
- Retirez les deux petites vis (RTS 2) maintainant le couvercle du compartment de piles à l'aide d'un tournevis cruciforme. (Reportez-vous à la figure 4)
- Installez/remplacez les 2 x pile "AAA". Si possible, utilisez uniquement des piles alcalines. N'utilisez pas des piles rechargeables.
- La station météorologique peut receivevoir les signaux sur 3 canaux différents. Pour sélectionner un canal (1, 2, or 3), poussez simplement le commutateur "Channel 1 2 3" (RTS 5) sur la position appropriée. Si vous utilisez un seul détector d'extérieur, sélectionnez 1.
- Pour réinitialiser la station, appuyez sur le contact "reset" (RTS 4). Le témoin rouge clignote une fois.
- Remettez le couvercle du compartment de piles en place et fixez-le à l'aide de ses deux vis (RTS 2).
Installation
- Fixez une vis à l'endetroit du mur extérieur où vous poulez installer le détecteur (cette vis n'est pas fournie). Introduisez le trou de fixation RTS 1 sur la vis. Si vous préférez, vous pouvez simplement poser le détecteur sur une surface plane horizontale.
- Vous pouvez installer le détecteur en interieur ou en extérieur. Il est protégé contre les infiltrations d'eau. Ne le plongez pas dans l'eau. Ne l'exposez pas trop longtemps à l'eau. Évitez-lui toute accumulation d'eau ou de neige. Évitez de l'exposer aux rayons directs du soleil. Enlevez-le de l'extérieur lorsque les conditions atmosphériques sont extrêmes ou difficiles, notamment, sans y'être limité, en cas d'ouragan, de typhon et de cyclone. Ne l'installez pas à un endroit exposé à de forts vents.
- N'éloignez pas le détecteur de plus de 30 metres (98 pieds) de sa station réceptrice. Pour permettre la bonne transmission des informations fournies par le détecteur, enlevez tout obstacle et toute source d'interférence entre la station et le détecteur. Le détecteur doit se couver à moins de 30 metres de la station pour que cette-ci puisse recevoir les signaux qui lui sont transmis. Le problème peut être d'au un obstacle ou à des interférences. Essayez diverses positions jusqu'à couver l'emplacement de réception optimale.
Configuration de la base pour receivevoir les signaux de température de l'unité extérieur
- Installé le détector comme indiqué précédemment.
- Appuyez sur la touche "IN/CH" (9) de la station météorologique et maintenez-la enforcée pendant 3 secondes. L'indication "CH" clignote. La station météorologique remet à zéro tous ses
enregistements de température.
- La station météorologique se place en mode attente de signal sur le canal 1. Dès qu'elle détecte les signaux sur le canal 1, elle affiche la température mesurée. Elle interroge ensuite automatiquement les autres canaux, attendant pour chacun environ 3 secondes avant de passer au canal suivant.
- Attendez que la base se synchronise avec toutes les unités extérieures puis appuyez une fois sur la touche "IN/CH" (9) pour
confirmer la configuration des canaux. N'apparait plus sur l'écran.
- La température est mise à jour automatiquement toutes les 30 secondes, en fonction des informations reçues des détecteurs.
-
Pour passer d'un canal à un autre ("CH1", "CH2" et "CH3"), appuyez sur la touche "IN/CH" (9) de la base.
-
s'atume sur I'ecran lorsque les piles du détecteur ne sont plus suffisamment chargées.
Temperatures records
- Appuyez sur la touche "Max/Min" (8) pour afficher la température maximale mesurée, la température minimale mesurée et la température actuelle. L'indication "MAX" repère la température maximale. L'indication "MIN" repère la température minimale.
- Appuyez sur la touche Max/Min (8) et maintenez-la enforcée pendant 3 secondes pour remettre à zéro les températures minimale et maximale, ainsi que les records d'humidité.
Affichage des températures
- La température "IN" correspond à la température interieure, celle détectée par la station même.
- La température "OUT" correspond à la température mesurée par le détecteur place à l'extérieur.
-
Appuyez sur la touche "IN/CH" (9) de la station météorologique pour afficher les températures transmises sur les canaux 1, 2 et 3.
-
À l'apparition du symbole, la station interrogé en séquence tous les détecteurs installés et affiche la température relevante. Appuyez sur la touche "IN/CH" (9) pour annuler.
-
Le symbole "LL", affiché sur l'écran, indique que la température et/ou l'humidité se trouvent en-dehors de l'intervalle des valeurs identifiables
Celsius/Fahrenheit
- Appuyez sur la touche "+"/C/F" (5) pour selectionner l'unité de température Celsius ou Fahrenheit.
Tendance de températe
- indique que la températe est à la hausse.
- Inique que la tempereure est stable.
- indique que la température est à la baise.
Avertissements
- N'exposez pas la station à des forces et des chocs excessifs, ni à des températures ou une humidité excessive.
• Népplongezpas lastationdansl' - Débarrasssez-vous de votre station lorsque sa pile ne se recharge plus ou lorsqu'elle n'affiche plus la température et/ou l'humidité.
- Nereletirezaucunevis.
- Ne jetez pas la station dans le feu. ELLE RISQUE D'EXPLOSER.
- Tenez la station hors de portée des enfants. La station et ses composants représentent un risque d'étouffement.
- N'essayez pas de recharger les piles par toute autre méthode.
- Débarrasssez-vous en conformément aux dispositions légales en la matière.
• Si applicable , essayez de les recyc
Specifications
Plage de températures interieures: 0^ à 50^ ( 32^ à 122^ )
Plage de températures extérieures : -20°C à 50°C (- 4°F à 122°F)
Plage d'humidité relative : 20%-95%
Plage de pression barométrique : 930mb à 1050mb
Alimentation électrique : 4 x pile AAA 1,5 V
RTS2. Vite vano batterie
RTS3. Pulsante "TX"
RTS4. Pulsante "RESET"
RTS5. Interrupttore "Channel 1 2 3"
Notice Facile