EHE 932 000 E - Autres appareil de cuisine AMICA - Notice d'utilisation et mode d'emploi gratuit
Retrouvez gratuitement la notice de l'appareil EHE 932 000 E AMICA au format PDF.
| Caractéristiques techniques | Appareil de cuisson, type de plaque de cuisson électrique |
|---|---|
| Nombre de zones de cuisson | 4 zones de cuisson |
| Type de commandes | Commandes rotatives |
| Dimensions | Dimensions standard pour intégration dans un plan de travail |
| Puissance totale | Puissance totale de 7,2 kW |
| Utilisation | Idéal pour la cuisson de divers aliments, compatible avec tous types de casseroles et poêles |
| Maintenance | Nettoyage facile avec des produits adaptés pour surfaces en verre ou en inox |
| Sécurité | Protection contre la surchauffe, indicateur de chaleur résiduelle |
| Informations générales | Garantie de 2 ans, service après-vente disponible |
FOIRE AUX QUESTIONS - EHE 932 000 E AMICA
Téléchargez la notice de votre Autres appareil de cuisine au format PDF gratuitement ! Retrouvez votre notice EHE 932 000 E - AMICA et reprennez votre appareil électronique en main. Sur cette page sont publiés tous les documents nécessaires à l'utilisation de votre appareil EHE 932 000 E de la marque AMICA.
MODE D'EMPLOI EHE 932 000 E AMICA
La cuisinière Amica est un mariage réussi de facilité d'utilisation et d'efficacité. Après avoir lu la présente notice, vous pourrez utiliser votre cuisinière en toute simplicité.
Chaque cuisine qui sort de notre usine est soigneusement contrôlée avant son emballage. Nos employés vérifient leur sécurité et fonctionnalité sur les postes de contrôle.
Lisez attentivement la notice d'utilisation avant d'installer la cuisinière. Suivez les instructions de la notice pour éviter une mauvaise utilisation de l'appareil.
Conservez la notice dans un endroit facilement accessible. Suivez les consignes de sécurité pour éviter les accidents.
Attention!
Lisez attentivement la présente notice avant d'utiliser la cuisinière.
La cuisine est uniquement destinée à l'usage domestique habituel.
Le producteur se réserve le droit d'effectuer toute modification n'affectant pas le fonctionnement de l'appareil.
Attention. L'appareil ainsi que ses parties accessibles sont chauds durant l'utilisation. Face au risque de brûlure par simple contact, l'utilisateur doit faire preuve d'une vigilance particulière. En l'absence de personnes responsables, les enfants de moins de 8 ans doivent être tenus éloignés de l'appareil.
Le présent appareil peut être utilisé par des enfants à partir de 8 ans, des personnes handicapées physiques, sensorielles ou intellectuelles, ou alors des débutants si ces personnes sont encadrées ou si elles se conforment aux consignes d'utilisation de l'appareil communiquées par une personne responsable de leur sécurité. Ne pas permettre aux enfants de jouer avec l'appareil. Le nettoyage ainsi que la maintenance de l'appareil ne doit pas être réalisés par des enfants sans surveillance.
Attention. Sans surveillance, toute cuisson de graisse ou d'huile sur une plaque de cuisine chauffante comporte une certaine dangerosité avec un risque d'incendie.
Ne JAMAIS essayer d'embrasser le feu avec de l'eau, mais débrancher l'appareil et couvrir la flamme avec un couvercle ou une couverture ininflammable.
Attention. Risque d'incendie : ne pas accumuler d'objets sur la surface de cuisson.
Attention. Si la surface est fissurée, couper l'alimentation électrique afin d'éviter tout danger d'électrocution.
Conseils de sécurité
Pendant l'utilisation, l'appareil devient chaud. Il est recommandé de ne pas toucher les éléments chauffants à l'intérieur du four.
Quand vous utilisez l'appareil, les parties accessibles peuvent devenir très chaudes. Gardez les enfants à distance.
Attention. Ne pas utiliser des toiles abrasives ou des outils métalliques coupants pour le nettoyage de la porte en verre, cette pratique entraînant le rayage de la surface, voire à terme la fissuration du verre.
Attention. Assurez-vous que l'appareil est débranché avant de remplacer la lampe pour éviter le risque d'un choc électrique.
L'utilisation d'appareils de nettoyage fonctionnant à la vapeur est formellement proscrite pour l'hygiène de l'appareil.
Risque de brûlure! De la vapeur chaude peut s'échapper lors de l'ouverture de la porte du four. Ouvrez la porte du four avec précaution lors de la cuisson ou à la fin de la cuisson. Ne vous penchez pas au-dessus de la porte du four lors de son ouverture. Rappelez-vous qu'en fonction de la température, la vapeur peut être invisible.
- Faites particulièrement attention aux enfants qui sont à proximité de la cuisinière. Ne touchez pas l'appareil en fonctionnement pour éviter des brûlures!
- En branchant les appareils électriques sur une prise de courant située à proximité, assurez-vous que leurs éléments ou le câble d'alimentation ne soient pas en contact avec le four ou la plaque en fonctionnement car l'isolement de ces appareils ne protège pas contre les hautes températures.
- Les cuissons doivent être réalisées sous votre surveillance. Les huiles et les matières grasses peuvent prendre feu suite au surchauffage ou débordement.
- Il faut empêcher que la table de cuisson devienne sale. Ce point concerne en particulier le sucre qui réagit avec la plaque vitrocéramique et peut l'endommager définitivement. Il est nécessaire d'enlever les taches eventuelles au fur et à mesure.
- Il est interdit de mettre des récipients avec le fond mouillé sur les foyers chauds ; cela risque d'endommager définitivement l'appareil (taches indélébiles).
- Les récipients utilisés doivent être conçus pour la plaque céramique.
- Si vous constatez que la plaque céramique est endommagée, qu'elle présente des rayures profondes, des fissures ou des éclats, arrêtez d'utiliser l'appareil et avertissez un point de Service Après Vente.
- Avant de mettre les foyers en fonctionnement, mettez des récipients dessus.
- Il est interdit d'utiliser les récipients à arêtes vives qui risquent d'endommager la plaque céramique.
- Ne regardez pas fixement les foyers halogènes en fonctionnement (sans récipient dessus).
- Ne posez pas de récipients dont le poids dépasse 15kg sur la porte ouverte du four ni de récipients dont le poids dépasse 25kg - sur la vitrocéramique.
- Évitez d'utiliser des poudres de nettoyage ou une éponge abrasive pour nettoyer la vitre de la porte; cela risquerait de rayer la surface, provoquant les fissures du verre.
- Il est interdit d'utiliser la cuisinière dont le fonctionnement technique est incorrect. Toutes les réparations doivent être effectuées par des personnes ayant des qualifications adéquates.
- En cas de détention d'une défaillance technique, il faut débrancher obligatoirement l'appareil et avertir un point de Service Après Vente.
- Les personnes (y compris les enfants) handicapées ou les personnes qui manquent d'expérience ou de connaissance de l'appareil ne doivent être autorisées à utiliser l'appareil qu'accompagnées et sous surveillance.
- Faites particulièrement attention aux enfants et tenez-les éloignés de l'appareil en fonctionnement.
- L'appareil a été conçu uniquement en tant que l'appareil destiné à la cuisson. Toute autre utilisation (par exemple pour le chauffage d'ambiances) est contraire à sa destination et peut être dangereuse.

L'utilisation responsable de l'énergie apporte non seulement des économies au budget du ménage mais permet aussi de préserver l'environnement. C'est pourquoi il est important
d'économiser l'énergie électrique. Comment utiliser économiquement la cuisinière :
- Utilisez des récipients appropriés.
Les récipients à fond plat permettent d'économiser jusqu'à 1/3 d'énergie électrique. Mettez le couvercle, sans quoi la consommation d'énergie est quatre fois plus grande!
Utilisez les casseroles dont le diamètre du fond correspond aux surfaces chauffantes.
Évitez d'utiliser des récipients plus petits.
Veillez à la propriété des surfaces chauffantes et des fonds de casseroles.
Les surfaces sales perturbent le passage de la chaleur ; certaines brûlures ne peuvent être éliminées qu'à l'aide de produits de nettoyage polluants.
Évitez d'ouvrir la porte du four, si cela n'est pas nécessaire.
Éteignez les foyers avant la fin de la cuisson pour utiliser la chaleur résiduelle.
Si le temps de la cuisson est long, éteignez les foyers 5-10 minutes avant la fin de la cuisson. Ceci permet d'économiser jusqu'à 20% d'énergie.
Utilisez le four pour préparer des quantités de plats assez grandes.
Pour préparer 1 kg de viande, utilisez juste la vitrocéramique ; ceci est plus économique.
Utilisez la chaleur accumulée du four.
Si le temps de préparation dépasse 40 minutes, il faut éteindre le four 10 minutes avant la fin de cuisson.
Veillez à bien fermer la porte du four.
Les salissures sur les joints de la porte font perdre la chaleur. Il est recommandé de les éliminer immédiatement.
Évitez d'encastrer la cuisinière à proximité des réfrigérateurs/congélateurs.
Vous risquez de faire augmenter la consommation d'énergie.

L'appareil a été mis sous emballage pour éviter les endommagements pendant le transport. Après avoir déballé l'appareil, veuillez enlever les éléments d'emballage de façon à assurer la preservation
de l'environnement.
Tous les matériaux utilisés pour emballer l'appareil ne nuisent pas à l'environnement, ils sont entièrement recyclables et ont été marqués d'un symbole approprié.
Attention! Lors du déballage, ne pas laisser les éléments d'emballage (sachets plastiques, morceaux de polystyrène, etc.) à la portée des enfants.

Après la fin de la période d'utilisation, l'appareil ne peut pas être traité comme un déchet ménager normal; il doit être transmis au point de collecte et de recyclage des appareils électriques et électroniques. Le symbole
approprié a été apposé sur le produit et produit dans l'instruction et sur l'emballage pour en informer.
L'appareil est fabriqué à partir de matières recyclables qui peuvent être réutilisées conformément à leur étiquetage. Les recyclages et autres formes d'utilisation des appareils hors exploitation permettent de contribuer à la préservation de l'environnement.
Les informations sur les points de ramassage des appareils hors exploitation sont fournies par les autorités communales.

1 Manette de régulation de la température 2 Manette de sélection des fonctions du four 3, 4, 5, 6 Manettes de régulation des surfaces chauffantes 7 Voyant de contrôle du thermorégulateur L 8 Voyant de contrôle du fonctionnement de la cuisinière fonctionnement de la cuisinière R 9 Poignée de la porte du four 10 Plaque
Plaque

3a 0 18 cm 2,0 kW 4a 14,5cm1,0kW 5a 018cm 1,5kW 6a 14,5cm1,0kW
Équipement de la cuisine – récapitulatif :
Plat à pain* grille pour grillades
(grille à gratiner)
Plat à rotissage*
*en fonction du modèle
Préparation du dessus du meuble pour l'aménagement par la plaque
- La cuisine devrait être un endroit sec et bien aéré, avec une ventilation efficace. La disposition de la cuisinière devrait garantir un accès libre à tous les éléments de commande. La cuisinière est encastrée dans la classe Y, l'une des cotes d'encastrement peut donc être un meuble haut ou un mur.
- L'épaisseur du dessus devrait être de 28 à 40 mm, la profondeur du dessus de minimum 600 mm. Le dessus devrait être plat et bien orienté horizontalement. Il faut étancher ainsi que protéger le dessus du côté du mur contre des inondations et contre l'humidité.
- La distance entre le bord de l'ouverture et le bord du dessus devrait être devant de minimum 60 mm et derrière de minimum 50 mm.
- Les meubles pour l'aménagement doivent savoir un garnissage ainsi qu'une colle afin de la fixer qui résistant à une température de 100oC. Le non-remplissement de cette condition peut provoquer une déformation de la surface ou le décollement du garnissage.
- Les bords de l'ouverture doivent être protégés par un matériel résistant à l'absorption de l'humidité.
- L'ouverture dans le dessus du meuble doit être effectuée selon les dimensions se trouvant sur la fig. 1.

Montage de la plaque dans le dessus du meuble
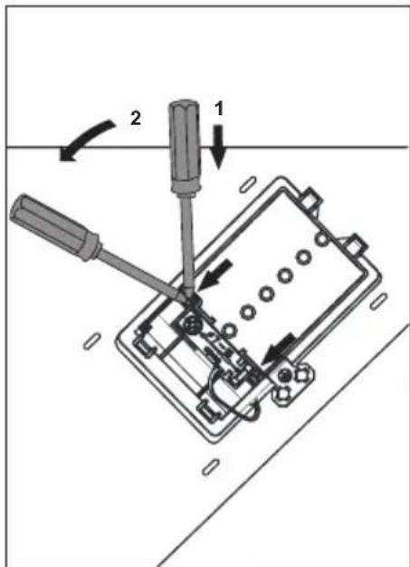
- En cas de dessus d'une épaisseur de 38 mm, afin de fixer la plaque, il faut utiliser 4 poignées « A ». Le moyen de montage a été montré sur les fig. 2 et 3. En cas de dessus d'une épaisseur de 28 mm, à part les poignées « A », il faut en plus utiliser 4 chevilles en bois d'une dimension de 15x15x50 mm. Le moyen de montage a été montré sur les fig. 4 et 5.
- Vérifiez si le joint touche bien le dessus du meuble.
- Vissez légèrement les poignées en-dessous de la plaque.
- Nettoyez le dessus du meuble, mettez la plaque dans l'ouverture et poussez fort jusqu'au dessus du meuble.
- Posez les poignées perpendiculares aux bords de la plaque et vissez à fond.
1 - dessus du meuble 2 - vis 3 - poignée fixante 4 - plaque chauffante 5 - joint d'étanchéité de la plaque
(3)
Montage de la plaque dans le dessus du meuble
(4)
1 - dessus du meuble 2 - vis 3 - poignée fixante 4 - plaque chauffante 5 - joint d'étanchéité de la plaque 6 - cheville en bois
(5)
Pose du joint en mousse
L'encastrement de l'appareil sans le joint est interdit.
Placer le joint sur l'appareil de la façon suivante.
Avant l'encastrement de l'appareil dans le plan de travail, coller le joint en mousse (fourni avec l'appareil) sous le cadre de la plaque de cuisson :
- Retirer le film de protection du joint,
- ensuite coller le joint par-dessous le cadre (dessin).


* dans certains modèles, le joint d'étanchéité est fixé au panneau
Installation du four :
- préparez une découpe dans un meuble à encastrer selon les dimensions individuelles sur l'image (schéma A),
- Avant de brancher le four à l'installation électrique, coupez l'alimentation, insérez partiellement le four dans la découpe et raccordez le four avec la plaque vitrocéramique (schéma B). Connectez absolument le câble mettant à zéro la fraise-mère (jaune-vert) avec la pince mettant à zéro du four (symbole ) se trouvant à proximité du raccordement, insérez le four entièrement dans la découpe et vissez quatre vis (dans les endroits indiqués sur le dessin) pour le protéger de glissements (schéma C).
Scheme A
Scheme B
Attention!
Avant de commencer l'installation, coupez l'alimentation.
Attention!
L'installation ne peut être effectuée que par un installateur qualifié. Les modifications de l'installation électrique effectuées de façon autonome sont à proscrire.
Consignes pour l'installateur
La cuisinière doit être alimentée par un courant alternatif triphase (400V 3N~50Hz). La tension nominale des éléments chauffants est de 230V. Il est possible d'adapter la cuisinière de façon à ce qu'elle soit alimentée par un courant monophasé (230 V) (procéder selon le schéma de jonction des barrettes ci-dessous). Le schéma des jonctions est également indiqué dans la trappe de protection. Pour accéder au bornier, ôtez la trappe. Veuillez désigner correctement le câble de raccordement compte tenu du type de jonction et de la puissance nominale de la cuisinière.
Attention!
Veuillez raccorder le câble de protection au serre-câble sur le bornier selon le marquage
L'installation électrique qui alimente la cuisine doit avoir un interrupteur de sécurité permettant de couper l'alimentation en cas de panne. La distance entre les joints de travail de l'interrupteur de sécurité doit s'élever au minimum à 3 mm.
Avant de brancher la cuisinière à l'installation électrique, lisez les informations sur la plaque signalétique et sur le schéma de jonction.

| SCHEME DES JONCTIONS POSSIBLEs Attention ! Tension des éléments chauffants 230 V Attention ! Pour chaque jonction, le cable de protection doit être mis dans le serre-câble PE | Type de cable de raccorde-ment recom-mandé | ||
| 1. | Pour l'installation 230 V (la jonction monophasée avec le cable neutre), mettez les barrettes dans les serre-câbles 1-2-3 et 4-5, cable de protection ± | 1/N~ | H05VV-F3G4 |
| 2. | Pour l'installation 400/230 V (la jon-cation biphasée avec le cable neutre), mettez les barrettes dans les serre-câbles 2-3 et 4-5, cable de protection - ± | 2/N~ | H05VV-F4G4 |
| 3. | Pour l'installation 400/230 V (la jonction triphasée avec le cable neutre), mettez les barrettes dans les serre-câbles 4-5, les phases respectivement 1,2,3, zéro à 4-5, cable de protection - ± | 3/N~ | H05VV-F5G1,5 |
| L1=R L2=S L3=T N=neutrale Leitung PE=Schutzleiter | |||
L1=R, L2=S, L3=T, N=serre-cable du cordon neutre, PE=serre-cable du cordon de protection
Première utilisation
Retirez les éléments d'emballage, retirez doucement les étiquettes de la porte du four sans en enlever la bande de colle, - videz le tiroir, nettoyez bien la cavité du four pour ne pas laisser de traces de produits d'entretien, retirez les éléments d'équipement du four et nettoyez-les dans de l'eau chaude avec du liquide vaisselle, - allumez un dispositif de ventilation ou ouvrez une fenêtre, chauffez le four (à la température 250°C, pendant environ 30 min.), éliminez les salissures et nettoyez soigneusement.
Pour laver la cavité du four, utilisez de l'eau chaude avec du liquide vaisselle.
Utilisation de la plaque de cuisson
Certains modèles (voir le tableau dans le chapitre Caractéristiques du produit) sont équipés d'une plaque de cuisson.
Pour régler la puissance de la plaque, tournez progressivement la manette à droite ou à gauche. Lorsque vous allumez la plaque de cuisson, le voyant jaune de contrôle s'allume sur le bandeau de commandes.
NON NON NON NONOUI



Un récipient bien choisi permet d'économiser de l'énergie. Le fond du récipient devrait être écais et plat et son diamètre devrait être égal au diamètre du brûleur, c'est-à-dire 18 cm, car le passage de la chaleur est alors meilleur.
Positions indicatives de la manette
0 Arret
MIN. Préchauffage
1 Légumes braisés, cuisson à puissance réduite Cuisson des potages, des plats en grande quantité 2 Friture à puissance réduite Grillage des viandes, des poissons 3 MAX. Chauffage rapide, cuisson et friture rapides
Attention!
Veillez à la propreté de la plaque – une plaque sale perd sa puissance. Protégez la plaque contre la corrosion. Éteignez la plaque avant de retirer le récipient. Ne laissez pas sans surveillance les récipients contenant des aliments, préparés sur la graisse ou l'huile, sur une plaque allumée; la graisse brûlante peut s'enflammer.

Four conventionnel
Le four peut être chauffé à l'aide d'une chaleur de sole et de vous, et d'un gril. Pour utiliser le four, vous disposez d'une manette de type de fonctionnement - il suffit de tourner le commutateur à la fonction sélectionnée,

ainsi que les manettes de régulation de la température - il faut positionner la manette sur la température sélectionnée.

Pour arrêter le four, il faut mettre les deux manettes sur la position « ● »/« 0 »
Grilloir mis en marche

Lorsque vous mettez la manette sur cette position, vous ne pouvez faire griller les mets que si le grilloir est mis en marche.

Chaleur de voyage mise en marche
Lorsque vous mettez la manette sur cette position, vous ne pouvez faire chauffer le four qu'à l'aide de la chaleur de voyage.

Chaleur désimisée en marche
Lorsque vous mettez la manette sur cette position, le four chauffe uniquement à l'aide de la chaleur de sole.

Chauffage de sol et de vous mises en marche
Lorsque vous mettez la manette sur cette position, le four est chauffé selon la méthode conventionnelle.

Éclairage indépendant du four
Lorsque vous mettez la manette sur cette position, la cavité du four est éclairée.

La fonction de chauffe ECO
Cette fonction permet de chauffer les plats de manière optimisée pour permettre l'économie d'énergie. Sur cette position, l'éclairage du four est éteint.
Lorsque vous allumez le four, deux voyants de contrôle, R et L, s'allument. Le voyant R de contrôle signale le fonctionnement du four. Si le voyant L de contrôle s'eteint, le four a atteint la température demandée. A moins que les recettes culinaires recommendent de mettre le plat dans un four préchauffé, il est nécessaire de le faire seulement après que le voyant L de contrôle se soit eteint. Lors de la cuisson, le voyant L s'allume et s'eteint périodiquement (maintien de la température à l'intérieur du four). Le voyant R de contrôle peut également rester allumé lorsque la manette est mise sur la position « Éclairage du four »
Utilisation du grilloir
Les plats sont grillés par rayons infrarouges émis par la résistance incandescente du gril.
Permettre en marche le grilloir:
Mettez la manette du four sur la position
- marquée du symbole. Chauffez le four pendant environ 5 minutes (la porte du four doit être fermée),
- mettez le plat au four, dans les gradins appropriés ; lorsque vous utilisez une grille pour les grillades, insérez un plat les échellesrites
- directement sous la grille, il recueille les graisses des grillades,
Pour la fonction gril et supergril, nous vous conseillons de régler votre thermostat sur 250°C et pour la fonction sur 190°C.
Attention!
Pour la cuisson en fonction, la porte du four doit être fermée.
Quand vous utilisez la fonction, les parties accessibles peuvent devenir très chaudes.
Gardez les enfants à distance!
Cuissons
- il est recommandé d'utiliser les plats fournis avec la cuisinière pour la cuisson des pâtisseries,
- Les cuissons peuvent être aussi effectuées dans les moules disponibles sur le marché (il faut les poser sur la grille). Pour les cuissons, optez plutôt pour les moules noirs qui permettent de réduire le temps de cuisson.
- Vous utilisez la fonction de la chaleur tournante, le préchauffage du four n'est pas nécessaire. En ce qui concerne les autres modes de cuisson, il faut préchauffer le four avant d'y mettre le plat.
- Avant de sortir une pâtisserie du four, vérifie la qualité de la cuisson à l'aide d'une baguette en bois (si la pâtisserie est prête, la baguette doit en sortir propre et sèche),
- Il est recommandé de laisser la cuisson au four pendant environ 5 minutes après avoir arrêté le four,
- Les paramètres des cuissons dans les tableaux sont indiqués à titre d'exemple et peuvent être modifiés selon l'expérience et les goûts culinaires de l'utilisateur,
- Si les informations précisées dans les recettes diffèrent considérablement des valeurs indiquées dans la notice d'utilisation, voir les suivre les consignes de la notice.
Rôtissage
- les viandes dont le poids excède 1 kg doivent être préparées dans le four, il est recommandé de préparer les morceaux plus petits sur les brûleurs gaz de la cuisinière,
- utilisez les récipients résistants à la chaleur pour le rotissage, les poignées de ces récipients doivent être également résistantes aux hautes températures,
- si vous utilisez les grilles pour le rotissage, placez le plat à rotissage avec une petite quantité d'eau au niveau le plus bas, au moins une fois pendant la cuisson, tournez la viande, nappez-la avec du jus ou de l'eau chaude et salée (n'ajoutez pas d'eau froide dans le plat).
La fonction de chauffe ECO
- en utilisant la fonction chaleur tournante ECO, la cuisson optimisée se met en route pour économiser de l'énergie lors de la préparation des aliments.
- La durée de cuisson ne peut être réduite par un réglage plus élevé de la température, le préchauffage du four avant la cuisson est également déconseillé. Ne pas modifier le réglage de la température ni ouvrir la porte pendant la cuisson.
Paramètres recommandés lors de l'utilisation de la fonction de chauffe ECO
| Type de cissons Plat | Fonction du four | Température (°C) | Niveau Durée [Min] | |
| Biscuit 180 - 200 2 - 325 ECO - 40 | 1) | |||
| Gâteau à la levure / gâteau quatre-quarts | ECO | 180 - 200 2 - 3 | 25 - 40 | 1) |
| Poissons 190 - 210 2 - 325 ECO - 100 | 2) | |||
| Boeuf 200 - 220 2 90 ECO - 120 | 2) | |||
| Porc 200 - 220 2 90 ECO - 160 | 2) | |||
| Poulet 180 - 200 2 80 ECO - 100 | 2) | |||
1) Recommandé pour une cuisson qui ne dépasse pas 40 minutes. 2) Recommandé pour des morceaux de viande de plus d'un kg.
Four conventionnel (élément chauffant inférieur + élément chauffant supérieur)
| Type de plat/ cuisson | Fonction du four | Température ( °C) | Niveau Temps [min] | |
| Biscuit 160 - | 200 2 - 3 30 - 50 | |||
| Gâteau à la levure / gâteau quatre-quarts | 160 - 170 1) | 3 25 - 40 | 2) | |
| Pizza 220 - 240 | 1) | 2 15 - 25 | ||
| Poissons 210 - | 220 2 45 - 60 | |||
| Bœuf 225 - 250 | 250 2 120 - 150 | |||
| Porc 160 - 230 | 30 2 90 - 120 | |||
| Poulet | 160 - 180 2 45 | - 60 | ||
| Légumes 190 - | 210 2 40 - 50 |
Sauf indication contraire, les durées sont indiquées pour un four non préchauffé. Raccourcir les durées d'environ 5-10 minutes pour un four préchauffé.
1) Préchauffer le four vide 2) Les durées sont indiquées pour des produits dans de petits moules
Attention : Les paramètres sont indiqués dans le tableau à titre indicatif et peuvent être modifiés selon votre propre expérience et préférences.
Cuisson de gâteaux
| Type de plat Accessoires Niveau Fonctions | de cuisson | Température (°C) | Temps de cuisson 2) (min.) | |
| Petits gâteaux | Plaque pour pain | 3 160 - 170 | 1) | 25 - 40 2) |
| Plaque pour pain | 3 155 - 170 | 1) | 25 - 40 2) | |
| Plaque pour pain | 3 155 - 170 | 1) | 25 - 40 2) | |
| Plaque pour pain | 2 + 42 - plaque pour pain ou pour rôti4 - plaque pour pain | 155 - 170 1) | 25 - 50 2) | |
| Plaque pour rôti | ||||
| Pât brisée (bandes) | Plaque pour pain | 3 150 - 160 | 1) | 30 - 40 2) |
| Plaque pour pain | 3 150 - 170 | 1) | 25 - 35 2) | |
| Plaque pour pain | 3 150 - 170 | 1) | 25 - 35 2) | |
| Plaque pour pain | 2 + 42 - plaque pour pain ou pour rôti4 - plaque pour pain | 160 - 175 1) | 25 - 35 2) | |
| Plaque pour rôti | ||||
| Généose sans graisse | Grille + moule pour gâteau revêtu de noirØ 26 cm | 3 170 - 180 | 1) | 30 - 45 2) |
| Tarte aux pommes | Grille + deux moulés pour gâteau revêtus de noirØ 20 cm | 2 Les moulés ont été disposés sur la grille en diagonale, droite arrêté, gauche avant | 180 - 200 1) | 50 - 70 2) |
1) Préchauffer le four vide, ne pas utiliser la fonction de réchauffement rapide. 2) Sauf indication contraire, les durées sont indiquées pour un four non préchauffé. Raccourcir les durées d'environ 5-10 minutes pour un four préchauffé.
Mode gril
| Type de plat A | Accessoires Niveau Fonctions | de cuisson | Température (°C) | Durée (min.) |
| Pain blanc grillé | Grille 4 250 | 1) | 1,5 - 2,5 | |
| Grille 4 250 | 2) | 2 - 3 | ||
| Hamburgers de bœuf | Grille + plaque pour rôti (pour récapérez les égout-tages) | 4 - grille 3 - plaque pour rôti | 250 1) | 1 page 10 - 152 page 8 - 13 |
1) Préchauffer le four vide en l'allumant pour 5 minutes, ne pas utiliser la fonction de réchauffement rapide. 2) Préchauffer le four vide en l'allumant pour 8 minutes, ne pas utiliser la fonction de réchauffement rapide.
Cuisson
| Type de plat A | Accessoires Niveau au Fonctions | de cuisson | Température (°C) | Durée (min.) |
| Poulet entier | Grille + plaque pour rôti (pour récapére-rer les égout-tages) | 2 - grille 1 - plaque pour rôti | 180 - 190 70 | - 90 |
| Grille + plaque pour rôti (pour récapére-rer les égout-tages) | 2 - grille 1 - plaque pour rôti | 180 - 190 80 | - 100 |
Sauf indication contraire, les durées sont indiquées pour un four non préchauffé. Raccourcir les durées d'environ 5-10 minutes pour un four préchauffé.
Le nettoyage régulier et l'entretien approprié de la cuisinière permettent de rallonger la période de son exploitation.
Avant de commencer le nettoyage, débranchez la cuisinière et mettez toutes les manettes sur la position « ● »/« 0 ». Avant de procéder au nettoyage, laissez refroidir l'appareil.
Plaque
Veillez à la propreté de la plaque – une plaque sale perd sa puissance. Protégez la plaque contre la corrosion. Éteignez la plaque avant de recevoir le représentant. Ne laissez pas sans surveillance les récipients contenant des aliments, préparés sur la graisse ou l'huile, sur une plaque allumée; la graisse brûlante peut s'enflammer.
Four
Nettoyez le four après chaque utilisation. Pour nettoyer la cavité, allumez l'éclairage du four. Vous aurez ainsi une meilleure visibilité de l'espace de travail. - Pour laver la cavité du four, utilisez de l'eau chaude avec du liquide vaisselle.
Attention!
Évitez les produits abrasifs pour nettoyer et entretenir les fronts en verre.
Nettoyage à la vapeur - steam clean:
- versez 0,25 l d'eau (1 verre) dans un récipient et posez-le sur la grille au niveau le plus bas, -fermez la porte du four,
- mettez la manette de régulation de la température sur la position C et la manette de fonctions sur la position - faites chauffer le four pendant environ 30 minutes,
- Ouvrez la porte du four, essuyez la cavité avec un chiffon ou une éponge, ensuite lavez-la en utilisant de l'eau chaude avec du liquide vaisselle.
Attention. Après un nettoyage à vapeur, des traces d'eau ou de l'humidité peuvent rester en-dessous de la cuisine.
- Essuyez la cavité du four.
Comment changer l'ampoule halogène de l'éclairage du four
Afin d'éviter la possibilité d'électrocution, il faut s'assurer avant le remplacement de l'ampoule halogène que l'équipement est éteint.
- Positionner toutes les manettes sur 0' et débrancher l'appareil de sa source d'alimentation.
- Retirer et laver le globe de la lampe et ne pas oublier de l'essuyer.
- Retirer l'ampoule halogène en utilisant pour cela un chiffon ou du papier. En cas de besoin, il faut replacer l'ampoule halogène par une nouvelle : - tension 230V - puissance 25W - G9
- Placer précisément l'ampoule halogène dans le siège d'encastrement.
- Retirer le globe de la lampe.
Lampe du four
Attention! Prendre soin de ne pas toucher l'ampoule halogène directement avec les doigts.
Retrait de la porte
Vous pouvez retirer la porte du four pour avoir un meilleur accès à la cavité lors du nettoyage. Pour ce faire, il faut ouvrir la porte et soulever le dispositif de verrouillage dans la charnière (fig. A). Soulevez légèrement la porte et tirez-la vers vous sous l'angle d'environ par rapport au niveau horizontal. Afin de remonter la porte, procédez dans l'ordre inverse. Faites attention à mettre correctement le cran de la charnière sur l'ergot de la porte-charnière. Après avoir remis la porte du four, baissez obligatoirement le dispositif de verrouillage. Si vous ne le faites pas, vous risqueriez d'endommager la charnière lors de la fermeture de la porte.
Écartement des dispositifs de verrouillage des charnières
Démontage de la vitre intérieure
- Dé élicatement sur les côtés (fig. B).
- Retirer la plinthe supérieure de la porte. (fig. B, C)


Nettoyage et entretien de la cuisinière
- Décrochez la vitre intérieure de sa fixation (en partie inférieure de la porte). Extraire la vitre intérieure (schéma D).
- Laver la vitre à l'eau chaude avec un peu de produit de nettoyage.
La répose de la vitre se fait dans l'ordre inverse des opérations du démontage. La partie lisse doit se couvrir en haut.
Attention! Il ne faut pas pousser simultanément la plinthe supérieure des deux côtés de la porte. Afin de placer correctement la plinthe supérieure de la porte, il faut en premier placer l'extrémité gauche de la plinthe sur la porte et enficher l'extrémité droite jusqu'à ce qu'un « clic » se fasse entendre. Ensuite, il faut enficher la plinthe du côté gauche jusqu'à ce qu'un « clic » se fasse entendre.
Démontage de la vitre intérieure
Contrôles périodiques
En dehors de l'entretien et du nettoyage courant de la cuisinière, il est nécessaire de :
- Procéder aux contrôles périodiques de fonctionnement des dispositifs électroniques et mécaniques de la cuisinière. À l'expiration du début de garantie, et tous les deux ans au minimum, il est nécessaire de prévoir une maintenance technique de la cuisinière.
- réparer les éventuels défauts constatés,
- procéder à la maintenance des dispositifs mécaniques de la cuisine.

Note : les réparations et réglages doivent être effectués par un professionnel/agréé ou par le service après-vente.
En cas de panne, il faut :
- éteindre les éléments de travail de la cuisinière
- couper l'alimentation électrique
- Avertir le service après vente
- L'utilisateur peut réparer certaines petites pannes en suivant les indices dans le tableau ci-dessous. Avant de vous adresser au service après-vente, vérifiez les points représentés dans le tableau.
| PROBLÈME | CAUSE | PROCÉDURE |
| Le dispositif électrique ne fonctionne pas | coupure de courant | vérifiez le coupe-circuit dans votre installation, si nécessaire, changez-le |
| L'éclairage du four ne fonctionne pas | l'ampoule est dévisnée ou défectueuse | vissez ou changez l'ampoule(cf. chapitre Nettoyage et entretien) |
Tension nominale 230/400V ~ 50 Hz
Puissance nominale max. 7,5 kW
Dimensions de la cuisinière
Largeur/Hauteur/Profondeur) 59,5× 59,5× 57,5cm
Le produit est conforme aux normes EN 60335-1, EN 60335-2-6, en vigueur dans l'Union Européenne.
Les données sur l'étiquetage énergétique des fours ELECTriques sont indiquées conformément à la norme EN 60350-1/CEI 60350-1. Ces données sont définies pour des charges standard avec les fonctions actives : éléments chauffants inférieur et supérieur (mode conventionnel) et rechauffement avec l'assistance du ventilateur (si ces fonctions sont accessibles).
La classe d'efficacité énergétique est définie selon les fonctions accessibles dans le produit conformément à la priorité ci-dessous :
| Circuit d'air forcé ECO (chaleur tournante + ventilateur) | ECO |
| Circuit d'air forcé ECO (élément chauffant inférieur + supérieur + grill + ventilateur) | ECO |
| Mode conventionnel ECO (élément chauffant inférieur + supérieur) | ECO |
Pour définir la consommation d'énergie, démonter les glissières télescopiques (si le produit dispose de cet équipement).
Déclaration du producteur
Le producteur déclare que le produit est conforme aux exigences déterminées dans les directives UE :
- directive « basse tension » 2014/35/EC,
- directive « compatibilité électromagnétique » 2014/30/EC,
- directive « ErP » 2009/125/EC,
c'est pourquoi, le produit porte une marque appropriée et est accompagné d'une déclaration de conformité destinée aux autorités de surveillance du marché.
Notice Facile