ST 330 - Déneigeuse HUSQVARNA - Notice d'utilisation et mode d'emploi gratuit
Retrouvez gratuitement la notice de l'appareil ST 330 HUSQVARNA au format PDF.
| Caractéristiques techniques | Souffleur à neige HUSQVARNA ST 330, moteur à essence, puissance de 3000 W, largeur de travail de 76 cm, hauteur de déneigement jusqu'à 30 cm. |
|---|---|
| Utilisation | Idéal pour déneiger des allées, trottoirs et petites routes, adapté aux surfaces dures et aux chutes de neige légères à modérées. |
| Maintenance et réparation | Vérifier régulièrement l'huile moteur, nettoyer le filtre à air, affûter les lames, et ranger dans un endroit sec après utilisation. |
| Sécurité | Porter des gants et des lunettes de protection, ne pas diriger le souffle vers des personnes ou des animaux, respecter les consignes de sécurité du fabricant. |
| Informations générales | Poids de 90 kg, garantie de 2 ans, pièces de rechange disponibles, consommation de carburant optimisée. |
FOIRE AUX QUESTIONS - ST 330 HUSQVARNA
Questions des utilisateurs sur ST 330 HUSQVARNA
0 question sur cet appareil. Repondez a celles que vous connaissez ou posez la votre.
Poser une nouvelle question sur cet appareil
Téléchargez la notice de votre Déneigeuse au format PDF gratuitement ! Retrouvez votre notice ST 330 - HUSQVARNA et reprennez votre appareil électronique en main. Sur cette page sont publiés tous les documents nécessaires à l'utilisation de votre appareil ST 330 de la marque HUSQVARNA.
MODE D'EMPLOI ST 330 HUSQVARNA
FR Manuel d'utilisation 54-81
Transport, entreposage et mise au rebut. 79
Montage. 60
Caracteristiques techniques. 79
Utilisation 62
Déclaration de conformité CE. 81
Entretien 67
Introduction
Aperçu du produit

1. Silencieux 2. Bouchon de replissage d'essence
- Connexion, démarrage électrique
- Bouton de démarrage électrique
5.Voyant - Engagement de la vis sans fin
- Levier de commande de la goulotte d'éjection
- Levier de commande de vitesse
- Levier de commande à distance du déflecteur
- Engagement de l'entrainment
- Gachettes de direction
- Bouton de poignée
- Plaque de protection
- Vis sans fin
- Outil de nettoyage
- Goulotte d'éjection
- Déflecteur de goulotte
- Poignée du cable du démarreur
- Vidange d'huile
- Interrupteur de carburant
- CIÉ MARCHE/ARRÉT
- Amorceur
- Interrupteur de marche/arrêt
- Commande d'accelération
- Starter
- Remplissage d'huile sur tous les modèles. Jauge (ST 324)
- Jauge (ST 327, ST 330)
Description du produit
Le produit est une souffleuse sur roues qui est utilisée pour retarder la neige du sol.
Utilisation prévue
Ce produit peut être utilisé pour-retirer la neige des champs, des routes, des allées et des trottoirs. Ne l'utilise pas sur des pentes de plus de 20^ . N'utilise pas ce produit dans des zones où il y a beaucoup de débris, de saletés et de pierres qui dépasseNT.
Symboles concernant le produit
Remarque: Si les autocollants sur le produit sont endommages, contactez le distributeur afin de les replacer.

Avertissement.

Lisez le manuel d'utilisation.

Moteur en marche.

Moteur à l'arret.

Rapide.

Lent.

Starter.

Amorceur.

Huile.

Carburant.

Attention.

Directive européenne Machines liée à la sécurité.

Direction gauche.

Direction droite.

Réglage de la hauteur de la vis sans fin.

Activation du souffleur.

Désactivation du souffleur.

Activation de l'entrainment de traction.

Désactivation de l'entrainment de traction.

Ne retirez pas les carters lorsque le moteur tourne.

Protection d'oreilles recommandaee.

Niveau de puissance sonore

Ne pas utiliser sur des pentes d'une inclinaison supérieure à 10 degrés.

Débranche le cable de la bougie avant l'entretien.

Surface chaude.

Soupape d'arrêt de carburant.

Avertissement, maintenez vos mains à distance.

Avertissement, maintenez vos pieds à distance.

Prenez garde aux projections d'objets. Eloignez les personnes à proximite.
Tourner à gauche / en-foncer / tourner à droite.
Avant/arrière.
Responsabilité
Haut/bas.
Conformément à la loi sur la responsabilité du fait des produits, nous déclinons toute responsabilité pour tout dommage causé par notre produit si :
- le produit n'est pas correctement réparé ;
- le produit est réparé avec des pieces qui ne proviennent pas du fabricant ou qui ne sont pas homologuees par le fabricant ;
- le produit est équipé d'un accessoire qui ne provient pas du fabricant ou qui n'est pas homologué par le fabricant;
- le produit n'est pas réparé par un centre d'entretien agréé ou par une autorité homologuee.
Sécurité
Définitions de sécurité
Les définitions ci-dessous indiquent le niveau de gravité pour chaque mention d'advertissement.

AVERTISSEMENT: Blessures aux personnes.

REMARQUE: Dommages au produit.
Remarque: Cette information facilitite l'utilisation du produit.
Instructions générales de sécurité
- Utilisez le produit correctement. Une utilisation inappropriée peut cause des blessures graves, voire mortelles. Utilisez uniquement le produit pour les tâches décrites dans le present manuel. N'utilise pas ce produit pour d'autres travaux.
- Respectez les instructions de ce manuel. Respectez les symboles et les instructions de sécurité. Le non-respect des instructions et des symboles par l'opérateur peut cause des blessures graves, voir mortelles, ou des dommages.
- Ne jetez pas ce manuel. Utilisez les instructions pour assembler, utiliser et conserver votre produit en bon état. Utilisez les instructions pour l'installation appropriée des équipements et accessoires. Utilisez uniquement des équipements et accessoires homologues.
- N'utilisez pas de produit endommagé. Respectez le schéma d'entretien. Effectuez uniquement les travaux d'entretien dont les instructions sont comprises dans ce manuel. Tous les autres travaux d'entretien doivent être effectués par un centre d'entretien/agréé.
- Ce manuel ne peut pas inclure toutes les situations qui peuvent se produit lorsque vous utilisez le produit. Soyez prudent et utilisez votre bon sens. N'utilisez pas ou n'effectuez pas de travaux d'entretien sur le produit si vous n'etes pas sur de la situation. Contactez un spécialiste du produit, votre revendeur, votre agent d'entretien ou centre d'entretien/agree pour plus d'informations.
- Déconnectez la bougie avant d'assembler, de stocker ou d'effectuer l'entretien du produit.
- N'utilisez pas le produit si ses caractéristiques initiales ont été changées. Ne remplacez pas une piece du produit sans l'approbation du fabricant. Utilisez uniquement les pieces qui sont approvées par le fabricant. Un entretien inapproprié peut cause des blessures graves, voir mortelles.
- Ne respirez pas les fumées provenant du moteur. À long terme, l'inhalation de gaz d'échéppement dégagés par le moteur constitue un danger pour la santé.
- Ne démarrez pas le produit dans un local clos ou à proximé de matériaux inflammables. Les gaz d'échéppement sont très chauds et peuvent contenir une étincelle pouvant provoquer un incendie. Un débit d'air insuffisant peut cause des blessures graves, voire mortelles dues à une asphyxie ou au monoxyde de carbone.
- Lorsque vous utilisez ce produit, le moteur create un champ électromagnétique. Le champ électromagnétique peut endommager les implants médicaux. Consultez votre médecin et le fabricant de votre implant avant d'utiliser ce produit.
- Ne laïsez pas un enfant utiliser le produit. Ne laïsez personne utiliser le produit sans en connaître les instructions d'utilisation.
Assurez-vous de tousjours surveiller une personne aux capacités physiques ou mentales réduites qui utilise le produit. Un adulte responsable doit être present à tout moment.
- Stockez le produit dans une zone dont l'accès est fermé aux enfants et aux personnes non autorisées.
- Le produit peut projeter des objets et cause des blessures. Respectez les consignes de sécurité afin de réduire le risque de blessures graves ou mortelles.
- Ne vous éloignez pas du produit lorsque le moteur est allumé.
- L'opérateur du produit est tenu responsable en cas d'accident.
- Avant et pendant que vous marchez à reculons, regardez derrière vous et à vos pieds pour vérifier la présence eventuelle de jeunes enfants, d'animaux ou autres risques qui pourrait vous faire tomber.
Assurez-vous que les pieces ne soient pas endommagées avant d'utiliser le produit.
Assurez-vous de maintainir une distance minimum de 15m (50 ft) entre vous et les autres personnes ou animaux avant d'utiliser le produit. Assurez-vous que toute personne presente dans une zoneAdjacente sache que vous allez utiliser le produit.
- Référez-vous aux lois nationales ou locales. Elles peuvent empêcher ou limiter le fonctionnement du produit dans certaines conditions.
Consignes de sécurité pour le fonctionnement
- Ne placez pas vos mains ou vos pieds à proximité ou sous les organes mobiles. Restez toujours éloigné de l'ouverture de l'éjecteur.
- Soyez extrémement prudent lorsque vous utilise la machine sur des routes, des trottoirs ou des chemins avec graviers. Restez vigilant par rapport aux risques cachés ou au traffic
- Si vous percutez un corps étranger, arrêtez le moteur, retirez le cable de la bougie, débranchez le cable (moteur électrique) et inspectez attentivement le produit pour vous assurer de l'absence de dégats. En cas d'endommagement, réparez-les avant de redémarrer et de réutiliser le produit.
- Si le produit commence à vibrer de façon anormale, arrêtez le moteur et cherchez-en immédiatement la cause. Les vibrations sont généralement le signe d'une anomalie.
- Arrêtez le moteur à chaque fois que vous quittez la zone de travail, avant de débloquer le carter de la vis sans fin ou le déflecteur de la goulotte, et lorsque vous effectuez un réglage, une réparation ou une inspection de la machine.
-
Lorsque vous souhaitez nettoyer, réparer ou inspector le produit, coupez le moteur et vérifie que les vis sans fin ainsi que toutes les pieces mobiles se sont immobilisées. Débranchez le cable des bougies et tenez-le éloigné des bougies afin d'éviter tout démarrage accidentel du moteur.
-
Ne mettez pas le moteur en marche à l'intérieur, sauf lors du démarrage du moteur et pour sortir ou rentrer le produit dans le bathtub. Ouvrez les portes vers l'extérieur; les gaz d'échéppement du moteur sont dangereux.
- Soyez extrémement prudent lorsque vous utilisez la machine sur des terrains en pente.
- N'utilisez jamais le produit si les dispositifs de protection ne sont pas en place et en état de marche.
- N'orientez jamais le déflecteur de la goulotte vers des personnes ou vers des endroits où les éventuelles projections pourraient cause des dégats. Maintenez les enfants et les animaux domestiques à bonnde distance.
- Ne surchargez pas la capacité du produit en essayant de déblayer la neige à trop grande vitesse.
- N'utilisez jamais le produit à une vitesse élevée sur des surfaces glissantes. Lorsque vous reculez, regardez derrière vous et déplacez-vous lentement.
- Desserrez les vis sans fin lorsque vous transportez le produit ou ne l'utilisez pas.
- N'utilisez que les attaches et accessoires approuvés par le fabricant du produit (poids des roues, contrepoids ou cabines).
- N'utilise jamais ce produit si la visibilité ou la luminosité n'est pas bonne. Gardez les pieds toujours bien d'aplomb sur le sol et maintenez la poignée avec fermété. Marchez, ne courez jamais.
- Ne touchez jamais le moteur ou le silencieux quand il est chaud.
Sécurité dans l'espace de travail
- Inspectez attentivement la zone de travail avant d'utiliser l'équipement. Enlevez les paillassons, planches, fils et autres corps étrangers.
- Débrayez et passez le point mort avant de démarrer le moteur.
- N'utilisez pas le produit sans porter de vêtements d'hiver ajustats. Évitez de porter des vêtements amples susceptibles de se prendre dans les organes mobiles. Passez des chaussures assurant une bonne adhérence sur les surfaces glissantes
- Manipulez l'essence avec précaution car elle est hautement inflammable.
Utiliser un recipient homologué pour le stockage du carburant.
- Ne faites jamais l'appoint en essence lorsque le moteur est en marche ou chaud.
- Remplissez le réservoir à l'extérieur, ennant toutes les précautions qui s'imposent. Ne remplissez jamais le réservoir à l'intérieur
- Ne replissez jamais le bidon à l'intérieur d'un vehicule ou sur un camion ou une remorque avec une bache en plastique. Avant de le replir, placez toujours le recipient sur le sol, loin de votre vehicule.
- Dans la mesure du possible, descendez le matériel du camion ou de la remorque et faites l'appoint à même le sol. En cas d'impossibilité, faites l'appoint sur la remorque à l'aide d'un recipient portable et non à l'aide d'un pistolet à essence.
- Gardez le pistolet en permanence en contact avec le bord du réservoir à essence ou du récipient, jusqu'à la fin de l'appoint. N'utilise pas un pistolet avec un dispositif de blocage en position ouverte.
- Remettez le bouchon du réservoir bien en place et essuyez les traces d'essence.
-
Changez immédiatement vos vêtements s'ils ont été en contact avec l'essence.
-
Pour les machines à moteur à entrainment ou à démarriage électrique, utilisez des rallonges conformes à celles spécifiées par le fabricant.
- Reglez la hauteur du carter de la vis sans fin pour dégager une surface avec du gravier ou des cailloux.
- N'essayez jamais d'effectuer des réglages lorsque le moteur tourne (à moins que cela ne soit spécialement recommendé par le fabricant).
- Portez toujours des lunettes ou un masque de protection pour les yeux pendant l'utilisation de la machine ou lorsque vous effectuez un réglage ou une réparation, de sorte à protéger vos yeux en cas de projection de corps étrangers.
Équipement de protection individuelle
Utilisez toujours un équipement de protection individuelle approprié lors de tout travail avec l'appareil. Cela comprend, au minimum, des chaussures robustes, des protections pour les yeux et des protège-oreilles. L'équipement de protection individuel n'élimine pas les risques, mais il peut réduire la gravité des blessures en cas d'accident.
- Portez toujours des lunettes de sécurité ou des protections pour les yeux pendant l'utilisation du produit ou pendant son entretien ou sa réparation.
- Portez toujours des vêtements d'hiver appropriés lorsque vous utilisez le produit.
- Utilisez toujours des bottes antidérapantes très résistantes qui soutiennent bien les chevilles pendant que vous utilisez le produit.
- Ne portez pas de vêtements lâches pouvant s'accrocher dans les pieces mobiles.
- Utilisez des gants de protection homologués, si nécessaire. Par exemple, lorsque vous fixez, examinez ou nettoyez la lame.
Utilisez toujours des protections auditives homologuees lorsque vous faites fonctionner le produit. Une exposition au bruit sur de longues périodes peut provoquer une perte d'audition.
Dispositifs de sécurité sur le produit
Assurez-vous de régulierement entretenir le produit.
La durée de vie du produit augmente.
- Le risque d'accident diminue.
Laissez un revendeur ou un centre d'entretien agréé régulierément examiner le produit pour effectuer des réglages ou des réparations. - N'utilisez pas un produit dont les équipements de protection sont endommages. Si le produit est endommagé, contactez un centre d'entretien/agréé.
Silencieux
Le silencieux maintain les niveaux sonores à un minimum et envoie les gaz d'échéppement loin de l'utilisateur.
N'utilisez pas ce produit si le silencieux est manquant ou défectueux. Le silencieux est en mauvais état augmente le niveau sonore et le risque d'incendie.
Examinez le silencieux régulièrement pour s'assurer qu'il est correctement connecté et qu'il n'est pas endommagé.

REMARQUE: Le silencieux devient très chaud pendant et après utilisation et lorsque le moteur fonctionne au ralenti. Faites attention à proximate des matérielx inflammables et/ou des fumées afin d'eviter tout risque d'incendie.
Sécurité carburant

AVERTISSEMENT: Lisez les instructions qui suivent avant d'utiliser le produit.
- Ne démarrez pas le produit si du carburant ou de l'huile moteur a été renversé(e) sur le produit. Essuyez le carburant/l'huile et attendez que le produit seche.
- Si vous avez renversé du carburant sur vos vêtements, changez de vêtements immédiatement.
- Évitez tout contact de la peau avec le carburant. Le carburant peut cause des blessures. Si vous peu entre en contact avec le carburant, lavez les parties qui ont été en contact avec de l'eau et du savon.
- Ne démarrez pas le produit s'il y a une fuite de moteur. Vérifiez régulièrement s'il y a des fuites de moteur.
- Faites attention avec le carburant. Le carburant est inflammable et ses vapeurs sont explosives. Il peut causer des blessures graves, voir mortelles.
- Ne respirez pas les vapeurs de carburant, elles peuvent cause des blessures. Assurez-vous que la ventilation est suffisante.
- Ne fume pas à proximé du carburant ou du moteur.
-
Ne mettez pas d'objets chauds à proximé du carburant ou du moteur.
-
N'ajoutez pas de carburant lorsque le moteur est allumé.
Assurez-vous que le moteur est froid avant de faire le plein de carburant. - Avant de faire le plein, ouvre le bouchon du réservoir de carburant lentement et relâchez la pression avec précaution.
- N'ajoutez pas de carburant au moteur dans un espace interieur. Un débit d'air insuffisant peut causeer des blessures graves, voire mortelles dues à une asphyxie ou au monoxyde de carbone.
- Serrez complètement le bouchon du réservoir de carburant. Si le bouchon du réservoir de carburant n'est pas serré, il y a un risque d'incendie.
- Déplacez le produit à un minimum de 3 m (10 ft) de l'endroit où a été fait le plein de carburant avant de démarrer le produit.
- Ne replissez pas trop le réservoir de carburant.
Consignes de sécurité pour l'entretien

AVERTISSEMENT: Lisez les instructions qui suivent avant d'utiliser le produit.
- Les gaz d'échévement du moteur contiennent du monoxyde de carbone, un gaz inodore, toxique et très dangereux. Ne démarrez pas le moteur en interieur ou dans des espaces fermés.
- Avant de procéder à l'entretien du produit, arrêtez le moteur et débranchez le cable d'allumage de la bougie.
- Utilisez des gants de protection lorsque vous procédez à l'entretien des lames. Les lames sont très tranchantes et des coupures peuvent survenir facilement.
- Les accessoires et les modifications apportées au produit qui ne sont pasapprovés par le fabricant peuvent causeur des blessures très graves,voire mortelles. Ne modifiez pas le produit. Utilisez always des accessoires qui sont approvés par le fabricant.
- Si l'entretien n'est pas effectué correctement et régulierement, le risque de blessures et d'endommagement du produit augmente.
- Effectuez uniquement les tâches d'entretien décrites dans leprésent manuel de l'opérateur. Toutes les autres tâches d'entretien doivent être effectuees par un atelier spécialisé agreé.
- Demandez à un atelier spécialisé d'effectuer régulierement l'entretien du produit.
- Remplacez les pieces endommagées, usées ou cassées.
Montage
Pour retirer le produit du carton
- Retirez toutes les pièces détachées fournies avec le produit. Coupez les quatre coins du carton et placez les panneaux d'extrémité vers le bas et à plat.
- Déposez les deux vis qui fixent le carter de la vis sans fin à la palette. Déposez les supports en acier des plaques de protection, le cas échéant.
- Retirez tous les matériaux d'emballage.
- Retirez le produit du carton et assurez-vous qu'aucune piece détachée ne reste dans le carton.
Pieces détachées

Bouton (3)

Goulotte d'éjection (1)

Clé de marché/arrêt (s)

Boulons de carrosserie 5 / 16 - 18 × 214 po (2)


Boutons de poignée (2)
Contre-écrou 3/8 (1)

Guide-cables (1)


Goupilles de tonte 1 / 4 - 20× 1 - 3 / 4 (6)
Contre-écrous 1/4-20 (6)

Contre-écrou 5/16-18 (1)

Contre-écrou 1/4-20 (1)

Rondelle en nylon (1)

Boulon de carrosserie 5/16-18 x 5/8 (1)

Ressort (1)

Boulon à épaulement 1/4-20 (1)
Pour installer la poignée
- Relevez la poignee supérieure en position de fonctionnement.

- Reglez la position de la poignée sur l'un des trous de fixation (B) et serrez les boutons de poignée (C) avec les boulons de carrosserie (D).

- Installez plus de boulons de carrosserie (D) et de boutons de poignée (C) pour fixer la poignée supérieure (A) sur la poignée inférieure (E).

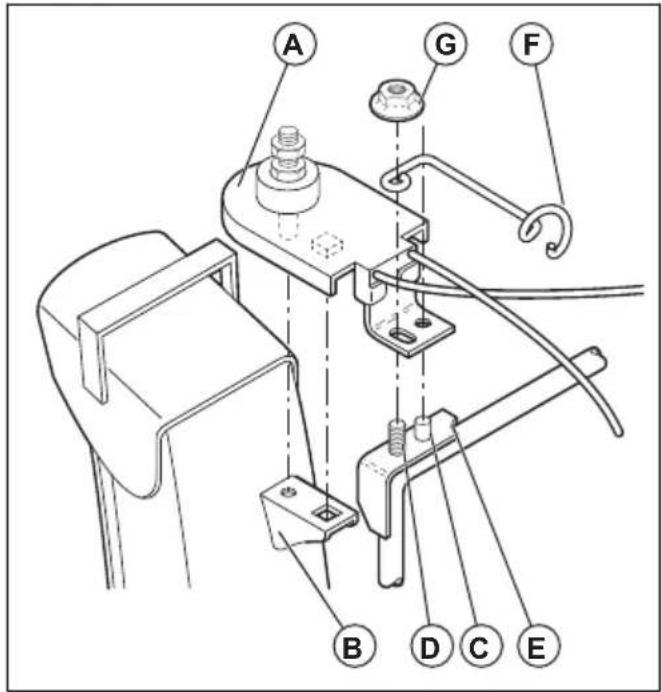
Pour installer le deflecteur de la goulotte et la tete de rotation de la goulotte
- Placez l'ensemble de deflecteur de la goulotte audressus de la base de la goulotte avec l'ouverture d'évacuation vers l'avant du produit.
- Placez la tete de rotation de la goulotte (A) sur le support de la goulotte (B). Faites tourner l'ensemble de goulotte pour aligner les broches sous la tete de rotation de la goulotte avec les trous dans le support de la goulotte, le cas échéant.
-
Placez la tete de rotation de la goulotte sur la broche (C) et sur le goujon filtré (D) sur le support de montage (E).
-
Fixez un contre-écrou (G) sur le goujon fileté et serrez.

- Passez les cables à travers le guide-cable (F) et le double serre-cable (I) pour fixer le cable de rotation (H) à la poignée inférieure.

Pour installer la commande à distance du déflecteur de la goulotte
-
Fixez le support de cable à distance (A) sur la goulotte d'éjection avec un boulon de carrosserie (B) et un contre-écrou 5/16-18 (D). Serrez le boulon.
-
Installez l'oeillet du cable à distance (E) sur le deflecteur de la goulotte (F) avec un boulon à épaulement (G) et une rondelle en nylon (C) et serrez avec un contre-écrou 1/4-20 (K). L'oeillet du cable ne sera pas serré au niveau du boulon à épaulement.
- Fixez le ressort (L) entre l'écrou hexagonal (M) sur la tête de rotation de la goulotte et le trou sur le déflecteur de la goulotte.

- Fixez les boutons de commande du levier (N) en les poussant vers le bas sur les leviers de commande (O).

Utilisation
Avant de démarrer le produit
Veillez a ce que les personnes et les animaux soient à une distance suffisante de la zone de travail.
- Effectuez l'entretien quotidien. Consultez la section Calendrier de maintenance à la page 68.
Assurez-vous que le cable d'allumage est bien placé sur la bougie.
- Ajoutez de l'huile ou de l'essence, si nécessaire. Consultez la section Caracteristiques techniques à la page 79.
Pour replir le moteur d'huile

REMARQUE: Ne faites pas tourner la jauge lorsque vous vérifie l'huile. Ne replisssez pas au-delà du repère.
- Déposez le bouchon du réservoir d'huile et nettoyez la jauge. Reportez-vous à Aperçu du produit à la page 54 pour connaître l'emplacement de la jauge.
- Ajoutez de l'huile jusqu'à repère supérieur de la jauge. Utilisez la jauge pour vérifier le niveau d'huile à intervalles réguliers.
- Replacez le bouchon du réserveir d'huile.
Pour replir le réservoir de carburant
Si cela est possible, utilisez de l'essence d'alkylate/ ecologique. Si vous ne pouvez pas vous procurer de l'essence d'alkylate/ ecologique, utilisez de l'essence au plomb ou de l'essence sans plomb de bonne qualite. Utilisez de l'essence avec un indice d'octane de 90 RON hors Amérique du Nord (87 AKI en Amérique du Nord) ou plus, et avec un maximum de 10% d'ethanol (E10).

REMARQUE: N'utilise pas d'essence avec un indice d'octane inférieur à 90 RON hors Amérique du nord (87 AKI en Amérique du Nord). Cela peut endommager le produit.
- Ouvrez lentement le couvercle du réservoir de carburant pour relâcher la pression.
- Remplissez lentement le réserve à l'aide d'un bidon de carburant. Si vous renversez du carburant, essuyez-le à l'aide d'un chiffon et laisseze le carburant restant sécher.
- Essuyez le pourtour du bouchon du réservoir de carburant.
- Serrez complètement le bouchon du réservoir de carburant. Si le bouchon du réservoir de carburant n'est pas serré, il y a un risque d'incendie.
- Déplacez le produit à un minimum de 3 m (10 ft) de l'endroit où a été fait le plein de carburant avant de démarrer le produit.
Pour régler la goulotte déjection et le déflecteur de la goulotte
-
Pour régler la position de la goulotte d'éjection, déplacez le levier de commande de la goulotte d'éjection (A) vers l'arrière et vers la gauche ou la droite.
-
Pour régler la distance d'éjection de la neige du déflecteur de la goulotte, déplacez le levier de commande à distance du déflecteur (B) vers le bas pour diminuer la distance et vers le haut pour l'augmenter.

Pour démarrer le moteur, démarrage manuel
- Insérez la clé de marche/arrêt (A) dans la fente d'allumage jusqu'à ce qu'elle s'enclença. Ne tournez pas la clé.

- Mettez l'interrupteur marche/arrêt du carburant (F) en position ON (marche).
- Placez la commande d'accelération (B) en position FAST (rapide).
- Mettez l'interrupteur marche/arrêt (C) en position ON (marche).
a) Si le moteur est froid, tournez le starter (D) en position FULL (plein) et appuyez trois fois sur l'amorceur (E).

REMARQUE: N'amorcez pas trop le moteur. Cela peut empêcher le moteur de démarrer. Si le moteur est trop amortcé, attendez quelques minutes avant d'essayer de démarrer et n'appuyez pas sur l'amorceur.
- Tirez la poignée du cable du démarreur (G).

REMARQUE: Ne relâchéz pas trop rapidement. Ramenez-la lentement en position initiale.
Remarque: Si le cable du démarreur a gelé, tirez doucement sur le cable pour en sortir autant que possible du démarreur et relâchez la poignée du cable du démarreur. Si le moteur ne démarre pas, repêze la procédure ou utilisez le démarreur électrique.
- Si le starter a eté utilisé pour démarrer le moteur, déplacez lentement le starter (D) en position OFF (arret).
- Faites tourner le moteur au ralenti pendant 2 à 3 minutes avant de commencer à projeter de la neige.
- Si le moteur ne fonctionne pas comme prévu, éteignez-le.
Pour démarrer le moteur, démarrage électrique

AVERTISSEMENT: Le produit est disposé d'un démarreur électriche de 230 V CA. N'utilise pas le démarreur électriche si votre domicile ne possède pas de système de mise à la terre à trois fiches de 230 V CA. Cela pourrait entrainer des blessures corporelles graves ou des dommages au produit. Le démarreur électricque possède une prise d'alimentation à trois fiches et est concu pour utiliser un courant domestique de 230 V CA. Assurez-vous que votre domicile possède un système de mise à la terre à trois fiches de CA. En cas de doute, demandez à unElectricien/agree.
- Insérez la clé de marche/arrêt (A) dans la fente d'allumage jusqu'à ce qu'elle s'enclença. Ne tournez pas la clé.
- Mettez l'interrupteur marche/arrêt du carburant (F) en position ON (marche).
- Placez la commande d'accelération (B) en position FAST (rapide).
- Mettez l'interrupteur marche/arrêt (C) en position ON (marche).
a) Si le moteur est froid, mettez le starter (D) en position FULL (plein).
- Appuyez trois fois sur l'amorceur (E).

REMARQUE: N'amorcez pas trop le moteur. Cela peut empêcher le moteur de démarrer. Si le moteur est trop amorcé, attendez quelques minutes avant d'essayer de démarrer et n'appuyez pas sur l'amorceur.
- Branchez la rallonge au connecteur du moteur (G).
- Branchez l'autre extrémité de la rallonge à une prise à trois fiches connectée à une masse 230 V CA.
- Appuyez sur le bouton de démarriage électrique (H) jusqu'à ce que le moteur démarre.

REMARQUE: N'actionnez pas le moteur pendant plus de cinq secondes consécutives entre chaque tentative de démarriage. Attendez 5 à 10 secondes entre chaque tentative.
- Si le starter a ete utilise pour demarrer le moteur, lachez le bouton de demarrage electrique et deplacez lentement le starter (D) en position OFF (arret).

- Débranchez en premier la ballonge de la prise, puis du moteur.
- Faites tourner le moteur au ralenti pendant 2 à 3 minutes avant de commencer à projeter de la neige.
Pour utiliser le produit

REMARQUE: Ne l'utilise pas en l'absence de neige ou d'eau pour lubrifier les lames de la vis sans fin. Une mauvaise utilisation peut provoquer des températures élevées dans les lames de la vis sans fin, rundout si le produit est neuf. Cela peut endommager les
lames de la vis sans fin et la barre du gratoir.

REMARQUE: N'engagez pas partiellement l'entrainement ou les leviers de la vis sans fin pendant une durée prolongée ; cela pourrait entrainer une usure prematurée ou brûler les courroies.
Remarque: Lorsque les engagements de la vis sans fin et de l'entrainment sont engagés, l'engagement de l'entrainment bloque l'engagement de la vis sans fin dans la bonne position. Utilisez votre main droite pour contrôler la goulotte d'éjection de neige.
Remarque: Ne modifiez pas la vitesse lorsque le levier d'entrainment est enclenché. Cela peut endommager la transmission.
- Pour engager les lames de la vis sans fin, poussez l'enclenchement de la vis (A) sur la poignée pour engager la vis sans fin et projeter la neige.

-
Soulevez le levier de régulation du régime d'entrainment (B) depuis la position centrale pour que le produit se déplace vers l'avant lorsque l'engagement de l'entrainment (C) est engagé. Ne modifies pas la vitesse lorsque le levier d'entrainment est enclenché. Cela peut endommager la transmission.
-
Abaissez le levier de régulation du régime d'entrainment depuis la position centrale pour que le produit se déplace vers l'arrière lorsque l'engagement de l'entrainment est engagé.

- Pour que le produit se déplace dans la direction sélectionnée, maintenez l'engagement de l'entrainment (C) contre la poignée.
- Si le produit est équipé de la direction assistée, tenez la gachette de direction gauche (D) pour tourner à gauche. Tenez la gachette de direction droite pour tourner à droite.

Pour arrêter le produit
- Déplacez la commande d'accelération (A) en position STOP (arrêt).

2. Retirez la clé de marche/arrêt.
Pour utiliser la commande d'accelération
- Tournez la commande d'accelération (A) pour modifier la quantité de carburant utilisée. Utilisez toujours le moteur à plein régime.

Pour utiliser l'interrupteur de carburant
- Tournez l'interrupteur de carburant pour ouvrir ou fermer le robinet de carburant. Utilisez le produit avec l'interruuteur de carburant en position OPEN (ouvert).

Pour utiliser le starter
- Tournez le starter (A) pour ouvrir ou fermer la soupape du starter. Utilisez le starter pour démarrer un moteur froid.

Pour régler les plaques de protection
Aucun réglage n'est requis pour l'installation normale.
-
Lorsque le contre-écrou (B) est lâche ou que la plaque de protection (A) n'est pas suffisamment elevée au-dessus du sol, déverrouillez le contre-écrou (B) à l'aide d'une clé mixte à extrémité ouverte de 13 mm pour déplacer la plaque de protection vers le haut ou le bas.
-
Sur les surfaces planes, comme les routes goudronnées, relevez les plaques de protection (A) de 5 à 6 mm (0,2 à 0,25 po) au-dessus du sol. Sur les surfaces inégales, comme les chemins de gravier, faites en sorte que l'écart entre le sol et le produit soit plus grand grâce aux plaques de protection, de sorte que la barre du grattoir se retrouve au-dessus du haut du gravier. Veillez à ce que le gravier et les pierres n'entrent pas dans le produit. Cela pourrait occasionner des blessures si des objets sont ejectés à grande vitesse.

3. Serrez le contre-écrou (B).
Pour utiliser les barres de coupe ( selon l'équipement)
Utilisez les barres de coupe pour couper plus profondement dans les conges que l'avant du produit.
- Desserrez les écrous de réglage (A) des deux côtés du produit pour permettre à chaque barre de coupe (B) de s'élever à la position la plus haute.

- Serrez les écrous.
- Abaissez les barres de coupe après utilisation.
Pour empêcher le gel après utilisation
Remarque: Les commandes et les pieces mobiles peuvent être bloquées par la glace. Ne forcez pas trop sur les commandes. Si vous ne pouvez pas actionner une commande ou une piece, démarrez le moteur et laissez-le tourner pendant quelques minutes.
-
Démarrez le moteur et laissez-le tourner quelques minutes. Arrêtez le moteur et attendez que tous les organes mobiles s'immobilisent.
-
Retirez la neige et la glace l'âche du produit.
- Retirez la neige et la glace l'âche à la base de la goulotte.
- Tournez le déflecteur de la goulotte vers la gauche et vers la droite pour enlever la glace et l'eau.
- Mettez la clé en position « OFF » (arrêt).
- Si le produit ne possède pas de démarreur électrique, tirez la poignée du cable du démarreur plusieurs fois pour enlever la glace et l'eau.
- Si le produit dispose d'un démarreur électrique, branchez le produit à l'alimentation et appuyez sur le bouton de démarrage une fois pour enlever la glace et l'eau.
Pour obtenir de bons résultats
- Faites toujours tournier le moteur à plein régime ou à régime presque plein.
- Adaptez toujours la vitesse du produit à la situation d'enneignement et adaptez la vitesse avec le levier de régulation du régime d'entrainment. Assurez-vous que le produit évacue la neige uniformément.
- Il est plus facile et plus efficace d'éliminer la neige immédiatement après la chute.
- Soufflez toujours la neige dans la direction du vent si possible.
- Sur les surfaces planes, comme les routes goudronnées, relevez les plaques de protection jusqu'à 5 à 6 mm (0,2 à 0,25 po) au-dessus du sol.
- La barre du gratoir est réversible. Lorsqu'elle est usée presque jusqu'au bord du logement, inversez-la. Remplacez la barre du gratoir si elle est endommagée ou si les deux côtes sont usés.
- N'utilisez pas le déflecteur de la goulotte s'il est bouché.
- Si le produit n'avance pas en raison de circonstances exceptionnelles, relâchez immédiatement l'engagement de l'entrainment ou mettez la clé de marche/arrêt en position OFF (arrêt).
Entretien
Introduction
Lorsque le produit est en cours d'utilisation, les boulons peuvent se desserrer et des composants peuvent s'user. Cela peut entraîner un dysfonctionnement comme un
mauvais jeu de tolérance, une augmentation de la consommation d'huile ou un défaut d'alignement de différents éléments. Effectuez un entretien régulier sur le produit pour éviter tout dysfonctionnement.
Calendrier de maintenance
| Entretien Au quotidien | 20 heures 50 heures 100 heures | ||
| Assurez-vous que les vis et les écrous sont serrés | X | ||
| Contrôlez le niveau d'huile moteur | X | ||
| Vidanger l'huile 11 | X X X | ||
| Assurez-vous de l'absence de fuite d'huile ou de carburant | X | ||
| Retirez l'obstruction ou les corps étrangers prênts dans la vis sans fin | X | ||
| Inspectez la pression des pneus 12 | X | ||
| Inspectez et rempla-ces la bougie 13 |
Remarque: Il n'est pas nécessaire d'ajouter de laGRAISSÉ ou d'effectuer d'autres opérations d'entretien surla boîte de vitesses.
Pour faire une inspection générale
Assurez-vous que les vis et les écrous du produit sont serrés.
Pour contrôle le niveau d'huile

REMARQUE: Un niveau d'huile trop bas peut endommager le moteur. Contrôlez le niveau d'huile avant de démarrer le produit.
- Placez le produit sur un sol plat.
- Retirez le bouchon du réservoir d'huile et la jauge qui y est attachée.
- Nettoyez I'huile sur la jauge.
- Insérez entièrement la jauge dans le réservoir d'huile pour connaître le veritable niveau d'huile.
- Enlevez la jauge.
- Inspectez le niveau d'huile sur la jauge.
- Si le niveau d'huile est bas, faites l'appoint d'huile moteur et contrôlez à nouveau le niveau d'huile.
Pour remplacer l'huile moteur
- Faites tourner le moteur quelques minutes pour chauffer l'huile. L'huile chaude s'ecoule plus facilement et emporte avec elles plus de contaminants.

AVERTISSEMENT: L'huile du moteur est chaude. Évitez tout contact entre la peau et l'huile moteur usagee
- Placez le produit sur un sol plat.
- Retirez la clé de marche/arrêt.
- Placez un écipient sous le bouchon de vidange d'huile.
- Déposez le bouchon de vidange d'huile, faites basculer le produit et vidangez l'huile usagée dans le conteneur.
- Remettez le produit en position de fonctionnement.
- Installez le bouchon de vidange d'huile et serrez-le à la main.
- Remplissez le carter d'huile (voir Pour replir le moteur d'huile à la page 63).
Pour lubrifier le produit
-
Lubrifiez les points de pivot (A) avec de l'huile.
Lubrifiez le moteur (B) avec de l'huile. -
Appliquez une petite quantité de graisse au lithium sur les protubérances de verrouillage (C) au début de chaque saisson ou toutes les 25 heures d'utilisation.

Silencieux
Le silencieux maintain les niveaux sonores à un minimum et envoie les gaz d'échéppement loin de l'utilisateur.
N'utilisez pas ce produit si le silencieux est manquant ou defectueux. Le silencieux est en mauvais etat augmente le niveau sonore et le risque d'incendie.
Examinez le silencieux régulierement pour s'assurer qu'il est correctement connecté et qu'il n'est pas endommagé.

REMARQUE: Le silencieux devient très chaud pendant et après utilisation et lorsque le moteur fonctionne au ralenti. Faites attention à proximate des matérielux inflammables et/ou des fumées afin d'éviter tout risque d'incendie.
Pour vérifier la bougie

REMARQUE: Utilisez toujours le type de bougie recommandé. Un type de bougie inadéquat peut endommager le produit.
-
Inspectez la bougie si le moteur manque de puissance, n'est pas facile à démarrer ou ne fonctionne pas correctement lorsqu'il tourne au régime de ralenti.
-
Afin de réduire le risque de matériel aux indésirables prênts sur les électrodes de la bougie, procédez comme suit :
a) Assurez-vous que le régime de ralenti est correctement regle.
b) Assurez-vous que le mélange de carburant est correct.
c) Assurez-vous que le filtrte à air est propre.
- Si la bougie est encrassée, nettoyez-la et vérifie que l'écartement des electrodes est correct, consultez les Caracteristiques techniques à la page 79.

- Remplacez la bougie si nécessaire.
Pour inspector les vis sans fin et la barre du grattoir
- Avant chaque utilisation, vérifiez l'absence d'usure sur les vis sans fin et la barre du gratvoir.
- Si le bord de la barre du grattoir est use, inversez la barre du grattoir. Si la barre du grattoir est endommagée ou est usée sur les deux bords, replacez-la.
- Si les bords des vis sans fin sont usés, contactez un centre de service agreeé pour les remplacer.
Pour remplaçer les goupilles de tente de la vis sans fin
Les goupilles de tonte de la vis sans fin preservent le produit de tout dommage. Les goupilles de tonte de la vis sans fin se cassent si un objet s'insere dans les pièces mobiles.

REMARQUE: Utilisez uniquement les goupilles de tonte de l'équipement d'origine fournies avec le produit.
- Si une goupille de tonte de la vis sans fin se casse, arrêtez le moteur et attendez que les pieces mobiles s'immobilisent.
- Retirez la clé de marche/arrêt et débranchez le cable de la bougie.
-
Alignez l'orifice du moyeu de la vis sans fin (B) sur l'orifice de l'arbre de la vis sans fin (C) et installez une goupille de toute neue de 1 / 4 - 20 × 2 (A).
-
Installez un contre-écrou de 1/4 - 20 (D) sur la goupille de tonte et serrez.

- Placez la clé de marche/arrêt dans le contact, puis branchez le cable de la bougie à la bougie.
Pour remplacer les goupilles de tonte de la roue à ailette
Les goupilles de tonte de la roue à ailette présentent le produit de tout dommage. Les goupilles de tonte de la roue à ailette se cassent si un objet s'insère dans les pièces mobiles.

REMARQUE: Utilisez uniquement les goupilles de tonte de l'équipement d'origine fournies avec le produit.
- Si une goupille de tonte de la roue à ailette se casse, arrêtez le moteur et attendez que les pièces mobiles s'immobilisent.
- Retirez la clé de marche/arrêt et débranchez le cable de la bougie.
-
Alignez l'orifice du moyeu de la roue à ailette (A) sur l'orifice de l'arbre de la roue à ailette (B) et installez une goupille de toute neue de 1/4 - 20 (C).
-
Installez un contre-écrou de 1/4 - 20 (D) sur la goupille de tonte et serrez.

- Placez la clé de marche/arrêt dans le contact, puis branchez le cable de la bougie à la bougie.
Pour examiner les pneus
- Evitez que les pneus entrent en contact avec du carburant, de l'huile et des produits chimiques pour ne pas endommager le caoutchouc.
- Maintenez les pneus à l'écart desouches, des pierres, des ornieres, des objets pointus et de tout autre objet pouvant les endommager.
- Conservez une pression correcte des pneus (consultez Caracteristiques techniques à la page 79).
Pour déboucher un déflecteur de goulotte
Ne débouchez pas le déflecteur de goulotte avant d'avoir réalisé les opérations suivantes.
- Relâchez l'engagement de la vis sans fin et l'engagement de l'entrainment en même temps.
- Attendez 10 secondes pour vous assurer que les vis sans fin se sont immobilisées.
- Arrêtez le produit.
- Utilisez l'outil de nettoyage (au moins 15 pouces de long, inclus dans certains modèles) pour déposer le bouchon.

AVERTISSEMENT: Ne mettez pas les mains dans le deflecteur de goulotte ou à l'intérieur du carter de la vis sans fin.
Pour remplacer la barre du grattoir
- Placez la barre du gratoir (A) en position inverse lorsqu'elle est usée sur le bord du carter.

- Remplacez la barre du gratoir si elle est usee des deux cotes ou si elle est endommagee.
Courroies d'entrainment

AVERTISSEMENT: Les courroies trapezoidales de votre produit sont de conception spéciale et doivent être remplées par un fabricant d'équipement d'origine (OEM). Des courroies sont disponibles auprès de votre centre de service le plus proche. L'utilisation autres courroies que celles d'un OEM peut cause des blessures ou des dégats sur le produit.

AVERTISSEMENT: Le remplacement de la courroie nécessite le demontage du produit. Tout en séparant le carter de la vis sans fin du chassis, il est important qu'un assistant se tienne en position de fonctionnement et maintienne les poignées du produit. Des blessures graves et/ou des dommages au produit pourrait se produit si le produit tombe pendant le remplacement de la courroie.
Remarque: Les courroies d'entrainment de traction et de la vis sans fin ne sont pas régiables. Remplacez les courroies si elles sont endommagées ou si elles commencent à glisser à cause de l'usure. Il est recommendé de faire replacer les courroies par un centre de service/agréé.
Remarque: Il est recommendé de replacer la courroie d'entrainment et la courroie de vis sans fin en même temps.
Pour préparer le remplacement des courroies
-
Vidangez le carburant du réservoir de carburant.
-
Desserrez le contre-écrou (A) qui fixe la tête de rotation de la goulotte (B) sur le support de montage (C) afin de déposer la goulotte d'éjection.

- Desserrez les deux vis (A) qui Maintiennent le carter de la courroie (B) sur le chassis (C) et enlevez le carter de la courroie.

Pour déposer la courroie d'entrainment
-
Déposez la courroie de la vis sans fin. Consultez la section Pour déposer la courroie de vis sans fin à la page 73.
-
Déposez le ressort du tendeur (A) fixé sur le bras du tendeur de courroie d'entrainment (B).

- Déposez le ressort de rappel (C) qui maintain la plaque de basculement (D) en place.
- Déposez le boulon du bras (E) et le bras du tendeur de courroie d'entrainment.
- Déposez le boulon de la poulie (F), la poulie du moteur (G) et la courroie d'entrainment (H) du moteur.
- Déposez le boulon supérieur (I) qui maintain la plaque de basculement sur le chassinis
- Faites pivoter et maintenez la plaque de basculement à l'écart du produit, puis déposez la courroie d'entrainment de la poulie d'entrainment (J).
Pour installer la courroie d'entrainment
- Faites pivoter et maintenez la plaque de basculement (D) à l'écart du produit.

- Placez la couroie d'entrainement (H) sur la poulie d'entrainement (J).
Remarque: Assurez-vous que la courroie d'entrainment est correctement acheminee dans la
rainure de la poulie d'entrainment avant d'abaisser la plaque de basculement.
- Installez et serrez le boulon supérieur (I).
- Placez la couroie d'entrainment dans la rainure de la poulie du moteur (G) avant de l'instituer sur l'arbre du moteur.
- Installez le boulon de la poulie (F) et fixez la poulie du moteur sur le moteur. Serrez le boulon de poulie (30-35 pi. pi. /41-47 Nm).
- Installéz le bras du tendeur de couroie d'entrainement (B) et serrez le boulon du bras (E) sur le moteur.
- Installez le ressort de rappel (C) sur la plaque de basculement.
- Installez le ressort du tendeur (A) sur le bras du tendeur.
- Actionnez toutes les commandes pour vous assurer que la courroie d'entrainment est correctement installée et que tous les composants se déplacent correctement.
Pour installer le carter de la couroie
- Installez le carter de la courroie (B) sur le chassin (C) et serrez les deux vis (A).

- Installez la goulotte d'éjection.
Pour déposer la courroie de vis sans fin
- Déposez l'écrou de 5/16" et le capot de cables (E) du chassin.

- Déposez les écrous supérieurs de 5/16" et inférieurs de 14 " (D) des 2 côtes du chassin. Ne jetez pas les boulons.
- Desserrez, sans les déposer, les boulons inférieurs de 5/16" (C) des 2 côts du chassin.
- Déposez la courroie de vis sans fin (B) de la poulie du moteur (A).
- Inclinez la partie arrêté vers le bas. La partie avant s'incline vers l'avant en même temps. Le boulon inférieur est une charnière entre les sections avant et arrière.
- Placez une cale de bois sous le point de charnière pour incliner le produit.
- Déplacez le levier de frein de la vis sans fin et déposez la courroie de vis sans fin (B) autour du levier.
Pour installer la courroie de vis sans fin
- Déplacez le levier de frein de la vis (G) et placez la courroie de vis sans fin autour et dans la rainure de poulie de la vis sans fin (E).


REMARQUE: Assurez-vous que la courroie n'est pas coincidee entre le chassis et le carter de la vis sans fin pendant que vous montez l'unité.
- Retirez la cale de bois placée sous le produit.
- Soulevez les poignées pour incliner la partie arrêté vers le haut. La partie avant s'incline vers l'arrière et pivote pour se fixer à la partie arrêté.
- Assurez-vous que la couroie est correctement placée dans la rainure de la poulie de la vis sans fin (E).
- Installez les boulons 5/16" (C) et serrez-les (11 à 16 Nm).
- Installez les boulons de 14 (D) et serrez-les (5 à 8 Nm).
- Installez la couroie de vis sans fin (B) sur la poulie du moteur (A). Assurez-vous que la couroie est placée correctement autour de la poulie folle et bien installée dans la rainure de la poulie du moteur.
- Installez le cache-cables (F) et l'écrou de 5/16" sur le chassin.
- Actionnez toutes les commandes pour s'assurer que la courroie de vis sans fin est correctement installée et que tous les composants se déplacent correctement.
Pour régler la tension du cable du déflecteur de la goulotte d'éjection
- Desserrez les écrous de blocage (B) pour régler la tension du cable pour la goulotte d'éjection adjacente au tendeur de réglage (A).

- Maintenez la section courte et tournez la section longue pour augmenter le dispositif de réglage.
- Reglez jusqu'à ce que le cable pour le deflecteur de la goulotte d'éjection (C) soit bien serré. Serrez les écrous de blocage.
Pour régler le cable de commande de la vis sans fin
- Déposez le cache-câbles sur le côté droit du chassin (D).

- Pour éliminer le mou du cable de commande de la vis sans fin, dévissez l'écrou de blocage inférieur (B) et serrez l'écrou de blocage supérieur (B) jusqu'à ce que la tension de la courroie de vis sans fin ait augmente.
- Testez à nouveau l'engagement de la vis sans fin. Renouvelez le réglage selon les besoin jusqu'à ce qu'il ne reste qu'un peu de mou dans le cable lorsqu'elle levier est désengageé.
- Serrez l'écrou de blocage inférieur afin de verrouiller la tension.
Remarque: Comme solution secondaire, vous pouvez également tendre la courroie de vis sans fin
en réglant la poulie folle. Si le réglage ne résout pas le problème, remplacez la courroie de la vis sans fin. Consultez la section Pour déposer la courroie de vis sans fin à la page 73.
Pour régler la tension de la courroie
- Déposez le carter de la courroie. Consultez la section Pour préparer le remplacement des courroies à la page 71.
- Desserrez l'écrou de la poulie folle (A).

- Faites glisser la poulie folle pour la rapprocher de la couroie afin d'augmenter la tension de la couroie. Faites-la glisser pour l'écarter de la couroie afin de réduire la tension de la couroie.
- Serrez l'écrou de la poulie folle (A).
- Pour vous assurer que la courroie est complètement débrayée lorsque le levier de la vis sans fin est désengageé, demandez à un assistant de se tener à 10 pieds/3 mètres devant le produit, du côté opposé à la goulotte. L'assistant observe la rotation de la vis sans fin et mesure le temps nécessaire à la vis sans fin pour s'immobiliser lorsque le levier est relichéé. Si la vis sans fin s'immobilise après plus de 5 secondes, recommencez le réglage et faites glisser la poulie folle plus loin de la courroie.
- Lorsque la vis sans fin s'immobilise après moins de 5 secondes, installez le carter de la courroie. Consultez la section Pour préparer le remplacement des courroies à la page 71.
Pour déposer les roues
-
Déposez l'axe de la roue (A) et la goupille de retenue (B).
-
Déposez la roue de l'arbre (C).

Pour nettoyer le produit
- Nettoyez les éléments en plastique avec un chiffon sec et propre.
N'utilisez pas de nettoyeur haute pression pour le nettoyage du produit. - Ne jetez pas d'eau directement sur le moteur.
Utilisez une Brosse pour enlever les feuilles, l'herbe et la saleté.
Dépannage
Dépannage
| Problème Cause possible Solution | ||
| Le produit ne démarre pas | La clé de contact n'est pas insérée. Insérez la clé de contact. | |
| Le produit est en panne de carburant. Faites le pêin de carburant. | ||
| La clé de marche/arrêt est en position STOP (arrêt). | Mettez la clé de marche/arrêt sur la position ON (marche). | |
| Le starter est en position arrêt (CLOSE [fermé]). | Mettez le starter en position marche (FULL [plein], OPEN [ouvert]). | |
| L'amorceur n'est pas enforcé. Appuyez sur l'amorceur. | ||
| Le moteur est noyé. Patientez quelques minutes | avant de redémarrer, n'actionnez PAS l'amorceur. | |
| Redémarrrez le moteur à plein régime et avec le starter en position arrêt (CLOSE [fermé]). | ||
| Le cable de la bougie n'est pas branché. Branchéz le cable à la bougie. | ||
| La bougie d'allumage est défectueuse. Remplacez la bougie. | ||
| De l'eau est présente dans le carburant ou le carburant est trop vais. | Videz le réservoir de carburant et le carburateur. Faites le plein de car-burant. | |
| De la vapeur est bloquée dans la conduite de carburant. | Vérifiez que l'intégrality de la conduite de carburant est acheminée en dessous de la sortie du réservoir de carburant. La conduite de carburant doit être acheminée vers le bas, du réservoir de carburant vers le carbur-ateur. | |
| Autres causes. Étudiez attentionivement les procédures de démarrage dans ce manuel. | ||
| L'interrupteur de carburant (le cas échéant) est en position fermée (OFF). | Mettez l'interrupteur de carburant en position ouverte (ON). | |
| L'accélération est en position STOP (arrêt). Positionnez l'accélération en position FAST (rapide). | ||
| Puisance réduite Le cable | de la bougie n'est pas branché. Branchez le cable | à la bougie. |
| Le produit souffle trop de neige. Diminuez la vitesse | se et la largeur de la surface balayée. | |
| Le bouchon du réservoir de carburant est cou-vert de glace ou de neige. | Enlevez la glace ou la neige sur etautour du bouchon de réservoir de carburant. | |
| Le silencieux est sale ou bouché. Nettoyez ou remplacez le silencieux. | le cable. | |
| La longueur du cable n'est pas la bonne. Ajustez | le cable. | |
| Le silencieux est obstrué. Assurez-vous que le moteur est froid.Dégagez l'obstruction. | moteur est froid.Dégagez l'obstruction. | |
| La prise d'air du carburateur est bloquée. Assurez-vous que le moteur est froid.Dégagez l'obstruction. | z-vous que le moteur est froid.Dégagez l'obstruction. | |
| Le moteur tourne au ra-lenti ou a des ratés | Le starter est en position marche (FULL [plein], OPEN [ouvert]). | Mettez le starter en position arrêt(CLOSE [fermé]). |
| La conduite de carburant est obstrué. Nettoyez la conduite de carburant. | la conduite de carburant. | |
| De l'eau est présente dans le carburant ou le carburant est trop mêux. | Videz le réservoir de carburant et le carburateur. Faites le plein de car-burant. | |
| Le carburateur doit être replacé. Contactez un centre de serviceagréé. | centre de serviceagréé. | |
| La courroie est tendue. Remplacez la courroie trapezoïdale de la vis sans fin. | trapezoïdalede la vis sans fin. | |
| Vibration excessive/jeu de la poignée | Certaines pièces sont desserrées. Les vis sans fin sont endommagées. | Serrez toutes les fixations. Rempla-cez les pièces endommagées. Si les vibrations persistent, contactez un centre de service agréé. |
| Les poignées ne sont pas correctement positionnées. | Assurez-vous que les poignées sontverrouillées en position. | |
| Les écrous du levier de réglage sont desserrés. | Sérez les écrous jusqu'à ce que la poignée soit sécurisée. | |
| La poignée du cable du démarreur est difficile à tirer. | La poignée du cable du démarreur a gelé. Tirez doucement sur le cable pour ensortir autant que possible du démar-reur et relâchéz la poignée du cable du démarreur. Si le moteur ne dé-marre pas, repêzez la procédure ouutilisez le démarreur électrique. | oucument sur le cable pour ensortir autant que possible du démar-reur et relâchéz la poignée du cable du démarreur. Si le moteur ne dé-marre pas, repêzez la procédure ouutilisez le démarreur électrique. |
| Le cable du démarreur interfère avec des pièces. | Le cable du démarreur ne doit pas toucher les cables ou les tuyaux. | |
| Perte de traction/ralen-tissement de la vitesse d'entrainment Absence ou ralentissement de l'éjection de la neige | La courroie glisse. Ajustez le cable. Ajustez la couroie. La courroie est usée. Vérifiez/remplacez la courroie. La courroie n'est plus sur la poulie. Vérifiez/replaces ce la courroie. Ajustez la poulie. Le déflecteur de goulotte est colmaté. Nettoyez le déflecteur de goulotte. Des corps étrangers bouchent les vis sans fin. Retirez les débris ou le corps étrang-er dans les vis sans fin. La goupille de tonte est cassée. Remplacez la goupille de toute cas-sée. Accumulation excessive de neige et de glace entre les éléments des chenilles. La roue d'entrainment de friction est usée. Contactez un centre de service agréé. Le disque de friction est humide. Laissez le disque de friction sécher. | Roue. Ajus-tez la poulie. |
| Déflecteur de goulotte. nettoyez le déflecteur de goulotte. | ||
| Des corps étrangers bouchent les vis sans fin. Retirez les débris ou le corps étrang-er dans les vis sans fin. | ||
| La goupille de tonte est cassée. Remplacez la goupille de toute cas-sée. | ||
| Éliminez la neige et la glace accumulée entre les éléments des chenilles. | ||
| La roue d'entrainment de friction est usée. Contactez un centre de service agréé. | ||
| Le disque de friction est humide. Laissez le disque de friction sécher. | ||
| Échec de rotation de la vis sans fin après avoir reli-ché la poignée | La courroie d'entrainment n'est pas alignée. Réglez la courroie d'entrainment. | Réglez la courroie d'entrainment. |
| Le déflecteur d'éjection n'est pas aligné. Ajustez e déflecteur d'éjection. | Elevinze la neige et la glace accumulée entre les éléments des chenilles. | |
| Le moteur ne tourne pas. Démarrez le moteur. | branchements du cable au niveau du moteur et des feux. | |
| Le cable de connexion est desserré. Vérifiez les branchements du cable au niveau du moteur et des feux. | LED. Les LED individuelles ne peuvent pas être replacées. | |
| L'éclairage n'est pas al-lumé (selon l'équipement) | Des débris sont présents dans le mécanisme de rotation de la goulotte. | Nettoyez les composants internes du mékanisme de rotation de la goulotte. |
| Les câbles sont entortillés ou endommages. Assurez-vous que les câbles ne sont pas entortillés. Remplacez les câbles endommages. | ||
| Le rotateur de la goulotte est difficile à déplacer. | La pression des pneus est inégale. Réglez la pression des pneus et gon-flez le pneu. | Inspectez la goupille de blocage des pneus. |
| Le produit n'est entraîné que par une seule roue. | Réglage du glissement irrégulier. | |
| Réglage des plaques de protection irrégulières. | Régliez les plaques de protection et le trainau. | |
| Réglage des plaques de protection irrégulières. | Régliez les plaques de protection et le trainau. | |
Transport, entreprises et mise au rebut
Transport et stockage
- Pour le stocker et transporter le produit et le carburant, assurez-vous qu'il n'y a pas de fuite ou de vapeurs. Les étincelles ou les flammes nues produites par exemple par des apparciels électriques ou chaudières peuvent provoquer un incendie.
- Utilisez uniquement des recipients homologues pour le transport et le stockage de carburant.
- Videz le réservoir de carburant avant de remisser le produit pendant une longue période. Mettez le carburant au rebut dans une déchetterie appropriée
- Sécurisez le produit lors de son transport pour éviter tout dommage ou accident.
-
Conservez le produit dans un endroit verrouillé afin que des enfants ou personnes qui ne sont pas autorisées à l'utiliser ne puisent pas y avoir accès.
-
Conservez le produit dans un endroit sec et à l'abri du gel.
Mise au rebut
- Respectez les consignes locales de recyclage et la réglementation en vigueur.
- Mettez au rebut tous les produits chimiques tels que l'huile moteur ou le carburant à un centre d'entretien ou à une déchetterie appropriée.
- Lorsque vous n'utilisez plus le produit, renvoyez-le à un Husqvarnaconcessionnaire ou mettez-le au rebut dans une déchetterie.
\section*{Caracteristiques techniques}
\section*{Caracteristiques techniques}
| ST 324 ST 327 ST 330 | |||
| Dimensions | |||
| Poids, avec réservoirs vides, kg 108 115 128 | |||
| Pression de fonctionnement des pneus maxi-male, PSI | 18 18 20 | ||
| Mateur | |||
| Marque Husqvarna Husqvarna Husqvarna | |||
| Cylindrée, cm3 254 291 369 | |||
| Type de carburant Ordinaire sans plomb (10 % d'éthanol maximum) | |||
| Capacité de carburant, gallons/litres 0,35 / 1,33 | 0,62 / 2,35 0,62 / 2,35 | ||
| Type d'huile (API SJ-SN) SAE 5W30 (en dessus de 0 °C (32 °F)) | |||
| Capacité d'huile, onces/litres 20 / 0,59 32 / 0,95 | 38 / 1,12 | ||
| Système électrique | |||
| Bougie Veuillez consulter le manuel du fabriacant du moteur pour obtenir plusd'informations. | |||
| Émissions sonores 14 | |||
| Niveau de puissance sonore mesuré dB (A) < | 105 | ||
| Niveau de puissance sonore, garantiet LWA dB(A) | ≤ 105 | ||
| ST 324 ST 327 ST 330 | |||
| Niveau de vibration, ahveq 15 | |||
| Niveau de vibrations sur la poignée, en m/s2 | ≤ 4,57 ≤ 4,42 ≤ 5,83 | ||
Déclaration de conformité CE
CONTENU DE LA DÉCLARATION DE CONFORMITE DE LA CE
Nous, Husqvarna, SE-561 82 Huskvarna, SUÉDE, déclarons sous notre responsabilité exclusive que le produit représenté :
| Description Souffleuse à neige | |
| Marque Husqvarna | |
| Plate-forme / Type / Modèle ST 324, ST 327, ST 330 | |
| Lot Numéro de série à partir de 2018 |
est entiement conforme à la reglementation et aux directives de l'UE suivantes :
| Directive/Réglementation Description | |
| 2006/42/EC « relative aux machines » | |
| 2014/30/UE « relative à la compatibilité electromagnétique » | |
| 2000/14/CE ; 2005/88/CE « relative au bruit extérieur » |
Les normes harmonisées et/ou les specifications techniques appliquées sont comme suit : EN ISO 12100, ISO 14982, ISO 8437, ISO 3744, EN 1032
Conformément à la directive 2000/14/CE, Annexe V, les valeurs déclarées saines sont stipulées dans la section Données techniques de ce manuel et dans la Déclaration de Conformité signée de la CE.
La souffleuse à neige fournie correspond à l'exemplaire soumis à l'examen.
Contedio
Introduccion. 82
Instructions d'origine
Notice Facile