HDLGARM - Automatisme de portail LIFT-MASTER - Notice d'utilisation et mode d'emploi gratuit
Retrouvez gratuitement la notice de l'appareil HDLGARM LIFT-MASTER au format PDF.
| Caractéristiques | Détails |
|---|---|
| Type de produit | Ouvre-porte de garage |
| Capacité de levage | Non spécifiée |
| Alimentation | 220-240 V |
| Dimensions | Non spécifiées |
| Poids | Non spécifié |
| Matériaux | Non spécifiés |
| Utilisation | Pour les portes de garage résidentielles |
| Maintenance | Vérifier régulièrement les mécanismes et lubrifier les pièces mobiles |
| Sécurité | Équipé de capteurs de sécurité pour éviter les accidents |
| Garantie | Non spécifiée |
| Accessoires inclus | Non spécifiés |
| Informations supplémentaires | Installation recommandée par un professionnel |
FOIRE AUX QUESTIONS - HDLGARM LIFT-MASTER
Questions des utilisateurs sur HDLGARM LIFT-MASTER
0 question sur cet appareil. Repondez a celles que vous connaissez ou posez la votre.
Poser une nouvelle question sur cet appareil
Téléchargez la notice de votre Automatisme de portail au format PDF gratuitement ! Retrouvez votre notice HDLGARM - LIFT-MASTER et reprennez votre appareil électronique en main. Sur cette page sont publiés tous les documents nécessaires à l'utilisation de votre appareil HDLGARM de la marque LIFT-MASTER.
MODE D'EMPLOI HDLGARM LIFT-MASTER
Trousse de bras long d'actionneur de
barrière pivotante
Modèle HDLGARM
A VERTISSEMENT
Pour réduire le risque de BLESSURES GRAVES, voire
- DECONNECTER l'alimentation (c. a. solaire ou à batter de procéder à l'installation de l'actionneur ou à une d'entretien sur celui-ci.
- Mettre hors fonction les deux interrupteurs d'alimentation par batterie.
- Regler le commutateur de réinitialisation à la position

MORTELLES :
AVANT
AVERTISSEMENT: Ce produit peut vous exposer à des prochimiques, y compris du plomb, reconnus par l'Etat de la Californie comme étant cancérigènes ou pouvant causer des anomalies congenitales ou d'autres préjudices à l'appareil reproducteur. Pour plus d'information, aller à
5Warnings.ca.gov
ATTENTION :
UN SUPPORT MASSIF EST FIXÉ À LA BIELLE DU BRAS COURTE SÉMBALLAGE À DES FINS D'EXPÉDITION UNIQUÉMENT. PRIÈRE DE SUIVRE LES INSTRUCTIONS POUR L'ASSEMBLAGE DU BRAS.
Introduction
La trousse de biellette longue est prevue pour etre utilise sur l'actionneu de nbadere HDwast. Pour optimiser et prolonger vie utile de I'actionneur, la trousse de biellette longue est recommandee lors de I'installation de barrieres de 4.87 m (16 pi) ou plus.
Consulter le manuel d'installation de l'actionneur de barriere de modèle HDSW24UL pour des instructions complètes d'installation et de sécurité.
Détermination de l'emplacement de la dalle en béton et de l'actionne
Consulter l'illustration pour déterminer les mesures et l'emplacement de la dalle en béton.

Dimension (A) à (E) du centre d'un point de pivot au centre d'un autre point de pivot.
Suggestion : Les dimensions entre la barrière et la dalle en béton sont toujours de 25,4 cm (10 po) de moins que la dimension D.
Exemple: D = 106,7 cm (42), si la dimension entre la barrière et la dalle de béton est de 81,3 cm (32 po).
Necessite un moins grand dégagement entre la barrière et le mur.
Tableau LA
| LONGUEUR DE LA BARRIERE | A B C | D E F DISTANCE | CE | |||
| 6.71 m (22 pi)1134 kg (2500 lb) max. | 2,24 m (88 po) | 1,58 m (62,5 po) | 1,46 m (57,5 po) | 1,8 m (71 po) | 27,9 cm (11 po) | 7,6 cm (3 po) |
| 6.1 m (20 pi)1 247 kg (2 750 lb) max. | 2,03 m (80 po) | 1,48 m (58,25 po) | 1,33 m (52,25 po) | 1,66 m (65,5 po) | 27,9 cm (11 po) | 7,6 cm (3 po) |
| 5.48 m (18 pi),1 474 kg (3 250 lb) max. | 1,83 m (72 po) | 1,35 m (53 po) | 1,19 m (47 po) | 1,49 m (58,5 po) | 27,9 cm (11 po) | 7,6 cm (3 po) |
| 4.88 m (16 pi)1 701 kg (3 750 lb) max. | 1,63 m (64 po) | 1,23 m (48,25 po) | 1,06 m (41,75 po) | 1,33 m (52,5 po) | 27,9 cm (11 po) | 7,6 cm (3 po) |
| 4.27 m (14 pi)2 041 kg (4 500 lb) max. | 1,42 m (56 po) | 1,14 m (44,75 po) | 0,95 m (37,25 po) | 1,27 m (50 po) | 27,9 cm (11 po) | 7,6 cm (3 po) |
Tableau LB - Necessite un plus grand dégagement entre la barrière et le mur
Necessite un plus grand dégagement entre la barrière et le mur. Recommandé sur les installations mises à niveau lorsqu'actionneur remplace n'est pas de marque LiftMaster
| LONGUEUR DE LA BARRIERE | A B C | D E F DISTANCE | ||||
| 6,71 m (22 pi)1 134 kg (2 500 lb) max. | 2,24 m (88 po) | 1,68 m (66,25 po) | 1,45 m (57,25 po) | 1,8 m (71 po) | 38,1 cm (15 po) | 7,6 cm (3 po) |
| 6,1 m (20 pi)1 247 kg (2 750 lb) max. | 2,03 m (80 po) | 1,57 m (61,75 po) | 1,32 m (52 po) | 1,66 m (65,5 po) | 38,1 cm (15 po) | 7,6 cm (3 po) |
| 5,49 m (18 pi)1 474 kg (3 250 lb) max. | 1,83 m (72 po) | 1,44 m (56,5 po) | 1,19 m (46,75 po) | 1,49 m (58,5 po) | 38,1 cm (15 po) | 7,6 cm (3 po) |
| 4,88 m (16 pi)1 701 kg (3 750 lb) max. | 1,63 m (64 po) | 1,31 m (51,75 po) | 1,05 m (41,5 po) | 1,33 m (52,5 po) | 38,1 cm (15 po) | 7,6 cm (3 po) |
| 4,27 m (14 pi)2 041 kg (4 500 lb) max. | 1,42 m (56 po) | 1,23 m (48,25 po) | 0,94 m (37 po) | 1,27 m (50 po) | 38,1 cm (15 po) | 7,6 cm (3 po) |
Installation de la biellette longue
- Enlever la biellette de sortie existante de l'actionneur.
- Fixer la biellette longue à l'actionneur avec la biellette longue sortie incluse dans la trousse.


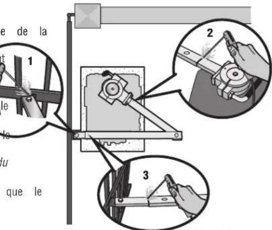
Fixation du bras de l'actionneur
La longueur du bras peut être régée au besoin. En cas de réglage de la longueur, s'assurer que les deux sections du bras sont régées de manière proportionnelle. Se servir d'une bride pour tenir temporatorium le bras en place tout en déterminant les bonnes mesures.
- Souder le support de la barrière à celle-ci.
- Souder la section courte du bras. Souder en bouchon/à entaille le dessus et le dessous.
- Souder la section longue du bras. Souder en bouchon/à entaille le dessus et le dessous. REMARIQUE: Souder complètement autour du tubage extérieur et du support.
- Régler les écrous sur le bras de l'actionneur de manière à ce que le bras soit bien serré sur l'arbre de sortie tout en laissant suffisamment d'espace pour pivoter (la poignée doit être position perpendicular [90 dégrés]).
- Serrer la poignée en la poussant vers le bas. Mettre à l'essayerifier que le bras de l'actionneur ne glisse pas sur l'arbre de


Poignée de désengagement manuel
LiftMaster
Mon-Fri 5:00 am to 6:00 pm MST/Lundi au vendredi 5 h 00 à 18 h 00 HNR/ De lunes a viernes de 5:00 a.m. à 6:00 p.m., horario de la montaña
Notice Facile