GW90821 - Dispositif de contrôle à distance Gewiss - Notice d'utilisation et mode d'emploi gratuit
Retrouvez gratuitement la notice de l'appareil GW90821 Gewiss au format PDF.
| Intitulé | Description |
|---|---|
| Type de produit | Non catégorisé |
| Utilisation | Produit destiné à des applications techniques spécifiques. |
| Maintenance | Vérifier régulièrement l'état du produit et effectuer des réparations si nécessaire. |
| Sécurité | Respecter les normes de sécurité en vigueur lors de l'utilisation. |
| Informations générales | Consulter la documentation technique pour des détails spécifiques avant l'achat. |
FOIRE AUX QUESTIONS - GW90821 Gewiss
Questions des utilisateurs sur GW90821 Gewiss
0 question sur cet appareil. Repondez a celles que vous connaissez ou posez la votre.
Poser une nouvelle question sur cet appareil
Téléchargez la notice de votre Dispositif de contrôle à distance au format PDF gratuitement ! Retrouvez votre notice GW90821 - Gewiss et reprennez votre appareil électronique en main. Sur cette page sont publiés tous les documents nécessaires à l'utilisation de votre appareil GW90821 de la marque Gewiss.
MODE D'EMPLOI GW90821 Gewiss
GSM repeater with I/O and serial line - DIN Rail Dispositif de contrôle à distance GSM avec I/O et ligne série - sur rail DIN Indicador remoto GSM con I/O y ligne de série - de guía DIN GSM-Fernsteuerung mit I/O und serieller Linie - für DIN-Hutschiene

GW 90 821
INDICE
AVVERTENZE GENERALI
Avertissements pour I'installation 60
Vérification de la couverture GSM 60
SIM 60
Montage sur rail DIN 61
Connexions electrodes 63
Connexions série 64
Connexions interfaces 66
Insertion SIM 68
Positionnement et connexion de I'antenne 69
Mise en service 69
PROGRAMMATION
Modalités de configuration 70
Mot de passer 70
Configuration avec PC 70
Interaction et configuration via SMS 71
Configuration de base 72
Configurations via SMS 72
Essai 75
EN SERVICE
Fonctionnement en cas de black out 78
Nettoyage du dispositif de contrôle à distance 78
Remplacement des piles 78
Recharge SIM 78
Valeurs prerégles 79
DONNEES TECHNIQUES 80
Valeurs prerégées 80
AVERTISSEMENTS GENERAUX
Attention! La sécurité de l'appareil n'est garantie que si les instructions indiquées ici sont respectees. Il est donc nécessaire de les dire et de bien les conserver. Les produits de la gamme Chorus doivent etre installés conformément aux dispositions de la norme CEI 64-8 pour les appareils a usage domestique et similaires, dans des milieux non poussiereux, et la ou il n'est pas nécessaire de mettre en place une protection speciale contre la pénétration de I'eau.
L'organisation de vente de la Societe GEWISS est à sauter disposition pour tous éclaircissements et toutes informations techniques.
Gewiss SpA se reserve le droit de faire des modifications sur le produit décrit dans ce manuel, à n'importe quel moment et sans aucun préavis.
Contenu de la confection
n. 1 Dispositif de contrôle à distance GSM avec I/O et ligne série - sur rail DIN
n.1 Antenne
n.1 Cable rallonge pour antenne 1,5 m
n. 2 Rubans adhesifs double face
n. 1 Manuel d'installation et d'emploi
En bref
Le Dispositif de contrôle à distance GSM avec I/O et ligne série - sur rail DIN - permet de commander directement à distance des charges électriques, avec un téléphone mobile et en envoyant des messages SMS, grâce à deux relais avec des contacts sans potentiel, et de receivevoir sur le téléphone des signalisations d'etat ou d'alarme venant de deux entrées numériques. Les commandes pour les reliais peuvent être de type bistable, temporisées ou à impulsions; les entrées sont en mesure de relever soit un état soit un changement de front.
La connexion pour la ligne série dont est fourni le dispositif de contrôle à distance permitted de gérer un programmeur électronique (par exemple GW 14 581) ou bien un chronothermostat (par exemple GW 14 701, GW 10 703, GW 14 841). On peut donc gérer à distance, par exemple, le programme d'activation/désactivation du programmeur électronique, ou bien programmer la modalité de fonctionnement de l'installation de régulation thermique, et demander ses paramétres de fonctionnement et la température ambiente.
Avec les interfaces opportunities, il est en outre possible d'interagir à distance avec les systèmes Gewiss suivants :
- antivol RF, pour brancher totalement ou partiellement le système, le débrancher et en connaître l'etat, en outre recevoir automatiquement les signalisations d'alarme d'antivol, de manipulation frauduleuse, d'anomalie et de panique;
- commande et contrôle RF, activer ou désactiver des charges reliées aux modules actionneurs RF, receivevoir des signalisations d'émetteurs tels que boîtiers de commande, capteurs et télécommandes, et demander l'etat d'un chronothermostat RF bidirectionnel;
Le dispositif de contrôle à distance est muni de piles de back-up rechargeables, pour l'alimenter en cas d'absence de la tension de secteur : ainsi il est toujours possible de signaler la presence d'un black-out, ou bien d'envoyer des signaux d'alarme, d'anomalie ou de manipulation frauduleuse de l'installation antivol RF. On effectue la personalisation du dispositif de contrôle à distance avec un PC relié au dispositif par le port USB, en utilisant le logiciel de configuration, ou bien en envoyant des codes par SMS.
Le dispositif de controle a distance est monte sur un rail DIN de 35 mm, a l'intérieur de tableaux electriques ou de boites de derivation.

① Alimentation 230 V ca
② Ligne série
③ Entre 1
④ Entrée 2
⑤ Sortie relais 1
⑥ Sortie relais 2
⑦ LED pour signaler l'etat du dispositif
⑧ LED multifonctions de signalisation de l'etat du module GSM
9 Connecteur pour liaison interface du dispositif de contrôle à distance GSM - RF antivol
10 Bouton de commutation sortie relais
11 Port USB (type B)
12 Connexion antenna externe
13 Petit tiroir pour SIM
4 Connecteur pour liaison interface disposif de contrôle à distance GSM - RF commande et contrôle
Fonctions
FONCTIONS GÉRABLES
Le tableau qui suit ennumere les fonctions gérables avec le dispositif de contrôle à distance, directement ou bien à l'aide d'autres dispositifs Gewiss.
| Avec entées et sorties internes | Avec chronothermostat et connexion série | Avec programmeur électronique et connexion série | Avec dispositifs RF et interface (GW 90 822) | Avec antivol RF et interface (GW 90 823) | |
| Commutation sortie relais | (1) (2) | ■ | |||
| Commutation temporisée sortie à relais | ■ | (5) | |||
| Commutation par impulsions sortie à relais | ■ | ||||
| Commande moteur (ex. volets) | ■ | ||||
| Envoi SMS sur réception "Marche" | ■ | ■ | |||
| Envoi SMS sur réception "Arrêt" | ■ | ■ | |||
| Envoi SMS sur réception "Marche" et "Arrêt" | ■ | ■ | |||
| Envoi SMS seulement sur demande | ■ | ■ | |||
| Programmation du type de fonctionnement du chronothermostat (chauffage/climatisation) | ■ | (3) | |||
| Programmation modalité de fonctionnement installation de régulation thermique (Manuel / automatique / Arrêt) | ■ | (3) | |||
| Programmation du Set-point manuel | ■ | (3) | |||
| Demande d'etat du chronothermostat | ■ | (3) | |||
| Activation de la modalité manuelle avec sortie Marche | ■ | ||||
| Activation de la modalité manuelle avec sortie Arrêt | ■ | ||||
| Activation de la modalité AUTO | ■ | ||||
| Demande d'etat du programmeur électronique | ■ | ||||
| Branchement total installation arme | ■ | ||||
| Branchement partiel installation arme (zone 1) | ■ | ||||
| Branchement partiel installation arme (zone 2) | ■ | ||||
| Débranchement installation antivol | ■ | ||||
| Demande d'etat installation antivol | ■ | ||||
| Signalisation d'alarme | (4) |
(1) Les relais de sortie sont bistables, donc à la fin d'un black-out ils maintainnent l'etat programme précédement.
Si les relais de sortie sont configurés comme temporisés, à la fin du black-out ils s'ouvrent.
(2) Il est possible d'ouvrir les contacts des relais locaux en appuyant sur le bouton frontal du dispositif de contrôle à distance.
(3)Avec le chronothermostat RF bidirectionnel mural (GW 10 851-GW 14 851).
(4) Signalisation envoyee automatique en cas d'évenement d'alarme antivol, d'évenement de manipulation frauduleuse, d'évenement d'anomalie et d'alarme panique.
(5) La temporisation est comptée par l'actionneur RF et non pas par le dispositif de contrôle à distance.
A la fin d'un black-out le relais returnne en etat Arret.
MESSAGE ENVOYÉS PAR LE DISPOSITIF DE CONTROLE À DISTANCE
Suite à une demande directe, ou en réponse à une commande reçue, ou comme signalisation d'un événement qui s'est produit - le dispositif de contrôle à distance envoie des messages, selon les modes suivants :
| Envoi à no. téléphone appelants | Envoi à no. téléphone prédéfinis | Texte prédéfini | Texte personalisable | |
| Confirmation d'exécution de commande suite à l'envoi d'une demande | ||||
| Commutation relais interne | ■ | ▲ | ■ | |
| Commutation relais dispositif RF | ■▲■ | |||
| Commande moteur | ■▲■ | |||
| Programmation du type de fonctionnement du chronothermostat | ■▲■ | |||
| Programmation du mode de fonctionnement du chronothermostat | ■▲■ | |||
| Programmation mode de fonctionnement du programmateur électronique | ■▲■ | |||
| Branchement / débranchement installation antivol | ■ | ■ | ||
| Activation / désactivation notification de branchement / débranchement | ■ | ■ | ||
| Signalisations d'etat envoyées automatiquement | ||||
| Variation état entrée locale | ■ | ■ | ||
| Variation état entrée dispositif RF | ■ | ■ | ||
| Signalisation d'alarme de l'installation antivol | ■ | ■ | ||
| Signalisation d'etat en réponse à une_demand | ||||
| Demande d'etat pour tous les dispositifs gérés | ■▲■ | |||
| Demande d'etat pour les I/0 locales et les sous-systèmes RF | ■▲■ | |||
| Demande d'etat pour les chronothermostat (1) | ■▲■ | |||
| Demande d'etat pour le programmateur électronique (2) | ■▲■ | |||
| Demande d'etat pour l'installation antivol (3) | ■ | ■ | ||
La reponse est envoyee au numero de téléphone prdefini si le numero de téléphone qui appelle est caché.
(1) La réponse inclut : type et mode de fonctionnement actuel, set point de température actuellément programme, temporature ambiente et état de l'actionneur (Marche / Arrêt), sauf pour les chronothermostats RF, où la commande envoyée est communiquée car l'actionneur n'envoié pas la réponse à la commande.
(2) La réponse inclut le mode de fonctionnement et l'état du contact.
(3) La response inclut : état de l'installation (branchée / débranchée), état de la centrale (préte / pas préte pour le branchement), mémoire d'alarme, mémoire de manipulation frauduleuse, mémoire d'anomalie, et état de la notification de branchement / débranchement de l'installation antivol.
Les SMS de confirmation de l'execution d'une commande, et leurs de signalisation d'etat, que le dispositif de contrôle à distance émet apres avoir reçu la demande relative, sont envoyés au numero de téléphone de l'applant,quel qu'il soit (sauf insertion du mot de passage). Sauf pour la demande d'etat de l'installation antivol, qui doit être envoyée a partir d'un des nombres de téléphone qui sont enregistrés dans la SIM en tant que numeros prédéfinis pour le contrôle de l'installation antivol.
Les SMS de signalisation d'etat que le dispositif de contrôle à distance émet automatiquement sont envoyés aux numéro de téléphone définis pendant la configuration ou bien, s'ils n'ont pas eté définis, au numero de téléphone par défaut. Sauf pour les signalisations de l'installation antivol, qui sont envoyées aux numéro de téléphone enregistrés dans la SIM en tant que numéro prédéfiinis pour le contrôle de l'installation antivol.

ATTENTION: l'installation du dispositif ne doit etre effectue que par du personnel qualifie, conformement a la reglementation en vigueur.
Avertissements pour l'installation
Le dispositif de contrôle à distance utilise des connexions en radiofréquence aussi bien pour la connexion à distance, grâce au réseau GSM, que pour interagir avec l'installation antivol RF et avec le système de commande et de contrôle RF avec les interfaces RF opportunes. Il est donc nécessaire de prendre les précautions suivantes:
- placer l'antenne du dispositif de contrôle à distance et les interfaces RF éventuelles loin de toute source éventuelle de perturbation electromagnétique, comme par exemple des compteurs électriques, moteurs électriques, graduateurs, lampes fluorescentes;
- NE PAS insérer l'antenne du dispositif de contrôle à distance ou les interfaces RF évientuelles dans des tableaux électriques ni dans des armoires métalliques;
- NE PAS poser l'antenne du disposif de contrôle à distance ou les interfaces RF eventuelles devant ni derriere des panneaux métalliques;
- avant l'installation définitive, vérifier que les interfaces RF éventuelles sont bien en mesure de dialoguer avec les dispositifs prévus: pour cela exécuter un test préliminaire de la connexion radio (pour les instructions détaillées, voir la documentation technique de chaque interface).
Nous you consellons d'installer en amont du dispositif de controle a distance un dispositif de protection contre les courts-circuits (par exemple un disjoncteur magnetothermieque), qui pourra etre utile pour sectionner la ligne en cas d'entretien ou de modification des connexions du dispositif de controle a distance.
Vérification de la couverture GSM
Le dispositif de controle a distance fonctionne comme tout autre operateur de telephonie mobile GSM. Cependant il faut que le reseau GSM de I'opérateur préfééré couvre la zone d'installation可以选择, et que le niveau du signal GSM soit ajustement fort. Pour vérifier qu'il en est ainsi, utiliser un téléphone mobile avec la SIM du même opérateur, et vérifier le niveau de signal dans le poste d'installation可以选择. Si le signal est absent ou très faible, faire ce qui suit :
- Essayer d'autres positions, jusqu'à ce qu'on obtienne un signal satisfaisant.
- Essayer de replacer l'antenne, ou de la remplacer par une antennne compatible (voir le paragraphe Positionnement et connexion de l'antenne).
- Essayer avec la SIM d'un autre opérateur (l'efficacité de la couverture GSM peut varier d'un opérateur à un autre).
On peut aussi vérifier si le niveau de signal est acceptable en regardant la LED multifonctions de signalisation de l'etat du module GSM : verte fixe, veut dire que le niveau est bon, rouge peut dire que le réseau GSM est absent.

ATTENTION: en cas d'absence du signal GSM, le dispositif ne peut ni receivevoir ni envoyer des SMS.
SIM
Le dispositif de contrôle à distance accepte aussi bien les SIM avec abonnement que les SIM prépayées. Si l'on utilise une SIM prépayée, il faut faire attention à certains aspects, qui pourrait comprometer le fonctionnement normal.
- Recharge SIM: quand la SIM prépayée épaise son crédit, le dispositif de contrôle à distance ne peut plus envoyer de messages. Le dispositif de contrôle à distance n'envoié pas d'avis de « créditsim épisé», il faut donc s'assurer qu'il y ait plusieurs suffisamment de crédit pour les exigences de la communication à distance.
- Peremption SIM: la plupart des gestionnaires de téléphonie mobile désactivent la SIM prépayée 11/12 mois à compter de la première recharge, indépendamment du crédit restant. On peut résoudre ce problème en activant le service de recharge automatique de la SIM prépayée, que la plupart des gestionnaires de téléphonie mobile mettent à disposition.
- Déblocage SIM: si l'on utilise une SIM neuve, il pourrait être nécessaire d'effectuer un appel pour activer la SIM. Pour cela il faut insérer la SIM dans un téléphone mobile, et effectuer l'appeal.
- Desactivation du code PIN: sur la SIM qui sera insérée dans le dispositif de contrôle à distance, il faut désactiver la demande du code PIN au moment de l'activation du GSM. Pour cela, il faut insérer la SIM dans un téléphone mobile, et suivre les instructions fournies par le téléphone mobile.
Nous you consellons d'essayer le fonctionnement des operations de base, comme par exemple l'envoi d'un SMS, afin de vérifier si les programmations de la SIM (numéro de centre SMS etc.) sont correctes.
INSTALLATION
Montage sur rail DIN
INSERTION DES PILES
Avant de monter le dispositif de contrôle à distance sur le rail DIN, insérer les piles rechargeables de back-up de la façon suivante:
- Devisser les quatre vis frontales du dispositif de contrôle à distance, et appuyer sur les dents de tenue supérieures ou inférieures, pour decrocher le couvercle.

- Insérer 3 piles rechargeables NiMh - AAA, en respectant les polarités indiquées.
Nos vous conseillons d'utiliser des piles ayant une capacité de 800mAh ou plus.

- Remetre le couvercle sur le dispositif de contrôle à distance, et le fixer avec ses vis.
FIXATION SUR RAIL DIN
Monter le dispositif de contrôle à distance sur le rail DIN de 35 mm de la façon suivante :
- Insérer l'accrochage supérieur du dispositif dans le rail DIN.
- Faire tourner le dispositif jusqu'à ce qu'on entende un « clack » qui signale le blocage sur le rail DIN.

INSTALLATION
CONNEXION DES INTERFACES
Avant de connecter les interfaces, enlever les étiquettes prédictées qui recouvent les connecteurs nécessaires, comme montré sur l'image qui suit. Pour soulever l'étiquette, on peut s'aider d'un tournevis, en faisant bien attention à ne pas abimer le connecteur au-dessous.

Positionner les interfaces a coté du disposif de controle à distance, en tenant compte de la longueur des cables de liaison, avec les connecteurs polarisés qui sont fournis.
Connexions électriques
ENTRÉES ET SORTIES LOCALES

Remarques pour l'installation
1 Les charges connectées aux sorties ne doivent pas dépasser la capacité de commutation des relais du dispositif de contrôle à distance. Au cas où vous devriez connecter des charges haute puissance, nous vous conseillons de commander avec le dispositif de contrôle à distance un relais de puissance, auquel vous connectez les charges interessées.
2 On peut connecter aux entrées des signaux électriques 12V ca/cc ÷ 250 V ca. En cas de connexion de signaux en courant continu, il faut respecter la polarité.
Connexions série
Remarques pour l'installation
Pour la connexion série, on peut utiliser des conducteurs en cuivre standard. Longueur maximum raccordement série: 20 m
2 Chaudière ou installation de climatisation.
Remarques pour l'installation
Pour la connexion série, on peut utiliser des conducteurs en cuivre standard. Longueur maximum raccordement série: 20 m.
2 Chaudière ou installation de climatisation.
Connexions interfaces
INTERFACE DISPOSIFS RF DE COMMANDE ET DE CONTROLLE

Pour insérer la SIM dans le logement prevu du dispositif de contrôle à distance:
- Appuyer, avec la pointe d'un crayon ou d'un stylo à bille, sur le petit bouton jaune de décrochage situé à côté du petit tiroir porte-SIM.
- Ouvrir le petit tiroir porte-SIM.
- Insérer la SIM dans le petit tiroir en faisant bien attention que le coin émousse se trouve en haut à droite, et que les contacts dorés soient visibles sur le devant.
- Refermer le petit tiroir porte-SIM.


Décrochage du petit tiroir SIM. Positionnement et connexion de la SIM
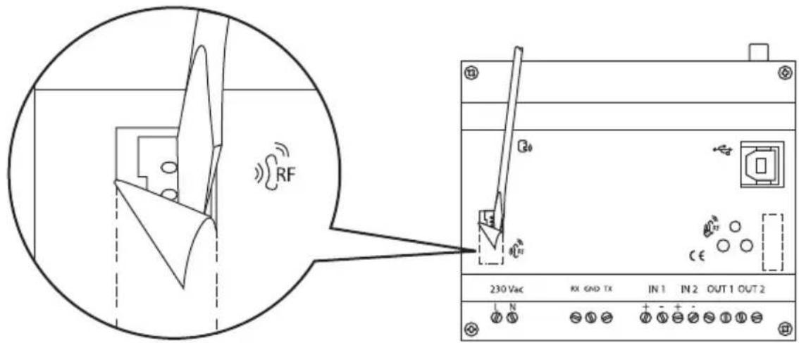
Positionnement et connexion de l'antenne
Veiller à positionner l'antenne du dispositif de contrôle à distance:
- loin de toute source eventuelle de perturbation electromagnetique, comme par exemple des compteurs électriques, moteurs électriques, graduateurs, lampes fluorescentes;
- à l'extérieur de tout tableau électrique ou armoire métallique;
- non couverte de panneaux métalliques, ni à proximé de panneaux métalliques;
- dans une zone bien sèche (le conteneur de l'antenne n'est pas étanche);
- dans un endroit protégé, pour éviter qu'elle ne puisse être endommagée accidentellement ou intentionnellement.
On peut fixer l'antenne sur un mur ou sur un support lisse, en utilisant les rubans adhesifs double face qui sont inclus dans l'emballage. Pour facilitier le positionnement de l'antenne, on a fourni le dispositif de contrôle à distance d'une rallonge d'antenne de 1,5 m. Cette rallonge ne doit être utilisée que si nécessaire.
Connector l'antenne, en vissant son cable au connecteur SMA situé dans la partie supérieure du dispositif de contrôle à distance. Visser à la main, sans utiliser d'instruments, pour éviter d'endommager le connecteur.

Mise en service
Des qu'on a alimenté le dispositif, la LED de signalisation de l'etat du dispositif commence à clignoter, ce qui indique que la phase d'initialisation du module GSM est en cours.
Après environ 30 secondes, la LED reste allumée verte fixe : cela signale que le dispositif est correctement initiaisé.
Si la LED de signalisation de I'etat du module GSM s'allume en vert, cela peut dire que le reseau GSM de I'opérateur est disponible. Si elle s'allume en rouge fixe, cela signifie que le signal GSM n'est pas suffisant.
PROGRAMMATION
Modalité de configuration
Le dispositif de contrôle à distance peut être configuré avec un PC relié au dispositif par un cable USB et muni du logiciel de configuration, ou bien avec un téléphone mobile grâce à l'envoi d'un SMS.
Le premier mode de configuration est conseilé durant la première installation et configuration; tandis que le deuxième mode est particulièrement utile quand on doit modifier à distance la configuration du dispositif de contrôle.
Pour que le dispositif de contrôle à distance fonctionne correctement, il faut configurer:
- Mot de passer d'accès.
- Numéro de téléphone utilisé par défaut pour la réponse
- Numeros de telephone (facultatifs) autorisés pour la commande de l'installation antivol ou pour la modification des paramètres
- Activation des interfaces prsentes
- Entres locales: événement d'activation, texte du message relatif à l'évenement, numero de téléphone du destinataire SMS (seulument s'il est différent du numero utilisé par défaut).
- Sorties locales: type de fonctionnement (à impulsions, bistable, temporisé), durée de la fermeture des contacts (seulement en cas de fonctionnement à impulsions ou temporisé), texte du message de confirmation.
- Interfaces RF: conditions d'envoi SMS, texte du message, numero de téléphone du destinataire SMS (seulement s'il est différent du numero utilisé par défaut).
Mot de passer
Le mot de passer sert pour que le dispositif de contrôle à distance puisse identifier qui appelle avant d'executer les instructions reçues via SMS. Le mot de passage est constitué de 4 caractères alphanumeriques, choisis par l'utilisateur à son gré entre 0...9, a...z, A...Z. Le dispositif de contrôle à distance reconnaît la différence entre les lettres majuscules et les lettres minuscules, par conséquent « ab12 » est différent de « AB12 »
Pour l'enregistrement du mot de passer en mémoire, voir le paragraphe Programmations de base.
Configuration avec PC
CONNEXION PC - DISPOSITIF DE CONTROLÀ DISTANCE

Pendant la phase de configuration avec PC, le dispositif de contrôle à distance doit être alimenté par le réseau.
UTILISATION DU LOGICIEL DE CONFIGURATION
Vou puez tlecharg le ogiciel pour la configuraion du dispositif aec PC dans le site Internet www.gwiss.com, a l'intereur de la page du Dispositif de controle a distance GSM avec I/O et ligne series GW 90 821. La notice d'emploi de ce logiciel est disponible avec ledit ogiciel.
Interaction et configuration via SMS
Le dispositif de contrôle à distance accepte des commandes et des interrogations via SMS vers le dispositif ou vers les systèmes qui y sont connectés. Les commandes sont toujours reçues par le dispositif de contrôle à distance à condition qu'on insère le mot de passer, indépendamment du numéro appelant et indépendamment du fait que le numéro appelant soit visible ou caché. A l'exception des commandes de configuration et de celles sur l'installation antivol, qui nécessient que le numéro appelant soit visible et appartiente à la liste des nombres de téléphone mémorisés dans la SIM dans les positions de mémoire prédéfinies (voir le paragraph Configuration de base). Voici les principales règles à suivre pour composer les SMS:
MAJUSCULES ET MINUSCULES
Le dispositif de controle a distance reconnait la differencie entre les lettres majuscules et les lettres minuscules dans les SMS (ecrire « p » est different d'ecrire « P »). Les lettres de toutes les commandes et programmations doivent etre en majuscules.
STRUCTURE DE L'SMS ENVOYE
Les SMS commence avec un point (« . »), suivi du mot de salle (voir le paragraphe Mot de salle), puis un point, puis la commande et ensuite un autre point. Aucun espace n'est admis entre les points et le mot de salle ou la commande.
Syntaxe: mot de passerie COMMANDE.
Experiments de SMS corrects: AB01.SGE00-0.
AB01.P241-Pompe d'eau arrêtée.
Exemples de SMS errones: .AB01. SGE00-0.
.AB01.SGE00-0.
COMMANDES MULTIPLES
Avec un seul SMS on peut envoyer plusieurs commandes séparées entre elles par un point (« . »). Le SMS ne doit pas dépasser 480 caractères.
Syntaxe:.mot de salle.Commande1 .commande2 COMMANDE3 COMMANDE4.
Exempl:AB01.CAL01-1.CAR05-1.CCSS01-M-15,5.CAF00T.
TEXTES PERSONNALISÉS
Les textes personalisés des messages de réponse ne doivent pas dépasser 24 caractères, espaces compris, et ne doivent pas contir de points (« . »).
Les autres caractères de ponctuation sont permis.
Examples de texte correct: Chronothermostat mer
Exemples de texe errone: Chronothermostat villa mer (texte trop long), Chronotherm. villa mer (il y a un point dans le texte)
NUMÉROS DE TÉLÉPHONE
Les nombres de téléphone doivent être insérés sans espaces ni traits de séparation. Il faut faire précéder le numéro du préfixe international dans la forme +préfixe (pour l'italie +39). Le téléphone correspondant au numéro inséré doit être en mesure de receivevoir des SMS.
Les numeros mémorisés dans le dispositif de contrôle à distance pour l'envoi de SMS doivent être dans le format international correspondant au Pays ou le dispositif de contrôle à distance est installé.
Le dispositif de controle a distance reconnait le numero de I'emetreur du SMS seulement s'il est dans le meme format que le numero memorise dans la carte SIM.
Exemples de numeros errones: +39 035 94611 (espaces), 338-55523 (le trait de séparation et le préfixe international manquent)
Exemples de numeros corrects: +3903594611 +3933855523
Dans l'envoi des SMS de réponse, le dispositif de contrôle à distance suit ces règles:
- Les réponses aux commandes et aux interrogations d'etat sont envoyées au numéro appelant, s'il est visible, ou bien au numéro par défaut (voir Configuration de base) s'il est caché.
- Les SMS envoyés de manière autonome par le dispositif de contrôle à distance, par exemple les alarmes et la commutation d'entrées, sont envoyés au numero programme pour l'évenement spécifique ou, s'il n'y en a pas, au numero par défaut.
Configuration de base
Pour des raisons de sécurité, certaines programmes ne peuvent pas etre effectuees via SMS mais doivent etre executees avec un telephone mobile directement sur la SIM qui sera installee dans le dispositif de controle a distance, ou bien programmées avec le logiciel. Pour programmer ces parametes avec voite telphone mobile, faire ce qui suit:
- Insérer dans un téléphone mobile la SIM qui sera utilisé, eventuellement après l'avoir enlevée du dispositif de contrôle à distance. Pour plus de détails sur l'opération, consulter la notice d'emploi du téléphone mobile.
- Mémoriser dans le repertoire de la SIM, en utilisant le clavier et l'afficheur du téléphone mobile, les paramètres enumerated sur le tableau suivant
| Position et mémoire SIM | Description | Nom contact sur SIM | Numéro contact sur SIM (1) |
| 1 Mot de passage (4 caractères alphanumerices) Mot de passage - | |||
| 2 | Numéro de téléphone utilisé par défaut pour la réponse | - | n. téléphone |
| 3 | Numéro 1 pour contrôle antivol et modification de la configuration via SMS | - n. téléphone | |
| 4 | Numéro 2 pour contrôle antivol et modification de la configuration via SMS | - n. téléphone | |
| 5 | Numéro 3 pour contrôle antivol et modification de la configuration via SMS | - n. téléphone | |
| 6 | Numéro 4 pour contrôle antivol et modification de la configuration via SMS | - n. téléphone | |
| 7 | Numéro 5 pour contrôle antivol et modification de la configuration via SMS | - n. téléphone | |
(1) Pour le format d'insertion des numéroes de téléphone dans la carte SIM, voir le paragraphe Numéroes de téléphone.
Sur tous les numeros programmés pour le contrôle de l'installation antivol, les messages de signalisation d'alarme seront envoyés. Pour enregistrer les données dans la mémoire de la SIM, faire de la façon suivante:
a) Sélectionner la position de mémoire nécessaire;
b) laisser vide le « nom contact », sauf dans le cas du mot de passer, où il faut insérer le mot de passerchoisi;
c) insérer le numero de téléphone dans le « numero contact » (le mot de passer ne demande aucun numero de téléphone; les eventuels numeros de téléphone sont ignorés).
Avont de proceder à la mémorisation des numéroes et du mot de passer dans la SIM, nous vous conseillons d'effacer tous les contacts présents dans la carte, pour être surs que les numéroes insérés soient méorisés dans les cellules de mémoire enumeratedées.
Avant de modifier les numeros de téléphone méorisés dans la SIM ou le mot de passé, il est nécessaire de couper l'alimentation au dispositif de contrôle à distance, pour faire en sorte qu'à la remise en marche, les nouvelles données soient transférées dans la mémoire interne du dispositif.
Il est possible d'omettre les nombres de téléphone pour la commande de l'antivol (positions de mémoire de 3 à 7) si l'interface du dispositif de contrôle à distance GSM RF antivol (GW 90 823) n'est pas présente. Dans ce cas la configuration des paramétres par SMS ne peut être faite qu'à partir du nombre de téléphone par défaut.
- Enlever la SIM du téléphone mobile, et l'insérer dans le dispositif de contrôle à distance, comme illustré dans le paragraphe Insertion de la SIM.
ATTENTION Si la configuration est executée par logiciel, les données sont automatiquement mémorisées dans les positions enumeratedes sur le tableau, en écrasant les informations eventuellement générées dans la SIM.
Configurations via SMS
Les paramètres qui suivent doivent être configurés via SMS. Le SMS n'est accepté que s'il provient d'un numéro appelant visible qui correspond à un des numéroes mémorisés dans la SIM (nummer par défaut et numéroes actifs au moment de la configuration des paramètres). La valeur sou lignée indique la valeur par défaut.
CONFIGURATION GÉNÉRALE
| Commande Description | |
| P200-1 Envoie copie des | messages aussi sur le numéro de téléphone par défaut |
| P200-0 N'envoié pas copie des messages aussi sur le numéro de téléphone par défaut | |
| P201-1 Inutilisé | |
| P201-0 Inutilisé | |
| P202-1 Interface RF présente | |
| P202-0 Interface RF pas présente | |
| P203-1 Interface RF antivol présente | |
| P203-0 Interface RF antivol pas présente |
| Commande Description | |
| P240-0 INP1: condition envoi SMS: réception «Arrêt» | |
| P240-1 INP1: condition envoi SMS: réception «Marche» | |
| P240-2 INP1: condition envoi SMS: réception «Marche» et «Arrêt» | |
| P240-3 INP1: envoi SMS seulement sur demande | |
| P241-texte INP1: texte du message SMS pour réception «Marche» | |
| P242-texte INP1: texte du message SMS pour réception «Arrêt» | |
| P243-telephone | Numéro de téléphone auquel sont envoyés les SMS de l'entrée locale 1 |
| P250-0 INP2: condition envoi SMS: réception «Arrêt» | |
| P250-1 INP2: condition envoi SMS: réception «Marche» | |
| P250-2 INP2: condition envoi SMS: réception «Marche» et «Arrêt» | |
| P250-3 INP1: envoi SMS seulement sur demande | |
| P251-texte INP2: texte du message SMS pour réception «Marche» | |
| P252-texte INP2: texte du message SMS pour réception «Arrêt» | |
| P253-telephone | Numéro de téléphone auquel sont envoyés les SMS de l'entrée locale 2 |
| Commande Description | |
| P280-0 OUT1: modalité commutation bistable | |
| P280-1 OUT1: modalité commutation par impulsions | |
| P280-2 OUT1: modalité commutation temporisée | |
| P281-0 OUT1: durée 1 [bistable: NA; par impulsions = 300ms; temporisée = 30sec] | |
| P281-1 OUT1: durée 2 [bistable: NA; par impulsions = 500ms; temporisée = 60sec] | |
| P281-2 OUT1: durée 3 [bistable: NA; par impulsions = 800ms; temporisée = 5 min] | |
| P281-3 OUT1: durée 4 [bistable: NA; par impulsions = 1 sec; temporisée = 10 min] | |
| P281-4 OUT1: durée 5 [bistable: NA; par impulsions = 2 sec; temporisée = 30 min] | |
| P281-5 OUT1: durée 6 [bistable: NA; par impulsions = 5 sec; temporisée = 1 h] | |
| P281-6 OUT1: durée 7 [bistable: NA; par impulsions = 10 sec; temporisée = 2 h] | |
| P282-texte OUT1: texte du message SMS de confirmation | |
| P290-0 OUT2: modalité commutation bistable | |
| P290-1 OUT2: modalité commutation par impulsions | |
| P290-2 OUT2: modalité commutation temporisée | |
| P291-0 OUT2: durée 1 [bistable: NA; par impulsions = 300ms; temporisée = 30sec] | |
| P291-1 OUT2: durée 2 [bistable: NA; par impulsions = 500ms; temporisée = 60sec] | |
| P291-2 OUT2: durée 3 [bistable: NA; par impulsions = 800ms; temporisée = 5 min] | |
| P291-3 OUT2: durée 4 [bistable: NA; par impulsions = 1 sec; temporisée = 10 min] | |
| P291-4 OUT2: durée 5 [bistable: NA; par impulsions = 2 sec; temporisée = 30 min] | |
| P291-5 OUT2: durée 6 [bistable: NA; par impulsions = 5 sec; temporisée = 1 h] | |
| P291-6 OUT2: durée 7 [bistable: NA; par impulsions = 10 sec; temporisée = 2 h] | |
| P292-texte OUT2: texte du message SMS de confirmation | |
CONFIGURATION CHRONOTHERMOSTAT/PROGRAMMATEUR ÉLECTRONIQUE
| Commande Description | |
| P710-0 Aucun dispositif série connecté | |
| P710-1 | Dispositif série connecté = chronothermostat (GW 1X 701, GW 1X 703, GW 1X 841) |
| P710-2 Dispositif série connecté = programmateur électronique (GW 1X 581) | |
| P711-texte Dénomination du dispositif série connecté | |
CONFIGURATIONENTRÉESRF
| Commande Description | |
| P300-0 INP_RF1: condition envoi SMS: réception «Marche» | |
| P300-1 INP_RF1: condition envoi SMS: réception «Arrêt» | |
| P300-2 INP_RF1: condition envoi SMS: réception «Marche» et «Arrêt» | |
| P300-3 INP_RF1: envoi SMS seulement sur demande | |
| P301-texte INP_RF1: texte du message SMS pour réception «Marche» | |
| P302-texte INP_RF1: texte du message SMS pour réception «Arrêt» | |
| P303- téléphone | Numéro de téléphone auquel sont envoyés les SMS de l'entrée RF 1 |
| P310-0 INP_RF2: condition envoi SMS: réception «graduateur» | |
| P310-1 INP_RF2: condition envoi SMS: réception «Arrêt» | |
| P310-2 INP_RF2: condition envoi SMS: réception «Marche» et «Arrêt» | |
| P310-3 INP_RF2: envoi SMS seulement sur demande | |
| P311-texte INP_RF2: texte du message SMS pour réception «Marche» | |
| P312-texte INP_RF2: texte du message SMS pour réception «Arrêt» | |
| P313-numéro de téléphone | Numéro de téléphone auquel sont envoyés les SMS de l'entrée RF 2 |
CONFIGURATION SORTIES RF
| Commande Description | |
| P320-texte OUT_RF1: texte du message SMS de confirmation | |
| P330-texte OUT_RF2: texte du message SMS de confirmation | |
| P340-texte OUT_RF3: texte du message SMS de confirmation | |
| P350-texte OUT_RF4: texte du message SMS de confirmation | |
| P360-texte OUT_RF5: texte du message SMS de confirmation | |
| P720-0 Dispositif chronothermostat RF bidirectionnel non connecté | |
| P720-1 Dispositif chronothermostat RF bidirectionnel connecté | |
| P721-texte | Dénomination du chronothermostat RF bidirectionnel utilisé |
CONFIGURATION INSTALLATIONS ANTIVOL
| Commande Événement | |
| P760-texte | Texte du message SMS en cas d'événement de manipulation frauduleuse |
| P761-texte Texte du message SMS en cas d'alarme antivol | |
| P762-texte Texte du message SMS en cas d'anomalie évientuelle | |
| P763-texte Texte du message SMS en cas d'alarme panique | |
| P764-texte Texte du message SMS en cas de mémoire alarme antivol | |
| P765-texte | Texte du message SMS en cas de mémoire de manipulation frauduleuse |
| P766-texte Texte du message SMS en cas de mémoire anomalie | |
| P767-texte Centrale branchée | |
| P768-texte Centrale débranchée | |
| P769-texte Centrale préte | |
| P770-texte Centrale pas préte | |
DEMANDE DE CONFIGURATION
| Commande Description | |
| R200 Envoyer SMS avec | es programmesmations générales |
| R220 Inutilisé | |
| R240 Envoyer SMS avec | es programmesmations des entrées locales |
| R280 Envoyer SMS avec | es programmesmations des sorties locales |
| R300 Envoyer SMS avec | es programmesmations des entrées RF |
| R320 Envoyer SMS avec | es programmesmations des sorties RF |
| R700 Envoyer SMS avec | es programmesmations de la régulation thermique |
| R750 Envoyer SMS avec | es programmesmations de l'installation antivol |
Essai
A la fin de l'installation et de la configuration du dispositif de contrôle à distance, essayer les principales fonctions implémentées, pour vérifier que le dispositif de contrôle à distance fonctionne correctement.
Gestion à distance via SMS
Les commandes pour interagir à distance, via SMS, avec les différentes entrées, sorties et systèmes connectés sont énumérées sur les tableaux qui suivent.
| Commande Description | |
| CAL01-1 Activer les relais de sortie 1 | |
| CAL01-0 Déscientir les relais de sortie 1 (et fin de l'eventuelle temporisation en cours) | |
| CAL02-1 Activer les relais de sortie 2 | |
| CAL02-0 Déscientir les relais de sortie 2 (et fin de l'eventuelle temporisation en cours) |
COMMANDES SORTIES SOUS-SYSTÉME RF
| Commande Description | |
| CAR01-1 Activer les relais de sortie RF 1 | |
| CAR01-0 | Déscienter relatives sortie RF 1 (si le relais est configuré comme bistable, et fin de l'eventuelle désactivation) |
| CAR02-1 Activer les relais de sortie RF 2 | |
| CAR02-0 | OUT_RF2: Déscienter relatives (seulément si l'actionneur est configuré comme bistable, et fin de l'eventuelle désactivation) |
| CAR03-1 Activer les relais de sortie RF 3 | |
| CAR03-0 | OUT_RF3: Déscienter relatives (seulément si l'actionneur est configuré comme bistable, et fin de l'eventuelle désactivation) |
| CAR04-1 Activer les relais de sortie RF 4 | |
| CAR04-0 | OUT_RF4: Déscienter relatives (seulément si l'actionneur est configuré comme bistable, et fin de l'eventuelle désactivation) |
| CAR05-1 Activer les relais de sortie RF 5 | |
| CAR05-0 | OUT_RF5: Déscienter relatives (seulément si l'actionneur est configuré comme bistable, et fin de l'eventuelle désactivation) |
COMMANDES POUR LE PROGRAMMATEUR ÉLECTRONIQUE (SERIE)
| Commande Description | |
| COP01-A Activation de la | modalité AUTO |
| COP01-0 (1) Activation de la modalité Arrêt | |
| COP01-1 Activation de la | modalité MAN avec sortie Marche |
| COP01-0 Activation de la | modalité MAN avec sortie Arrêt |
(1) Le dernier caractère est un « 0 » majuscule.
| Commande Description | |
| CCS01-H Programme le type de fonctionnement CHAUFFAGE | |
| CCS01-C Programme le type de fonctionnement CLIMATISATION | |
| CCS01-0 (1) Programme la modalité Arrêt | |
| CCS01-A Programme la modalité AUTO | |
| CCS01-1 Programme la modalité MANUEL avec température T1 | |
| CCS01-2 Programme la modalité MANUEL avec température T2 | |
| CCS01-3 Programme la modalité MANUEL avec température T3 | |
| CCS01-M-température | Programme la modalité MANUEL, en spécifique la température àMAINER, avec résolution de 0,5° et virgule de séparation. Es. 18,0 ou 21,5. |
(1)Le dernier caractere est un 0 majuscule.
COMMANDES POUR CHRONOTHERMOSTAT RF BIDIRECTIONNEL
| Commande Description | |
| CCR01-H Programme le type de fonctionnement CHAUFFAGE | |
| CCR01-C Programme le type de fonctionnement CLIMATISATION | |
| CCR01-0 (1) Programme la modalité Arrêt | |
| CCR01-A Programme la modalité AUTO | |
| CCR01-1 Programme la modalité MANUEL avec température T1 | |
| CCR01-2 Programme la modalité MANUEL avec température T2 | |
| CCR01-3 Programme la modalité MANUEL avec température T3 | |
| CCR01-M-température | Programme la modalité MANUEL, en spécifique la température àMAININER, avec résolution de 0,5° et virgule de séparation. Es. 18,0 ou 21,5. |
(1) Le dernier caractère est un « 0 » majuscule.
COMMANDES POUR ANTIVOL RF
| Commande Description | |
| CAF00-T Active l'antivol (toutes) | les zones) |
| CAF00-0 Désactive l'antivol | |
| CAF00-1 Active l'antivol pour la zone 1 | zone 1 |
| CAF00-2 Active l'antivol pour la zone 2 | zone 2 |
| CAF00-A Active la notification de branchement / débranchement de la centrale antivol | |
| CAF00-D Désactive la notifications de branchement / débranchement de la centrale antivol |
COMMANDES DE DEMANDE D'ETAT
| Commande Description | |
| SGE00-0 Demande d'etat pour tous les I/O et les dispositifs gérés | |
| SGE00-1 Demande d'etat pour les I/O locales et le sous-système RF | |
| SGE00-2 Demande d'etat pour les chronothermostats et le programmateur électronique | |
| SGE00-3 Demande d'etat pour l'installation antivol |
Indications locales
Sur le devant du dispositif de contrôle à distance se trouvent 2 LED pour signaler l'etat de fonctionnement du dispositif.
LED pour signaler l'etat du dispositif
| LED allumée fixe Aucune anomalie | LED allumée (verte) Réseau GSM liéven |
| LED clignotante • configuration du dispositif en cours • anomalie (SIM pas prête, SIM protégée par code PIN...) | LED allumée (rouge) Réseau GSM absen LED allumée (jaune) Élaboration d'un SMS reçu |
Commandes locales
En appuyant sur le bouton situé sur le devant du dispositif de contrôle à distance, on commute l'etat des contacts des deux reliais locaux de la manière suivante:
| D'abord Ensuite | |||
| relais 1 relais 2 relais 1 relais 2 | |||
| Arrêt Arret Marche Marche | |||
| Marche Arrêt Arrêt Arrêt | |||
| Arrêt Marche Arrêt Arrêt | |||
| Marche Marche Arrêt Arrêt | |||
Fonctionnement en cas de black out
En cas de black-out, le dispositif de contrôle à distance envoie un SMS pour signaler l'absence de tension de réseau, et en envoie une autre quand il returne pour en signaler le rétablissement. Pendant le black-out, le dispositif de contrôle à distance continue à être alimenté par les piles de back-up : il n'est pas en mesure de receivevoir des SMS, mais il peut envoyer les SMS de signalisation qui proviennent de l'installation antivol (si l'interface GSM RF antivol est présente).
Le nombre de SMS que le dispositif de contrôle à distance peut envoyer quand il est alimenté par les piles de back-up dépend de la capacité des piles insérées, de leur état de charge initial, du temps passé depuis le commencement du black-out, et du nombre de messages déjà envoyés. A seul titre d'exemple, le dispositif de contrôle à distance, avec les piles conseillées (800 mAh) à pleine charge, a une autonomie de 7 jours ou 7 SMS (6 d'alarme plus 1 de signalisation d'absence de tension de réseau).
Nettoyage du dispositif de contrôle à distance
Pour I'eventuel nettoyage, utiliser un chiffon sec.
Remplacement des piles
Les piles de back-up n'ont pas besoin d'être remplacées. Au cas où il serait nécessaire de les replacer, voir le paragraph Insertion des piles. Les nouvelles piles rechargeables doivent être du type NiMh, format AAA.

ATTENTION
- Le remplacement des piles doit être fait exclusivement par l'installateur, après avoir coupé la tension de secteur. L'interruption de l'alimentation de secteur efface aussi la signalisation «REMPPLIER LES PILES»
- Remplacer en même temps les 3 piles.
- Ne pas utiliser ensembles des piles vieilles et des piles neuves.
- Utiliser des piles du même type (ne pas mélanger des piles ayant des capacité différentes).
- Ne pas jeter les piles au feu.

- Les piles sont des déchets spéciaux, dont l'élimination est réglementée par des prédispositions légales précises, et elles doivent être confiées dans des centres de collecte prévus à cet effet.
Recharge SIM
Au cas ou l'on utilise une SIM prépayée, il faut garantir qu'il y ait toujours un crédit suffisant pour envoyer des messages d'alarme et de réponse de la part du dispositif de contrôle à distance.
Pour le rechargement, le contrôle du crédit restant, et pour eventuellement activer le service d'auto rechargement, consulter les procédures adoptées par le gestionnaire de téléphonie mobile préchoisi.
Communication à distance Par réseau GSM
Eléments de communication 1 module GSM quad-band
Alimentation 230V ca + 3 batteries rechargeables NiMh AAA de back-up
(capacité conseillée 800 mAh ou plus)
Puissance absorbée 2 W
Eléments de commande 1 bouton de commutation état des sorties
Eléments d'affichage
1 LED multifonctions rouge/vert/jaune pour la signalisation de l'etat du module GSM
1 LED rouge pour la signalisation de l'etat du dispositif
Eléments d'actionnement 2 relais 10 A avec contact NA sans tension
Durée fermeture configurable de 300 ms à 2 h
Contact de sortie
2 NA de 10 A (AC1) / 4 A (AC15) - 250 Vac
Entrées
2 de 12V ca/cc ÷ 250 V ca
Durée minimale à impulsions 500 ms
Milieu d'utilisation
A l'intérieur, lieux secs
Température de fonctionnement
-5÷+45℃
Température de stockage -25 ÷ +70 °C
Humidité relative
Max. 93% (sans condensation)
Connexion PC
1 Port USB du type B
Connexion Interface RF de commande et de contrôle
1 connecteur 4 voies
Connexion interface RF antivol
1 connecteur 6 voies
Connexion série
Bornes à vis, section max. câbles: 2,5 mm²
Connexions électriques
Longueur max: 20m
Degre de protection
Dimension
Bornes à vis, section max. câbles: 2,5 mm²
Normes de reference
IP20
6 modules DIN
Directive basse tension 72/23/CE
Directives compatibilité electromagnétique 89/336/CEE
ETSI EN301 489-7, ETSI EN301 511
Valeurs preréglées
Activation fonction message copie 0 = iaux dispositif connecte
OPTIONS DE BASE
| Activation Interface RF de commande et de contrôle GW 90 822 0 = non | |
| Activation Interface RF antivol GW 90 823 0 = non | |
| Texte confirmation commutation sorties EXECUTE | |
| Texte de notification absence d'alimentation ABSENCE DE COURANT SECTEUR 230 V | |
| Texte de notification rétablissement de l'alimentation SECTEUR 230 V OK | |
| Texte de demande de remplacement des piles REMPLACEMENT DES PILES | |
SIM
Mot de passer (4 caractères alphanumerices) 0000
I/O LOCALES
| Condition d'envoi de SMS pour l'entrée 1 1 = envoi sur réception Marche | |
| Texte du message SMS pour réception «Marche» ENTRÉE 1 = Marche | |
| Texte du message SMS pour réception «Arrêt» ENTRÉE 1 = Arrêt | |
| Condition d'envoi de SMS pour l'entrée 2 1 = envoi sur réception Marche | |
| Texte du message SMS pour réception «Marche» ENTRÉE 2 = Marche | |
| Texte du message SMS pour réception «Arrêt» ENTRÉE 2 = Arrêt | |
| Modalité commutation relais 1 0 = Commutation bistable | |
| Texte du message SMS de confirmation OUT1 | |
| Modalité commutation relais 2 0 = Commutation bistable | |
| Texte du message SMS de confirmation OUT2 |
RÉGULATIONS THERMIQUES
| Dispositif série connecté 0 = aucun dispositif connecté | |
| Dénomination du dispositif série connecté CHRONOTHERMOSTAT |
RF DE COMMANDE ET DE CONTROLE
| Condition d'envoi de SMS pour l'entrée 1 1 = envoi sur réception Marche | |
| Texte du message SMS pour réception «Marche» ENTRÉE RF1 = Marche | |
| Texte du message SMS pour réception «Arrêt» ENTRÉE RF1 = Arrêt | |
| Condition d'envoi de SMS pour l'entrée 2 1 = envoi sur réception Marche | |
| Texte du message SMS pour réception «Marche» ENTRÉE RF2 = Marche | |
| Texte du message SMS pour réception «Arrêt» ENTRÉE RF2 = Arrêt | |
| Sortie 1: texte du message SMS de confirmation OUT_RF1 | |
| Sortie 2: texte du message SMS de confirmation OUT_RF2 | |
| Sortie 3: texte du message SMS de confirmation OUT_RF3 | |
| Sortie 4: texte du message SMS de confirmation OUT_RF4 | |
| Sortie 5: texte du message SMS de confirmation OUT_RF5 | |
| Dispositif chronothermostat RF bidirectionnel connecté 0 = non | |
| Dénomination du chronothermostat RF bidirectionnel connecté CHRONOTHERMOSTAT | |
ANTIVOL
| Message événement manipulation frauduleuse MANIPULATION FRAUDULEUSE | |
| Message événement alarme ALARME ANTIVOL | |
| Message événement anomalie ANOMALIE ANTIVOL | |
| Message alarme panique ALARME PANIQUE | |
| Message de mémoire alarme | MÉMOIRE ALARME |
| Message de mémoire manipulation frauduleuse | MÉMOIRE MANIPULATION FRAUDULEUSE |
| Message de mémoire anomalie | MÉMOIRE ANOMALIE |
| Message pour «centrale branchée» | CENTRALE BRANCHÉE |
| Message pour «centrale pas branchée» | CENTRALE DÉBRANCHÉE |
| Message pour «centrale prête pour le branchement» | CENTRALE PRÊTE |
| Message pour «centrale pas prête pour le branchement» | CENTRALE PAS PRÊTE |
INDICE
Conexiones de série 90
Conexiones interfaces 92
Introduccion SIM 94

Decouper et replier en quatre le present guide, pour pouvoir avoir toujours avec soi la liste des commandes les plus utilisées.
CAL01-1 Activer les relais de sortie
CALUTO U Desactivier les reils de sortie 1 (et imin de I eventuale temporaison en cours)241-02.1 Actif du relais de secu 2
CAL02-0 Désactiver les relais de sortie 2 (et fin de l'eventuelle temporisation en cours)
Commandes pour le programmeur électronique série
COP01-A Activation de la modalité AUTO
COP01-1 Activation de la modalite MAN avec sortie Marche
COP01-0 Activation de la modalite MAN avec sortie Arret
(1) Le dernier caractère est un « 0 » majuscule
CAR01-0 Desactiver relais sortie RF-1 (si le relais est configre comme bistable)
CAR02-1 Active les relais de sortie RF 2
CAR02-2 OUTFIRE DE L'ATTEIGNANCE (FACULTÉ) DE LA STRÉCTION (FACULTÉ) (L'ATTEIGNANCE)
CAB03-1 Activer les relais de sortie BE 3
CAR03-0 OUT_RF3: Désactiver relais (seulément si l'actionneur est configuré comme bistable)
CAR04-1 Activer les relais de sortie RF 4
CAR04-0 OUT RF4:Desactiver relais (seulement si l'actionneur est configre comme bistable)
CAR05-1 Activer les relais de sortie RF 5
CAR05-0 OUT_RF5:Desactiverrelais (seulement si I'actionneur est configuré comme bistable)
| SGE00-3 Demande d'etat pour l'installation antivol |
SGEO-0 Delmar
(1) Le dernier caractère est un « 0 » majuscule
| SIEGO-1 Demande d'etat pour les 1/2 voi faciales et le sous-système RP | |
| SEF00-3 | Demande d'état pour les chronothermétats et la programmateur électrétique |
pérature avec résolution de 0.5^ et virgule de séparation. Ex. 18,0 ou 21,5.
Commandes pour le chronothermostat RF
Commandes pour antivol
| CAF00-T Active l'antivol (toutes les zones) | |
| CAF00-0 | Désactive l'antivol |
| CAF00-1 | Active l'antivol pour la zone 1 |
| CAF00-2 Active l'antivol pour la zone 2 | |
| CCS01-M-tem-pérature | Programme la modalité MANUEL, en spécifique la température à maintenir, avec résolution de 0,5° et virgule de séparation. Ex. 18,0 ou 21,5. |
| CS01-3 Programme la modalité MANUEL avec température T3 |
CS01-2 Programme la modalite MANUEL AVAC TEMPOTE T3
CCS01-3 Programme la modalité MANUEL avec température T3
Notice Facile