GW90821 - Dispositivo di controllo remoto Gewiss - Manuale utente e istruzioni gratuiti
Trova gratuitamente il manuale del dispositivo GW90821 Gewiss in formato PDF.
Domande frequenti - GW90821 Gewiss
Domande degli utenti su GW90821 Gewiss
0 domanda su questo apparecchio. Rispondi a quelle che conosci o fai la tua.
Fai una nuova domanda su questo apparecchio
Scarica le istruzioni per il tuo Dispositivo di controllo remoto in formato PDF gratuitamente! Trova il tuo manuale GW90821 - Gewiss e riprendi in mano il tuo dispositivo elettronico. In questa pagina sono pubblicati tutti i documenti necessari per l'utilizzo del tuo dispositivo. GW90821 del marchio Gewiss.
MANUALE UTENTE GW90821 Gewiss
Remotizzatore GSM con I/O e linea seriale - da guida DIN

Contenuto della confezione 4
DESCRIZIONEGENERALE
In breve 5
Funzioni 6
INSTALLAZIONE
Awertenze per l'installazione 8
Verifica della copertura GSM 8
SIM 8
Montaggio su guida DIN 9
Connessioni elettriche 11
Connectioni seriali 12
Connessioni interface 14
Insertamento SIM 16
Posizionamento e connessione antenna 17
Messa in servizio 17
PROGRAMMAZZIONE
Modalità di configurazione 18
Password 18
Configurazione con PC 18
Interazione e configurazione via SMS 19
Configurazione di base 20
Configurazioni via SMS 20
Collaudio 23
IN SERVIZIO
Gestione da remoto via SMS 24
Indicazioni locali 25
Comandi locali 26
Funzionamento in caso di blackout 26
Pulizia del remotizzatore 26
Sostituzione batterie 26
Ricarica SIM 26
Valori preimpostati 27
DATI TECNICI 28
Valori preimpostati 28
AVVERTENZE GENERALI
Attenzione! La sicurezza dell'apparecchio è garantita solo attendendosi alle istruzioni qui riportate. Pertanto è necessario leggerle e conservarle. I prodotti Chorus devono essere installati conformmente a quanto previsto alla norma CEI 64-8 per gli appearecchi per uso domestico e similare, in ambienti non polverosi e dove non sia necessaria una protezione speciale contro la penetrazione di acqua.
L'organizzazione di vendita GEWISS è a disposizione per chiarimenti e informazioni tecniche.
Gewiss SpA si riserva il diritto di apportare modifiche al prodotto descritto in quello manuale in qualsiassi momento e ricerca alcun preavviso.
Contenuto della confezione
n. 1 Remotizzatore GSM con I/O e linea serialie - da guida DIN
n.1 Antenna
n. 1 Cavo prolonga per antenna 1,5m
n. 2 Strisce biadesive
n.1 Manuale di installmente e uso
In breve
Il Remotizzatore GSM con I/O e linea seriale - da guida DIN consente di comandare direttamente da remoto, con un Telefono cellulare attraverso messaggi SMS, dei carichi elettrici tramite due relle con contatti privi di potenziale e di ricevere sul Telefono segnalazioni di stato o allarme da due ingressi digitali. I comandi per i relle possono essere di tipo bistabile, temporizzati o impulsivi; gli ingressi sono in grado di rilevare sua uno stato sua un cambiamento di fronte.
La connessione per linea serialde cui è dotato il remotizzatore permette di gestire un programmatore elettronico (ad esempio GW 14 581) o un cronotermostato (ad esempio GW 14 701, GW 10 703, GW 14 841). Da remoto si può pertanto gestire, ad esempio, il programma di attivazione/disattivazione del programmatore elettronico, oppure impostare la modalità di funzionamento dell'impianto di termoregolazione e richiedere i loro parametri di funzionamento e la temperature ambientale.
Attraverso le opportune interface e inoltre possibile interagire da remoto con i seguenti sistemi Gewiss:
- antifurro RF, per inseire totalmente o parzialmente l'impiano, disinserirlo e conoscerne lo stato,或者其他 ricevere in automatico le segnalazioni di allarme antifurto, manomissione, anomalia e panico;
- commande e controlo RF, attivare o disattivare dei carichi collegati ai moduli attuatori RF, ricevere delle segnalazioni da trasmettitori come pulsantiere, sensori e telecomandi o comandare e richiedere lo stato di un cronotermostato RF bidirezionale;
Il remotizzatore è dotato di batterie di back-up ricaricabili per alimentarlo in caso di mancanza di tensione di rete: è sempre molto possibile segnalare la presenza di un blackout oppure inviare segnali di allarme, anomalia o manomissione dell'impianto antifurto RF. La personalizzazione del remotizzatore viene effettuata con un PC collegato al disposativoattraverso la porta USB, usando il software di configurazione, oppure mediante invio di codici tramite SMS.
Il remotizzatore viene montato su guida DIN da 35~mm , all'interno di quadri elettrici o scatole di derivazione.

① Alimentazione 230 V ac
② Linea seriale
③ Ingresso 1
④ Ingresso 2
⑤ Uscita reIe 1
⑥ Uscita reIe 2
⑦ LED di segnalazione stato dispositivo
⑧ LED multifunzione di segnalazione stato modulo GSM
9 Connettore per collegamento interfaccia remotizzatore GSM - RF antifurto
Pulsante commutazione uscita relè
10 Porta USB (tipo B)
12 Collegamento antenna esterna
Cassettino per SIM
14 Connettore per collegamento interfaccia remotizzatatore GSM - RF commande e controlo
Funzioni
FUNZIONI GESTIBILI
La tabella che segue elenca le funzioni gestibili atraverso il remotizzatore, direttamente o con l'ausilio di altri dispositivi Gewiss.
| Con ingressi e scite interne | Con cronotermastato e collegamento seriale | Con programmatore elettronico e collegamento seriale | Con dispositivi RF e interfaccia (GW 90 822) | Con antifurto RF e interfaccia (GW 90 823) | |
| Commutazione uscita relè | (1) (2) | ■ | |||
| Commutazione temporizzata uscita a relè | ■ | (5) | |||
| Commutazione impulsiva uscita a relè | ■ | ||||
| Comando motore (es. tapparelle) | ■ | ||||
| Invio SMS su ricezione “ON” | ■ | ■ | |||
| Invio SMS su ricezione “OFF” | ■ | ■ | |||
| Invio SMS su ricezione “ON” e “OFF” | ■ | ■ | |||
| Invio SMS solo su richiesta | ■ | ■ | |||
| Impostazione tipo di funzionamento cronotermostato (riscaldamento/ condizionamento) | ■ | (3) | |||
| Impostazione modalità di funzionamento impianto di termoregolazione (Manuale /automatico /off) | ■ | (3) | |||
| Impostazione set point manuale | ■ | (3) | |||
| Richiesta di stato cronotermostato | ■ | (3) | |||
| Attivazione modalità manuale con uscita ON | ■ | ||||
| Attivazione modalità manuale con uscita OFF | ■ | ||||
| Attivazione modalità AUTO | ■ | ||||
| Richiesta di stato programmatore elettronico | ■ | ||||
| Inserimento totale impianto allarme | ■ | ||||
| Inserimento parziale impianto allarme (zona 1) | ■ | ||||
| Inserimento parziale impianto allarme (zona 2) | ■ | ||||
| Disinserimento impianto antifurto | ■ | ||||
| Richiesta di stato impianto antifurto | ■ | ||||
| Segnalazione di allarme | (4) |
(1) I relè d'uscita sono bistabili, quindi al termine di un blackout mantengono lo stato precedentemente impostato.
Se i relè di uscita sono configurati come temporizzati al termine del blackout si aprono.
(2) É possible après i contatti dei relè locali premendo il pulsante frontale del remotizzatore.
(3) Con il cronotermostato RF bidirezionale da parete (GW 10 851 - GW 14 851).
(4) Segnalazione inviata in automatico in caso di evento allarme antifurto, evento manomissione, evento anomalia e allarme panico.
(5) La temporizzazione è nene conteggiata dall'attuator RF e non dal remotizzatore. Al termine di un blackout il relè torna nelle stato OFF.
MESSAGE INVIATI DAL REMOTIZZATORE
Il remotizzatore invia - a seguito di una richiesta diretta, come risconto di un ordine ricevuto o come segnalazione di un evento occorso - dei messaggi con le seguenti modalità:
| Invio a n. Telefono chiamanti | Invio a n. Telefono predefiniti | Testo predefinito | Testo personalizzato | |
| Conferma di esecuzione di lavoro successiva all'invio di una richiesta | ||||
| Commutazione relè interno | ■ | ▲ | ■ | |
| Commutazione relè dispositivo RF | ■▲■ | |||
| Comando motore | ■▲■ | |||
| Impostazione tipo di funzionamento cronotermostato | ■▲■ | |||
| Impostazione modalità di funzionamento cronotermostato | ■▲■ | |||
| Impostazione modalità di funzionamento del programmatore elettronico | ■▲■ | |||
| Inserimento/disinserimento impianto antifurto | ■ | ■ | ||
| Attivazione/disattivazione notifica di inserimento/disinserimento | ■ | ■ | ||
| Segnalazioni di stato INViate automaticamente | ||||
| Variazione stato ingressso locale | ■ | ■ | ||
| Variazione stato ingressso dispositivo RF | ■ | ■ | ||
| Segnalazione di allarme dell'impianto antifurto | ■ | ■ | ||
| Segnalazione di stato in risposta ad una richiesta | ||||
| Richiesta di stato per tutti i dispositivi gestiti | ■▲■ | |||
| Richiesta di stato per gli I/O locali e i sottosistemi RF | ■▲■ | |||
| Richiesta di stato per i cronotermostati (1) | ■▲■ | |||
| Richiesta di stato per il programmatore elettronico (2) | ■▲■ | |||
| Richiesta di stato per l'impianto antifurto (3) | ■ | ■ | ||
La risposta viene inviata al numero di Telefono predefinito se il numero di Telefono chiamante è nascosto.
(1) La risposta include tipo e modalità di funzionamento attuale, set point di temperatura attualmente impostato, temperatura ambiente e stato dell'attuatore (ON/OFF), tranne che per i cronotermostati RF dove viene comunicato il dato iniziato perché l'attuator non invia il risconto al dato.
(2) La risposta include modalità di funzionamento e stato del contatto.
(3) La risposta include stato dell'impiano (inserito/disinserito), stato della centrale (pronta/non pronta all'inserimento), memoria di allarme, memoria di manomissione, memoria di anomalia e lo stato della notifica di inserimento/disinserimento dell'impianto antifurto.
Gli SMS di conferma dell'esecuzione di un dato e quelli di segnalazione di stato, che il remotizzatore trasmette durante aver ricevuto la relativa richiesta, vengono inviati al numero di Telefono chiamante, qualunqueesso sa (salvo inserimento della password). Fa eccezione la richiesta di stato dell'impianto antifurto, che deve essere inviata da uno dei dati di Telefono memorizzati nella SIM come numero predefiniti per il controllo dell'impianto antifurto.
Gli SMS di segnalazione di stato che il remotizzatore trasmette autonomamente vengono inviati ai numero di Telefono definiti durante la configurazione o, se mancanti, al numero di Telefono di default. Fanno eccezione le segnalazioni dell'impiano antifurto, che vengono inviate ai numero di Telefono memorizzati nella SIM come numero predefiniti per il controllo dell'impiano antifurto.
INSTALLAZIONE

ATTENZIONE: l'installazione del dispositivo deve essere effettuata esclusivamente da personale qualificato, seguito la normativa vigente.
Avverenze per l'installazione
Il remotizzatore utilizza collegamenti in radiofrequenza sua per la connessione remota,attraverso la rete GSM,sia per interagire con l'impianto antifurto RF e il systema di lavoro e controlo RF mediante le opportune interfacce RF.
Épertanto necessario adottare le seguenti precauzioni:
- posizionare l'antenna del remotizzatore e le eventuali interfasse RF lontane da agli eventuale fonte di disturbo elettromagnetico, come ad esempio contatori elettrici, motori elettrici, dimmer, lampade fluorescenti;
- NON insere l'antenna del remotizzatore e le eventuali interfasse RF in quadri elettrici o armadi metallici;
- NON posizionale l'antenna del remotizzatore e le eventuali interfacce RF davanti o diaetro pannelli metallici;
assicurarsi che le eventuali interfaccce RF siano in grado colloquiare con i dispositivi previsti, prima dell'installazione definitiva, eseguingo un test preliminare del collegamento radio (per le istruzioni di dettaglio fare riferimento alla documentazione tecnica delle singole interfaccce).
Si consiglia di installare a monte del remotizzatore un dispositivo di protezione contro i cortocircuiti (ad esempio un interrottore magnetotermico) che potra essere utile per sezionare la linea in caso di manutenzione o di modifica dei collegamenti del remotizzatore.
Verifica della copertura GSM
Il remotizzatore funziona con qualsiasi operatore di telecomia mobile GSM, verificando perché che la rete GSM dell'operaore preferito copra la zona di installation prescelta e che il livello del segnale GSM sia adeguatamente forte. Per assicurarsi che ciò avvenga utilizzato un Telefono cellulare con SIM dello stesse operatore e verificare il livello di segnale nelinki di installation prescelto.
Qualora il segnale fosse assente o molto debole fare quanto segue:
- Provare autre posizioni, finché non si ottiene un segnale soddisfacente.
- Provare a risposizionare I'antenna o a sostuirla con una compatibile (si veda il paragrafo Posizionamento e connessione antenna).
- Provare con la SIM di un'alto operatore (l'efficacia della copertura GSM cui varie da operatore a operatore).
E possible verificare se il livello di segnale è accettabile anche mediate il LED multifunzione di segnalazione stato modulo GSM: verde fisso significa che il livello è buono, rosso che la rete GSM è assente.

ATTENZIONE: in caso di assenza del segnale GSM il dispositorio non può ricevere o inviare SMS.
SIM
Il remotizzatore accetta sua SIM con abbonamento sua SIM prepagate. Se si utilizza una SIM prepagata occorre tenere in considerazione alcuni aspetti che potrebbero compensettere il normale funzionamento.
- Ricarica SIM: quando la SIM prepagata esaurisce il credito il remotizzatore non più INViare messaggi. Il remotizzatore non invia un avviso di "credito SIM esaurito", perché occorre assicurarsi che ci sa è sempre un credito residuo sufficiente per le esigenze di communicatesione remota.
- Scadenza SIM: la maggior parte dei gestori di telecomia mobile disabilita la SIM prepagata dopo 11/12 mesi dall'ultima ricarica, indipendente nel credito residuo. Questo problema più essere superato attivando il servizio di ricarica automatica della SIM prepagata, che la maggior parte dei gestori di telecomia mobile mette a disposizione.
- Sblocco SIM: se si utilizza una SIM nuova potrebbe essere necessario effettuare una chiamata per attivare il traffico della SIM. Per fare quello è necessario insereire la SIM in un Telefono cellulare ed effettuare la chiamata.
- Disattivazione codice PIN: sulla SIM che andrà inserta nel remotizzatore è necessario disattivare la richiesta del codice PIN all'attivazione del GSM. Per fare quello è necessario insere la SIM in un Telefono cellulare e seguire le istruzioni fornite col cellulare stesso.
Si consiglia di provare il funzionamento delle operazioni base, come ad esempio l'invio di un SMS, per verificare che le impostazioni della SIM (Numero centro SMS, etc.) siano corrente.
INSTALLAZIONE
Montaggio su guida DIN
Prima di montare il remotizzatore sulla guida DIN insereire le batterie ricaricabili di backup nel seguente modo:
- Svitare le quattro viti frontali del remotizzatore e premere sui dentini di tenuta superiori o inferiori per sganciare il coperchio.

- Inserire 3 batterie ricaricabili NiMh - AAA rispettando le polarita indicate.
Si consiglia l'uso di batterie con capacità di 800 mAh o superiore.

- Rimettere il coperchio al remotizzatore e fissarlo con le sue viti.
FISSAGGIO SU GUIDA DIN
Montare il remotizzatore sulla guida DIN da 35 mm nel seguente modo :
- Inserire l'aggancio superiore del dispositivo nella guida DIN.
- Ruotare il dispositivo finché non si sente un "clack" che segnala il bloccaggio sulla guida DIN.

INSTALLAZIONE
COLLEGAMENTO DELLE INTERFACCE
Prima di collegare le interfacci, togliere le etichette pretranciate che coprono i connettori necessari, come lostrato nell'imagine che segue. Per sollevare l'etichetta ci si puo aiutare con un cacciavite, facendo attenzione a non danneggiare il connettore sottostante.

Positione are t face a lato del remotizzatore, tendo conto della lunghezza dei cavi di collegamento con connettori polarizzati in dotazione.
INSTALLAZIONE
Connessioni elettriche
Note per l'installazione
1 I carichi collegati alle uscite non devono superare la capacité di commutazione dei relè del remotizzatore. Nel caso si dovessero collegare carichi di elevata potenza si suggerisce di comandare con il remotizzatore un relè di potenza a cui andranno collegati i carichi interessati.
2 Agli ingressi, se collegati, devono essere applicati segnali elettrici 12V ac/dc ÷ 250 V ac. La polarità va rispetto nel caso di collegamento di segnali in corrente continua.
INSTALLAZIONE
Connessioni seriali
CRONOTERMOSTATO DA INCASSO

Note per l'installazione
1 Per il collegamento serialle si possono usare conduttori in rame standard. Lunghezza max collegamento seriale: 20m
2 Caldaia o impianto di condizionamento.

CRONOTERMOSTATO DA PARETE RF
Note per l'installazione
1 Per il collegamento serialle si possono usare conduttori in rame standard. Lunghezza max collegamento seriale: 20m
2 Caldaia o impianto di condizionamento
INSTALLAZIONE
Connessioni interface
INTERFACCIA DISPOSITIVI RF COMANDO E CONTROLLO

Per inseire la SIM nell'apposto alloggiamento del remotizzatore:
- Premere con la punta di una matita o di una biro il pulsantino giallo di sqancioippo accanto al cassettino porta SIM.
- Aprire il cassetto porta SIM.
- Inserire nel cassettino la SIM facendo attenzione che I'angolo smussato si trovi in alto a destra e i contatti dorati siano visibili frontalmente.
- Richiudere il cassettino porta SIM.


Sgancio cassetto SIM Posizionamento connessione SIM
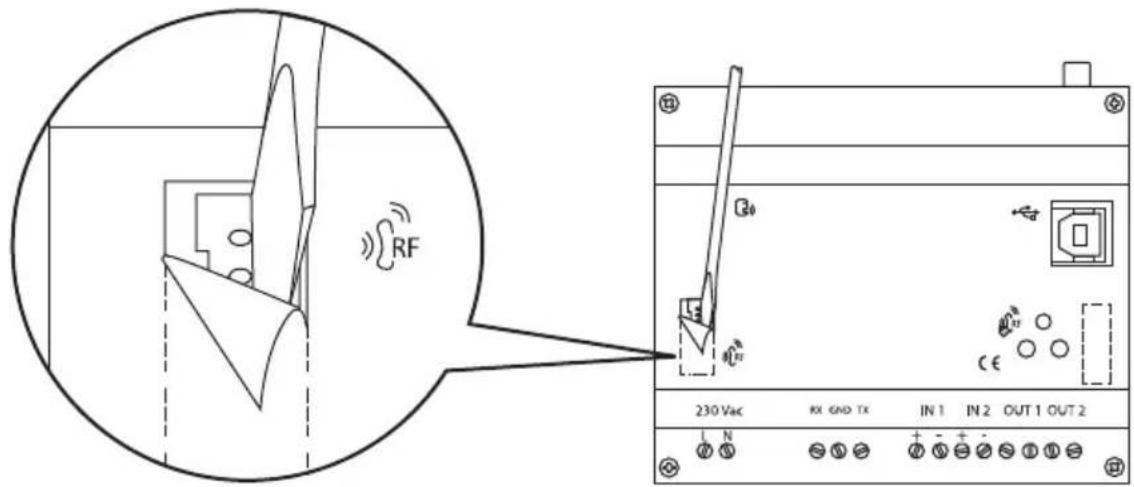
Posizionamento e connessione antenna
Fare attenuation a posizionare l'antenna del remotizzatore:
- lontana da agli eventuale fonte di disturbo elettromagnetico, come ad esempio contatori elettrici, motori elettrici, dimmer, lampade fluorescenti;
- fuori da quadri elettrici o armadi metallici;
non coperta da pannelli metallici o in loro vicinanza; - in una zona asciutta (il contentatore dell'antenna non è stagno);
- in unosto protetto, per evitare che venga danneggiata accidentamente o intenzionalmente.
L'antenna cui essere fissata su una parete o supporto liscio mediante le strisce biadesive incluse nella confezione.
Per agevolare il posizionamento dell'antenna, il remotizzatore è fornito con una prolonga d'antenna di 1,5 m. Questa prolonga deve essere usata solo se necessaria.
Collegare l'antenna avvitando il suo cavo al connettore SMAippo nella parte superiore del remotizzatore. Avvitare a mano, alla I'uso di attrezzi, per evitare di danneggiare il connettore.

Messa in servizio
Dopo aver alimentato il dispositivo, il LED di segnalazione stato dispositivo inizia a lampeggiareindicando che è in corso la fase di initiazizzazione del modulo GSM.
Dopo circa 30 secondi il LED rimane acceso verde fisso: quello segnala che il dispositivo è stato inizializzato correttamente.
Se il LED di segnalazione stato del modulo GSM si accende verde significa che la rete GSM dell'operaore è disponibile; se si accende grosso fisso significa che il segnale GSM non è sufficiente.
PROGRAMMAZIONE
Modalità di configurazione
Il remotizzatore può essere configurato con un PC, collegato al disposittivo mediente un cavo USB e munito del software di configurazione, oppure con un Telefono cellulare mediente l'invio di SMS.
La prima modalità è quella consigliata durante la prima installatione configurazione, nella seconde risulta particolarmente utile quando si deve modificare la configurazione del remotizzatore da remoto.
Per il correto funzionamento del remotizzatore si devono configurare:
- Password di accesso.
2.Numero Telefonico di default per risposta - Numeri Telefonici (opzionali)abilitati al commande dell'impianto antifurto o alla modifica dei parametri
- Abilitazione interface presenti
- Ingressi locali: evento di attivazione, testo del messaggio relativo all'evento, numero Telefono destinatario SMS (solo se diverso da quello di default).
- Uscite locali: tipo di funzionamento (impulsivo, bistabile, temporizzato), durata della chiusura dei contatti (solo in caso di funzionamento impulsivo o temporizzato), testo del messaggio di conferma.
- Interfacc RF: condizioni invio SMS, testo del messaggio, numero Telefono destinatario SMS (solo se diverso da quello di default).
Password
La password serve al remotizzatore per identificare il chiamante prima di eseguire le istruzioni ricevute via SMS. La password è costituita da 4 caratteri alfanumerici, scelti a piacere dall'utente tra 0...9, a...z, A...Z.
Il remotizzatore riconosce la differenza tra lettere maiuscole e lettere minuscole, pertanto "ab12" è diverso da "AB12". Per la memorizzazione della password si veda il paragrafo Impostazioni di base.
Configurazione con PC
COLLEGAMENTO PC - REMOTIZZATORE

Nella fase di configurazione da PC il remotizzatore deve essere alimentato da rete.
USO DEL SOFTWARE DI CONFIGURAZIONE
Il software per la configurazione del dispositivo tramite PC è scaricabile dal site Internet www.gewiss.com all'interno della categoria del Remotizzatore GSM con I/O e linea seriale GW 90 821.
Il manuale d'uso del software è disponibile insieme al software stesso.
Interazione e configurazione via SMS
Il remotizzatore accetta comandi ed interrogazioni via SMS verso il dispositorio o i sistemi adesso collegati. I comandi sono sempre ricevuti dal remotizzatore salvo inserimento della password, independentemente dal numero chiamante e dal fatto cheesso sua visibile o nascosto. Fanno eccezione i comandi di configurazione e quelli sull'impianto antifurto, che richiedono che il numero chiamante sa visibile e apparente all'elenco dei numeri di Telefono memorizzati nella SIM nelle posizioni di memoria predefinite (si veda il paragrafo Configurazione di base).
Queste le principali regole da seguire nella composizione degli SMS:
Il remotizzatore riconosce la differenza tra lettere maiuscole e minuscole negli SMS (scrivere "p" non è come scrivere "P"). Le lettere di tutti i comandi e impostazioni devono essere maiuscole.
STRUTTURA DELL'SMS INVIATO
Gli SMS iniziato con un punto ("." seguito alla password (si veda il paragrafo Password), da un punto, dal commando e da un'alto punto. Non sono ammessi spazi tra i punti e la password o il dato.
Sintassi:.password.comando.
Esempi di SMS corretti: .AB01.SGE00-0.
.AB01.P241-Pompa acqua ferma.
Esempi di SMS errati: .AB01. SGE00-0.
.AB01.SGE00-0.
COMANDI MULTIPLI
Con un singolo SMS si possono inviare più comandi separati tra loro da un punto (.".). L'SMS non deve superare i 480 caratteri.
Sintassi:.password.comando1.comando2.comando3.comando4.
Esemblio: .AB01.CAL01-1.CAR05-1.CCSS01-M-15,5.CAF00T.
TESTI PERSONALIZZATI
I testi personalizzati dei messaggi di risposta non possono superare i 24 caratteri, spazi compresi, e non devono contentere punti (""). Sono consentiti gli altri caratteri di punteggiatura.
Esempio di testo corretto: Cronotermostato mare
Esempi di testo errati: Cronotermostato villa mare (testo troppo lungo), Cronoterm. villa mare (punto nel testo)
NUMERIDI TELEFONO
I numero di Telefono devono essere inserti nella spazi o trattini di separazione. Occorre far precedere il numero dal preferso internazionale nella forma +prefisso (per l'Italia +39). Il Telefono corrispondente al numero inserto delve essere in grado di ricevere SMS.
I numeri memorizzati nel remotizzatore per l'invio di SMS devono essere nel formato internazionale corrispondente allo Stato in cui il remotizzatore viene installato.
Il remotizzatore riconosce il numero del mittente dell'SMS solo se è nella stesse lavorato del numero memorizzato nella scheda SIM.
Esempi di numero errati: +39 035 94611 (spazi), 338-55523 (trattino separatore e predisso internazionale mancante)
Esempi di numeri corretti: +3903594611, +3933855523
Nell'inviare gli SMS di risposta il remotizzatore segue queste regole:
- Le risposta a comandi e interrogazioni di stato vengono inviate al numero chiamante, se è visible, oppure al numero di default (vedere Configurazione di base) seesso è nascosto.
Gli SMS inviati in modo autonomo dal remotizzatore, ad esempio gli allarmi e la commutazione di ingressi, vengono inviati al numero impostato per lo specifico evento o, in sua mancanza, al numero di default.
Configurazione di base
Per motivi di sicurezza, alcune impostazioni non possono essere effettuate via SMS ma devono essere eseguite con un Telefono cellulare direttamente sulla SIM che verrà installata nel remotizzatore oppure programmatetramite il software.
Per impostare quosti parametri da Telefono cellulare fare quanto segue:
- Inserire in un Telefono cellulare la SIM che verrà usata, dopo averla eventualmenteolta dal remotizzatore. Fare riferimento al manuale d'uso del Telefono cellulare per i dettagli dell'operazione.
- Memorizzare nella rubrica della SIM, usando tastiera e display del Telefono cellulare, i parametri elencati nella seguente tabella
| Posizione memoria SIM | Descrizione | Nome contatto su SIM | Numero contatto su SIM (1) |
| 1 Password (4 caratteri alfanumerici) Password – | |||
| 2Numero di default per risposta – n. Telefono | |||
| 3 | Numero 1 per controlled antifurto e modifica configurazione via SMS | - | n. Telefono |
| 4 | Numero 2 per controllo antifurto e modifica configurazione via SMS | - | n. Telefono |
| 5 | Numero 3 per controllo antifurto e modifica configurazione via SMS | - | n. Telefono |
| 6 | Numero 4 per controllo antifurto e modifica configurazione via SMS | - | n. Telefono |
| 7 | Numero 5 per controllo antifurto e modifica configurazione via SMS | - | n. Telefono |
(1) Per il formato di inserimento dei numeri di Telefono nella scheda SIM si veda il paragrafo Numeri di Telefono.
Su tutti i numero impostati per il controllo dell'impianto antifurto verranno inviati i messaggi di segnalazione di allarme.
Per memorizzare i dati nella SIM fare quando segue:
a) selezionare la posizione di memoria occorrente;
b) lasciare vuoto il "nome contatto", tranne che nel caso della password in cui va inserita la password scelta;
c) insere il numero di Telefono nel "Numero contatto" (la password non richiede nessun numero di Telefono; eventuali dati dei Telefono vengono ignorati).
Prima di procedere alla memorizzazione dei numeri e della password nella SIM si consiglia di cancellare tutti i contatti presenti nella scheda, per esser sicuri che i numeri inserti vengano memorizzati nelle celle di memoria elencate.
Prima di modificare i numeri di Telefono memorizzati nella SIM o la password è necessario togliere l'alimentazione al remotizzatore per fare in modo che al riavvio i nuovi dati vengano trasferiti nella memoria interna del dispositivo.
È possibile omettere i numero di Telefono per il dato dell'antifurto (posizioni di memoria da 3 a 7) se non è presente l'interfaccia remotizzatatore GSM RF antifurto (GW 90 823). In quello caso la configurazione dei parametri da SMS più essere fattà solo dal numero di Telefono di default.
3. Togliere la SIM dal Telefono cellulare e insertirla nel remotizzatore come illustrato nel paragrafo Inserimento SIM.
ATTENZIONE: Se la configurazione viene eseguita da software i dati vengono automaticamente memorizzati nelle posizioni elencate in tabella, sovrascrivendo eventuali informazioni presenti nella SIM.
Configurazioni via SMS
I parametri che seguono devono essere configurati via SMS. L'SMS è accettato solo se proviene da un numero chiamante in chiaro che corrisponde ad uno dei numeri memorizzati nella SIM (Numero di default e numero abilitati alla configurazione dei parametri). Il valore sottolineato indica il valore di default.
CONFIGURAZIONE GENERALE
| Comando Descrizione | |
| P200-1 Invia copia dei messaggi ancche sul numero di Telefono di default | |
| P200-0 Non invia copia dei messaggi ancche sul numero di Telefono di default | |
| P201-1 Non usato | |
| P201-0 Non usato | |
| P202-1 Interfaccia RF presente | |
| P202-0 Interfaccia RF non presente | |
| P203-1 Interfaccia RF Antifurto presente | |
| P203-0 Interfaccia RF Antifurto non presente | |
CONFIGURAZIONE INGRESSI LOCALI
| Comando Descrizione | |
| P240-0 INP1: condizione | invio SMS: ricezione “OFF” |
| P240-1 INP1: condizione | invio SMS: ricezione “ON” |
| P240-2 INP1: condizione | invio SMS: ricezione “ON” e “OFF” |
| P240-3 INP1: invio SMS solo su richiesta | |
| P241-testo INP1: testo del messaggio SMS per riscione “ON” | |
| P242-testo INP1: testo del messaggio SMS per riscione “OFF” | |
| P243-telefono | Numero di telefono a cui vengono inviati gli SMS dell'ingresso locale 1 |
| P250-0 INP2: condizione | invio SMS: ricezione “OFF” |
| P250-1 INP2: condizione | invio SMS: ricezione “ON” |
| P250-2 INP2: condizione | invio SMS: ricezione “ON” e “OFF” |
| P250-3 INP1: invio SMS solo su richiesta | |
| P251-testo INP2: testo del messaggio SMS per riscione “ON” | |
| P252-testo INP2: testo del messaggio SMS per riscione “OFF” | |
| P253-telefono | Numero di telefono a cui vengono inviati gli SMS dell'ingresso locale 2 |
CONFIGURAIZIONE USCITE LOCALI
| Comando Descrizione | |
| P280-0 OUT1: modalità commutazione bistabile | |
| P280-1 OUT1: modalità commutazione impulsiva | |
| P280-2 OUT1: modalità commutazione temporizzata | |
| P281-0 | OUT1: durata 1 [bistabile: NA; impulsiva = 300ms; temporizzata = 30sec] |
| P281-1 | OUT1: durata 2 [bistabile: NA; impulsiva = 500ms; temporizzata = 60sec] |
| P281-2 | OUT1: durata 3 [bistabile: NA; impulsiva = 800ms; temporizzata = 5 min] |
| P281-3 | OUT1: durata 4 [bistabile: NA; impulsiva = 1 sec; temporizzata = 10 min] |
| P281-4 | OUT1: durata 5 [bistabile: NA; impulsiva = 2 sec; temporizzata = 30 min] |
| P281-5 | OUT1: durata 6 [bistabile: NA; impulsiva = 5 sec; temporizzata = 1 h] |
| P281-6 | OUT1: durata 7 [bistabile: NA; impulsiva = 10 sec; temporizzata = 2 h] |
| P282-testo OUT1: testo del messaggio SMS di conferma | |
| P290-0 OUT2: modalità commutazione bistabile | |
| P290-1 OUT2: modalità commutazione impulsiva | |
| P290-2 OUT2: modalità commutazione temporizzata | |
| P291-0 | OUT2: durata 1 [bistabile: NA; impulsiva = 300ms; temporizzata = 30sec] |
| P291-1 | OUT2: durata 2 [bistabile: NA; impulsiva = 500ms; temporizzata = 60sec] |
| P291-2 OUT2: durata 3 [bistabile: NA; impulsiva = 800ms; temporizzata = 5 min] | |
| P291-3 OUT2: durata 4 [bistabile: NA; impulsiva = 1 sec; temporizzata = 10 min] | |
| P291-4 OUT2: durata 5 [bistabile: NA; impulsiva = 2 sec; temporizzata = 30 min] | |
| P291-5 OUT2: durata 6 [bistabile: NA; impulsiva = 5 sec; temporizzata = 1 h] | |
| P291-6 OUT2: durata 7 [bistabile: NA; impulsiva = 10 sec; temporizzata = 2 h] | |
| P292-testo OUT2: testo del messaggio SMS di conferma | |
CONFIGURAIZIONE CRONOTERMOSTATO/PROGRAMMATORE ELETTRONICO
| Comando Descrizione | |
| P710-0 Nessun dispositivo | seriale collegato |
| P710-1 | Dispositivo serialle collegato = cronotermostato (GW 1X 701, GW 1X 703, GW 1X 841) |
| P710-2 Dispositivo serialle | collegato = programmatatore elettronico (GW 1X 581) |
| P711-testo Denominazione del dispositivo serialle collegato | |
CONFIGURAZIONE INGRESSI RF
| Comando Descrizione | |
| P300-0 INP_RF1: condizione invio SMS: ricezione “ON” | |
| P300-1 INP_RF1: condizione invio SMS: ricezione “OFF” | |
| P300-2 INP_RF1: condizione invio SMS: ricezione “ON” e “OFF” | |
| P300-3 INP_RF1: invio SMS solo su richiesta | |
| P301-testo INP_RF1: testo del messaggio SMS per ricezione “ON” | |
| P302-testo INP_RF1: testo del messaggio SMS per ricezione “OFF” | |
| P303-telefono | Numero di telefono a cui vengono invariati gli SMS dell'ingresso RF 1 |
| P310-0 INP_RF2: condizione invio SMS: ricezione “ON” | |
| P310-1 INP_RF2: condizione invio SMS: ricezione “OFF” | |
| P310-2 INP_RF2: condizione invio SMS: ricezione “ON” e “OFF” | |
| P310-3 INP_RF2: invio SMS solo su richiesta | |
| P311-testo INP_RF2: testo del messaggio SMS per ricezione “ON” | |
| P312-testo INP_RF2: testo del messaggio SMS per ricezione “OFF” | |
| P313-numero Telefonico | Numero di Telefono a cui vengono invariati gli SMS dell'ingresso RF 2 |
| Comando Descrizione | |
| P320-testo OUT_RF1: testo del messaggio SMS di conferma | |
| P330-testo OUT_RF2: testo del messaggio SMS di conferma | |
| P340-testo OUT_RF3: testo del messaggio SMS di conferma | |
| P350-testo OUT_RF4: testo del messaggio SMS di conferma | |
| P360-testo OUT_RF5: testo del messaggio SMS di conferma | |
| P720-0 Dispositivo cronotermostato RF bidirezionale non collegato | |
| P720-1 Dispositivo cronotermostato RF bidirezionale collegato | |
| P721-testo | Denominazione del cronotermostato RF bidirezionale utilizzato |
CONFIGURAzione IMPIANTI ANTIFURTO
| Comando Evento | |
| P760-testo Testo del messaggio SMS in caso di evento manomissione | |
| P761-testo Testo del messaggio SMS in caso di allarme antifurto | |
| P762-testo Testo del messaggio SMS in caso di evento anomalia | |
| P763-testo Testo del messaggio SMS in caso di allarme panico | |
| P764-testo | Testo del messaggio SMS in caso di memoria allarme antifurto |
| P765-testo Testo del messaggio SMS in caso di memoria manomissione | |
| P766-testo Testo del messaggio SMS in caso di memoria anomalia | |
| P767-testo Centrale insertita | |
| P768-testo Centrale disinserita | |
| P769-testo Centrale pronta | |
| P770-testo Centrale non pronta | |
RICHIESTA CONFIGURAZIONE
| Comando Descrizione | |
| R200 Invia SMS con le impostazioni generali | |
| R220 Non usato | |
| R240 Invia SMS con le impostazioni degli ingressii locali | |
| R280 Invia SMS con le impostazioni delle uscite locali | |
| R300 Invia SMS con le impostazioni degli ingressii RF | |
| R320 Invia SMS con le impostazioni delle uscite RF | |
| R700 Invia SMS con le impostazioni della termoregolazione | |
| R750 Invia SMS con le impostazioni dell'impianto antifurto |
Collaudio
Al termine dell'installazione e configurazione del remotizzatore provare le principali funzioni implementate per verificare il corretto funzionamento.
Gestione da remoto via SMS
I comandi per interagire da remoto, via SMS, con i vari ingressi, uscite e sistemi connessi sono elencati nelle tabelle che seguono.
| Comando Descrizione | |
| CAL01-1 Attiva relè uscita 1 | |
| CAL01-0 Disattiva relè uscita 1 (e termine eventuale temporizzazione in corso) | |
| CAL02-1 Attiva relè uscita 2 | |
| CAL02-0 Disattiva relè uscita 2 (e termine eventuale temporizzazione in corso) |
COMANDI USCITE SOTTOSISTEMA RF
| Comando Descrizione | |
| CAR01-1 Attiva relè uscita RF 1 | |
| CAR01-0 | Disattiva relè uscita RF 1 (se relè configurato come bistabile e termine eventuale disattivazione) |
| CAR02-1 Attiva relè uscita RF 2 | |
| CAR02-0 | OUT_RF2: Disattivazione relè (solo se attuatore configurato come bistabile e termine eventuale disattivazione) |
| CAR03-1 Attiva relè uscita RF 3 | |
| CAR03-0 | OUT_RF3: Disattivazione relè (solo se attuatore configurato come bistabile e termine eventuale disattivazione) |
| CAR04-1 Attiva relè uscita RF 4 | |
| CAR04-0 | OUT_RF4: Disattivazione relè (solo se attuatore configurato come bistabile e termine eventuale disattivazione) |
| CAR05-1 Attiva relè uscita RF 5 | |
| CAR05-0 | OUT_RF5: Disattivazione relè (solo se attuatore configurato come bistabile e termine eventuale disattivazione) |
COMANDI PER PROGRAMMATORE ELETTRONICO (SERIALE)
| Comando Descrizione | |
| COP01-A Attiva modalità | AUTO |
| COP01-0 (1) Attiva modalità | lità OFF |
| COP01-1 Attiva modalità | MAN con uscita ON |
| COP01-0 Attiva modalità | MAN con uscita OFF |
(1) L'ultimo carattere è una "O" maiuscola.
COMANDI PER CRONOTERMOSTATI CON SERIALE
| Comando Descrizione | |
| CCS01-H Imposta il tipo di funzionamento RISCALDAMENTO | |
| CCS01-C Imposta il tipo di funzionamento CONDIZIONAMENTO | |
| CCS01-0 (1) Imposta la modalità OFF | |
| CCS01-A Imposta la modalità AUTO | |
| CCS01-1 Imposta la modalità MANUALE con temperature T1 | |
| CCS01-2 Imposta la modalità MANUALE con temperature T2 | |
| CCS01-3 Imposta la modalità MANUALE con temperature T3 | |
| CCS01-M-temperatura | Imposta la modalità MANUALE, specificando la temperature da mantenere, con risoluzione di 0,5° e vir-gola separatrice. Es. 18,0 oppure 21,5. |
(1) L'ultimo carattere è una "O" maiuscola.
COMANDI PER CRONOTERMOSTATO RF BIDIREZIONALE
| Comando Descrizione | |
| CCR01-H Imposta il tipo di funzionamento RISCALDAMENTO | |
| CCR01-C Imposta il tipo di funzionamento CONDIZIONAMENTO | |
| CCR01-0 (1) Imposta la modalità OFF | |
| CCR01-A Imposta la modalità AJTO | |
| CCR01-1 Imposta la modalità MANUALE con temperatura T1 | |
| CCR01-2 Imposta la modalità MANUALE con temperatura T2 | |
| CCR01-3 Imposta la modalità MANUALE con temperatura T3 | |
| CCR01-M-temperatura | Imposta la modalità MANUALE, specificando la temperatura da mantenere, con risoluzione di 0,5° e virgola separatrice. Es. 18,0 oppure 21,5. |
(1) L'ultimo carattere è una "O" maiuscola.
COMANDI PER ANTIFURTO RF
| Comando Descrizione | |
| CAF00-T Attiva l'antifurto (tutte) | le zone) |
| CAF00-0 Disattiva l'antifurto | |
| CAF00-1 Attiva l'antifurto per la | zona 1 |
| CAF00-2 Attiva l'antifurto per la | zona 2 |
| CAF00-A Abilita la notificata di inserimento/disinserimento della centrale antifurto | |
| CAF00-D Disabilita la notificata di inserimento/disinserimento della centrale antifurto | |
COMANDI DI RICHIESTA STATO
| Comando Descrizione | |
| SGE00-0 Richiesta di stato per tutti gli I/O e i dispositivi gestiti | |
| SGE00-1 Richiesta di stato per gli I/O locali e il sottosistema RF | |
| SGE00-2 Richiesta di stato per i cronotermostati e il programmatatore elettronico | |
| SGE00-3 Richiesta di stato per l'impianto antifurto |
Indicazioni locali
Sul remotizzatore, frontalmente, sono posti 2 LED per segnalare lo stato di funzionamento del disposativo.
LED di segnalazione stato dispositivo
LED acceso fisso nessuna anomalia
LED lampeggiante configurazione dispositivo in corso
- anomalia (SIM non pronta, SIM protetta da codice PIN...)
LED di segnalazione stato modulo GSM
LED acceso (rosso) rete GSM assente
LED accesso (giallo) elaborazione di un SMS ricevuto
Comandi locali
Premendo il pulsanteippo frontalmente sul remotizzatore si commuta lo stato dei contatti di entrambi i relle locali nel seguente modo:
Funzionamento in caso di blackout
In caso di blackout il remotizzatore invia un SMS per segnalare la mancanza di tensione di rete e ne invia un altro quando ritorna per segnalre il ripristino. Durante il blackout il remotizzatore continua ad essere alimentato delle batterie di backup: non è in grado di ricevere SMS ma può inviare gli SMS di segnalazione che provengono dall'impianto antifurto (se è presente l'interfaccia GSM RF antifurto).
Il numero di SMS che il remotizzatore può inviare quando è alimentato delle batterie di backup dipende alla capacité delle batterie inserte, dal loro stato di carica iniziale, dal tempo trascorso dall'inizio del blackout e dal numero di messaggi più inviati. A solo titolo di esempio il remotizzatore, con le batterie consiggliate (800 mAh) a piena carica, ha un'autonomia di 7 giorni o 7 SMS (6 d'allarme più 1 di segnalazione di mancanza di tensione di rete).
Pulizia del remotizzatore
Per un'eventuale pulizia adoperare un panno asciutto.
Sostituzione batterie
Le batterie di backup non necessitano di sostituzione. Nel caso dovessero essere sostituite fare riferimento al paragrafo Inserimento batterie. Le nuove batterie ricaricabili devono essere di tipo NiMh, fornato AAA.

ATTENZIONE
- La sostituzione delle batterie deve essere fatta esclusivamente dall'instrumento后再o aver molto la tensione di rete. L'interruzione dell'alimentazione di rete cancellaanche la segnalazione "SOSTITUIRE BATTERIE".
- Sostituire tutte 3 le batterie contemporaneamente.
- Nonutilizzare insieme batterie vecchie e nuove.
- Utilizzare batterie dello stesso tipo (non mischiare batterie con capacità diverse).
- Non gettare le batterie nel fuoco.

- Le batterie sono rifiuti speciali, il cui smaltimento è regolamenti da precise predispositione di legge, e devono essere conferiteagli apposti centri di raccolta.
Ricarica SIM
Nel caso si utilizzizi una SIM prepagata occorre garantire che ci sua sempre un credito sufficiente per l'invio dei messaggi di allarme e di risconto da parte del remotizzatore.
Per le procedure di ricarica, di controllo del credito residuo e per l'eventuale attivazione del servizio di autoricarica fare riferimento alle procedure adottate dal gestore di telecomia mobile prescelto.
Comunicazione remota Attraverso rete GSM
Elementi di comunicazione 1 modulo GSM quadband
Alimentazione 230V ac + 3 batterie ricaricabili NiMh AAA di backup
(capacità consigliata 800 mAh o superiore)
Potenza assorbita 2 W
Elementi di lavoro 1 pulsante di commutazione stato uscite
Elementi di visualizzazione 1 LED multifunzione rosso/verde/giallo per segnalazione stato
modulo GSM
1 LED grosso per segnalazione stato dispositivo
Elementi di attuazione
2 relè 10 A con contatto NA libero da potenziale
Durata chiusura configurable da 300 ms a 2 h
Contatto di uscita
2 NA da 10 A (AC1) / 4 A (AC15) - 250 Vac
Ingressi
2 da 12V ac/dc ÷ 250 V ac
Durata minima impulso 500 ms
Ambiente di utilizzo
Interno, luoghi asciutti
Temperatura di funzionamento
-5÷+45℃
Temperatura di stoccaggio
-25÷+70°C
Umidità relativa
Max 93% (non condensante)
Connessione PC
1 porta USB di tipo B
Connessione interfaccia RF commande e controlo
1 connettore 4 vie
Connessione interfaccia RF antifurto
1 connettore 6 vie
Connessione serialie
Morsetti a vite, sezione max cavi: 2,5 mm²
Connessioni elettriche
Lunghezza max: 20m
Grado di protezione
Dimensione
Morsetti a vite,sezione max cavi 2,5mm^2
Riferimenti normativi
IP20
6 moduli DIN
Direttiva bassa tensione 72/23/CE
Direttiva compatibilità elettromagnetica 89/336/CEE
ETSI EN301 489-7, ETSI EN301 511
Valori preimpostati
Abilitazione funzione messaggio copia 0 = nessun dispositivo collegato
OPZIONI BASE
| Abilitazione interfaccia RF lavoro e controllo GW 90 822 0 = no | |
| Abilitazione interfaccia RF antifurto GW 90823 0 = no | |
| Testo conferma commutazione uscite ESEGUITO | |
| Testo di notifica mancanza alimentazione ASSENZA RETE 230 V | |
| Testo di notifica ripristino alimentazione RETE 230 V OK | |
| Testo di richiesta sostituzione batterie SOSTITUIRE BATTERIE |
SIM
| Password (4 caratteri alfanumerici) 0000 |
I/O LOCALI
| Condizione di invio SMS per l'ingresso 1 1 = invio su riscizione ON | |
| Testo del messaggio SMS per riscizione “ON” INGRESSO 1=ON | |
| Testo del messaggio SMS per riscizione “OFF” INGRESSO 1=OFF | |
| Condizione di invio SMS per l'ingresso 2 1 = invio su riscizione ON | |
| Testo del messaggio SMS per riscizione “ON” INGRESSO 2=ON | |
| Testo del messaggio SMS per riscizione “OFF” INGRESSO 2=OFF | |
| Modalità commutazione relè 1 0 = Commutazione bistabile | |
| Testo del messaggio SMS di conferma OUT1 | |
| Modalità commutazione relè 2 0 = Commutazione bistabile | |
| Testo del messaggio SMS di conferma OUT2 |
TERMOREGOLAZIONI
| Dispositivo seriale collegato 0 = nessun dispositivo collagenato | |
| Denominazione del dispositivo seriale collegato CRONOTERMOSTATO |
RF COMANDO E CONTROLLO
| Condizione di invio SMS per l'ingresso 1 1 = invio su riscizione ON | |
| Testo del messaggio SMS per riscizione “ON” INGRESSO RF1=ON | |
| Testo del messaggio SMS per riscizione “OFF” INGRESSO RF1=OFF | |
| Condizione di invio SMS per l'ingresso 2 1 = invio su riscizione ON | |
| Testo del messaggio SMS per riscizione “ON” INGRESSO RF2=ON | |
| Testo del messaggio SMS per riscizione “OFF” INGRESSO RF2=OFF | |
| Uscita 1: Testo del messaggio SMS di conferma OUT_RF1 | |
| Uscita 2: Testo del messaggio SMS di conferma OUT_RF2 | |
| Uscita 3: Testo del messaggio SMS di conferma OUT_RF3 | |
| Uscita 4: Testo del messaggio SMS di conferma OUT_RF4 | |
| Uscita 5: Testo del messaggio SMS di conferma OUT_RF5 | |
| Dispositivo cronotermostato RF bidirezionale collegato 0 = no | |
| Denominazione del cronotermostato RF bidirezionale collegato CRONOTERMOSTATO | |
ANTIFURTO
| Messaggio evento manomissione MANOMISSIONE | |
| Messaggio evento allarme ALLARME ANTIFURTO | |
| Messaggio evento anomalia ANOMALIA ANTIFURTO | |
| Messaggio di allarme panico | ALLARME PANICO |
| Messaggio di memoria allarme | MEMORIA ALLARME |
| Messaggio di memoria manomissione | MEMORIA MANOMISSIONE |
| Messaggio di memoria anomalia | MEMORIA ANOMALIA |
| Messaggio per "centrale inserita" | CENTRALE INSERTITA |
| Messaggio per "centrale non inserita" | CENTRALE DISINSERITA |
| Messaggio per "centrale pronta all'insertimento" CENTRALE PRONTA | |
| Messaggio per "centrale non pronta all'insertimento" | CENTRALE NON PRONTA |
CONTENTS
GENERAL WARNINGS

Ritagliere ripiegare in quattro la presente guida per poter averere sempre con se l'elenco dei comandi più usati
Comando Descrizione
Comandi relè locali
CAL01-1 Attiva relle uscita 1
CALU-0 Disattiva teile uscita 1 (teiime eventuale temporizzazione in corso)
CAL02-0 Disattiva relle uscita 2 (e termine eventuale temporizzazione in corso)
Comandi per programmatore elettronico seriale
COP01-A Attiva modalità AUTO
COP01-1 Attiva modalità MAN con eccita ON
COP01-0 Attiva modalità MAN con uscita OFF
(1) L'ultimo carattere è una "0" maiuscola.
Comandi uscite RF
CAR01-T Attiva reile uscita RF 1
CAROT-0 Disativatve Tele uscita HF-1 (Se Tele confluqatio come distabile) CAP92.1 Atturol radii vucite PE 2
CAR02-0 OUT RF2: Disattivazione relè (solo se attuatore configurato come bistabile)
CAR03-1 Attiva relè uscita RF 3
CAR03-0 OUT_RF3: Disattivazione relle (solo se attuatore configurato come bistabile)
CAR04-1 Attiva reile uscita RF 4
CAR04-0 10U RF4: Disattivazione rele (solo se attuatore configurato come bistabile)
CAR05-0 OUT RF5: Disattivazione relie (solo se attuatore configurato come bistabile)
SGE00-3 Richiesta di stato per l'impiano antifurto
SGE00-2 Richiesta di stato per i cronotermostati e il programmatore elettronico
SE002-1 Richiostepo stato per i cronotermastati e il programmatore elettricno
(1)L'ultimo carattere e una "O" maiuscola.
(1) L'ultimo carattere è una "0" maiuscola.
Comandi per cronotermostato RF
CCR01-H Imposta il tipo di funzionamento RISCALDAMENTO
CCR01-C Imposta il tipo di funzionamento CONDIZIONAMENTO
CCR01-0 (1) Impoesta la modalita OFF
CCR01-A Imposta la modalità AUTO
CCR01-1 Impostà la modalità MANUALE con temperatura T1
CCB01-2 Imposta la modalità MANUAL E cop temperature T2
CAF00-T Attiva l'antifurto (totte le zone)
CAF00-0 Disattiva l'antifurto
CAF00-1 Attiva l'antifurto per la zona 1
CAF00-2 Attiva l'antifurto per la zona 2
Comandi per antifurto
(1) L'ultimo carattere è una "0" maiuscola.
Comandi per antifurto
CCS01-M-tem-peratura Imposta la modalità MANUALE, specificando la temperatura da mantenere, con risoluzione di 0,5^ e virgola separatrice. Es. 18,0 oppure 21,5.
Comando Descrizione

ManualeFacile