DK 4360 - Hotte AEG-ELECTROLUX - Notice d'utilisation et mode d'emploi gratuit
Retrouvez gratuitement la notice de l'appareil DK 4360 AEG-ELECTROLUX au format PDF.
| Caractéristiques techniques | Hotte décorative murale, puissance d'aspiration élevée, éclairage LED intégré, filtre à graisse en aluminium lavable. |
|---|---|
| Dimensions | Largeur : 60 cm, profondeur : 50 cm, hauteur : 90 cm (ajustable). |
| Modes de fonctionnement | Extraction ou recyclage, avec possibilité de filtre à charbon pour le mode recyclage. |
| Niveaux de puissance | 3 niveaux de puissance d'aspiration, plus un mode intensif. |
| Utilisation | Facilité d'utilisation avec des commandes tactiles, indicateur de saturation du filtre. |
| Maintenance | Filtres à graisse lavables en machine, entretien régulier recommandé pour un fonctionnement optimal. |
| Sécurité | Protection contre la surchauffe, conforme aux normes de sécurité électrique. |
| Informations générales | Design moderne, disponible en plusieurs finitions, garantie de 2 ans. |
FOIRE AUX QUESTIONS - DK 4360 AEG-ELECTROLUX
Questions des utilisateurs sur DK 4360 AEG-ELECTROLUX
0 question sur cet appareil. Repondez a celles que vous connaissez ou posez la votre.
Poser une nouvelle question sur cet appareil
Téléchargez la notice de votre Hotte au format PDF gratuitement ! Retrouvez votre notice DK 4360 - AEG-ELECTROLUX et reprennez votre appareil électronique en main. Sur cette page sont publiés tous les documents nécessaires à l'utilisation de votre appareil DK 4360 de la marque AEG-ELECTROLUX.
MODE D'EMPLOI DK 4360 AEG-ELECTROLUX
Notice d'utilisation
User manual
Dunstabzugshaube
Afzuigkap
Hotte
Cooker Hood
Pour les apparèils commerciales par la France
Lors de sa fabrication, cet apparéil a été construit selon des normes, directives et/ou décrets pour une utilisation sur le territoire français.
Pour la sécurité des biens et des personnes ainsi que pour le respect de l'environnement, vous doivent d'abord dire impérativement les préconisations suivantes avant toute utilisation de votre apparéil.
Pour éviter tout risque de détérioration de l'appareil, transportez-le dans sa position d'utilisation muni de ses cales de transport (selon modele).
Au déballage de celui-ci, et pour empêcher des risques d'asphyxie et corporel, tenez les matériaux d'emballage hors de la portée des enfants.
Pour éviter tout risque (mobilier, immobilier, corporel,...), l'installation, les raccordements (eau, gaz, électricité, évacuation selon modèle), la mise en service et la maintenance de votre apparéil doivent être effectuées par un professionnel qualifié.
Votre apparéil a été concu pour être utilisé par desadultes. Il est destiné à un usage domestique normal. Ne l'utilisez pas à des fins commerciales ou industriielles ou pour d'autres buts que ceux pour lesquels il a été concu. Vous éviterez ainsi des risques matériel et corporel.
Débranchez vous appeareil avant toute opération de nettoyage manuel. N'utilise que des produits du commerce non corrosifs ou non inflammables. Toute projection d'eau ou de vapeur est proscrite pour écarter le risque d'électrocution.
Si votre apparéil est équipé d'un éclairage, débranchez l' apparéil avant de procédé au changement de l'ampoule (ou du néon, etc.) pour éviter des sélectrocuter.
Afin d'empêcher des risques d'explosion et d'incendie, ne placez pas de produits inflammables ou déléments imbibés de produits inflammables à l'intérieur, à proximate ou sur l'appareil.
Lors de la mise au rebut de votre apparéil, et pour écarter tout risque corporel, mettez hors d'usage ce qui pourraitprésenter un danger: coupez le cable d'alimentation au ras de l' apparéil.
Informez-vous auprès des services de votre commune des endroits autorisés pour la mise au rebut de l'appareil.
Veuillez maintainant lore attentivement cette notice pour une utilisation optimale de votre apparéil.
Veuillez tire attentivement cette notice d'utilisation et notamment le chapitre « Sécurité » que vous trouvrez dans les premières pages. Conservez cette notice d'utilisation pour pouvoir la consulter ultérieurement. Transmettez-la à l'eventuel prochain propriété de l'appareil.
Mise au rebut
Mettre au rebut les matériaux d'emballage
- Tous les emballages sont recyclables, les films et les mousse sont marqués en conséquence. Veuillez mette au rebut les matériaux d'emballage et eventuelslement l'appareil usage selon les règles en viqueur.
- Respectez les prescriptions nationales et régionales et le marquage des matériaux (tri des matériaux, ramassage des déchets, déchetteries).
Consignes de mise au rebut
L'appareil ne doit pas etre jetec avec les ordures menagères.
- Renseignez-vous auprès des services de votre commune des endroits autorisés pour la mise au rebut de l'appareil.
- Attention! Rendez inutilisable l'appareil usage avant de leMETRE au rebut. Coupelez cable d'alimentation au ras de I'appareil.
Sommaire
Consignes de sécurité 37
Généralités 39
Version évacuation extérieure 39
Versionrecyclage 39
Utilisation de la hotte 40
Entretien 41
Filtre a graisse 41
Filtre a charbon 42
Remplacement de I'ampoule d'éclairage 43
Nettoyage 43
Accessoires (en option) 43
ServiceAprés-vente 44
Caracteristiques techniques 45
Accessoires/Matériel de montage 45
Branchementelectrique 46
Avant de commencer l'installation 47
Installation de la hotte 48
Cet apparéil doit être installé par une personne qualifiée et selon les normes en vigueur.

Consignes de sécurité
- Le tuyau d'évacuation doit partager le même diamètre que celui de l'ouverture d'évacuation.
Dans le cas où il existe déjà un tuyau d'évacuation de l'air d'un diamètre de 125 mm dans le mur ou sur le toit, on pourrait utiliser le manchon de réduction 150/125 mm. Le bruit de fonctionnement sera un peu plus élevé.
Attention! Le tuyau d'évacuation et les colliers de fixation ne sont pas fournis et doivent être achetés à part.
- La distance minimum entre la superficie de support des recipients sur le dispositif de cuisson et la partie la plus BASSE de la hotte de cuisine ne doit pas etre inférieure a 50cm dans le cas de cusinières électriques et de 65cm dans le cas de cusinières à gaz ou mixtes. Si les instructions d'installation du dispositif de cuisson au gaz spécifique une plus grande distance, il faut en tener compte.
- Avant toute opération de nettoyage ou d'entretien, débrancher la hotte du circuitélectrique en retardant la prise ou en coupant l'interrupteur général de l'habitation.
- L'appareil n'est pas destiné à une utilisation par des enfants ou des personnes à capacités physiques, sensorielles ou mentales réduites et sans experience et connaissance à moins qu'ils ne soient sous la supervision ou formés sur l'utilisation de l'appareil par une personne responsable de leur sécurité.
- Les enfants doivent être surveillés afin qu'ils ne jouent pas avec l'appareil.
- Ne jamais utiliser la hotte sans que la grille ne soit montée correctement!
- La hotte ne doit JAMAIS être utilisée comme plan pour déposer quelles chose sauf si cela est expressément indiqué.
- Quand la hotte est utilisé en même temps que d'autres apparèils à combustion de gaz ou d'autres combustibles, le local doit dispose d'une ventilation suffisante.
- L'air aspiré ne doit jamais être envoyé dans un conduit utilisé pour l'évacuation des fumées produites par des apparèils à combustion de gaz ou d'autres combustibles.
Il est formellement interdit de faire flamber les alimentes sous la hotte. -
L'utilisation de flammes libres peut entraîner des dégats aux filtres et peut donner lieu à des incendies, il faut donc les éviter à tout prix.
-
La friture d'aliments doit être réalisée sous contrôle pour éviter que l'huile surchauffée ne prenne feu.
- En ce qui concerne les mesures techniques et de sécurité à adopter pour l'évacuation des fumées, s'en tener strictement à ce qui est prévu dans les règlements des autorités locales compétentes.
- La hotte doit être régulièrement nettoyée, aussi bien à l'intérieur qu'à l'extérieur (AU MOINS UNE FOIS PAR MOIS, respecter néanmoins les instructions relatives à l'entretien fournies dans ce manuel).
- La non observation de ces normes de nettoyage de la hotte et du changement et nettoyage des filtres comporte des risques d'incendie.
- Ne pas utiliser ou laisser la hotte sans que les ampoules soient correctement placées pour éviter tout risque de choc électrique.
- La société décline toute responsabilité pour d'eventuels inconveniens, dégats ou incendies provoqués par l'appareil et dérivés de la non observation des instructions reprises dans ce manuel.
Cet apparéil porte le symbole du recyclage conformément à la Directive Européenne 2002/96/CE concernant les Déchets d'Équipements Électriques et Électroniques (DEEE ou WEEE).
En procedant correctement à la mise au rebut de cet apparéil, vous contribuerez à empêcher toute conséquence nuisible pour l'environnement et la santé de l'homme.

Le symbole sur le produit ou son emballage indique que ce produit ne peut ettre traite comme dechet menager. Il doit etre remis au point de collecte dedieda cet effet (collecte et recyclage du materiel electrique et electronique).
En procedant à la mise au rebut de l'appareil dans les règles de l'art, nous préservons l'environnement et notre sécurité, s'assurant ainsi que les déchets seronttraités dans des conditions optimum.
Pour obtenir plus de détails sur le recyclage de ce produit, veuilles prendre contact avec les services de votre commune ou le magasin où vous avez effectué l'achat.
Généralités
- La hotte est livrée en version évacuation mais peut, grâce à l'emploi d'un filtré à charbon actif (en option), être utilisée en version recyclage.
- Pour cela, il faudra vous procurer le filtré à charbon actif d'origine (voir Accessoires).
Version évacuation extérieure
- L'air est rejeté à l'air libre par un conduit raccardé sur le tuyau d'évacuation. Fig. 1.
- Pour obtenir des performances optimales lors de l'aspiration, le tuyau d'évacuation doit avoir un diamètre équivalent à celui de l'ouverture d'évacuation.


Fig. 1
Version recyclage
L'air est filtré par un filtré à charbon (en option) et renvoyé dans la piece. Fig. 2
- En version recyclage utilisez le filtré à charbon actif d'origine (voir Accessoires) que vous pourrez vous procurer en option auprès de votre magasin vendeur.

Fig. 2
Utilisation de la hotte
- La hotte aspirante est équipée de vitesses régibles. Il est conseilé de mettre en marche la hotte quelques minutes avant le début de la cuisson et de la laisser fonctionner env. une quinzaine de minutes après la cuisson afin d'éliminer toutes les odeurs.
Le tableau de commandes de la hotte aspirante se trouve sur le devant de l'appareil:

- Interrupteur d'éclairage: Cet interrupteur sert àmettre en fonctionnement ou à l'arrêt l'éclairage dont est équipé la hotte aspirante.
- Interrupteur du moteur : Cet interrupteur sert à la mise en fonctionnement du moteur.
- Vitesse 1: Cet interrupteur sert à la mise en fonctionnement de la 1ère vitesse du moteur.
- Vitesse 2 : Cet interrupteur sert à la mise en fonctionnement de la 2ème vitesse du moteur.
- Vitesse 3: Cet interrupteur sert à la mise en fonctionnement de la 3ème vitesse du moteur.
Entretien
Attention! Veillez a débrancher la hotte du réseau électrique avant toute intervention sur celle- ci.
Filtre àGRAISSE
- Le filtré àGRAISSÉ métallique a pour but de piéger les particules de graissée produites durant la cuisson des alimentés et est utilisé aussi bien durant le fonctionnement en version évacuation qu'en version recyclage.
Le filtré àGRAISSÉ métallique doit être extrait toutes les 4 semaines et lavé soit à la main, soit dans un lave-vaisse.
Ouverture du filtré àGRAISSÉ métallique
- Poussez en arrêté le dispositif d'arrêt du filtré àGRAISSÉ métallique puis sortez le filtré vers le bas. Fig. 3.
Nettoyage à la main
- Laissez tremper la cassette du filtré àGRAISSE métallique durant env. 1 heures dans de l'eau chaude avec un détergent doux puis rincez à l'eau chaude. Remettez en place la cassette soigneusement séchée.
Lave-vaisse
- Placez la cassette du filtré àGRAISSE métallique dans le lavevaisselle.
Vérifiez que la rotation du bras de lavage du lave vaisselle ne puisse pas etre gené par le filtre a graisse.
Lavez avec un programme pour vaisselles très sales et une température d'au moins 65^ . Recommencez eventuellement l'opération. Remettez en place la cassette après sechage.
-
Il se peut qu'il y ait quelques modifications de la teinte de la cassette du filtré àGRAISSSE METALLIQUE lors du passage dans le lavevaisselle, modifications qui n'ont aucune influence sur le fonctionnement de la cassette.
-
Nettoyez l'intérieur du logement de la cassette avec de l'eau chaude contenant du détermgent (n'employez jamais de déterments corrosifs ou de brosses à récuner!).

Fig. 3
Filtre à charbon
- Le filtré à charbon doit être mis en place lorsque la hotte est utilisé en version recyclage.
- Pour cela, il faudra utiliser le filtré à charbon actif d'origine (voir Accessoires).
- Nettoyage/remplacement du filtré à charbon
A la différence d'autres filtres de même type, le filtré à charbon LONG LIFE peut être nettoyé et réutilisé. Le filtré doit être nettoyé tous les deux mois en utilisation normale (en considérant une utilisation moyenne de 2,5 heures par jour). Il est recommandé de nettoyer le filtré dans un lave-vaisselle, à la température maximum. Utiliser un détergent normal. Aucun ustensile menager ne doit être present dans le lave-vaisselle lors du nettoyage du filtré, afin d'éviter tout dépôt de particules d'aliments qui risqueraient de causeur ultérieurement de mauvaises odeurs. Pour reactiver le charbon, il suffit demettre le filtré à secher au four. Régler le four sur chaleur normale, à une température de 100^ , et y laisser le filtré pendant 10 minutes.
Le cadre doit être changé au bout de trois ans environ, car il a alors perdu une bonne partie de sa capacité de détention des odeurs.
- Montage - Fig. 4
Enlevez les filtres àGRAISS. Enlevez le chassin i qui soutient le filtre h en tournant de 90^ les boutons (g) qui le fixent a la hotte.
Introduisez le coussinet de charbon actif à l'intérieur du chassin et remontez le tout à sa place.
Tournez le filtré à charbon dans le sens des aiguilles d'une montre pour le bloquer en position. Remontez les filtres àGRAisse.
- Pour le démontage, procédez dans l'ordre inverse.
- Lors de la commande d'un contrôle de rechange, veuillez préciser la désignation du modele et la referrerce du produit. Ces données sont indiquees sur la plaque signaletique à l'intérieur de l'appareil.
- Vous pouvez commander le filtré à charbon auprès de votre magasin vendeur.

Fig. 4

Attention
-
Il y a risque d'incendie si vous ne respectez pas les instructions concernant le nettoyage de l'appareil et le remplacement ou le nettoyage du contrôle.
-
La responsabilité du constructeur ne peut enaucun cas etre engagée dans le cas d'un endommagement du moteur ou d'incendie liés à un entretien négligé ou au non respect des consignes de sécurité precedemment mentionnées.
Remplacement de l'ampouled'éclairage
- Mettez la hotter hors tension.
- Avant de toucher les ampoules, assurez-vous qu'elles soient complètement refroidies.
- Retirez la protection de l'ampoule avec un tournevis. Fig. 5
- Remplacez l'ampoule defectuese par une ampoule du même type.
- Remontez la protection de l'ampoule.
- Si l'ampoule ne s'allume pas, vérifie qu'elle est correctement installee avant d'appeler le Service Avres-Vente.

Fig. 5
Nettoyage
- Attention: Débranche l'appareil avant le nettoyage.
N'introduisez pas d'objets pointus dans la grille de protection du moteur. - Nettoyz les parties extérieures avec un dédTangent doux.
N'utilise jamais de produits abrasifs ou caustiques, de détergents corrosifs, de brosses ou de sablons à recycler. - Nettoyez le bandeau de commandes et la grille du filtre àGRAISSÉ avec un chiffon légarement imbibé d'un détergent doux.
- Nettoyer toutes les parties en plastique avec un chiffon doux humidifié avec de l'eau tiège et détergent doux.
- Il est très important de respecter les intervalles de remplacement du(des) filtré(s) et de nettoyage. Le non respect peut entrainer un risque d'incendie suite à l'accumulation de graisse dans le filtré.
Accessoires (en option)
Filtre au charbon actif TYPE 20
ServiceAprès-vente
Dans le cas de demandes de renseignement ou de pannes, veuillez appeler notre service après-vente (voir la liste de nos différents points de service après-vente).
Lors de l'appoint, préciser :
- La désignation du modele
- La référence
- Le numéro de l'appareil
Ces données sont indiquées sur la plaque signalétique située à l'intérieur de l'appareil et visible après ouverture de la grille du contrôle àGRAISE.
Sous réserve de modifications de construction et de coloris dans le cadre du développement technique.
ServiceAprès-vente
Pour les apparèils commercialisés en France
Si une intervention s'avere nécessaire, le vendeur de votre apparéil est le premier habilité à intervenir. A défaut (déménagement de votre part, fermeture du magasin où vous avez effectué l'achat,...) veuillez consulter le Centre Contact Consommateurs qui vous communiquera alors l'adresse d'un service après vente.
Signalez au service après vente le numéro PNC et le S-No (nummer de série), que vous trouvrez sur la plaque signalétique située sur votre apparéil.
Afin de répondre rapidement, nous vous recommendons de l'inscrite à cet endroit.
PNC:
S-No :
Caracteristiques techniques
DK 4360 DK 4390
Dimensions (en cm):
Hauteur (evac. extérieure): 62,2-115,2 62,2-115,2
Hauteur (recyclage): 69,9-115,2 69,9-115,2
Largeur: 59,8 89,8
Profondeur: 45 45
Longueur du cable: 150 cm 150 cm
Branchement électrique: 220-240 V 220-240 V
Accessoires/Matériel de montage
1 clé (pour visser les vis avec tête du type TORX).
1 manchon de réduction
1 deflecteur
1 étrier de la cheminée
6 chevilles 8 mm (pour les fixations au mur)
6 vis 5x45 (pour les fixations au mur)
2 rondelles
2 vis 2,9 × 6,5 (pour fixer la cheminée)
2 vis 3 × 9 (pour fixer le déflecteur).
Branchement électrique
Consignes de sécurité pour l'électricien
La tension électrique doit correspondre à la tension reportée sur la plaque signalétique située à l'intérieur de la hotte. Si une prise est présente, branchez la hotte dans une prise murale conforme aux normes en vigueur et placee dans une zone accessible. Si aucune prise n'est presente (raccordement direct au circuit électrique), ou si la prise ne se trouve pas dans une zone accessible, appliquez un disjoncteur normalise pour assurer de débrancher complètement la hotte du circuit électrique en conditions de catégorie surtension III, conformément aux reglementations de montage.
Attention! Avant de rebrancher le circuit de la hotte à l'alimentation électrique et d'en vérifier le fonctionnement correct, contrôle toujours que le cable d'alimentation soit monté correctement.
Avant de commencer l'installation
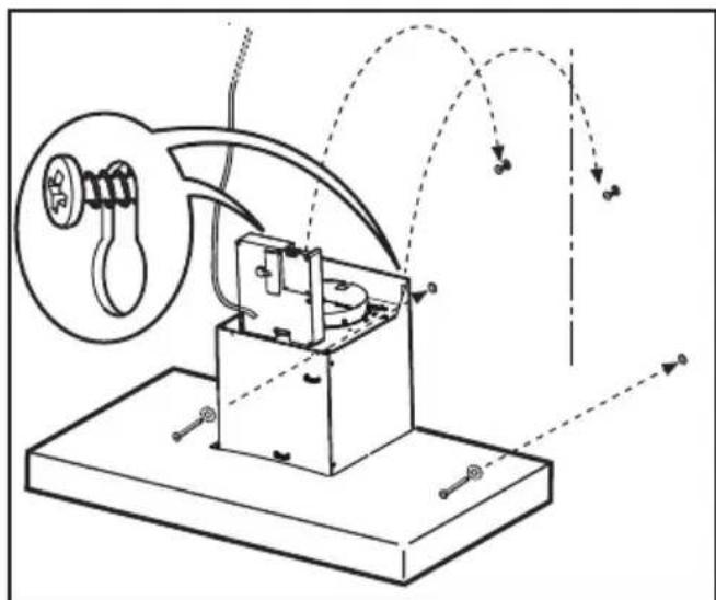
- Vérifiez en outre qu'àproximé de la zone d'installation de la hotte (dans une zone également accessible avec la hotte déjà montée), il y a une prise électrique et qu'il est possible de se raccarder à un dispositif d'évacuation de fumées vers l'extérieur (uniquement Version aspirante).
- Attention! Ne mettez pas l'appareil sous tension tant que son installation n'est pas complètement terminée.
- Installez la boîte électronique à l'aide de 2 vis. Fig. 6a-b-c

Fig. 6a

Fig. 6b

Fig. 6c
Installation de la hotte
- Enlevez la grille d'aspiration.
- A l'aide d'un crayon, réaliser une ligne sur la paroi, jusqu'àu plafond, correspondant à la ligne mediane, ce qui facilitera les opérations d'installation. Fig. 7
- Appliquer le gabarit de perçage au mur: la ligne verticale médiene imprimée sur le gabarit de perçage devra correspondre à la ligne médiane dessinée sur le mur, en outre, le bord inférieur du gabarit de perçage devra correspondre au bord inférieur de la hotte. Fig. 8

Fig. 7

Fig. 8
- Forer comme indiqué sur le gabarit, insérer les chevilles au mur et visser les 2 vis dans les troussupérieurs en laissant un espace entre la tete de la vis et le mur d'environ 1cm. Fig. 9a-b
Remarque: RÉalisér toutes tous les trouès indiqués sur le gabarit: les 2 supérieurs servent pour accrocher la hotte tandis que les trousts inférieurs (généralement 2 lateraux) servent pour la fixation définitive et de sécurité.


Fig. 9a
- Appliquer l'étrier de support cheminées à la paroi adhérant au plafond, utiliser l'étrier de support cheminées comme gabarit de perçage (si présente, la petite fente sur le support doit correspondre avec la ligne précédemment tracée sur le mur) et marquer 2 trous avec le crayon, réaliser les trous, insérer 2 chevilles.
Fixer l'etrier de support cheminées à la paroi à l'aide de 2 vis. Fig. 10

Fig. 10
- Accrocher la hotte aux 2 vis supérieures.
- Introduire et visser dans les troughs inférieurs les vis (et rondelles!) pour la fixation définitive (OBLIGATOIRE!!) ensuite, après avoir vérifié l'horizontalité de la hotte, VISSER FERMEMENT TOUTES LES VIS inférieures et supérieures.
Fig. 11
Remarque: les points de fixation inférieurs sont visibles en enlevant les filtrres anti-graisse et se trouvent sur les cots de la hotte.

Fig. 11
- Réaliser le raccordement d'un tuyau (tuyau et joints de fixation non fournis, à acheter séparément) pour l'évacuation des fumées à l'anneau de raccordement placé au-dessus de l'unité moteur d'aspiration.
L'autre extrémité du tuyau devra être reliée à un dispositif d'évacuation des fumées vers l'extérieur en cas d'utilisation de la hotte en version aspirante. Fig. 12a-b
Dans le cas où l'on souhaiterait utiliser la hotte en version recyclage, fixer alors à l'étrier de support le déflecteur et relier l'autre extrémité du tuyau à l'anneau de raccordement place sur le déflecteur. Fig.12c

Fig. 12a Fig. 12b Fig. 12c
- Effectuer le raccordement électrique.
Faire glisser la partie inférieure de la cheminée en couverture completedu groupe d'aspiration jusqu'à l'insérer à l'endroit prevu au-dessus de la hotte. Fig. 13a - fixer la partie supérieure de la cheminéeau-dessus à l'aide de 2 vis à l'étrier de support cheminées. Fig. 13b
Fixer la grille d'aspiration.

Fig. 13a Fig. 13b
Contents
Safety warnings 52
Notice Facile