DK 4360 - Dunstabzugshaube AEG-ELECTROLUX - Kostenlose Bedienungsanleitung
Finden Sie kostenlos die Bedienungsanleitung des Geräts DK 4360 AEG-ELECTROLUX als PDF.
Häufig gestellte Fragen - DK 4360 AEG-ELECTROLUX
Benutzerfragen zu DK 4360 AEG-ELECTROLUX
0 Frage zu diesem Gerät. Beantworten Sie die, die Sie kennen, oder stellen Sie Ihre eigene.
Eine neue Frage zu diesem Gerät stellen
Laden Sie die Anleitung für Ihr Dunstabzugshaube kostenlos im PDF-Format! Finden Sie Ihr Handbuch DK 4360 - AEG-ELECTROLUX und nehmen Sie Ihr elektronisches Gerät wieder in die Hand. Auf dieser Seite sind alle Dokumente veröffentlicht, die für die Verwendung Ihres Geräts notwendig sind. DK 4360 von der Marke AEG-ELECTROLUX.
BEDIENUNGSANLEITUNG DK 4360 AEG-ELECTROLUX
Sehr geehrte Kundin, sehr geehrter Kunde,
lesen Sieitte diese Benutzerinformation sorgfaltig durch.
Beachten Sie vor allem den Abschnitt „Sicherheit" auf den ersten
Seiten. Bewahren Sieitte diese Benutzerinformation zum späteren
Nachschlagen auf. Geben Sie sie an eventuelle Nachbesitzer des
Gerätesweiter.
AEG DIRECT
INFO SERVICES 0180 - 555 45
Wir sind für Sie da:
montags bis freitag
8.00 bis 20.00 Uhr
samstags
10.00 bis 14.00 Uhr.
Hier erhalten Sie Antwort auf jeder Frage, die die Ausstattung und den Einsatz Ihres Gerätes betrifrft. Nattürlich behmen wir auch gern
Wünsche, Anregungen und Kritik entgegen. Unser Ziel ist es, zum
Nutzen unserer Kunden unsere Produkte und Dienstleistungen weiter zu verbessern.
- Bei technischen Problemen stehen Ihnen unser
WERKSKUNDENDIENST
in Ihrer Höhe jederzeit zur Verfugung (Adressen und Telefonnummern
finden Sie im Abschnitt „Kundendienststellen".
Beachten Sie dazu auch den Abschnitt „Service".
Entsorgung
Verpackungsmaterial entsorgen
- Alle Verpackungsteile sind recyclebar, Folien und Hartschaumteile entsprechend gekennzeichnet. Verpackungsmaterial und eventuelles Altgerätitte ordnungsgemäß entsorgen.
Die nationalen und regionalen Vorschriften und die
Materialkennzeichnung (Materialtrennung, Abfallsammlung,
Wertstoffe) beachten.
Entsorgungshinweise
- Das Gerätarf nicht mit dem Hausmüll entsorgt werden.
- Auskunft über Abholtermine oder Sammelplätze sind bei der örtlichen Stadtreinigung oder der Gemeindeverwaltung erhältlich.
- Warning! Ausgediente Altgeräte vor der Entsorgung unbrauchbar machen. Netzkabel abtrennen (nach dem der Netzstecker gezogen bzw. bei Festanschluss der Anschluß durch einen Fachmann demontiert wurde).
Inhalt
Sicherheitshinweise 4
Allgemeines 6
Abluftbetrieb 6
Umluftbetrieb 6
Bedienung der Dunstabzugshaube 7
Wartung und Pflege 8
Metalfettfilter 8
Aktivkohlefilter 9
Austausch der Lampe(n) 10
Reinigung 10
Sonderzubehör 10
Kundendienst 11
Technische Daten 12
Zubehor/Montagematerial 12
Elektroanschluß 13
Bevor Sie mit der Montage beginnen 14
Montage 15
Sicherheitshinweise
- Das Abluftrohr muß bei Abluftbetrieb vorzugsweise den Orignaldurchmesser des Gerätes haben.
Falls ein Abluftrohr in Wand oder Dach mit einen Durchmesser von 125 mm schon besteht, kann der mitgelieferte Reduzierstutzen, 150/125 mm, verwendet werden.
Achtung! Das Abluftrohr und die Befestigungsmanschetten sind nicht im Lieferumfang inbegriffen und müssen gesondert erworben werden.
- Auf Bestellung sind je nach Bedarf Rohre unterschiedlicher Formen und Durchmesser sowie ins Freie leitende Abluftsysteme (Teleskop-Mauerkasten) verfügbar, weitere Einzelheiten beim Kundendienst erfragen.
- Der Abstand zwischen der Abstellfläche auf dem Kochfeld und der Unterseite der Dunstabzugshaube davon 50cm im Fall von elektrischen Kochfeldern und 65cm im Fall von Gas- oder kombinierten Herden nicht unterschreiben.
Wenn die Installationsanweisungen des Gaskochgerats einen größeren Abstand vorgegeben, ist dieser zu berücksichtigten.
- Vor Beginn sümmtlicher Reinigungs- oder Wartungsarbeiten muss das Gerät durch Ziehen des Steckers oder Betätigkeiten des Hauptschalters der Wohnung vom Stromnetz getrennt werden.
- Das Gerät ist nicht zur Verwendung durch Kinder oder Personen mit eingeschränkten körperlichen, geistigen oder Wahrnehmungsfähigkeiten und mit mangelnder Erfahrung oder Kenntnis geeignet, es sei dessen unter Aufsicht oder Anleitung zum Gebrauch durch eine für ihre Sicherheit verantwortliche Person.
- Kinder mussen beaufsichtigt werden, dass sie nicht mit dem Gerätheiten playen.
Die Dunstabzugshaube niemals ohne korrekt montiertes Gitter in Betrieb setzen! - Die Dunstabzugshaube damit NIEMALS als Abstellfläche verwendet werden, sofern dies nicht ausdrücklich angegeben wird.
- Der Raum muss über eine hinreichende Belüftung verfügen, wenn die Dunstabzugshaube mit anderen gas- oder brennstoffbetriebenen Geräten gleichzeitig verwendet wird.
- Bei gleichzeitigem Betrieb der Dunstabzugshaube im Abluftbetrieb und Feuerstätten darf im Aufstellraum der Feuerstätte der Unterdruck nicht länger als 4 Pa (4 x 10 ^-5 bar) sein.
Die angesaugte Luftarf nicht in Rohre geleitet werden, die fur die Ableitung der Abgase von gas- oder brennstoffbetriebenen Geräten
genutzt werden.
- Es ist strengstens verboten, unter der Haube mit offener Flamme zu kochen.
- Eine offene Flamme beschädigt die Filter und kann Brände verursuchen, daß ist dies in jedem Fall zu vermeiden.
- Das Frittieren muss unter Aufsicht erfolgen, um zu vermeiden, dass das überhützte Öl Feuer fängt.
- In Bezug auf technische und Sicherheitsmaßnahmen für die Ableitung der Abluft sind die Vorschriften der zuständigen örtlichen Behörden strengstens einzuhalten.
- Die Haube muss regelmäßigeninnen und außen gereinigt werden (MINDESTENS EINMAL IM MONAT, diesbezüglich sind in jeder Fall die ausdrücklichen Angaben in der Wartungsanleitung theses Handbuchs zu beachten).
- Eine Nichtbeachtung der Vorschriften zur Reinigung der Haube sowie zur Auswechselung und Reinigung der Filter führt zu Brandgefahr.
- Die Dunstabzugshaube nie benutzen oder sie ohne die nicht richtig montierten Lampen{lassen um einen Risiko von einem Stromschlag zu vermeiden.
- Es wird keinerlei Haftung übernommen für Fehler, Schäden oder Brände des Gerätes, die durch Nichteinhaltung der in thisem Handbuch aufgeführten Anweisungen verschuldet wurden.
In Übereinstimmung mit den Anforderungen der Europäischen Richtlinie 2002/96/EG über Elektro- und Elektronik-Altgeräte (WEEE) ist vorliegenden Gerät mit einer Markierung versehen.
Sie leisten einen positiven Beitrag für den Schutz der Umwelt und die Gesundheit des Menschen, wenn Sie these Gerät einer gesonderten Abfallsammlung zuführen. Im unsortierten Siedlungsmüll können ein solches Gerät durch unsachgemäß Entsorgung negative Konsequenzen nach sichziehen.
Auf dem Produkt oder der beiliegenden Produktdokumentation ist

folgenden Symbol einer durchgestrichen Abfalltonne abgebildet. Es weist daraufhin, dass eine Entsorgung im normalen Haushaltsabfall nicht zulässig ist. Entsorgen Sie theses Produkt im Recyclinghof mit einer getrennten Sammlung für Elektro- und Elektronikgeräte.
Die Entsorgung muss gemäß den örtlichen Bestimmungen zur Abfallbeseitigung erfolgen.
Bitte wenden Sie sich an die zuständigen Behörden ihrer Gemeindeverwaltung, an den lokalen Recyclinghof für Haushaltsmull oder an den Handler, bei dem Sie these Gerät erworben haben, um weitere Informationen über Behandlung, Verwertung und Wiederverwendung these Products zu erhalten.
Allgemeines
- Die Dunstabzugshaube wird als Abluftgerät ausgeliefert und kann durch den Einsatz eines Aktivkohlefilters (Sonderzubehör) als Umluftgerät verwendet werden.
- Für den Umluftbetrieb wird der Original-Aktivkohlefilter aus dem Sonderzubehör besteht.
Abluftbetrieb
Die Luft wird mit Hilfe eines an den Abluftstutzen anzubringenden Rohres ins Freie geleitet. Bild 1.
- Das Abluftrohr muß bei Abluftbetrieb denselben Durchmesser wie der Gebläseaustrittstutzen haben, um die spezifizierten Leistungswerte zu erreichen.

Verbindungsring

Bild 1
Umluftbetrieb
Die Luft wird gefiltert und in den Raum zurückgeführt. Bild.2
- Für den Umluftbetrieb wird der Original-Aktivkohlefilter aus dem Sonderzubehör besteht.

Bedienung der Dunstabzugshaube
- Die Dunsthaube ist mit einem Motor mit regelbarer Drehzahl ausgerüstet. Es ist ratsam, die Dunsthaube eine Minuten vor Beginn des Kochens einszuschalten und sie ungebär 15 Minuten nach dem Kochen weiterlaufen zu halten, damit alle Gerüche sicher entfernt werden.
Auf der Vorderseite des Gerätes befinden sich die Schalter:

- Lichtschalter: Der Schalter dient dazu, die Lampe, mit der die Dunsthaube ausgestattet ist, ein- und auszuschalten.
- Motorschalter: Dieser dient zum Ausschalten des Gebläses.
- Stufe 1: Diese dient zum Einsatz der Geschwindigkeitsstufe 1 des Gebläses.
- Stufe 2: Diese dient zum Einsatzen der Geschwindigkeitsstufe 2 des Gebläses.
- Stufe 3: Diese dient zum Einsatz der Geschwindigkeitsstufe 3 des Gebläses.
Wartung und Pflege
- Vor sãmtlichen Wartungsarbeiten muss die Stromzufuhr der Dunstabzugshaube unterbrochen werden.
Metalfettfilter
- Metallfettfilter haben die Aufgabe, Fettpartikel, die beim Kochen entstehen, aufzusaugen. Sie werden in jedem Fall, d.h. sowohl bei Abluft- als auch bei Umluftbetrieb, verwendet.
Metallfettfilter sollen alle 4 Wochen im Geschirrspüler bzw. von Hand gereinigt werden.
Öffn der Metallfettfilter
- Schieber den Sie den Metallfettfilter zuerst zur Rückseite des Gerätes hin undziehen Sieihn dann nach unten hers aus. Bild 3.
Handreinigung
Metallfettfilterkassette ca. 1 Stunde in * heim Wasser mit fettlosendem Reinigungsmittel einweichen und danach mit * heim Wasser abbrausen. Vorgang evtl. wiederholen. Abgetrocknete Kassette wieder einbauen.
Geschirrspüler
Metallfettfilterkassette in Geschirrspüler stellen. Reinigung bei stärkstem Reinigungssprogramm und höchster Temperatur, mind. 65^ . Vorgang evtl. wiederholen. Abgetrocknete Kassette wieder einbauen.
Beim Reinigen der Metallfettfilter im Geschirrspüler kann es zu leichten Farbveränderungen kommt, die jeder keinein Einfluß auf die Funktion haben.
- Innengehause nur mit warmer Spülmittellauge reinigen. Keine scharfen Reinigungsmittel, Bürste oder Scheuersand verwenden!

Aktivkohlefilter
- Der Aktivkohlefilter muß dann verwendet werden, wenn man die Dunstabzugshaube als Umluftgerät einsetzen möchte.
- Dazu wird der Original Aktivkohlefilter (siehe Sonderzubehr) benötigt.
- Reinigung/Austausch des Aktivkohlefilters
Im Unterschied zu anderen Aktivkohlefilter kann der LONG LIFE Aktivkohlefilter gereinigt und reaktiviert werden. Bei normaler Nutzung der Dunstabzugshaube sollen der Filter jeder zweiten Monat (wenn man eine tägliche Benutzung von ca. 2,5 Std. betrachtet), am besten in der Geschirrspulmaschine gereinigt werden. Normalen Reiniger verwenden und die höchste Temperatur wahren (65^) . Der Filter sollte separat gespluft werden, damit sich keine Speisereste am Filter festsetzen und später schlechte Gerüche verursachen können. Um die Kohle wieder zu aktivieren, muss der Filter 10 min im Backofen getrocknet werden. Ober- und Unterhitze sowie eine Temperatur von maximal 100^ wahren.
Nach etwa 3 Jahren muß der Filter ausgetauscht werden, da dann seine Dunstaufnahmefähigkeit seine Kapazität um ca. 50% reduziert ist.
- Montage: Den/die Fettfilter entfernen. Den Rahmen i, der den Filter hträgt, abnehmer, dazu die Verriegelungen (g), um 90^ drehen. Das Aktivkohlevlies in das Innere des Rahmens einsetzten und wieder in umgekehrter Reihenfolge befestigen. Den/die Fettfilter wieder einbauen. Bild 4.
Zum Ausbau in umgekehrter Reihenfolge vorgehen. - Innengehause nur mit warmer Spülmittellauge reinigen. Keine scharfe Reinigungsmittel, Bürste oder Scheuersand verwenden!
- Bei Bestellung eines Ersatzfilters die Modellbezeichnung und die E-Nr. angegeben. Diese Daten sind auf dem Typenschild an der Innenseite des Gerätes zu finden.
- Aktivkohlefilter beim Kundendienst bestellen.

Bild 4

Achtung
- Nichtbeachtung dieser Anweisungen zur Reinigung des Gerätes und zum Wechsel bzw. zur Reinigung der Filter kann zum Brand führen. Diese Anweisungen sind unbedingt zu beachten!
- Der Hersteller übernimmt keine Haftung für irgendwelche Schäden am Motor oder aus Feuergründen, die auf eine unsachgemäße Wartung oder Nichteinhaltung der oben angeführten Sicherheitsvorschriften zugruckzuführn sind.
Austausch der Lampe(n)
- Dunstabzugshaube vom Stromnetz trennen.
Die Lempchen erst berühren, wenn sie kalt sind. - Lampenabdeckung mit einem Schraubenzieher entnahmen und entfernen. Bild 5.
Defekte Lampe herausnehmer und durch neue eines gleichwertigen Typers ersetzen. - Lampenabdeckung wieder montieren.
- Bevor der Kundendienst gerufen wird, weil eine Lampe nicht brennt, erst prufen, ob sie fest eingesteckt ist.

Bild 5
Reinigung
- Zum Reinigen der Dunstabzugshaube Gerät vom Stromnetz trennen. Nicht mit spitzen Gegenständen in das Schutzgitter des Motors eindringen.
- Außere Teile mit milder Spüllauge reinigen. Scharfe Reinigungsmittel, Bürste oder Scheuersand vermeiden. Anschließlich Metallpflegemittel (Sonderzubehör) benutzen.
Die Schalterblende und das Fettfiltergitter nur mit feuchtem Tuch und milden Spülmitteln reinigen. - Alle Plastikteile werden mit einem weichen und feuchten Tuch gereinigt.
- Es ist wichtig, die Filterwechsel sowie die Reinigungsinstrumente einzuhalten. Bei Nichtbeachtung besteht infolge von Fettablagerungen Feuergefahr!
Sonderzubehör
Aktivkohlefilter TYPE 20
Kundendienst
Bei eventuellen Rückfragen und Störungen Kundendienst anrufen (siehe Kundendienst-Stellenverzeichnis).
Folgende Daten beim Anruf angegeben:
- Modellbezeichnung
- E-Nr.
- F-Nr.
These Daten befinden sich auf dem Typenschild auf der Innenseite des Gerätes hinter den Fettfiltern.
Konstrukts- und Farbänderungen im Rahmen der technischen Entwicklung bleiben vorbehalten.
SERVICE
Handelt es sich um eine technische Störung?
Dann wenden Sie sich an ihre Kundendienststände. (Adressen und
Telefonnummern befinden sich im Abschnitt „Kundendienststellen".)
Bereiten Sie das Geschäft in jedem Fall gut vor. Sie erleichtern so die Diagnose und die Entscheidung, ob ein Kundendienstbesuch nötig ist:
Halten Sie möglichst genau fest:
- Wie äußert sich die Störung?
- Unter welchen Umständen tritt die Störung auf?
Notieren Sie für das Geschäft unbedingt folgende Kennziffern Ihres Gerätes auf dem Typenschild:
E-Nr. (9 Stellen),
F-Nr. (8 Stellen).
Das Typenschild ist nach Ausbau der Metallfettfilter auf der Innenseite des Gerätes zugänglich.
Wir empfehlen, die Kennziffern hier einzutragen, damit Sie sie stets zur Hand haben:
E-Nr
F-Nr
Wann entstehen Ihnen auch während der Garantiezeit Kosten?
- wenn Sie die Störung mit Hilfe dieser Gebrauchsanweisung selbst halten beseitigen konnen,
- wenn mehrere Anfahrten des Kundendienst-Technikers erforderlich sind, weil er vor seinem Besuch nicht alle wichtigen Informationen erhalten hat und dazu z.B. Ersatzteile holen muß. Diese Mehrfahrten können Sie vermeiden, wenn Sie ihren Telefonanruf in der oben beschrieben. Weise gut vorbereiten.
Technische Daten
DK4360DK4390
Maße (in cm):
Höhe (Abluft) 62,2-115,2 62,2-115,2
Höhe (Umluft) 69,9-115,2 69,9-115,2
Breite 59,8 89,8
Tiefe 45 45
Gesamtanschlußwerte: 160 W 160 W
Lüftermotor: 120 W 120 W
Beleuchtung: 2 × 20 W (G4) 2 × 20 W (G4)
Länge des Netzkabels: 150 cm 150 cm
Elektroanschluß (in V): 220-240 V 220-240 V
Zubehör/Montagematerial
1 Schlüssel (um die Schrauben mit dem Kopftyp TOREX einzuschrauben).
1 Deflektor
1 Reduzierstutzen 125-120 mm,
1 Kaminhalter,
6 Dübel 8mm (zur Befestigung an die Wand)
6 Schrauben 5x45 (zur Befestigung an die Wand)
2 Federringe
2 Schrauben 2,9 x 6,5 (Befestigung des oberen Kamins)
2 Schrauben 3 × 9 (Deflektor befestigen).
Elektroverschluß
Sicherheitshinweise für den Elektro-Installateur
Die Netzspannung muss der Spannung entsprechen, die auf dem Betriebsdatenschild im Innern der Haube angegeben ist. Sofern die Haube einen Netzstecker hat, ist dieser an zugänglicher Stelle an eine den geltenden Vorschriften entsprechende Steckdose anzuschlieben. Bei einer Haube ohne Stecker (direkter Netzanschluss) oder falls der Stecker nicht zugänglich ist, ist ein normgerechter zweipoliger Schalter anzubRINGen, der unter Umständen der Überspannung Kategorie III entsprechend den Installationsregeln ein vollständiges Trennen vom Netz garantiert.
Hinweis!: Bevor man den Stromkreis der Dunstabzugshaube an die Netzversorgung verbindet und den richtigen Betrieb zu ueberprüften,itte immer kontrollieren dass die Netzversorgung immer richtig montiert worden wird.
Bevor Sie mit der Montage beginnen:
- Vergewissern Sie sich zudem, dass in der Höhe der Fläche, an der die Dunstabzugshaube angebracht werden soll (eine Fläche, die auch nach der Montage der Dunstabzugshaube weiter zugänglich sein muss), eine Steckdose vorhanden ist und es möglich ist, die Dunstabzugshaube an eine Vorrichtung zum Ableiten der Dämpfe ins Freie anzuschreiben (nur Abluftbetrieb).
- Achtung! Das Gerät nicht an das Stromnetz anschließen, solange die Installation noch nicht abgeschlossen ist.
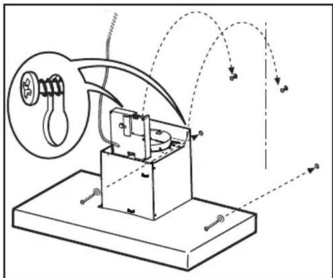
- Das Elektronikgehaeuse mit 2 Schrauben installieren. Bild 6a-b-c

Bild 6a

Bild 6b

Bild 6c
Montage
Den/die Fettfilter entfernen.
- Mit einem Bleistift, eine Streife an die Wand zeichnen, bis zur Decke, entsprechend der Mittellinie, das wird die Installationsoperationen erleichtern. Bild 7
- Das Bohrenscheema an die Mauer daraufufmachen: die senkrechte, auf das Bohrenscheema gedruckten Mittellinie muss der auf die Mauer gezeichneten Mittellinie entsprechen, die untere Seite des Bohrenscheema entspricht der unteren Seite der Dunstabzugshaube.

Bild 8
Bild 7

Bild 8
- Wie auf der Radienschablone geschrieben, die Oese hereintun und zwei Schrauben in die oberen Loecher, Platz zwischen dem Kopf der Schraube und der Mauer zon zirka ein Centimeter setzen. Bild 9a-b Hinweis: alle die auf der Radienschablonen geschriebenen Loecher immer erfuellen: die zwei obere sind davon nuetzlich um den Dunstabzugshaube zu haengen waehrend die untere Loecher (im allgemeinen 2 auf der Seite) sind davon nuetzlich um eine endgueltige Befestigung und Sicherheit zu haben.

Bild 9a

Den
Kaminhaltersteigbuegel
an die an der Decke
haftende Wand alla
daraufmachen, den
Kaminhaltersteigbuegel
benutzen, den
Kaminhaltersteigbuegel
als Loecherscheema
(wenn anwesend, die
kleine Oese die aus dem
Halter gezogen worden
ist, sie muss mit der,
vorher an die Wand
gezeichnete Linee
abstammen) benutzen
und sie muessen mit

Bild 10
dem Bleistift zwei Loecher zeichnen, die Loecher machen, die zwei Einsatzstueck hereininfuegen.
- Den Kaminhaltersteigbuegel an die Wand mit 2 Schrauben befestigen. Bild 10
Die Dunstabzugshaube an die 2 oberen Schrauben haengen.
Die Schrauben (und die Unterlegscheibe Unterlegscheiben!) hereinfuegen und sie in die Loecher befestigen um eine endgueltige Befestigung zu machen (PFLICHT!!) nach thisem, nachdem sie die Einrichtung der Dunstabzugshaube

Bild 11
nachgeprüft haben, ALLE DIE SCHRAUBEN BEFESTIGEN, weder dieunte noch die obere.Bild 11
Hinweis: dieunte Befestigungspunkte sind sightbar wenn man die Fettfilter wegmacht und sie sind and den Seiten der Dunstabzugshaube posizioniert.
- Einen Schauch verbinden (Schauch und Streifbaender fuer die Befestigung die nicht mitgeliefert sind, sondern man muss sie selbst kaufen) fuer das Entladen der Rauchen an den Verbindungsring der auf der Abzugsmotoreinheit positioniert ist. Das andere Ende des Schlauchs muss an eine Rauchauswerfvorrichtung verbunden werden in Richtung nach aussen wenn man die Dunstabzugshabe in Abzug Version benutzt. Bild 12a-b
Wenn man die Dunstabzugshaube in Filterversion benutzen moechte, man muss an dem Kaminhaltersteigbuegel, den Deflektor befestigen und das andere Ende des Schlauchs and den auf den Deflektor positionierten Verbindungsring befestigen. Bild 12c



Bild 12a Bild 12b Bild 12c
Die elektrische Verbindung erfuellen.
Den unteren Teil des Kamins ruetchen setzen damit die Abzuggruppe ganz bedeckt wird bis diese Abzugsgruppe in den richtigen Platz auf der Dunstabzugshaube eingefuegt wird. Bild 13a
Den oberen Teil des KaminsDMAuftun und sie mit zwei Schrauben an den Kaminhaltersteigbuegel daraufbefestigen . Bild 13b
Den/die Fettfilter wieder einbauen.


Bild 13a Bild 13b
Geachte klant,
Technische gegevens 28
- The model code number
- The serial number (E-Nr.)
- The manufacturing number (F-Nr.)
EinfachAnleitung