DK 4360 - Afzuigkap AEG-ELECTROLUX - Gratis gebruiksaanwijzing en handleiding
Vind de handleiding van het apparaat gratis DK 4360 AEG-ELECTROLUX in PDF-formaat.
Veelgestelde vragen - DK 4360 AEG-ELECTROLUX
Gebruikersvragen over DK 4360 AEG-ELECTROLUX
0 vraag over dit apparaat. Beantwoord die u kent of stel uw eigen vraag.
Stel een nieuwe vraag over dit apparaat
Download de handleiding voor uw Afzuigkap in PDF-formaat gratis! Vind uw handleiding DK 4360 - AEG-ELECTROLUX en neem uw elektronisch apparaat weer in handen. Op deze pagina staan alle documenten die nodig zijn voor het gebruik van uw apparaat. DK 4360 van het merk AEG-ELECTROLUX.
GEBRUIKSAANWIJZING DK 4360 AEG-ELECTROLUX
Lees deze informatatie aandachtig door.
Lees vooral het hoofdstuk "Veiligheid" op de eerste pagina's. Bewaar dit boekje goed, zodate u nogients airstkunt nalezen. Geef het door aan een eventuele volgende eigenaar van het apparatusat.
- Bij technische problemen(Int)kunt u altijd contact opnemen met de AEG service-afdeling, zie hoofdstuk "Klantenservice".
Afvalverwerking
Verpakkingsmaterial verwijderen
- Alle verpakkingsdelen zijn recyclebaar, folies en piepschuim onderdelen zijn overeenkomstig gecodeerd. Verpakkingsmaterialien eventuele oude apparaten要去 op de juiste manier worden weggegooid.
- Houd u aan de landelijkke enplaatselijkke voorschriften en let op de materiaalaanduiding (materialscheiding, afvalverzameling, inzamelpunten).
Aanwijzingen voor het weggooien
- Waarschuwing! Afgedankte apparaten要去en voor het weggooien onbruikbaar worden gemaaakt. Aansluitsnoer verwijderen (eerst de stekker uit het stopcontact trekken resp. bij vaste aansluiting de aansluiting door eenvakman lately demonteren).
Inhoud
Veiligheidsaanwijzingen 20
Algemeen 22
Gebruik als afzuigkap 22
Gebruik als recirculatiekap 22
Bediening van de afzuigkap 23
Onderhoud 24
Metalen vetfilters 24
Koofilter 25
Vervangen van de lamp(en) 26
Reiniging 26
Extra leverbare accessoires 26
Klantenservice 27
Toebehoren/Montagematerialiaal 28
Elektrische aansluiting 29
Voor de installmentie 30
Installatie 31
Veiligheidsaanwijzingen
- De afvoerbuis要去 bij gebruik als afzuigkap de originele diameter van het apparaat hebben.
Als een afvoerbuis in wand of dak met een diameter van 125 mm al aanwezig is, kan het meegeleverde verloopstuk, 150/125 mm, worden gezruikt.
Let op! De afvoerbuis en de bevestigingsringen worden nicht bijgeleverd en要去enApart worden aangeschaft.
- Indien nodig+zijn op bestelling buizen in verschillende vormen en diameters en afvoersystemen maar buiten (telescoop-muurkast) verkrijgbaar. Neem waar voor contact op met once service-afdeling.
- De minimum afstand:tussen het kookvlak van het fornuis en het laagste deel van de afzuigkap mag Niet onder de 50cm liggen, in geval van een elektrisch fornuis en 65cm , in geval van een gas- of gemengd fornuis.
Indien in de installmentie-aanwijzing van het gaskooktoestel een grotere afstand worden aangegeven要去 hiermee rekening worden gehonden.
- Koppel, voor ieder onderhoud, eerst de wasemkap van het elektriciteitsnet af door de stekker weg te trekken of door de hoofdschakelaar van de woning uit te schakelen.
- Dit apparaat mag nicht worden gebruikt door kinderen of door Personen met beperkte sensorische of geestelijkke capaciteiten of met weinig ervaring en onvoldoende kennis, tenzij dit Niet geschiedt onder het toezicht of volgens de gebruiksaanwijzingen van een persoon die verantwoordelijk is voor hun verilgheid.
- De kinderen要去en algijd gecontroleerd worden zodatezijniet met het apparaat spelen.
- De wasemkap nooit gebruiken als het rooster Niet goed gemonteerd is!
- De wasemkap NOOIT als steunvlak gebruiken tenzij dit nicht uitdrukkelijk is aangegeven.
- Altijd voor een goede ventilatie van de ruimte zorgen als de wasemkap tegelijkkertijd worden gebruikt met andere apparaten die gas en andere brandstoffen toepassen.
- De gezogen lucht mag Niet afgevoerd worden in een leiding die gebrukt worden voor de afvoer van rook van apparaten die gas of andere brandstoffen toepassen.
- Het is streng verboden met open vlammen onder de wasemkap te koken.
- Het gebruik van open vlammen is schadelijk voor de filters en kan brand veroorzaken, waarom要去 het absolutut vermeden worden.
- Het frituren moet geschieden onder voortdurend toezicht om te
voorkomen dat verhit vet in brand raakt.
- Wat betreft technische- en veiligheidsmaatregelen voor de rookafvoer zich strikt houden aan de regelingen voorzien door deplaatselijke bevoegde autoriteiten.
- De wasemkap要去 regelmatig schoongemaakt worden, zowel binnen als buiten (MINSTENS EENMAAL PER MAAND, neem in ieder geval hetgeen in deze handleiding is aangegeven in acht).
- Het Niet in acht nemen van de reinigingsnormen van de wasemkap en van de verranging en reiniging van de filters kan brandgevaar veroorzaken.
- Zorg alsijd dat de lampjes in de kap aanwezig en goed gemonteerd zichen om het gevaar voor elektrische schokken te voorkomen.
- Ledere aansprakelijkheid voor eventuele schade aan het apparaat of brand veroorzaakt door het Niet in acht nemen van de aanwijzingenuit deze handleiding worden afgewezen.
Dit apparaat is voorzien van het merkteken volgens de Europese richtlijn 2002/96/EG inzake Afgedankte elektrische en elektronische apparaten (AEEA).
Door ervoor te zorgen dat dit product op de juiste manier als afval worden verwerkt, helpt u möglichn negatieve consequenties voor het milieu en de menselijk gezondheid te voorkomen die anders zouden+kennen wordenveroorzaakt door onjuiste verwerking van dit product als afval.
Het symbol op het product of op de bijbehorende documentationie geeft aan dat dit product Niet als huishoudelijk afval mag worden behandeld. Inplaats waarvan要去 het worden afgegeven bij een verzamelpunt voor recycling van elektrische en elektronische apparaten. Afdanking要去 worden uitgevoerd in overeenstemming met deplaatselijke milieuvoorschriften voor afvalverwerking. Voor nadere informatie over de behandeling, terugwinning en recycling van dit product wordt u verzocht contact op te nemen met het stadskantoor in uw woonplaats, uw afvalophaaldienst of de winkel waar u het product heeft aangeschaft.
Algemeen
- Het apparaat wordt als afzuigkap geleverd en kan in combinatie met een koolfilter (extra leverbaar accessoire) als recirculatiekap worden gebruikt.
- Daarvoor is een origineel kooffilter nodig (zie "Extra leverbare accessoires").
Gebruik als afzuigkap
- De lucht worden met behulp van een op de afvoeropening aan te brengen buis maar buiten afgevoerd. Afb. 1.
Voor de Beste afzuigprestaties moet de afvoerbuisdezelfde diameter hebben als de afvoeropening.

Ver bindings ring

afb. 1
Gebruik als recirculatiekap
- De lucht worden door koolfilters gefilterd en wee de keuken in geleid. Afb. 2.
Voor gebruik als recirculatiekap is een origineel kooffilter (extra leverbaar accessoire) nodig.

afb. 2
Bediening van de afzuigkap
- De afzuigkap is voorzien van een motor met regelbaar toerental. Het verdient aanbeveling de afzuigkap enkele Minutes voor u met koken begint aan te zetten en hem na het koken nog ongeveer 15 Minutes aan te latent staan.
De schakelaars bevinden zich aan de voorkant van de kap:

- Lichtschakelaar: Hiermee kan de verlichting van de afzuigkap worden in- enuitgeschakeld.
- Motorschakelaar: Hiermee kan de afzuigkap wordenuitgeschakeld.
- Stand 1: In denen stand worden de afzuigkap ingeschakeld op snelheid 1.
- Stand 2: In度过 stand wordt de afzuigkap ingeschakeld op snelheid 2.
- Stand 3: In度过 stand wordt de afzuigkap ingeschakeld op snelheid 3.
Onderhoud
- Koppel voor ieder onderhoud eerst de afzuigkap af van het elektriciteitsnet.
Metalen vetfilters
- De metalen vetfilters—hebben de taak om de vetdeeltjes die bij het koken ontstaan, op te zuigen en worden altijd, d.w.z. zowel bij gebruik als afzuigkap als bij gebruik als recirculatiekap, gebruikt. De metalen vetfilters要去en elke 4 weken worden gedemonteerd en in de afwasautomaat of met de hand worden schoongemaakt.
Demonteren van de metalen vetfilters
- Schuif de vergrendeling van de metalen vetfilters eerst maarachten en trek de cassette dan�beneden, afb. 3.
Reinigen met de hand
Metaalfiltercassette ca. 1 uur in heet water met een vetoplossend schoonmaakmiddel weken en daarna met heet water afspoelen. Proces EVT. herhalen. Cassette afdrogen en weeinzetten.
Afwasautomaat
Metaalfiltercassette in de afwasautomaat zetten. Sterkste programma en hoogste temperatuur (min. 65^ ) kiezen. Proces EVT. herhalen. Cassette afdrogen en weeinzetten.
Machinaal reinigen van de metalen vetfilters kan tot lichte verkleuringen leiden, die darüber geen invloed op de werkig hebben.
- De binnenkant van de kap alleen met een warm sopje reinigen. Geen scherpe reinigingsmiddelen, borstels of schuurmiddelen gebruiken!

Koolfilter
- Het kooffilter moet worden gebruikt, als het apparaat als recirculatiekap worden gebruikt.
- Daarvoor is een origineel koolfilter nodig (zie "Extra leverbare accessoires").
- Reinigen/ervangen van het koolfilter
In gegenstelling tot andere koolfilters kan het LONG LIFE koolfilter gereinigd en gereactiveerd worden. Bij normalaal gebruik van de kap moet het filter eens per twee maanden worden gereinigd (voor een gemiddeld gebruik van de kap van 2,5 eer per dag). Dat kunt u het Beste in de afwasautomaat doeon. Normaal reinigingsmiddel gebruiken en de hoogste temperatuurkiezen (65^) Het filter要去 apart worden afgewassen, opdat zich geen etensresten op het filter vastzetten die later nare luchtjes+kennen verooorzaken. Om de kool wee te activeren, moet het filter in de oven worden gedroogd. Boven- en onderwarmte en een temperatuur van maximaal 100^ kiezen en het filter 10 minuten lang drogen. Na ca. 3aar moet het filter worden verrangen, omdat dan het vermogen om wasem op te nemen ca. 50% minder is geworden.
Montage
Demonteer het/de vetfilter/s.
Het frame i van het filter h losnemen: daartoe de vergrendelingen g 90^ draaien. Koolfilter in het frame zetten en in omgekeerde volgorde.
weer bevestigen. Afb. 4
Monteer het/de vetfilter/s.
- Om het filter los te nemen in omgekeerde volgorde te werk gaan.
- Bij bestelling van een新模式 filter modelnaam en E-nr. opgeven. Deze gevevens vindt u op het typeplaatje aan de binnenzijde van het apparaat.
- Het kooffilter(Int)bestellen bij de service-afdeling.

afb. 4

Attentie
- Als u deze aanwijzingen m.b.t. reiniging van het apparaat en verranging resp. reiniging van de filters Niet opvolgt, kan dat tot brand leiden. Deze aanwijizingen beslist opvolgen!
- De fabrikant is nicht aansprakelijk voor schade aan de motor of schade t.g.v. brand die het gevolg zichn van ondeskundig onderhoud of Niet opvolgen van de bovengenoemde veiligheidsvoorschriften.
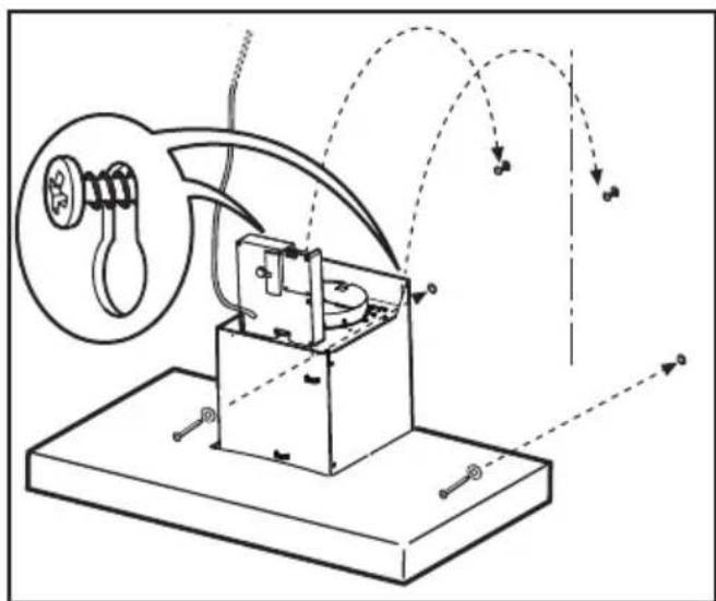
Vervangen van de lamp(en)
- Stekker uit het stopcontact trekken.
- De lampjes pas aanraken als ze aufgekoeld zijn.
- Afdekkapje van de lamp m.b.v. een schroevendraaier losmaken en verwijderen. afb. 5.
Defecte lamp door een gelijkwaardige lamp verrangen. - Afdekkapje wee monteren.
Voordat u contact opneemt met once service-afdeling, odomat de gloeilamp nicht brandt, eerst controleren of de lamp stevig vast zit.

afb. 5
Reiniging
- Attentie: eerst de stekker uij het stopcontact trekken.
Geen spitse voorwerpen in het beschemrooster van de motor steken. - De buitenkant van het apparaat met een mild sopje reinigen. Gebruik geen scherpe reinigingsmiddelen, borstels of schuurmiddel.
- Het bedieningspaneel en het vetfilterrooster alleen met een vochtig doek en mild afwasmiddel reinigen.
- Alle kunststof onderdelen schoonmaken met een zachte doek met warm water en een neutraal reinigingsmiddel.
- Het is belangrijk om opijd de filters te verrangen resp. te reinigen. Als u deze aanwijzingen Niet opvolgt, kan t.g.v. vetafzetting brandgevaar ontstaan.
Extra leverbare accessoires
koolfilter TYPE 20
Klantenservice
Geef in geval van storing once service-afdeling onderstaande gegevens door:
- modelaanduiding
- E-nummer
- F-nummer
Deze gevevens vindt u op het typeplaatje op de binnenzijde van de afzuigkap, achefter de vetfilters.
Constructie- en kleurwijzigingen in het kader van de technische ontwikkeling voorbehouden.
Klantenservice
Als u vragen hebt waar deze gebruiksaanwijzing geen antwoord op geeft,(Intu de volgende afdelingen raadplegen:
Service-informatielijn
(zoek servicetechnicus (0172) 468 300 (Nederland) en onderdelen) 02/363.04.44 (België)
Consumenbelangen
(zoek algemene, product- of (0172) 468 172 (Nederland)
gebruiksinformatie) 02/363.04.44 (België)
Belangrijk!
Houd bij het opgeven van een storing algijd het E-nr. en F-nr. van uw apparaat bij de hand. Deze nummers vindt u op de binnenzijde van de afzuigkap, nadat u de vetfilters hebt losgenomen en kunt u het beste hieronder noteren.
E-nr. ....
F-nr. ....
Bereid het gesprek alsijd goed voor. Zo vergemakkelijk u de diagnose en de beslissing of bezoek van een servicetechnicus nodig is.
Geef zo nauwkeurig möglichk op:
- Hoedoet de storing zich voor?
- Onder welke omstandigheden treedt de storing op?
Aan de hand van deze informatatie kan onsze service-afdeling de juiste voorbereidingen treffen, zodate het apparaat bij het eerste bezoek van de servicetechnicus weehersteld kan worden.
Op deze manier hoeft u slechts een maal thus te blijven.
Technische gegevens
DK4360DK4390
Afmetingen (in cm):
Hoogte (afzuigkap): 62,2-115,2 62,2-115,2
Hoogte (recirculatiekap): 69,9-115,2 69,9-115,2
Breedte: 59,8 89,8
Diepte: 45 45
Totale aansluitwaarde: 160 W 160 W
Vent.motor: 120 W 120 W
Verlichting: 2 × 20 W (G4) 2 × 20 W (G4)
Lengte van het aansluitsnoor: 150 cm 150 cm
Elektrische aansluting: 220-240 V 220-240 V
Toebehoren/Montagematerialiaal
1 sleutel (om de schroeven type TORX vast te draaien).
1 luchtgeber
1verloopstuk0125-120mm,
1 montagesteun,
6 pluggen 8mm (voor de bevestiging aan de muur)
6 schroeven 5x45 (voor de bevestiging aan de muur)
2 ringen
2 schroeven 2,9 × 6,5 (om het bovenste schouwdeel te bevestigen)
2 schroeven 3 × 9 (voor montage van de luchtgeber).
Elektrische aansluiting
Veiligheidsaanwijzingen voor de elektro-installateur
De netspanning要去 corresponderen met de spanning die vermeld wordt op het etiket met eigenschappen, aan de binnenkant van de wasemkap. Als de wasemkap een stekker heeft,要去 deze in een stopcontact worden gestoken dat voldoet aan de geldende voorschriften. Heeft de kap geen stekker (rechtstreekse verbinding met het net) of is deze Niet goed te bereiken, dan要去 een tweepolige schakelaar worden geplaatst die de volledige ontkoppeling van het net garandeert in het geval van een overspanning van klasse III, in overeenstemming met de installmentenormen.
Attentie: alvorens de wasemkap waar aan het voedingsnet aan te sluiten controllerer of deze goed functioneert, controllerer.altijd of de voedingskabel goed gemonteerd is.
Voor de installmentie
- Controller tevens of er in de buurt van de installmentie ruimte (op een, ook met gemonteerde kap, goed bereikbare plaats) een stopcontact aanwezig is en of er de mogelijkheid bestaat voor de verbinding aan een rookafvoer maar buiten (alleen voor het afzuiigende apparaat).
- Attentie! Het apparaat Niet aan het stroomnet aansluiten voordat de installmente voltopoid is.
Monteer de elektronische doos met 2 schroeyen. Afb. 6a-b-c

afb. 6a

afb. 6b

afb. 6c
Installatie
- Demonteer het/de vetfilter/s.
- Teken met een potlood een lijn op de muur tot aan het plafond, die overeenkomt met de middelijn van het apparaat; dit vergemakkelijk de installmentie. Afb. 7
- Houd de boormal gegen de muur: de verticale middellijn op de boormal要去 overeenkomen met de middellijn die op de muur getekend is, bovendien kommt de onderkant van de boormal overeen met de onderkant van de wasemkap. Afb. 8

afb. 7
afb. 8

afb. 9a
Boor de gaten zoals aangegeven op de boormal en steek de muurpluggen in, draai de 2 schroeven in de bovenste gaten, LASTEN ruimte van ongeveer 1 cm tussen de kop van de schroef en de muur over. Afb. 9a-b
Opmerking: Boor.altijd alle gaten aangegeven op de boormal: de 2 bovenste gaten dieren om de kap vast te haken terwijl de onderste gaten (gewoonlijk 2 centraal zijdelings) dieren voor de definitieve bevestiging.


- Bevestig de draagbeugel van de schouwdelen aan de muur aansluitend aan het plafond, gebruik de draagbeugel als boormal (indien aanwezig,要去 dekleine uitsparing op het steunstuk samenvallen met de erder op de muur getrokken lijn) en teken met een potlood 2 gaten, boor de gaten, stek er 2 pluggen in.
- Bevestig de draagbeugel van de schouwdelen aan de muur met 2 schroeven. Afb. 10

afb. 10
- Bevestig de draagbeugel van de schouwdelen aan de muur met 2 schroeven.
Hang de wasemkap aan de 2 bovenste schroeven.
In de vrij gebleven onderste gaten, steek deschroeven (en (schijfjes) voor de definitieve bevestiging in en draai ze vast (VERPLICHT!!) cervolgens, na de stand van de kap geregeld te hebben, DRAAI ALLE (onderste en bovenste)

afb. 11
SCHROEVEN VAST. Afb. 11
Opmerking: de onderste bevestigingspunten zijn zichtaar door de vetfilters te verwijderen en zitten aan derijkanten van de kap.
- Sluit een rookafvoerpijp aan (pijp en bevestigingsbandjes worden nicht meegeleverd,要去en apart worden aangeschaft) aan de aansluitring boven de afzuigmotoreenheid.
Het andere uiteinde van de pijp moet worden aangesloten op een rookafvoermechanisme maar buiten, als de wasemkap als afzuiigapparaat gebruikt worden. Afb. 12a-b
Als u de wasemkap wilt gebruiken als filterend apparaat, bevestig aan de draagbeugel de luchtgeber en het andere uiteinde van de pijp aan de aansluitring aanwezig op de luchtgeber. Afb. 12c

afb. 12a afb. 12b afb. 12c
Maak de elektrische aansluiting.
Laat het onderste schouwdeel dalen om de afzuiggroep helemaal af te dekken, totdat hij goed op+zijn plaats boven de wasemkap zit. Afb. 13a
- Breng de bovenste schouwdeel aan en zet hen aan de bovenkant vast met 2 schroeven aan de steun van de schouwdelen. Afb. 13b
Monteer het/de vetfilter/s.

afb. 13a afb. 13b
SimpelGids