DD 8821 M - Hotte AEG-ELECTROLUX - Notice d'utilisation et mode d'emploi gratuit
Retrouvez gratuitement la notice de l'appareil DD 8821 M AEG-ELECTROLUX au format PDF.
| Caractéristique | Détails |
|---|---|
| Type de hotte | Hotte murale |
| Dimensions | Largeur : 90 cm |
| Débit d'air | Jusqu'à 800 m³/h |
| Niveaux de puissance | 3 niveaux + mode intensif |
| Éclairage | LED intégrées |
| Filtre à graisse | Filtres métalliques lavables au lave-vaisselle |
| Filtre à charbon | Disponible en option pour mode recyclage |
| Niveau sonore | Max 65 dB |
| Installation | Installation murale avec kit de montage inclus |
| Consommation énergétique | Classe énergétique A |
| Garantie | 2 ans |
| Entretien | Filtres à graisse à nettoyer régulièrement, filtre à charbon à remplacer selon usage |
| Sécurité | Arrêt automatique en cas de surchauffe |
| Accessoires inclus | Kit de montage et manuel d'utilisation |
FOIRE AUX QUESTIONS - DD 8821 M AEG-ELECTROLUX
Questions des utilisateurs sur DD 8821 M AEG-ELECTROLUX
0 question sur cet appareil. Repondez a celles que vous connaissez ou posez la votre.
Poser une nouvelle question sur cet appareil
Téléchargez la notice de votre Hotte au format PDF gratuitement ! Retrouvez votre notice DD 8821 M - AEG-ELECTROLUX et reprennez votre appareil électronique en main. Sur cette page sont publiés tous les documents nécessaires à l'utilisation de votre appareil DD 8821 M de la marque AEG-ELECTROLUX.
MODE D'EMPLOI DD 8821 M AEG-ELECTROLUX
Notice d'utilisation et d'installation
Modell: DD8625 DD8665/8695 DD8861/8891 DD8990 DD8821
MaBe (in cm):
Höhe 82,3-125,7 72,7-108,7 72-114 72-114 79-123
Breite 119,8 59,8/89,8 59,8/89,8 89,3 119,8
anschluß (V): 230 220-240 220-240 220-240 220-240
voordekeulenmeubel-monteur 24
Algemeen 26
Pour les apparèils commerciales par la France
Lors de sa fabrication, cet apparéil a été construit selon des normes, directives et/ou décrets pour une utilisation sur le territoire français.
Pour la sécurité des biens et des personnes ainsi que pour le respect de l'environnement, vous doivent d'abord dire impératifement les préconisations suivantes avant toute utilisation de votre apparéil.
Pour éviter tout risque de détérioration de l'appareil, transportez-le dans sa position d'utilisation muni de ses cales de transport (selon modele).
Au déballage de celui-ci, et pour empêcher des risques d'asphyxie et corporel, tenez les matériaux d'emballage hors de la portée des enfants.
Pour éviter tout risque (mobilier, immobilier, corporel,...), l'installation, les raccordements (eau, gaz, électricité, évacuation selon modèle), la mise en service et la maintenance de votre apparéil doivent être effectuees par un professionnel qualifié.
Viete appareil a ete concu pour etre utilise par des adultes. Il est destiné a un usage domestique normal. Ne lutilisez pas a des fins commerciales ou industrielles ou pour d'autres buts que ceux pour lesquels il a ete concu. Voues eviterez ainsi des risques materiel et corporel.
Débranchez vous appeareil avant toute opération de nettoyage manuel. N'utilise que des produits du commerce non corrosifs ou non inflammables. Toute projection d'eau ou de vapeur est proscrite pour écarter le risque d'électrocution.
Si vous appeareil est equipoé d'un éclairage, débranchez l'appareil avant de procéder au changement de l'ampoule (ou du néon, etc.) pour éviter de s'électrocuter.
Afin d'empêcher des risques d'explosion et d'incendie, ne placez pas de produits inflammables ou déléments imbibés de produits inflammables à l'intérieur, à proximité ou sur l'appareil.
Lors de la mise au rebut de votre apparéil, et pour écarter tout risque corporel, mettez hors d'usage ce qui pourrait présenter un danger : coupez le cable d'alimentation au ras de l' apparéil.
Informez-vous auprès des services de votre commune des endroits autorisés pour la mise au rebut de l'appareil.
Veuillez maintainant lore attentivement cette notice pour une utilisation optimale de votre apparéil.
Veuillez lire attentivement cette notice d'utilisation et notamment le chapitre « Sécurité » que vous trouvrez dans les premières pages. Conservez cette notice d'utilisation pour pouvoir la consulter ultérieurement. Transmettez-la à l'eventuel prochain propriétaire de l'appareil.
Mise au rebut
Mettre au rebut les matériaux d'emballage
- Tous les emballages sont recyclables, les films et les mousse sont marqués en conséquence. Veuillez mette au rebut les matériaux d'emballage et évientuèlement l'appareil usage selon les règles en viqueur.
- Respectez les prescriptions nationales et régionales et le marquage des matériaux (tri des matériaux, ramassage des déchets, déchetteries).
Consignes de mise au rebut
L'appareil ne doit pas etre jetec avec les ordures menagères.
- Renseignez-vous auprès des services de votre commune des endroits autorisés pour la mise au rebut de l'appareil.
- Attention! Rendez inutilisable l'appareil usage avant de leMETRE au rebut. Coupez le cable d'alimentation au ras de I'appareil.
Sommaire
Consignes de sécurité 44
pour l'utilisateur 44
pour l'installateur 45
Généralités 47
Versionevacuationextérieure 47
Versionrecyclage 47
Utilisation de la hotte - DD 8990 48-51
Utilisation de la hotte - DD 8861-8891-8821 50-51
Utilisation de la hotte- DD 8695-8665-8625 52-53
Entretien 54
Filtre a graisse métallique 54
Filtre a charbon 55
Remplacement de I'ampoule d'éclairage 56
Nettoyage 57
Accessoires (en option) 57
ServiceAprés-vente 58
Caracteristiques techniques 59
Accessoires/Matériel de montage 59
Branchement electrique 60
Montage 61
Cet apparéil doit être installé par une personne qualifiée et selon les normes en vigueur.

Consignes de sécurité
pour l'utilisateur
- Il est recommandé de ne jamais laisser les foyers de cuisson sans récipient dessus. En cas de cusinières à gaz, à mazout ou à charbon il faut absolument éviter toute flamme libre.
- Par ailleurs, en cas de friture il faut faire attention à la friteuse placée sur le plan de cuisson. En effet l'huile pourrait prendre feu à cause d'une surchauffe. Le risque augmente si l'on utilise de l'huile usagée.
- Il est rappelé que toute surchauffe peut provoquer un incendie.
- L'utilisation d'huile usagée peut entraîner plus facilement une autoinflammation.
- Flamber est strictement interdit sous la hotte.
- Pour toute intervention sur la hotte, y compris pour le remplacement d'une ampoule électrique, mettez l'appareil hors tension (retirez les fusibles ou ouvre les disjoncteurs).
- Respectez les intervalles de remplacement du filtré et de nettoyage. Le non respect des consignes d'entretien et de nettoyage peut entraîner un risque d'incendie suite à l'accumulation de graissé dans le filtré.
- Cet apparéil a été concu pour être utilisé par des adultes. Veillez à ce que les enfants n'y touchent pas et ne l'utilisent pas comme un jouet.
- Voiture apparéil est destiné à l'usage domestique normal. Ne l'utilise pas à des fins commerciales ou industriielles ou pour d'autres buts que celui pour lequel il a été créé.
- Ne modifiez pas ou n'essayez pas de modifier les caractéristiques de cet apparéil. Cela représenterait un danger pour vous.
- Débranche toujours la hotte avant de procéder à son nettoyage et son entretien.
- Aérez convenablement la pièce en cas de fonctionnement simultané de la hotte et d'autres appareils alimentés par une source d'énergie différente de l'énergie électrique. Ceci afin que la hotte n'aspire pas le gaz de combustion.
Cet appeareil porte le symbole du recyclage conformément à la Directive Européenne 2002/96/CE concernant les Déchets d'Équipements Électriques et Électroniques (DEEE ou WEEE).
En procedant correctement à la mise au rebut de cet apparéil, vous contribuerez à empêcher toute conséquence nuisible pour l'environnement et la santé de l'homme.

Le symbole présent sur l'appareil ou sur la documentation qui l'accompagne indique que ce produit ne peut enaucun cas etre traité comme déchet menager. Il doit par conséquent etre remis à un centre de collecte des déchets charge du recyclage des équipements électriques et électroniques.
Pour la mise au rebut, respectez les normes relatives à l'élimination des déchets en vigueur dans le pays d'installation.
Pour obtenir de plus amples détails au sujet du traitement, de la récupération et du recyclage de cet articleil, veuillez vous adresser au bureau compétent de votre commune, à la société de collecte des déchets ou directement à votre revendeur.
pour l'installateur
- Le tuyau d'évacuation doit partager un diamètre de 150mm en version évacuation.
Dans le cas où il existe déjà un tuyau d'évacuation de l'air d'un diamètre de 125 mm dans le mur ou sur le toit, on pourra utiliser le manchon de réduction 150/125 mm. Le bruit de fonctionnement sera un peu plus élevé. - Lors de l'installation de la hotte, respectez les distances minimales suivantes entre le plan de cuisson et le bord inférieur de la hotte:
Cuisinière électrique 500 mm
Cuisinière à gaz 650 mm
Si les instructions d'installation du dispositif de cuisson au gaz spécifique une plus grande distance, il faut en tener compte. - L'appareil doit être débranché pendant l'installation ou dans l'eventualité d'une intervention.
- L'installation de votre apparéil doit être réalisée par un technicien qualifié.
- Vérifiez que la tension du réseau correspond à la tension mentionnée sur la plaque signalétique sur la hotte.
- Si l'installation électrique de votre habitation nécessite une modification pour le branchement de votre apparéil, faites appel à un électricien qualifié.
-
Le conduit d'évacuation, quel qu'il soit, ne doit pas deboucher dans les combles.
-
Dans le cas où l'appareil est relié directement à l'installation électrique, interposez un interrupteur bipolaire ayant une distance d'ouverture des contacts d'au moins 3 mm.
- La dépression de l'air dans la pièce où se trouvent des systèmes de chauffage ne doit pas être supérieure à 4Pa (4x10⁵ bar) lors du fonctionnement simultané de la hotte aspirante en version évacuation et des systèmes de chauffage.
- Si la hotte est utilisée en version évacuation, ne raccordez pas l'appareil à un conduit d'évacuation de fumées de combustion (chaudière, cheminée, etc.) ou à une VMC (ventilation mécanique contrôle).
L'évacuation de l'air aspiré doit se faire selon les prescriptions locales en vigueur.
- Lors du fonctionnement en Version évacuation, il faudra veiller à réaliser une ouverture d'entrée d'air suffisante, environ de la taille de l'ouverture d'évacuation.
- Selon les prescriptions de construction locales, des restrictions sont imposées à l'utilisation simultanée dans une même piece de hottes aspirantes et de systèmes de chauffage reliés à une cheminée tels que des poèles à charbon, à mazout ou à gaz.
- Le fonctionnement simultané et sans danger d'appareils reliés à une cheminée et de hottes aspirantes n'est assure que si le local et/ou l'appartement (pièces communicantes) possède une entrée d'air adaptée d'env. 500 à 600 cm², empêchant ainsi une dépression lorsque la hotte est en service.
- Comme dans les pieces sans systèmes de chauffage la règle suivante est de mise : « Ouverture d'entrée d'air aussi importante que l'ouverture d'évacuation», le rendement de l'installation d'évacuation peut être réduit si l'entrée d'air est supérieure à 500 à 600~cm^2
- Le fonctionnement de la hotte en recyclage ne presente aucun danger dans des conditions connues et n'est donc pas soumis aux prescriptions mentionnées ci-dessus.
- Le fonctionnement de la hotte en version évacuation n'est optimal que si les conditions suivantes sont respectées :
—parcours d'évacuation court et direct
—nombre de coudes minimal sur les tuyaux
—pose des tuyaux avec des courbes plujot que des angles nets
diamétres des tuyaux les plus grands possibles (de préférence le même diamètre que celui de l'ouverture d'évacuation).
- Le non respect de ces règles de base entraînera des pertes de puissance significatives et une augmentation du niveau sonore.
Généralités
- La hotte est livrée en version évacuation mais peut, grâce à l'emploi d'un contrôle à charbon actif (en option), être utilisée en version recyclage.
- Pour certains modèles, le filtré est fourni avec le matériel et par conséquent la hotte peut être immédiatement utilisée en version filtrante ; pour utiliser la hotte en version aspirante, il est conseillé d'enlever le filtré au charbon.
Version évacuation extérieure
- L'air est rejeté à l'air libre par un conduit raccordé sur le tuyau d'évacuation A. Fig. 1.
- Pour obtenir des performances optimales lors de l'aspiration, le tuyau d'évacuation doit avoir un diamètre équivalent à celui de l'ouverture d'évacuation.
- Dans le cas où il existe déjà un tuyau d'évacuation de l'air d'un diamètre de 125 mm dans le mur ou sur le toit, on pourra utiliser le manchon de réduction 150/125 mm. Le bruit de fonctionnement sera un peu plus élevé.

Fig. 1
Version recyclage
- L'air est filtré par un filtré à charbon (en option) et renvoyé dans la piece.
- En version recyclage utiliser le filtré à charbon actif d'origine (voir Accessoires) que vous pourrez vous procurer en option auprès de votre magasin vendeur.
Utilisation de la hotte - DD 8990
- La hotte est équipée de vitesse régable. Il est conseillé demettre en marche la hotte quelques minutes avant le début de la cuisson et de la laisser fonctionner env. une quinzaine de minutes après la cuisson afin d'éliminer toutes les odeurs.
Le bandeau de commandes de la hotte se trouve sur l'avant de l'appareil:

Fig. 2
1 - Touche MARCHE (stand-by - touche illuminée) / ARRET (touche eteinte)
Appuyez une ou plusieurs fois pour obtenir la fonction souhaitation: stand-by (led "b" allumé): la hotte est préte à fonctionner, la procédure de sécurité peut être activée (voir ci-dessous - "procédure de sécurité").
ARRET: toutes les fonctions sont désactivées à l'exception de l'illumination.
2 - Touche ON/OFF Lumière
3 - Afficheur
4 - Touche fonctionnement automatique (capteurs - Touche "S" allumée):
Fonctionnement automatique:
la hotte se met à fonctionner (aspiration) sur la base du changement des conditions normales de la pièce que la hotte relève grâce aux capteurs dont elle est équipée. (voir également la page suivante – “Test des capteurs”).
Les leds de l'afficheur clignotent en sequence à une vitesse proportionnelle à celle du moteur d'aspiration.
Attention! La hotte est équipée avec un système automatique de calibrage qui sert à étabir quelles sont les conditions normales de la pierce.
Si un fonctionnement anormal se produit, le calibrage peut etre repete manuellement: (voir la page suivante - "Calibrage automatique" et "Calibrage manuel").
5 - Touche de selection de la vitesse 1-2-3-1-2.
6 - Touche de vitesse intensive. Durée - 5 minutes, la dette P apparait sur l'afficheur ainsi que le temps de fonctionnement restant, le led "a" clignote.
Après 5 minutes de fonctionnement, la hotte returne à la vitesse établie précédemment.
Appuyez sur la touche 1 ou 6 pour désactiver cette fonction avant le temps établi.
7 - Minuteur: temporise toutes les vitesses (led "b" clignotant), ensuite la hotte s'eteint:
1ere vitesse: 20 minutes
2eme vitesse: 15 minutes
3eme vitesse: 10 minutes
P (intensif): 5 minutes
L'afficheur indique également le temps de fonctionnement restant.
Calibrage automatique des capteurs:
Le calibrage automatique des capteurs se produit toutes les 30 minutes.
Note: ÀpRES l'installation de la hotte ou après une absence prolongée du courant électrique, attendez au moins 30 minutes pour être certain que les capteurs sont bien calibrés.
Calibrage Manuel
Effectuez le calibrage à deux éteints, température de la piece normale, et absence d'une quantité de vapeur appréciable:
appuyez sur la touche 4 pendant 3 secondes, ensuite appuyez sur la touche 1, la hotte émet un signal sonore pour indiquer que le calibrage a été effectué.
Test capteurs
Pendant le fonctionnement en automatique, le système effectue en continuation un test sur l'efficacité des capteurs. En cas de panne, les chiffres "88" apparaissent sur l'afficheur. Dans ce cas, contactez le service après-vente.
Dans cette situation, la hotte peut etre utilise en mode manuel.
Procedure de sécurité
Auto-activation DE SECURITE du fonctionnement automatique sous des conditions particulieres: si les capteurs relevant une augmentation excessive de la température, même si la hotte se trouve en fonctionnement Manuel, le système selectionné tout seul le fonctionnement automatique et le moteur d'aspiration démarre, la hotte peut être éteinte en appuyant sur la touche 1.
Coupez l'alimentation de la hotte pendant au moins 5 secondes puis remettez la hotte en fonctionnement. Attendez 15 secondes environ avant de contrôle le fonctionnement correct de la hotte.
Utilisation de la hotte - DD 8861-8891-8821
- La hotte est équipée de vitesse régiable. Il est conseillé demettre en marche la hotte quelques minutes avant le début de la cuisson et de la laisser fonctionner env. une quinzaine de minutes après la cuisson afin d'éliminer toutes les odeurs.
Le bandeau de commandes de la hotte se trouve sur l'avant de l'appareil:

Fig. 3

2

3


4

5
6
1 - Interrupteur MARCHE/ARRET de la hotte
Appuyez moins de 1,5": la hotte se met en veille (petit point "b" allumé).
Appuyez plus de 1,5": la hotte s'eteint, TOUTES les commandes (à l'exception de la touche éclairage) sont désactivées (l'afficheur est complètement eteint).
Appuyez encore plus de 1,5" pour repositionner la hotte en veille.
2 - Interrupteur d'éclairage
3 - Afficheur
4 - Interrupteur de marche et selection des vitesses 1-2-3
5 - Interrupteur de vitesse intensive :
En vitesse intensive,la hotte fonctionne pendant 5 minutes.
A l'issue de cette durée, la hotte fonctionne à la vitesse initialement sélectionnée ou s'arrêté si aucune vitesse n'est régée.
Pour arrêté la hotte en vitesse intensive avant l'é coulement des 5 minutes, appuyez sur la touche 1 ou 5.
La lettuce P apparait sur l'afficheur ainsi que le temps restant (le petit point "a" clignote), à la fin l'appareil émet un signal sonore.
6 - Minuteur: temporise toutes les vitesses (le petit point "b"
clignote), et ensuite la hotte s'eteint:
La temporisation se divise comme suit:
1ere vitesse 20 minutes
2eme vitesse 15 minutes
3eme vitesse 10 minutes
Sur l'afficheur apparait le temps de fonctionnement restant et à la fin l'appareil émet un signal sonore.
On peut sortir de la fonction en appuyant de nouveau sur la touche.
Coupez l'alimentation de la hotte pendant au moins 5 secondes puis remettez la hotte en fonctionnement. Attendez 15 secondes environ avant de contrôle le fonctionnement correct de la hotte.
Dispositif de contrôle de saturation du filtré àGRAISSÉ et dufiltré à charbon actif - DD 8990 - 8861 - 8891 - 8821
Cette hotte est équipée d'un dispositif qui signale lorsque le filtré àGRAISSÉ et éventuèlement le filtré à carbon actif doivent être nettoyés. La hotte est fournie sans filtré à carbon actif; c'est pourquoi ledispositif signalant la saturation du filtré à carbon actif estdéconnecté.
Si I'on désire installer un filtré à charbon actif:
Seulement DD 8990: La hotte doit etre mise en "ARRET"
Activez le dispositif en appuyant simultanément sur les touches 4 et 5 pendant 3 secondes : au début il n'y a que LE VOYANT DE SATURATION FILTRE À GRAISSE F qui clignote, puis au bout de 3 secondes
LE VOYANT DE SATURATION FILTRÉ À CHARBON C commence également à clignoter indiquant ainsi que le dispositif de contrôle de saturation du filtre à charbon est à présent actif. Pour l'exclure, appuyez à nouveau sur les deux touches: au bout de 3 secondes; LE VOYANT DE SATURATION FILTRÉ À CHARBON C arrêtera de clignoter.
Voyant de saturation du filtré àGRAISSSE (F)
Cevoyant clignote lorsqueliltre a graisse doit etre nettoyede. Cecise produit apres 40 heures environ d'utilisation.
Lisez attentivement les conseils pour l'entretien du filtré àGRAISSE.
Voyant de saturation du filtré à charbon (C)
Ce voyant clignote lorsque le filtré à charbon doit être remplaced. Ceci se produit après 160 heures environ d'utilisation.
Lisez attentivement les conseils sur le remplacement du filtré à charbon actif.
Rétablissement de la signalisation de saturation du filtré àGRAISSÉ et du filtré àcharbon
Après avoir nettoyé le filtré àGRAISSÉ ou remplace le filtré àcharbon, appuyez sur la touche 1 pendant 3 secondes environ jusqu'à ce que le voyant de saturation du filtré àGRAISSÉ F ou levoyant de saturation du filtré àcharbon C arrêté de clignoter.
Utilisation de la hotte- DD 8695-8665-8625
- La hotte est équipée de vitesse régiable. Il est conseillé demettre en marche la hotte quelques minutes avant le début de la cuisson et de la laisser fonctionner env. une quinzaine de minutes après la cuisson afin d'éliminer toutes les odeurs.
Le bandeau de commandes de la hotte se trouve sur l'avant de l'appareil:
A - Touche ARRET (touche eteinte) - MARCHE (touche allumée) Appuyez une ou plusieurs fois pour obtenir la fonction souhaitee :
MARCHE (touche allumée): la hotte établit la dernière vitesse sélectionnée.
ARRET (touche eteinte) : toutes les fonctions sont desactivées à l'exception de l'éclairage.
B - Touche de selection de la vitesse (puissance d'aspiration).
Appuyez sur cette touche une ou plusieurs fois pour désir la vitesse (puissance) d'aspiration la plus appropriée (1-2-3).
C - Afficheur: visualise la puissance d'aspiration selectionnée (1-2-3), signale la saturation des filtres (F).
D - Interrupteur de vitesse intensive :
A l'issue de cette durée, la hotte fonctionne à la vitesse initialement selectionnée ou s'arrête si aucune vitesse n'est régée. Pour arrêté la hotte en vitesse intensive avant l'écoulement des 5 minutes, appuyez sur la touche A, B ou D
E - Interrupteur d'arrêt/marche d'éclairage

Fig. 4
Coupez l'alimentation de la hotte pendant au moins 5 secondes puis remettez la hotte en fonctionnement.
Dispositif de contrôle de saturation du filtré à graisse et du filtrre à charbon actif
DD 8695-8665-8625
Cette hotte est équipée d'un dispositif qui signale lorsque le filtré à graisse et eventuèlement le filtré à charbon actif doivent être nettoyés.
La hotte est fournie sans filtré à charbon actif; c'est pourquoi le dispositif signalant la saturation du filtré à charbon actif est déconnecté.
Si I'on désire installer un filtré à charbon actif, il faut alors activer le dispositif:
La hotte doit être mise en "ARRET".
Appuyez simultanément sur les touches B et D pendant trois secondes, l'indicateur F s'allume et l'indicateur de la 1ère vitesse commence à clignoter, après 1 seconde l'indicateur de la 2ème vitesse clignote également et le système émet un signal sonore (Beep) qui indique que l'activation a été effectué.
Pour enlever la signalisation du filtré à charbon,
appuyezsimultanément sur les touches B et D pendant trois secondes, l'indicateur F s'allume et l'indicateur de la 1ere vitesse (filtré àGRAisse) commence à clignoter et également l'indicateur de la 2eme vitesse, après 1 seconde, seulement l'indicateur de la 1ere vitesse clignotera, le système émet un signal sonore (-Beep-) qui indique que désactivation a été effectuee.
Voyant de saturation du filtré àGRAISSSE
L'indicateur de la 1ère (+ l'indicateur F) vitesse clignote lorsque le filtré àGRAISSÉ doit être nettoyé. Lisez attentivement les conseils pour l'entretien du filtré àGRAISSÉ.
Voyant de saturation du filtré à charbon
L'indicateur de la 2ème (+ l'indicateur F) vitesse clignote, lorsque le filtré à charbon doit être nettoyé.
Lisez attentivement les conseils sur le nettoyage du filtré à charbon actif.
Rétablissement de la signalisation de saturation du filtré àGRAISSÉ et du filtré à charbon
Après avoir nettoyé le filtré, appuyez sur la touche A pendant 3 secondes environ jusqu'à ce que l'indicateur de la 1ère vitesse ou l'indicateur de la 2ème vitesse s'arrête de clignoter. L'indicateur F s'éteint également.
Entretien
- Débranche la hotte avant tout entretien.
Filtre à graisse métallique
- Le filtré àGRAISSÉ métallique a pour but de piéger les particules de graissée produites durant la cuisson des alimentés et est utilisé aussi bien durant le fonctionnement en version évacuation qu'en version recyclage.
Le filtré àGRAISSÉ métallique doit être extrait toutes les 4 semaines et lavé soit à la main, soit dans un lave-vaisselle.
Ouverture du filtré àGRAISSÉ métallique
- Poussez en arrêté le dispositif d'arrêt du filtré àGRAISSE METALLIQUE puis sortez le filtré vers le bas. Fig. 5.
Nettoyage à la main
- Laissez tremper la cassette du filtré àGRAISSÉ métallique durant env. 1 heures dans de l'eau chaude avec un détergent deux puis rincez à l'eau chaude. Remettez en place la cassette soignement séchée.
Lave-vaisselle
- Placez la cassette du filtré àGRAISSE METALLIQUE dans le lavevaisselle.
Vérifiez que la rotation du bras de lavage du lave vaisselle ne puisse pas etre gené par le filtre àGRAISSE.
Lavez avec un programme pour vaisselles très sales et une température d'au moins 65^ . Recommencéventuelles l'opération. Remettez en place la cassette après sechage.
-
Il se peut qu'il y ait quelques modifications de la teinte de la cassette du filtrte àGRAISEMETALLIQUE lors du passage dans le lave-vaiselle, modifications qui n'ont aucune influence sur le fonctionnement de la cassette.
-
Nettoyez l'intérieur du logement de la cassette avec de l'eau chaude contenant du détermgent (n'employez jamais de déterments corrosifs ou de brosses à recycler!).

Filtre à charbon
- Le filtré à charbon est utilisé lorsque la hotte est utilisée en version recyclage.
- Pour cela, il faudra utiliser le filtré à charbon actif d'origine (voir Accessoires).
Nettoyage/remplacement du filtré à charbon
A la différence d'autres filtres de même type, le filtré à charbon LONG LIFE peut être nettoyé et réutilisé. Le filtré doit être nettoyé tous les deux mois en utilisation normale (en considérant une utilisation moyenne de 2,5 heures par jour). Il est recommendé de nettoyer le filtré dans un lave-vaisselle, à la température maximum. Utiliser un dédTergent normal. Aucun ustensile menager ne doit être present dans le lave-vaisselle lors du nettoyage du filtré, afin d'éviter tout dépôt de particules d'aliments qui risqueraient de causeur ultérieurement de mauvaises odeurs. Pour reactiver le charbon, il suffit demettre le filtré à secher au four. Régler le four sur chaleur normale, à une température de 100^ , et y laisser le filtré pendant 10 minutes.
Le cadre doit être changé au bout de trois ans environ, car il a alors perdu une bonne partie de sa capacité de détention des odeurs.
Montage
Enlevez le chassin i qui soutient le filtré h en tournant de 90^ les boutons (g) qui le fixent à la hotte. Introduisez le coussinet de charbon actif à l'intérieur du chassin et remontez le tout à sa place. Fig. 6.
- Pour le démontage, procédez dans l'ordre inverse.
- Lors de la commande d'un contrôle de rechange, veuillez préciser la désignation du contrôle et la définition du produit. Ces données sont indiquées sur la plaque signalétique à l'intérieur de l'applaire.
- Vous pouvez commander le filtré à charbon auprès de votre magasin vendeur.


Fig. 6

Attention
- Il y a risque d'incendie si vous ne respectez pas les instructions concernant le nettoyage de l'appareil et le remplacement ou le nettoyage du contrôle.
- La responsabilité du constructeur ne peut enaucun cas etre engagée dans le cas d'un endommagement du moteur ou d'incendie liés à un entretien négligé ou au non respect des consignes de sécurité precedemment mentionnées.
Remplacement de l'ampoule déclairage
- Mettez la hotter hors tension.
- Dévissez et retirez la protection de l'ampoule avec un tournevis. Fig. 7.
- Remplacez l'ampoule defectueuse par une ampoule du même type.
- Remontez la protection de l'ampoule.
- Si l'ampoule ne s'allume pas, vérifie qu'elle est correctement installée avant d'appeler le Service Avec-Vente.

Fig. 7
Nettoyage
- Attention: Débranche l'appareil avant le nettoyage.
N'introduisez pas d'objets pointus dans la grille de protection du moteur. - Nettoyez les parties extérieures avec un dédTangent doux.
N'utilisez jamais de produits abrasifs ou caustiques, de détergents corrosifs, de brosses ou de sablons à recycler. - Nettoyez le bandeau des commandes et la grille du filtré àGRAISSÉ avec un chiffon légarement imbibé d'un détergent doux.
- Il est très important de respecter les intervalles de remplacement du filtrte et de nettoyage. Le non respect peut entrainer un risque d'incendie suite à l'accumulation de graisse dans le filtrte.
Accessoires (en option)
Filtre à charbon Type 20
ServiceAprès-vente
Dans le cas de demandes de renseignement ou de pannes, veuilles appeler notre service après-vente (voir la liste de nos différents points de service après-vente).
Lors de l'essay, préciser:
- La désignation du modele
- La référence
- Le numero de l'appareil
Ces données sont indiquées sur la plaque signalétique située à l'intérieur de l'appareil et visible après ouverture de la grille du contrôle àGRAISSE.
Sous réserve de modifications de construction et de coloris dans le cadre du développement technique.
ServiceAprès-vente
Pour les apparèils commercialisés en France
Si une intervention s'avere nécessaire, le vendeur de votre apparéil est le premier habilité à intervenir. A défaut (déménagement de votre part, fermeture du magasin où vous avez effectué l'achat,...) veuillez consulter le Centre Contact Consommateurs qui vous communiquera alors l'adresse d'un service après vente.
Signalez au service après vente le numero PNC et le S-No (numéro de série), que vous trouvrez sur la plaque signalétique située sur votre apparéil.
Afin de répondre rapidement, nous vous recommendons de l'inscrite à cet endroit.
PNC:
S-No :
Caracteristiques techniques
Modèle: DD8625 DD8665/8695 DD8861/8891 DD8990 DD8821
Dimensions (en cm):
Hauteur 82,3-125,7 72,7-108,7 72-114 72-114 79-123
Largeur 119,8 59,8/89,8 59,8/89,8 89,8 119,8
Profondeur 45 45 45
Puisance
nominale
totale (W): 255 215 215 215 255
Moteur(W): 175 175 175 175
électrique (V): 230 220-240 220-240 220-240 220-240
Accessoires/Matériel de montage
1 deflecteur,
1 étrier de support,
1 étrier de la cheminée,
6 vis à bois 5 × 45 mm (pour les fixations au mur),
6 chevilles 0.8mm (pour les fixations au mur), 1 manchon de réduction 0.150 - 125 mm,
1 clé (pour visser les vis avec têté du type TORX).
DD 8665-8695-8861-8891-8990: 2 + 2 vis à tôle 3,5 × 9,5 (pour fixer le déflecteur), 2 vis à tôle 2,9 × 6,5 (pour fixer la cheminée)
DD 8625-8821: 4 vis à tôle 2,9 × 6,5 (2 pour fixer le déflecteur - 2 pour fixer la cheminée supérieure), 2 vis à tôle 3 × 9 (pour fixer la cheminée inférieure).
Branchement électrique
Consignes de sécurité pour l'électricien
Avant de brancher l'appareil, vérifier que la tension indiquée sur la plaque signalétique correspond à celle du secteur. Si l'appareil est muni d'une fiche de courant, il pourrait être branché sur n'importe qu'elle prise de courant installée conformément aux normes et facile d'accès.
Si un branchement permanent est nécessaire, la hotte devra estre branchee par un electricien travaillant pour une entreprise d'electricite agreée. Cote installation, il faudra prevoir un dispositif de protection sur tous les pôles avec une course d'ouverture de contact d'au moins 3 mm. Notre responsabilité ne peut etre engagée pour les defaults résultats du non respect des instructions precedemment mentionnées. Branchement permanent uniquement par un electricien agreé!
Pour les apparèils commercialisés par la France Branchement électrique
Votre apparéil ne peut être branché qu'en 230 V monophasé.
Vérifiez que la puissance de l'installation est suffisante et que les lignes sont en bon état et peuvent supporter l'intensité absorbée par l'appareil, compte tenu des autres appareils branchés.
Calibre des fusibles en ligne (un par phase) 10 A en 230 V.
Important
L'installation doit être réalisée conformément aux règles de l'art, aux prescriptions de la norme NF.C 15.100 et aux prescriptions de l'E.D.F. Utilisez un socle de prise de courant compteant une borne de mise à la terre, qui doit être obligatoirement raccordée conformément à la norme NF.C.15.100 et aux prescriptions de l'E.D.F.; cette prise de courant doit impératifement être accessible.
Dans le cas où l'appareil est relié aux canalisations électriques fixes, un dispositif de séparation bipolaire ayant une distance d'ouverture des contacts d'au moins 3 mm doit être prévu dans l'installation fixe.
Le cordon secteur est à 3 conducteurs.
Si le cable d'alimentation est endommagé, il doit être remplace par un cable d'alimentation certifié. Cette opération ne peut être effectuee que par une personne habilitée, par votre vendeur, ou par le fabricant. L'appareil ne doit pas etre raccordé à l'aide d'un prolongateur ou d'une prise multiple ou d'un raccordement multiple (risque d'incendie).
Vérifiez que la prise de terre est conforme aux règlements en vigueur. Notre responsabilité ne saurait être engagée pour tout incident ou accident provoqué par un raccordement électrique non conforme ou par une mise à la terre inexistante ou défectueuse.
Montage - Fig. 8-9
Operations préliminaires
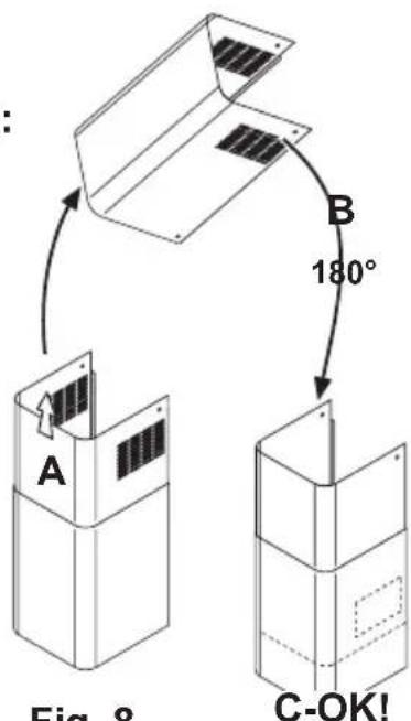
(Seulement pour le modele DD 8625-8821):
Il faut avant tout étabir quel est le type de fonctionnement souhaité. Si l'on souhaite utiliser la hotte en version évacuation extérieure, nous conseillons de placer la partie supérieure de la cheminée de façon à ce que les ouvertures d'évacuation ne soient pas visibles lorsque l'installation est achievée. Par contre, si l'on souhaite utiliser la hotte en version recyclage, il est préférible de S'ASSURER que le côte avec les ouvertures soit orienté vers le haut (voir également séquence A-B-C dans la Figure 8).

Fig. 8
- Marquer l'axe central sur la paroi, afin de facilititer la procédure de montage (1), puis positionner le gabarit de façon à ce que sa ligne centrale corresponde à l'axe précédemment marqué sur la paroi et que le côte inférieur du gabarit corresponde au côte inférieur de la hotte montée (2).
- Percer deux troughs 0.8 ~mm . et fixer l'étrier de support au moyen de deux vis et de goujons pour parois (3). Suspendre la hotte (4) en réglant sa position (5-6)
- Puis depuis l'intérieur de la hotte marquer deux points pour la fixation définitive de la hotte (7).
- Retirer la hotte (8) et pincer deux troughs Ø 8 mm. (9), puis insérer deux goujons pour parois (10).
- Percer deux troughs 0.8 mm . sur le côte supérieur pres du plafond, insérer deux goujons (11) pour parois (si l'on utilise la hotte dans la version filtrante, monter le déflecteur F sur la structure de support au moyen de 2 vis) et fixer la structure de support G au moyen de deux vis (12).
- Suspendre à nouveau la hotte (13) et fixer définitivement cette dernière au moyen de deux vis (14).
- Puis insérer une conduite d'évacuation (15) pour connecter le trou de sortie B de la hotte avec l'extérieur (Mode d'extraction de l'air) ou pour connecter le déflecteur avec le trou de sortie B de la hotte. (Mode de recyclage de l'air).
- Préparer les connexions électriques (16).
Fixer la partie supérieure de la cheminée (17a) sur le support G (17b), faire glisser vers le bas la partie inférieure de la cheminée et l'insérer dans l'encastrement prévu (18). - Seulement pour le modele DD 8625-8821: Fixer la partie inferieure de la cheminée sur la hotte avec 2 vis (19).

Contents
Safety warnings 64
Models: DD8625 DD8665/8695 DD8861/8891 DD8990 DD8821
Dimensions (in cm):
Height 82,3-125,7 72,7-108,7 72-114 72-114 79-123
Width 119,8 59,8/89,8 59,8/89,8 89,8 119,8
Depth 45 45 45 45 45
Maximum
absorbed
power (W): 255 215 215 215 255
Motor (W): 175 175 175 175
Notice Facile