CANDID C-06 - Caméra de surveillance ENEO - Notice d'utilisation et mode d'emploi gratuit
Retrouvez gratuitement la notice de l'appareil CANDID C-06 ENEO au format PDF.
| Type de produit | Caméra de surveillance ENEO CANDID C-06 |
| Résolution vidéo | Full HD 1080p (1920 x 1080 pixels) |
| Type de capteur | Capteur CMOS |
| Angle de vue | 90 degrés |
| Alimentation électrique | 12V DC |
| Dimensions approximatives | 120 x 80 x 60 mm |
| Poids | 350 g |
| Connectivité | Wi-Fi et Ethernet |
| Fonctions principales | Vision nocturne, détection de mouvement, enregistrement sur carte SD |
| Entretien et nettoyage | Nettoyer avec un chiffon doux, éviter les produits chimiques agressifs |
| Pièces détachées et réparabilité | Disponibilité de pièces de rechange via le service client ENEO |
| Sécurité | Cryptage des données, accès sécurisé via mot de passe |
| Compatibilités | Compatible avec les systèmes de surveillance ENEO et autres systèmes IP |
| Garantie | 2 ans |
FOIRE AUX QUESTIONS - CANDID C-06 ENEO
Questions des utilisateurs sur CANDID C-06 ENEO
0 question sur cet appareil. Repondez a celles que vous connaissez ou posez la votre.
Poser une nouvelle question sur cet appareil
Téléchargez la notice de votre Caméra de surveillance au format PDF gratuitement ! Retrouvez votre notice CANDID C-06 - ENEO et reprennez votre appareil électronique en main. Sur cette page sont publiés tous les documents nécessaires à l'utilisation de votre appareil CANDID C-06 de la marque ENEO.
MODE D'EMPLOI CANDID C-06 ENEO
1/3” Caméras Video pour Jour/Nuit en Caisson interpérée
Série: CANDID C-05 / CANDID C-06
- Consignes de sécurité 20
- Description générale 20
- Installation 21
3.1 Accessoires faisant partie de la fourniture 21
3.2 Ouverture du caisson pour ajuster l'angle d'image 21
3.3 Raccordement caisson et bras articulé 22
3.4 Exemple de raccordement pour l'utilisation de plusieurs cameras 22 - Montage, raccordement et mise en service 23
4.1 Montage du caisson 23
4.2 Raccordement des cables 23
4.3 Raccordement avec un bloc d'alimentation VHU-NT1 (en option) 23 - Commutateur de fonctions 25
5.1 Eléments de contrôle et de raccordement 25
5.2 Reglage des commutateurs DIP 25 - Réglage du cadre 26
- Specifications 27
- Croquis 36
#
1. Consignes de sécurité
- Veuillez direcss consignes de sccurtie et mode d'emploi avant de mette en service la camera.
- Gardez ce mode d'emploi en lieu sur pour une utilisation ultérieure.
- N'utilise pas ces camères au-delà des valeurs de température, d'humidité et de puissance spécifiées.
- Posez les cables de connexion soigneusement et voirlez notamment à ce que le cable ne soit pas soumis à de fortes charges, qu'il ne soit pas entortillé ou endommagé et que l'humidité ne puisse pas y pénétrer.
N'essayez pas de démonter la carte de laamera de son boîtier.
- L'unité ne peut être ouverte que par un personnel autorisé.
- La garantie est annulée si laamera a été réparée par une personne non autorisée à le faire.
- Contactez le fournisseur si vous rencontres des problèmes de fonctionnement.
ATTENTION: Bloquer uniquement les vis de fixation (10) lorsque la position exacte de la camera a ete ajustee.
Si le boitier de laamera est deplacé sur le bras de montage après le serrage des vis de fixation, son etanchete n'est plus assurée.
Nettoyage:
- N'utilise pas des détergents forts ou abrasifs lorsque vous nettoyez le boitier ou le hublot.
- Pour le nettoyage, utilisez un chiffon doux et sec.
Si les salissures devaient s'avérer être difficiles à nettoyer, utilisez un détergent non agressif et passez le chiffon doucement.
Veillez à ce que le hublot soit toujours propre.
2. Description générale
- Caméra jour/nuit dans caisson anti-intemperies
- Résolution horizontal: 480 lignes TV
- Sensibilité: 0,4Lux à couleur / 0,0044Lux à NB (mesuré pour F1,2); (Sens-up en service)
- Objectif - CANDID C-05: F1,2 ~ F260 / 4,5 ~ 12,5mm; varifocal-DC
CANDID C-06: F1,3 ~ F240 / 7,5 ~ 50mm; varifocal-DC
- Obturadeur basse et haut vitesse (ESC/DSS)
- Plage de l'obturadeur: 1/2 à 1/100.000sec.
- Integration de l'image: 32x max.
- Correction de contre-jour (BLC)
- Réglage automatique de gain à 28dB (AGC)
Balance de blancs automatique (ATW)
Mode jour/nuit, mode anti-scintillage mention en/hors service
Alimentation: 12VDC - Indice de protection: IP66/67
3. Installation
3.1 Accessoires faisant partie de la fourniture
- Bloc d'alimentation pour Candid (en option)
- Instructions de montage et de service
- Une clé alène de 3mm
3.2 Ouverture du caisson pour régler l'angle d'image
- Pour ouvrir le caisson, déplacer le toit pare-soleil (uniquement pour les caissons intempérie) de manière à avoir accès à la vis à tête creuse (a) se trouvant dans la partie centrale du caisson.
- Desserrer cette vis dans le caisson en la tournant vers la droite jusqu'à la butée.
- Le corps du caisson (partie centrale) peut alors être tiré vers l'avant.
- Le corps du caisson est fixé au rail de montage de laamera à l'aide d'un cable d'arrêt permettant ainsi de laisserPENDRE le caisson a sont bout lors des opérations de service et d'entretien.
- En cas de besoin, il est possible de détacher le cable de retenue et ainsi de séparer le corps du boitier du caisson ou du bras de fixation.

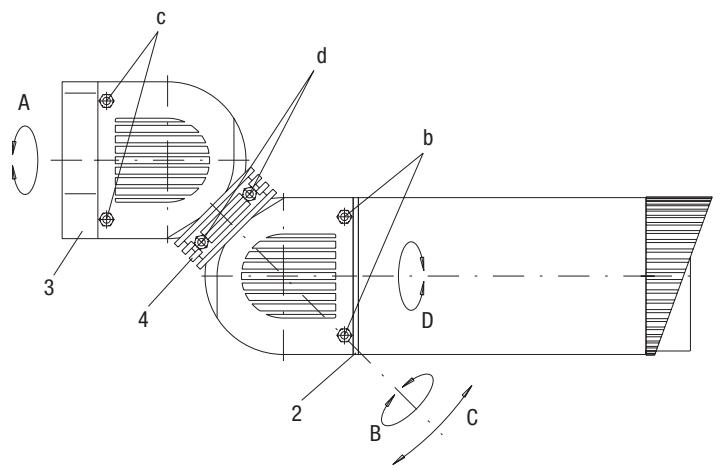
Fig. 1
A Tourner dans les sens des aiguilles d'une montre = ouvrir
B Tourner dans les sens contraire des aiguilles d'une montre = fermer
3.3 Raccordement caisson et bras articulé
- Le bras articulé est fixé à la paroi arrière (2) du caisson à l'aide de deux vis creuses (b) et à la plaque de fixation (3) à l'aide des vis creuses (c).
- Lorsque les vis (c) sont desserrées, le bras articulé peut tourner sur son axe (A), et sur son axe (D) lorsque les vis (b) sont desserrées.
- On peut le faire tourner sur l'axe (B) ou se déplacer sur l'axe (C) en desserrant les vis creuses (d) de l'anneau de serrage (4).
- On pointe les axes de déplacement de laamera et du bras en desserrantles vis correspondantes (b-d). La fixation du caisson se fait en accrochage. En position de fixation il faut un espace de 0,5mm.

Fig. 2
3.4 Exemple de raccordement pour l'utilisation de plusieurs caméras
Ne pas oublier de dire très attentivement la notice d'emploi des différents éléments et apparciels utilisés. Ne mette en marche les éléments et apparciels de l'installation qu'aupres avoir effectué tous les branchements.

4. Montage, raccordement et mise en service
4.1 Montage du caisson
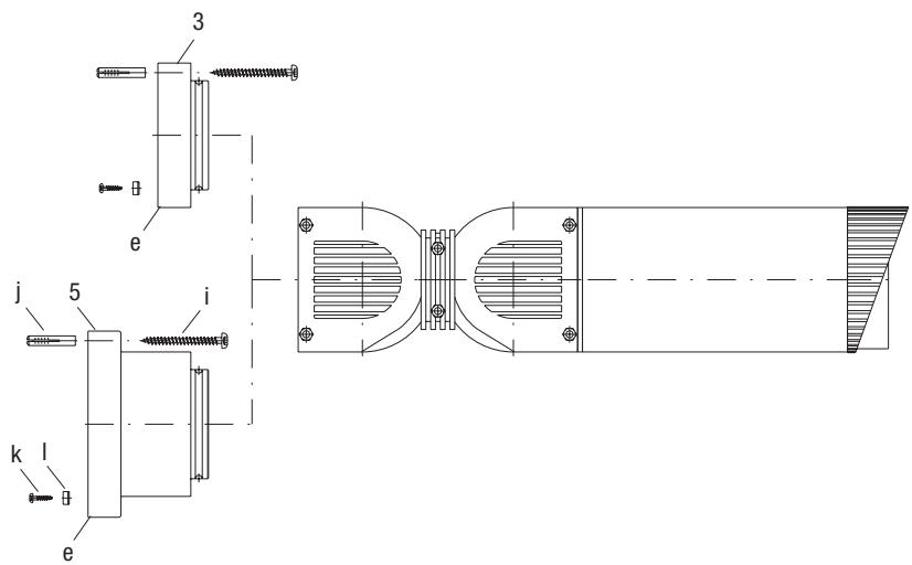
- Pour monter le caisson, enlever les deux vis creuses (c) (cf. Fig. 2) etsterol la plaque de fixation du caisson.
- Monter la plaque de fixation à l'emplacement requis (mur, plafond, mur extérieur, etc.) à l'aide des vis et des chevilles faisant partie de la fourniture. Vérifier que celles-ci sont adaptées au mode de montage et que le support envisagé est suffisamment stable.
- Faire passer les cables d'alimentation et les cables video directement au travers de la plaque de fixation ou par l'entrée de cables laterale (e) prévue a cet effet (cf. Fig. 3). Il est possible, le cas échéant, d'assurer un soulagement de traction et une fixation supplémentaire des cables sur la plaque de fixation du boitier en utilisant les attaches de cables faisant également partie de la fourniture.
REMARQUE: Si vous utilisez un bloc d'alimentation, livrable en option, celui-ci se fixera de maniere simillaire: à la place de la plaque de fixation, sur la base. Dans ce cas, la plaque de fixation reste inutilisée.

Fig. 3
4.2 Raccordements des câbles

4.3 Raccordement avec un bloc d'alimentation VHU-NT1 (en option)
Le socle à bloc d'alimentation est une option de la série de boitiers CANDID. Il est concu pour le montage dans un endroit disposant d'une alimentation de tension de secteur. Le socle à bloc d'alimentation est exclusivement concu pour la série de boitiers CANDID et peut uniquement ettre utilisé en association avec ces boitiers. La plaque de montage (5) à bloc d'alimentation intégré (voir fig. 3 et 4) remplace la plaque de montage (3), conformément à la description du paragraphe 4.1.

Fig. 4
VHU-NT1 alimentation
- Pour monter le socle à bloc d'alimentation, sortez la vis à tête bombée (i), la chevelle (j), les vis du collier de cable (k) et le collier de cable (l) de l'emballage.
- Passez les cables d'alimentation et de signaux par le passé-cable de la plaque de montage à bloc d'alimentation intégré et branche le cable d'alimentation aux bornes du bloc d'alimentation (une borne de connexion à 4 pôles est jointe).
- Le cable de raccordement video peut être prolongé dans le bras articulé (connexion BNC).
- Le cable de raccordement doit etre autant que possible centredans la zone du bloc d'alimentation afin de ne pas restreindre la mobilité du bras articulé.
- Montage du socle à bloc d'alimentation uniquement sur une surface plane, tolence de planite inférieure a 1 mm dans la zone du socle.
- Voir en figure 5 les positions de montage du boitier avec le socle à bloc d'alimentation. Celui-ci est concu pour un montage suspendu et horizontal, des positions intermediaires étant possibles.
- Un montage tel que celui de la figure 6 n'est pas autorisé ici! Ce mode de montage est rayé sur la figure.
- En cas de position de montage horizontal, amenez les cables par en bas à travers l'entrée de cables (ouverture à casser).
- Pour assurer le degré de protection, les ouvertures doivent être obturées avec du mastic d'étanchéité du commerce (p. ex. silicone).
- Il est également possible d'amener les câbles directement hors du mur à travers le socle à bloc d'alimentation.
- Les cables de branchement au secteur doivent composer une double isolation jusqu'àux bornes de connexion en utilisant la gaine isolante en silicone jointe.

Fig. 5
Position de montage avec le socle à bloc d'alimentation


5. Commutateurs de fonctions
5.1 Éléments de contrôle et de raccordement

(1) Fixation d'objectif
(2) Filetag d'objectif C
(3) Raccordement d'objetif
(4) Selecteur d'objectif
(5) Sortie video BNC
(6) Réglage VR du diaphragme
(7) Alimentation
(8) Commutateur de fonctions
Selecteur d'objectif
Le commutateur doit être positionné sur DC.
Sortie video BNC
Le signal video composite à 1,0Vcc/750hm est disponible à cette connexion.
Réglage VR du diaphragme pour objectifs à entrainment DC
Ce potentiometre est uniquement utilise si la camera est equipée d'un objectif à réglage automatique du diaphragme avec un entrainment DC. Il permet de régler la quantité de lumière qui touche le senseur CCD. La rotation en sens horaire augmente la luminosité, la rotation en sens inverse horsaire la diminuè. Ces fonctions VR ne se déroulent correctement que dans les conditions suivantes:
- Commutateur ESC/ALC -> ALC
- Sélecteur d'objet DC
Un objectif à commande automatique du diaphragme avec entrainement DC est installé.
Entrée d'alimentation électricque (borne à vis)
L'alimentation 12VDC est assuree par cette connexion (alimentation electrique recommendee: min. 180mA
5.1 Réglage des commutateurs DIP
SW 1: ALC / ESC (préRéglage: ESC)
Pour la sélection du mode de commande du diaphragme
Pas nécessaire en raison de l'objet fixe!
SW 2: BLC MARCHE/ARRET (prééglage: MARCHE)
Si I'objet observé est trop pâle en raison d'un arrêt-plan clair, commuter le commutateur BLC sur MARCHE afin de compenser l'arrêt-plan clair. Lorsque BLC est activé, la luminosité de l'arrêt-plan peut arrivier à saturation dans quelques cas. Cette fonction peut ne pas se dérouler correctement si l'objet est trop petit par rapport à la surface de l'arrêt-plan. Cette fonction peut également être utilisée avec les deux obturateurs linéaires (mode DSS ou ELC).
SW 3: absence de scintillement MARCHE/ARRET (prééglage: ARRET)
Lorsque le mode anti-scintillagement est activé, le réglage de l'obturateur est fixe à 1/120.
Le mode anti-scintillagement est utile dans des regions à fréquence nominale de 50Hz et norme TV NTSC comme au Japon ou si la fréquence nominale de 60Hz et la norme TV PAL sont utilisées. Dans ces cas, le scintillagement est réduit avec un éclairage à tube fluorescent. Si FL est commuté sur MARCHE, la sensibilité est réduite d'environ 30% avec un faible éclairage.
SW 4: jour/nuit (ICR+DSS) MARCHE/ARRET (préRéglage: MARCHE)
En position MARCHE, laamera active les deux fonctions jour/nuit (ICR et DSS) et utilise ses fonctions selon l'éclairage de la scène.
Si la luminosité de la scène baise sous le 1er seuil, laamera commutes en mode J/N en sortant son filtre d'arrêt IR de la trajectory du rayon et en commutant en mode N/B.
Au 1er niveau du mode J/N, laamera émet le signal video N/B et peut exploiter la lumière IR.
Si la luminosité de la scène baisse sous le 2ème seuil, laamera commute en mode DSS et émet le signal video à champ intégré. Le taux de rafraîchissement de l'image varie, en fonction de la luminosité, entre 32 images/s (max.) et 2 images/s (min.).
Si la luminosite augmente a nouveau, laamera quitte le mode DSS et de mode ICR en ramenant son filtre d'arrêt dans la trajectory du rayon et en commutant en mode couleur.
En position ARRET (OFF); laamera fonctionne à nouveau comme uneamera couleur.
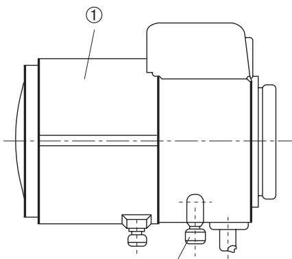
6 Réglage du cadrage
Le foyer et la distance fiscale devraient uniquement etre regles par des personnes autorises:
- Retirez la partie mediane du boitier (voir fig. 1)
- Mettez laamera en marche (alimentation de tension) et raccordez le moniteur.
- Dévissez la vis de serrage (2) (voir fig. 6) et tournez la molette pour modifier la distance facale de l'objet et le cadrage.
- Mise au point (focalisation) par la molette (1).
- A la fin du réglage, bloquez à nouveau les vis molettes (1) + (2) et fermez le boitier (voir fig. 1).
REMARQUE: Ppour obtenir une mise au point aussi exacte que possible sur des cameras disposées à l'extérieur, nous recommendons de tener un filtre ND (Neutral Density = densité neutre) devant l'objet pendant les opérations de réglage décrites ci-dessus. Le diaphragme s'ouvre alors dans l'objet et permet ainsi le réglage de la nettedé de l'image sans influence des variations de la lumière ambiente.
Fig. 6
① Molette de focalisation (manuelle)
② Réglage de la distance fiscale (manuelle)

(2)
7. Spécifications
| Modèle | CANDID C-05 | CANDID C-06 |
| Code informatique | 96077 | 96078 |
| Système | CCIR/PAL | |
| Capteur | 1/3" Sony Super HAD Interline Transfer CCD (SS-1M) | |
| Éléments d'image actifs | Env. 440.000, (H) 752 x (V) 582 | |
| Traitement du signal | Numérique (DSP) | |
| Synchronisation | Interne | |
| Rapport signal / bruit | 48dB (AGC inactif) | |
| Résolution horizontal | 480 lignes TV | |
| Sensibilité | 0,4Lux pour couleur / 0,0044Lux pour NB (mesuré pour F1,2) | |
| Fonction Shutter électronique | 1/2 ~ 1/100.000sec. | |
| Incrustation image | 32x | |
| Réglage automatique du gain (AGC) | 28dB max. | |
| Balance des blancs (ATW) | Automatique (2000 ~ 8000K) | |
| Compensation de contre-jour (BLC) | Mise en/hors service | |
| Filtre coupure infrarouge | Par Moteur, automatique (dépendant de la quantité de lumière tombante), ou manuel (commutation service couleur/NB). Le signal couleur sera hors service en pivôt | |
| Réglages externes | AGC, BLC, jour/nuit, sans vacillement On/Off, réglage de l'objet DC | |
| Sortie vidéo | 1Vcc, composite/CCVS, 750hm | |
| Objectif | F1,2 ~ F260 / 4,5 ~ 12,5mm, Varifocal DC | F1,3 ~ F240 / 7,5 ~ 50mm, Varifocal DC |
| Angle d'image horizontal | 57° ~ 22° | 36,6° ~ 5,64° |
| Distance de réglage minimum (M.O.D.) | 0,3m | 0,4m |
| Chauffage vitre | Réglage élétronique 12V | |
| Connexion cable | Câbles vidéo et d'alimentation dirigés vers l'extérieur | |
| Caisson | Aluminium/matrière plastique (Macrolone) | |
| Pare-soleil | Oui | |
| Couleur | RAL 9016 (corps/toit) RAL 7035 (partie avant et arrêté) RAL 7037 (rotule/bague de serrage) | |
| Indice de protection | IP66/67 | |
| Alimentation | 12VDC (±20%) | |
| Consommation | Env. 9W | |
| Gamme de température | -30°C ~ +40°C | |
| Dimensions | Voir croquis | |
| Poids | 1,2kg | |
| Contenu de la livraison | Clé alène 3mm, kit de fixation | |
Accessoires
| Code informatique | Description |
| 73546 | Set de montage mât pour caissons VHU |
| 79494 | Alimentation pour caisson Candid |
8. Croquis
Voir page 36

mit Netzeilfuß
incl. power supply unit base
avec bloc d'alimentation
con fuente de alimentación
ohne NetzeilfuB without power supply unit base sans bloc d'alimentation sin fuente de alimentacion

MaBe / Dimensions / Medidas: mm

eneo
eneo® est une marque propriété de Videoréel Technique E. Hartig GmbH Distribution et vente à travers les distributeurs spécialisés.
Tel. +49 (0) 6074 / 888-0 · Fax +49 (0) 6074 / 888-100
www.videortechnical.com

991265
Sous réserve de modifications techniques
Notice Facile