CANDID C-06 - Überwachungskamera ENEO - Kostenlose Bedienungsanleitung
Finden Sie kostenlos die Bedienungsanleitung des Geräts CANDID C-06 ENEO als PDF.
Benutzerfragen zu CANDID C-06 ENEO
0 Frage zu diesem Gerät. Beantworten Sie die, die Sie kennen, oder stellen Sie Ihre eigene.
Eine neue Frage zu diesem Gerät stellen
Laden Sie die Anleitung für Ihr Überwachungskamera kostenlos im PDF-Format! Finden Sie Ihr Handbuch CANDID C-06 - ENEO und nehmen Sie Ihr elektronisches Gerät wieder in die Hand. Auf dieser Seite sind alle Dokumente veröffentlicht, die für die Verwendung Ihres Geräts notwendig sind. CANDID C-06 von der Marke ENEO.
BEDIENUNGSANLEITUNG CANDID C-06 ENEO
Montage- und Betriebsanleitung
1/3” Tag/Nacht Videokameras im Wetterschutzgehäuse
Modellreihe: CANDID C-05 / CANDID C-06
- Sicherheitshinweise 4
- Allgemeine Beschreibung 4
- Installation 5
3.1 Mitgeliefertes Zubehor 5
3.2 Offnen des Gehäuses zur Einstellung des Bildwinkels 5
3.3 Verbindung zwischen Gehäuse und Gelenkarm 6
3.4 Anschlussbeispel bei Verwendung mehrerer Kameras 6 - Montage, Anschluss und Inbetriebnahme 7
4.1 Montage des Gehäuses 7
4.2 Anschluss-Kabelsatz 7
4.3 Anschluss mit optionalem Netzteil VHU-NT1 7 - Funktionsschalter 9
5.1 Lage und Funktion der Bedien- und Anschlusselemente 9
5.2 Einstellung der DIP-Schalter 9 - Einstellung des Bildausschnits 10
- Technische Daten 11
- MaBzeichnungen 36
Contents
1. Sicherheitschinweise
- Bittie lesen Sie diese Sicherheits- und Betriebsanweisungen, bevor Sie die Kamera in Betriebnehmen.
- Halten Sie die Betriebsanleitung an einem sicheren Ort bereit, um später darin nachschlagen zu konnen.
- Betreiben Sie die Kameras nicht außerhalb der angegebenen Temperatur-, Feuchtgkeits- oder Spannungs-grenzwerte.
- Gehen Sie beim Verlegen der Kabel sorgfältig vor und beachten Sie, dass das Kabel nicht schweren Lasten ausgesetzt sein, Knicks erhalten oder beschädigt werden und keine Flüssigkeit in es gelangen damit. Versuchen Sie nicht, die Kameraplaine aus dem Gehäuse zu demontieren.
- Das Gerätarf nur durch zugelassenes Personal geöffnet werden.
- Die Garantie besteht, wenn Reparaturen von nicht zugelassenen Personen durchgeführt werden.
- Wenden Sie sich im Fall von Funktionstörungen an den Lieferanten.
ACHTUNG: Die Befestigungsschrauben (10) dürfen erst dann vollständig festgezogen werden, wenn die exakte Position der Kamera justiert ist. Wird das Kameragehäuse auf dem Montagearm bewegt, nachdem die Befestigungsschrauben fest sind, kann Undichtigkeit im Gehäuse entstehen.
Reinigung:
- Verwenden Sie zum Reinigen des Gehäuses und des Fensters (Achtung: Kunststoff) keine starken oder scheuerndren Reinigungsmittel.
- Verwenden Sie zum Reinigen ein weiches und trockenes Tuch. Setzen Sie bei schlecht zu entfernenden Verschmutzungen ein mildes Reinigungsmittel ein und wischen Sie vorsichtig.
- Halten Sie das Fenster sauber.
2. Allgemeine Beschreibung
- Tag/Nachtkamera im wetterfesten Gehäuse
- Horizontale Auflösung: 480 TV-Linien
- Empfindlichkeit: 0,4Lux bei Farbe / 0,0044Lux bei SW (gemessen bei F1,2); (Sens-up Ein)
- Objektiv - CANDID C-05: F1,2 ~ F260 / 4,5 ~ 12,5mm; Vario-DC
- CANDID C-06: F1,3 ~ F240 / 7,5 ~ 50mm; Vario-DC
High- und Low-Speed Shutterregelung (ESC/DSS) - Shutterbereich: 1/2 bis 1/100.000Sek.
Bildintegration: 32-fach max. - Gegenlichtkompensation (BLC)
- Automatische Verständungsregelung bis 28dB (AGC)
- Automatischer WeiBabgleich (ATW)
- Tag/Nacht-, Flackerfrei-Funktion Ein/Ausschaltbar
- Betriebsspannung: 12VDC
Schutzart:IP66/67
3. Installation
3.1 Mitgeliefertes Zubehör
- Netzgerätesockel für Gehäuserserie Candid (Option)
- Betriebsanleitung
- 3mm Inbusschluss und Befestigungsbepack
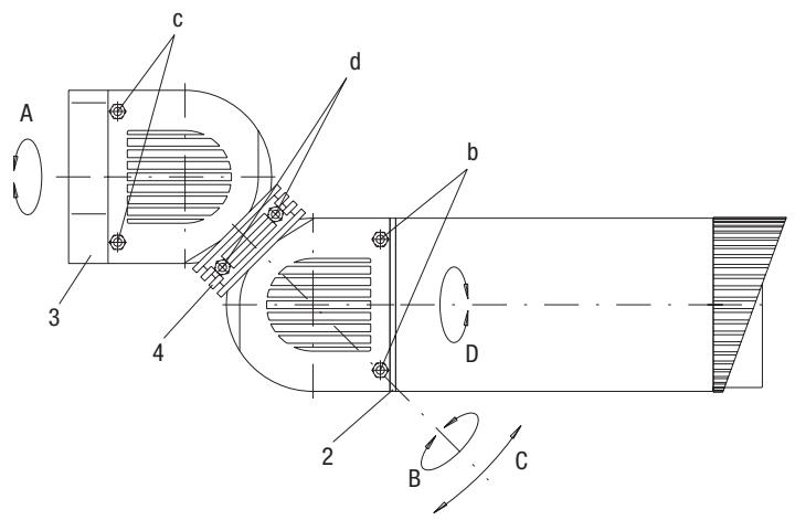
3.2 Öffnen des Gehäuses zur Einstellung des Bildwinkels
- Sonnenschutzdach (nur bei Wetterschutzausfuhrung) so verschieben, dass die im Gehäusemittelteil (1) befindliche Inbusschraube (a) zugänglich wird.
- Schraube im Uhrzeigersinn bis zum Anschlag in das Gehäuse drehen.
- Gehäusekörper (Gehäusemittelteil) kann nach vorne abgezogen werden.
- Gehäusemittelteil ist mit einem Fangseil an der Kameramontageschiene befestigt. Zum freien Hantieren an den Einbauten kann das Gehäusemittelteil frei am Fangseil hangen.
- Das Fangseil kann bei Bedarf an der Kameramontagschiene ausgehängt und damit das Gehäusemittelteil vom Gehäuseende bzw. Montagearm gelöst werden.

Abb.1
A Drehen im Uhrzeigersinn = öffnen
B Drehen entgegen Uhrzeigersinn = schlieBen
3.3 Verbindung zwischen Gehäuse und Gelenkarm
- Der Gelenkarm ist mittels 2 Inbusschrauben (b) an der Gehäuserückwand (2), bzw. mittels Inbusschrauben (c) an der Montageplatte (3) befestigt.
- Durch Losen der Inbusschrauben (c) ist der Gelenkarm um die Achse A drehbar. Ein Losen der Schrauben (b) ermittelcht die Drehung um Achse D.
- Nach Lösen der Inbusschrauben (d) des Klemmrlings (4) ist das Drehen um Achse B bzw. Neigen um Achse C möglich. Das Gehäuse kann positioniert werden.
- Gelenkarm und Kamera können beliebig ausgerichtet werden.
- Durch Festziehen der Schrauben (b-d) werden die entsprachenden Achsen bzw. der Gelenkarm arretiert. Zwischen den 2 Häften des Klemmrings sollen im fixierten Zustand ein Spalt von mind. 0,5mm verbleiben.
Abb.2

3.4 Anschlussbeispiel bei Verwendung mehrerer Kameras
Stets die Bedienungsanleitung der zu verwendenden Geräte und Komponenten sorgfältig lessen. Geräte und Komponenten erst nach Herstellung aller Anschüsse einschalten.

4. Montage, Anschluss und Inbetriebnahme
4.1 Montage des Gehäuses
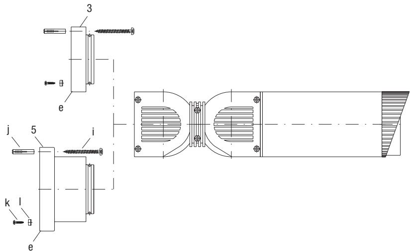
- Zur Montage des Gehäues die beiden Inbusschrauben (c) (siehe Abb. 2) entfern und die Montageplatte (3) vom Gehäuse abziehen.
- Montageplatte mittels beiliegender Befestigungsschrauben und Düb sofern geeignet an Wand, Decke, Mauer etc. befestigen. Untergrund auf ausreichende Stabilität prufen.
- Versorgungs- und Signalkabel konnen direkt durch die Montageplatte bzw. durch den seitlichVBereiteten Kabeleinlass (e) gefuhr werden (siehe Abb. 3). Das Kabel kann mit beiliegender Kabelschelle an der Montageplatte nochmals fixiert und zugentlastet werden.
HINWEIS: Wird das optional lieferbare Netzeil eingesetzt, wird these analog, an Stelle der Montageplatte an dem Untergrund befestigt. Die Montageplatte wird in thisem Fall nicht benotigt.
Abb.3

4.2 Anschlusskabelsatz


4.3 Anschluss mit optionalem Netzteil VHU-NT1
Der NetzeilfuB ist eine Option fur die Gehauseserie CANDID. Er ist vorge-sehen fur eine Montage bei der am Aufstellungsort Netzspannung verflgbar ist. Der NetzeilfuB ist ausschlieBlich fur die Verwendung mit der Gehauseserie CANDID vorgesehen und darf auch nur in Verbindung mit diesen Gehausen betrieben werden.
Anstelle der Montageplatte (3) wird die Montageplatte (5) mit integriertem Netzeil (siehe Abb. 3 u. 4), wie unter Punkt 4.1 beschrieben, montiert.

- Zur Montage des NetzteilfuBes Halbrundkopfschraube (i), Dubel (j), Schrauben fur Kabelselle (k) und Kabelselle (l) aus dem Beipack entnehmen.
- Versorgungs- und Signalkabel durch die Kabeldurchführung der Montageplatte mit integriertem Netzeil durchfuhren und Versorgungskabel an den Anschlussklemmen des Netzeils anschließen (4-pol. Verbindungsklamme liegt bei).
- Das Videoanschlusskabel kann im Gelenkarm verlangert werden(BNC-Verbindung).
- Anschlusskabel im Bereich des Netzteils muss möglichst zentrisch geführt werden, um die Beweglichkeit des Gelenkarms nicht einzuschranken.
- Montage des NetzeilfuBes nur auf einer ebenen Fläche, zulässige Abweichung der Ebenheit im Bereich des FuBes kleiner als 1mm.
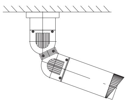
- Montagelagen des Gehäuses inklusive Netzeilfuß, siehe Abb. 5. Der Netzeilfuß ist für hängende bis waagerechte Montage konzipiert. Zwischenstellungen sind möglich.
- Eine Aufstellmontage, wie in Abbildung 6 darestellt, ist hier nicht zulässig! Diese Montageart ist in der Abbildung durchgestlichen.
- Bei waagerechter Montagelage darauf auf achten, dass die Kabelzuführung von unten durch den ausbrechbaren Kabeleinlass erfolgt.
- Zur Erreichung der Schutzart sind die Öffnungen mit handelsüblichem Dichtmitt (z.B. Silicon) zu verschlieben.
- Es ist auch möglich, die Kabel direkt aus der Wand durch den Netzeilfuß zu führen.
- Netzanschlussleitungen müssen bis zu den Anschlussklemmen doppelt isoliert sein. Dafür ist der beiliegende Silicon-Isolierschauch zu verwenden.
Abb.5
Montagelage inklusive NetzteilfuB



5. Funktionsschalter
5.1 Lage und Funktion der Bedien- und Anschlusselemente

(1) Objektivhalter
(2) C-Objektivgewinde
(3) Objektivanschluss
(4) Objektivwahlschalter
(5) BNC-Videoausgang
(6) VR-Blendeneinstellung
(7) Spanningsversorgung
(8) Funktionsschalter
Objektivwahlschalter
Schalter muss auf DC stehen.
BNC-Videoausgang
An thisem Anschluss steht das Composite-Video-Signal mit 1,0Vss/750hm zur Verfügung.
VR-Blendeneinstellung für Objektive mit DC-Antrieb
Dieses Potentiometer wird nur verwendet, wenn die Kamera mit einem Objekt mit automatischer Blendensteuerung mit DC-Antrieb ausgestellt ist. Mit ihm wird eingestellt, wie viel Licht auf den CCD-Bild sensor fält. Durch Drehen im Uhrzeitigersinn wird die Helligkeit erhöht, durch Drehen gegen den Uhrzeitigersinn verringgert. Diese VR-Funktionen arbeiten nur unter folgenden Bedingungen korrekt:
- ESC/ALC-Schalter -> ALC
- Objektivwahlschalter -> DC
Ein Objektiv mit automatischer Blendensteuerung mit DC-Antrieb ist installiert.
Spannungsversorgungseingang (Schraubklemme)
Über diesen Anschluss erfolgt die Versorgung mit 12VDC. (Empfohlene Stromversorgung: Min. 180mA)
5.2 Einstellung der DIP-Schalter
SW 1: ALC / ESC (Voreinstellung: ESC)
Zur Auswahl des Blendensteuerungsmodus
Wird durch das fest eingebaute Objektiv ncht benoigt!
SW 2: BLC EIN/AUS (Voreinstellung: EIN)
Wenn das betrachtete Objekt aufgrund eines hellen Hintergrunds zu blass ist, stellen Sie den BLC-Schalter auf EIN, um den hellen Hintergrund zu kompensieren. Ist BLC eingeschaltet, kann die Hintergrundhelligkeit in einigen Fällen in die Sattigung laufen. Diese Funktion arbeitet möglichweise nicht korrekt, wenn das Objekt im Vergleich zur Hintergrundfläche zu Klein ist. Diese Funktion kann auch mit beiden linearen Shuttern verwendet werden (DSS- oder ELC-Modus).
SW 3: Flackerfrei EIN/AUS (Voreinstellung: AUS)
Bei eingeschaltetem Flackerfrei-Modus ist der Shutter fest auf 1/120 s eingestellt.
Der Flackerfrei-Modus ist nutzlich in Gebieten mit einer Netzfrequenz von 50Hz und der TV-Norm NTSC wie in Japan, oder wenn die Netzfrequenz 60Hz beträgt und die TV-Norm PAL verwendet wird. In diesen Fällen wird bei Leuchtstoffrähen-Beuleuchtung das Flackern verringgert. Wenn FL auf EIN geschaltet ist, wird die Empfindlichkeit bei geringer Beulechung um etwa 30% verringgert.
SW 4: Tag/Nacht (ICR+DSS) EIN/AUS (Voreinstellung: EIN)
In der Stellung EIN schaltet die Kamae beside Tag/Nacht-Funktionen (ICR und DSS) ein und setzt ihre Funktionen nacheinander gemäß der Beleitung der Szene ein. Wenn die Helligkeit der Szene unter den 1. Schwellenwert fällt, schaltet die Kamae in den T/N-Modus, indem sie ihren IR-Sperrfilter aus dem Strahlengang nimmt und in den S/W-Modus umschaltet.
In der 1. Stufe des T/N-Modus gibt die Kamera das Echtzeit-S/W-Video aus und kann IR-Licht auswerten.
nach Helligkeit zwischen 32 Bildern/s (max.) und 2 Bildern/s (min.).
Wenn die Helligkeit wieder zunimmt, verlasset die Kamera den DSS- und den ICR-Modus, indem sie ihren IR-Sperrfilter wieder in den Strahlengang bringt und in den Farbmodus umschaltet.
In der Stellung AUS (OFF) arbeitet die Kamera wie eine normale Farbkamera.
6. Einstellung des Bildausschnits
Fokus und Brennweite sollenn nur von autorisierten Personen eingestellt werden.
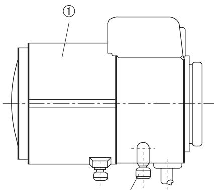
- Gehäusemittelteil abziehen (s. Abb. 1).
- Kamera einschalten (Spanningsversorgung) und Monitor anschließen.
Durch Losen der Feststellschaube (2) (s. Abb. 6) und Verdrehen des Rings verändert sich die Brennweite des Objektiv und damit der Bildausschnitt.
Die Scharstellung (Fokussierung) erfolgt über Ring (1). - Nach beendeter Einstellung beiden Rändelschrauben (1) + (2) wieder festziehen und Gehäuse schlieben (s. Abb. 1).
HINWEIS: Für eine möglichst exakte Fokuseinstellung bei Kameras im Außenbereich empfeilt es sich, einen ND (Neutral Density)-Filter während des oben beschrieben Einstellvorgangs vor das Objekt zu halten. Dadurch öffnet sich die Blende im Objekt und ermöglicht so die Einstellung einer von wechselnden Umgebungslichtbedingungen unabhängigeren Bildschärfe.
Abb.6
① Fokusring (manuell)
② Brennweitenverstellung (manuell)

(2)
7. Technische Daten
| Typ | CANDID C-05 | CANDID C-06 |
| EDV-Nr. | 96077 | 96078 |
| System | CCIR/PAL | |
| Aufnahmesensor | 1/3" Sony Super HAD Interline Transfer CCD (SS-1M) | |
| Aktive Bildelemente | Ca. 440.000, (H) 752 x (V) 582 | |
| Signalverarbeitung | Digital (DSP) | |
| Synchronisation | Intern | |
| Signal-/Rauschabstand | 48dB (AGC Aus) | |
| Horizontale Auflösung | 480 TV-Linien | |
| Empfindlichkeit | 0,4Lux bei Farbe / 0,0044Lux bei SW (gemessen bei F1,2) | |
| Elektronische Shutterfung | 1/2 ~ 1/100.000Sek. | |
| Bildintegration | 32x | |
| Automatische Verständergregelung (AGC) | 28dB max. | |
| Weißbgleich (ATW) | Automatisch (2000 ~ 8000K) | |
| Gegenlichtkompensation (BLC) | Ein-/Ausschaltbar | |
| IR-Sperrfilter | Per Motor, automatisch (in Abhängigkeit von der einfallenden Lichtmenge), oder manuell (s. Umschaltung Farb/SW-Betrieb). Im ausgeschwenkten Zustand wird das Farbsignal abgeschättet | |
| Externe Einstellungen | AGC, BLC, Tag/Nacht, Flackerfrei Ein/Aus, Blendenregler für das DC-spannungsgesteuerte Objektiv | |
| Videoausgang | 1Vss, (F)BAS, 750hm | |
| Objektiv | F1,2 ~ F260 / 4,5 ~ 12,5mm, Varifocal-Objektiv mit DC-Iris | F1,3 ~ F240 / 7,5 ~ 50mm, Varifocal-Objektiv mit DC-Iris |
| Horizontaler Bildwinkel | 57° ~ 22° | 36,6° ~ 5,64° |
| Kürzeste Einstellentfernung (M.O.D.) | 0,3m | 0,4m |
| Scheibenheziehung | Elektronisch geregelte 12V-Heizung | |
| Kabelanschluss | Video/Spanningsversorgung nach außen geführt | |
| Gehäuse | Aluminium/Kunststoff (Makrolon) | |
| Sonnenschutzdach | Ja | |
| Farbe | RAL 9016 (Mittelteil und Sonnenschutzdach) RAL 7035 (Front- und Rückteil) RAL 7037 (Kugelkopf/Klemmring) | |
| Schutzart | IP66/67 | |
| Betriebsspannung | 12VDC (±20%) | |
| Leistungsaufnahme | Ca. 9W | |
| Temperaturbereich | -30°C ~ +40°C | |
| Abmessungen | Siehe Maßzeichnung | |
| Gewicht | 1,2kg | |
| Lieferumfang | Inbusschlüssel 3mm, Befestigungsbepack | |
Zubehör
| EDV-Nr. | Kurzbeschreibung |
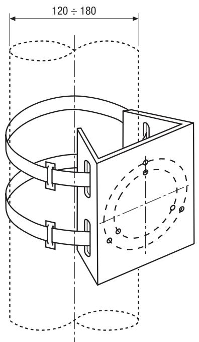
| 73546 | Mastmontageset für VHU Gehäuserserie |
| 79494 | Netzgerätefuß für Candid Gehäuserserie |
8. Maßzeichnungen
SieheSeite36
VT-PM4 (EDV-Nr./EDP No. 73546)


MaBe / Dimensions / Medidas: mm
eneo ^10 ist eine eingetragene Marke der Videor Technical E. Hartig GmbH Vertrieb ausschließlich über den Fachhandel.
VIDEO TECHNICAL E. Hartig GmbH
Carl-Zeiss-Straße 8·63322 Rödermark/Germany
Änderungen vorbehalten.
EinfachAnleitung