0753 MKII 07530 MKII - Outil pneumatique AVDEL - Notice d'utilisation et mode d'emploi gratuit
Retrouvez gratuitement la notice de l'appareil 0753 MKII 07530 MKII AVDEL au format PDF.
| Type d'outil | Outil oléo-pneumatique |
| Alimentation | Hydro-pneumatique |
| Pression de fonctionnement | Non précisé |
| Débit d'air requis | Non précisé |
| Consommation d'huile | Non précisé |
| Poids | Non précisé |
| Longueur | Non précisé |
| Type de raccord | Non précisé |
| Matériau du corps | Non précisé |
| Utilisation recommandée | Applications industrielles |
| Mode de commande | Manuelle |
| Accessoires inclus | Non précisé |
| Maintenance | Requiert entretien régulier |
| Durée de vie | Non précisé |
| Normes de sécurité | Conforme aux normes industrielles |
FOIRE AUX QUESTIONS - 0753 MKII 07530 MKII AVDEL
Questions des utilisateurs sur 0753 MKII 07530 MKII AVDEL
0 question sur cet appareil. Repondez a celles que vous connaissez ou posez la votre.
Poser une nouvelle question sur cet appareil
Téléchargez la notice de votre Outil pneumatique au format PDF gratuitement ! Retrouvez votre notice 0753 MKII 07530 MKII - AVDEL et reprennez votre appareil électronique en main. Sur cette page sont publiés tous les documents nécessaires à l'utilisation de votre appareil 0753 MKII 07530 MKII de la marque AVDEL.
MODE D'EMPLOI 0753 MKII 07530 MKII AVDEL
Manuel d'instructions
Betriebsanleitung
Outil oléo-pneumatique
Attrezzo oleopneumatico
Safety Rules 4
Specifications
Specification for 0753 MklI Type Tool 5
Specification for 07531 Intensifier 5
Intent of Use 6
Tool Dimensions 7
Règles de sécurité 42
\section*{Caracteristiques}
Caracteristiques de l'outil type 0753 Mk II 43
Caracteristiques de l'intensificateur 07531 43
Utilisation prévue 44
Dimensions de l'outil 45
Mise en service
Alimentation pneumatique 46
Curseur mécanique 47
Curseur 48
Chargement et rechargement de l'outil 48-49
Procedure d'utilisation 49
Identification et sens de montage des 50
ressorts d'aiguille
Ensembles de nez
Nez de pose 51
Sélection d'unnez de pose 52
Tableaux de selection des nez de pose 53-54
Aiguilles et ressorts d'iguille 55
Tableaux de selection Chobert et Grov 55-56
Tableaux de selection Briv 57-58
Types de cônes d'aiguille et longueur 'P' 58
Tableaux de selection Avlug®, Avsert®, Avtronic® 59
et Rivscrew
Entretien de l'outil
Quotidien / hebdomadaire 60
Informations de sécurité,GRAISSA au bisulfure 60
de molybdene EP 3735
Kit d'entretien 61
Entretien
Démontage de l'outil 07530-02200 Mk II 62-63
Démontage de l'outil 07532-02200 Mk II 64-65
07530-02200 Mk II - assemblage général 66-67
etliste de pieces
07532-02200 Mk II - assemblage général 68-69
etliste de pieces
Intensificatour 07531-02200 70-71
Valve pilot 07005-00590 Information 72-73
sur les pieces détachées
Plein d'huile
74
Information de sécurité Hyspin VG 32 et AWS 32 (huile) 74
Procedure de plein d'huile 74
Diagnostic des pannes
Symptôme, Cause possible & Remède 75
Garantie
Les outils d'installation de Avdel sont couverts par une garantie de 12 mois contre tout vice de fabrication ou toute malfaçon. La période de garantie commence à la date de livraison confirmée par la facture ou le reçépissé de livraison.
L'opérateur/l'acheteur bénéficiaie de la garantie si l'outil a été acheté dans un point de vente agrée et seulement s'il est utilisé pour l'utilisation prévu. La garantie de l'outil est annulée en cas de non-respect des instructions d'entretien, de révision et d'utilisation containues dans les Manuels d'instructions et d'entretien.
Dans l'eventualité d'un défaut ou d'une défaillance, Avdel, à son entière discrétion, s'engage uniquement à réparer ou replacer les composants défectueux.
Toute personne participant à l'installation, à l'utilisation ou à l'entretien de cet outil doit dire attentivement ce manuel.
1 Ne pas employerer à d'autres usages que celui prévu.
2 L'outil a main et l'intensificateur ont ete testes independament I'un de I'autre avant d'être rassemblés. Ces outils ont ete concus pour n'est utilisés qu'ensemble et exclusivement dans le cadre de I'application preconisée.
3 Ne pas utiliser avec cet outil/cette machine d'autres matériels que ceux recommendés et fournis par Avdel.
4 Toute modification apportee par le client a l'outil ou a la machine, aux ensembles de nez, aux accessoires ou a tout autre materiel fourni par Avdel ou ses représentants relève de la seule et entière responsabilité du client. Avdel donna rontiers son avis sur toute modification envisagée.
5 L'outil ou la machine doit être maintainen en permanence en état de fonctionner sans danger et leur bon état et fonctionnement doivent être vérifiés à intervalles réguliers par un personnel compétent et ayant reçu la formation adequate. Toute opération de démontage ne doit être entreprise que par des personnes formées aux procédures Avdel. Ne pas démonter cet outil/cette machine avant d'avoir consulté les instructions de maintenance. Prière de contacter Avdel en indiquant vos besoin en formation.
6 L'outil ou la machine doit à tout moment être utilisés conformément à la législation d'hygiene et de sécurité conforme aux règlements du Ministère du Travail en application de l'article R233-69 du code du travail. Toute question relative à la bonne utilisation de l'outil ou de la machine et à la sécurité de l'opérateur doit être adressée à Avdel.
7 Il apparient au client d'explainer a chaque opérateur les précautions a respecter lors de l'utilisation de l'outil ou de la machine.
8 Toujours debrancher le tuyau d'air du raccord d'arrivalde l'outil ou de la machine avant tout réglage, montage ou demontage d'un ensemble de nez.
9 Ne pasmettre en marche un outil ou une machine diriges vers une/despersonne(s).
10 L'opérateur veillera à adopter une position équilibrée et stable avant d'utiliser l'outil/la machine.
11 S'assurer que les orifices de mise à l'atmosphère ne viennent pas à être obstrués ou masqués et que les flexibles sont toujours en bon état.
12 La pression d'utilisation ne doit pas dépasser 7 bars.
13 La combinaison fixation, aiguille, dimension du trou et épaissur de tôle doit être conforme aux specifications imposées par Avdel.
14 Ne pas utiliser l'outil si celui-ci n'est pas muni d'un ensemble de nez complet, à moins d'une consigne contraire explicite.
15 Lors de l'utilisation de l'outil, l'opérateur et les personnes se trouvant à proximé doivent impérativement porter des lunettes de sécurité pour se protégger contre l'éjection des fixations en cas de pose 'en l'air'. Nous recommendons le port de gants en cas de présence d'arêtes ou d'angles vifs sur l'application.
16 Veiller à ne pas laisser des vêtements amples, cravates, cheveux longs, chiffons de nettoyage, etc. se prendre dans les parties mobiles de l'outil. L'outil doit être maintainu sec et propre pour donner la(Meilleure prise.
17 Lors du transport de l'outil, eloigner les mains de la gachette ou du levier pour eviter un déclenchement intempéstif de l'outil.
18 Tout contact excessif avec de l'huile hydraulique doit etre evite. Veiller a bien se laver pour eviter tout risque d'éruption cutanee.
IMPORTANT
Bien qu'une usure et un marquage limités des aiguilles soient inévitables suite à leur utilisation normale et correcte, l'on veillera à les examiner régulièrement à la recherche de signes d'usure ou de marquage excessifs, en particulier au niveau du diamètre du côte et de la zone de prise des mâchoires d'aiguille du fut, de signes de piquage intensif du fut ou de déformation de l'aiguille. Un dysfonctionnement de l'aiguille en cours d'utilisation pourrait provoquer son éjection de l'outil. La responsabilité de veiller à ce que les aiguilles soient replacées avant d'atteindre un niveau excessif d'usure et toujours avant le nombre maximum de poses préconisé, incombe au client. Contacter le représentant Avdel le plus proche, qui se chargerà de fournir cette information en mesurant la force de mandrinage de votre application à l'aide d'un outil de test calibre. Ces outils sont également vendus sous la référence 07900-09080 et sont fournis avec toute l'information nécessaire aux tests incluse dans ce manuel.
Caracteristiques de l'outil Type 0753 Mk II
| Pression d'air | minimum - maximum | 5 - 7 bars |
| Volume d'air libre nécessaire | @ 5,1 bars / 75 lbf/in2 | 2,6 litres |
| Course | minimum | 30 mm |
| Force de Traction | @ 5,5 bars / 80 lbf/in2 | 3,89 kN |
| Cycle de Pose | environ | 1 seconde |
| Niveau Sonore | Inférieur à | 70 dB(A) |
| Poids | Pistolet | 1,2 kg |
| Vibration | Inférieur à | 2,5 m/s2 |
Caracteristiques de l'intensificateur 07531
| Pression d'air | minimum - maximum | 5 - 7 bars |
| Rapport d'intensification | 32:1 |
L'outil pneumatique de type 0753 Mk II a ete concu pour la pose de fixations rapides Avdel (sauf Avlug 1,6 mm) et convient tout particulierement à l'assemblage en lots ou chaine continue requis par un large eventail d'applications, toutes industries confondues.
L'outil a main et l'intensificateur ont etestés independamment l'un de I'autre avant d'être rasssemblés.Ces outils ont ete concus pour n'est utilisés qu'ensemble et exclusivement dans le cadre de l'application preconisee.Consulter la rubrique "Mise en service" de la page 46 pour ce qui concerne les details de raccordement.
Les modèles 07530 Mk II et 07532 Mk II sont tous deux des outils à main légers. La seule différence entre eux réside dans l'emplacement de l'arrivée du flexible. Sur l'outil 07532 Mk II, l'arrivée par le haut permet de suspendre l'outil à une plaque de montage additionnelle (voir le plan ci-contre). Les numérodes de réference indiqués permettent de commander un outil complet, y compris l'intensificateur et tous les flexibles, à l'exception de l'équipement de pose.
Les modèles 07530 Mkll et 07532 Mkll utilisent les pistolets de réference 07530-02200 et 07532-02200 respectivement. Voir la rubrique Assemblage général des pages 66-69.
Les deux modèles permettent de poser les mêmes fixations et, comme l'indique le tableau suivant, peuvent poser la plupart des fixations à répétition.
Les deux modèles utilisent le même équipement de pose. La sélection des composants compatibles avec le type et les dimensions de la fixation utilisée par votre application doit s'effectuer à partir de la rubrique Equipement de pose du manuel (voir pages 51-59). Les dimensions des nez de pose sont listedes sur les pages 52.
| NOM DE LA FIXATION | TAILLE DE LA FIXATION | |||||||||||
| 2,4 mm | 3,2 mm | 4,0 mm | 4,8 mm | 6,4 mm | 2,5 mm 2,8 mm | 3 mm | 3,5 mm | 4 mm | 6 mm | M2.5 4-40 UNC | M3 6-32 UNC | |
| CHOBERT® | ● | ● | ● | ● | ● | |||||||
| GROV® | ● | ● | ● | ● | ||||||||
| AVLUG® | ● | ● | ||||||||||
| BRIV® | ● | ● | ● | ● | ● | |||||||
| RIVSCREW® | ● | ● | ● | ● | ||||||||
| AVTRONIC® | ● | |||||||||||
| AVSERT® | ● | ● | ||||||||||
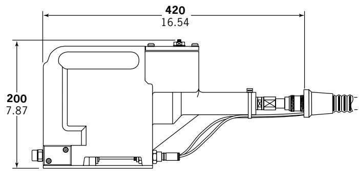
Dimensions de L'outil - Modele 07530 Mk II
Référence 07530-02100




Dimensions de L'outil - Modele 07532 MkII Model
Référence 07532-02100




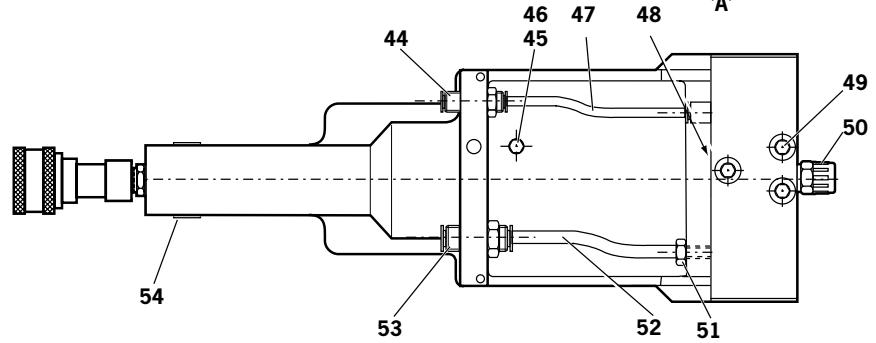
Tous les outils sont actionnés à l'air compré, à la pression optimale de 5,5 bars. Nous recommendons l'utilisation de réguleurs de pression et de dispositifs automatiques de filtration et d'huilage sur le circuit d'alimentation pneumatique. Pour obtenir une longévité maximum de l'outil avec une maintenance minimum, ces dispositifs doivent être installés à 3 mètres au maximum de l'outil (voir schéma cédssous).
Les flexibles d'alimentation en air doivent avoir une résistance nominale en pression égale à au moins 150% de la pression maximum produit par le système, ou à 10 bars, minimum. Ces flexibles doivent résister à l'huile, avoir une paroi extérieure résistant à l'abrasion, et ils doivent être armés si les conditions d'utilisation présente un risque de détérioration. Tous les flexibles d'air DOIVENT IMPERATIVÉMENT avoir un diamètre interieur minimum de 6,4 millimétres.
Lire le détail des opérations d'entretien quotidien, page 60.

Pour raccorder l'outil à l'intensificateur et à l'alimentation pneumatique, suivre les étapes ci-dessous :
- Pousser l'extrémité du gros flexible hydraulique de l'outil dans le raccord rapide monté à l'extrémité de l'intensificateur.
- Sur la face avant de l'intensificateur :
Pousser la conduite pneumatique bleue (DE 4 mm) dans le raccord de réducteur monté sur le raccord traversant gauche.
Pousser la conduite pneumatique noire (DE 4 mm) dans la collerette en plastique du raccord traversant droit.
Monter un flexible pneumatique entre le raccord male monte a l'arriere de l'intensificateur et l'alimentation pneumatique principale.
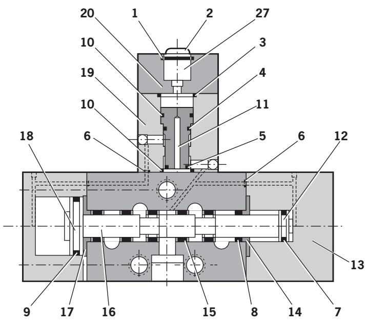
Curseur Mecanique

Il existe trois types de curseurs mécaniques différents, adaptés aux diverses références :
07271-01100 Utilise pour les aiguilles standards et jetsables 5 / 32"
07279-05843 les aiguilles jetables 1/8"
07279-05845 les aiguilles jetables 3/16"
La différence entre les ensembles ci-dessus correspond au diamètre interne de l'obtraturer.

Ces éléments sont codés couleur, comme suit :
| REF. PIECE DE CURSEUR MECANIQUE. | REF. PIECE OBTURATEUR | COLORIS | DIAMETRE DU TROU (en mm) |
| 07271-01100 | 07150-00402 | ACIER | 2.7 |
| 07279-05843 | 07159-05844 | OR | 2.2 |
| 07279-05845 | 07159-05846 | ARGENT | 3.3 |
IMPORTANT
S'il n'est pas correctement monté, le curseur mécanique ne permet pas l'alimentation en fixations.
Bien que le curseur mécanique soit monté dans le bon sens à la livraison de l'outil, nous recommendons de vérifier son orientation avant de monter l'équipement de pose. Le côté légèrement concave, portant le ressort, du curseur mécanique doit être orienté vers l'avant de l'outil, comme indiqué sur l'illustration ci-dessous.
Lorsqu'il est monté dans le bon sens, le curseur mécanique sort facilement du canon quand on introduit une aiguille dans son centre, et qu'on la retire ensuite.
Pour inverser l'orientation du curseur mécanique, procéder de la façon suivante :
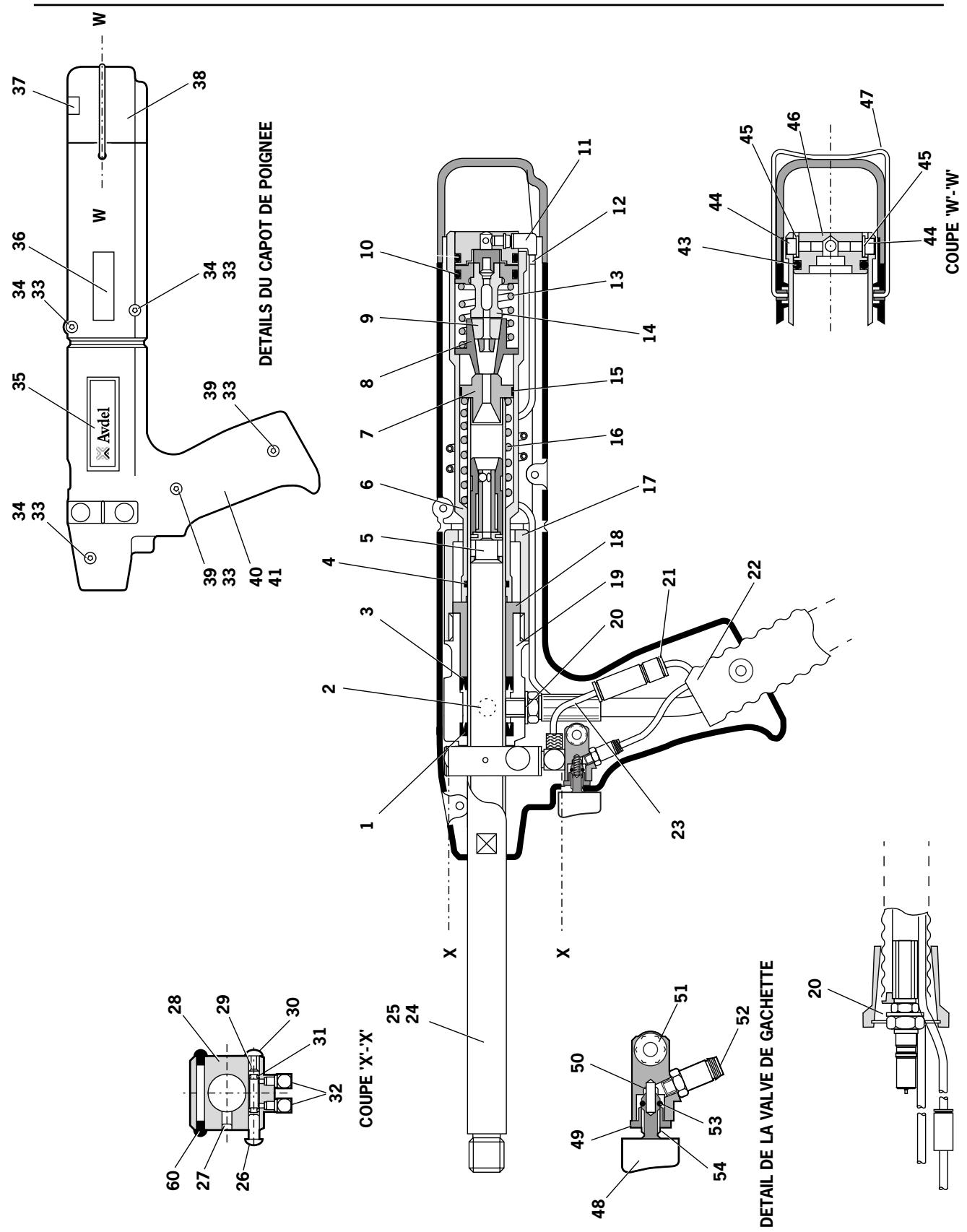
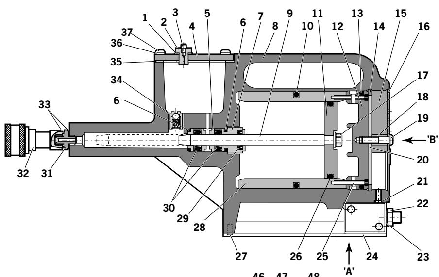
Les numéroes de repère en caractères gras renvoient à la rubrique Assemblage général & liste de pieces de l'outil 07530-02200 Mk II des pages 66-67. Pour le type 07532-02200 Mk II, la procédure est identique mais les références des pieces doivent être prélevées de la rubrique Assemblage général etliste de pieces des pages 68-69.

- Retirer le clip 47 et faire coulisser l'obturateur 38 pour le retarder.
A l'aide d'une clé Allen, retireur une des vis à tête cylindrique 44, en veillant à bien purger l'air. Retirer l'autre vis à tête cylindrique 44.
Faire sortir I'obturateur arriere 46. - Extraire l'ensemble piston des machoires d'aiguille 14 avec les machoires 9.
Dégager le ressort 13 et le carter port-mâchoires 8. - Introduire une aiguille dans le trou situé à l'arrière du canon 25 jusqu'à ce qu'elle dépasse à travers l'avant du canon, puis extraire ensemble l'aiguille et le curseur mécanique par l'avant.
- Remonter les composants dans l'ordre inverse du démontage.
- Introduire l'ensemble Curseur mécanique 5 par l'avant du canon et dans le bon sens.
Chargement et Rechargement de L'outil
IMPORTANT
Le chargement de l'outil et le montage de l'équipment de pose sur l'outil ne sont qu'une même opération.
Lors de la commande d'un outil complet, la livraison comprend en principe l'equipement de pose correspondant au type de fixation à poser. Pour identifier les composants de l'equipement de pose et selectionner les bons éléments, consulter la rubrique équipements de pose, pages 51-59.
Si le matériel livré comprend un nez de pose, des aiguilles et des ressorts d'aiguille, passer au chargement de l'outil et au montage de l'équipment de pose en suivant les étapes de la page suivante.
Les numéroes de repère en caractères gras renvoient à la rubrique Assemblage général & liste de pieces de l'outil 07530-02200 Mk II des pages 66-67. Pour le type 07532-02200 Mk II, la procédure est identique mais les références des pieces doivent être prélevées de la rubrique Assemblage général etliste de pieces des pages 68-69.
Chargement de l'outil
Raccorder l'util à l'alimentation pneumatique.
Ouvr les mâchoires d'iguille 9 en prise sur l'aiguille en coupant l'interrupteur de serrage mâchoires (repères 26 et 30).
- Visser le nez de pose sélectionné sur le canon 25 de l'outil.
n Introduire une aiguille du cote tige des fixations, à travers le chargeur carton.
Faire coulisser le ressort d'aiguille sur l'aiguille en vérifant sa bonne orientation, comme indiqué sur le tableau de la page 50.
- En tenant le côte tige de l'aiguille, arracher le chargeur carton qui entoure les fixations.
Ouvrir le nez de pose soit en faisant tourner la bague extérieure des mâchioires actionnées par came, soit en poussant vers l'extérieur sur l'extrémité des mâchioires, de la façon illustrée ci-dessous à gauche.
- Introduire dans le nez de pose l'ensemble aiguille, ressort et fixations préalablement réalisé jusqu'à ce que la première fixation à poser dépasse du nez de pose.
Fermer nez de pose et regler de telle sorte que la premiere fixation depasse de 1,5 a 3 mm, de la facon illustree ci-dessous a droite.
- Fermer les mâchoires d'aiguille pour bien assurer le blocage de l'aiguille, en actionnant l'interrupteur de serrage mâchoire (repères 26 et 30).


Rechargement de l'outil
Ouvrir les mâchoires d'àiguille 9 de l'outil.
Ouvrir le nez de pose et extraire de l'outil l'aiguille vide et le ressort.
- Recharger l'outil en suivant les instructions ci-dessus, en partant de l'étape n.
Procedure d'utilisation
IMPORTANT
Il est essentiel de vérifier que l'orientation du curseur mécanique et de l'équipement de pose est correcte avant toute utilisation de l'outil.
Pousser la fixation depassant du nez de pose a fond dans le trou de l'application, en maintainant l'outil bien d'équre.
Actionner la gachette et la maintainir enfoncée. Le cune d'iguille est tiré à travers la fixation, ce qui provoque le formage de la fixation dans l'application.
Enlever l'outil.
Relacher la gachette. La fixation suivant se presente automatiquement dans le nez de pose, prete a la pose.
| IDENTIFICATION ET ORIENTATION DES RESSORTS D'AIGUILLE | ||||
| FIXATION | NEZ DE POSE(Voir LA RUBRIQUE EQUIPÈMENT DE POSE) | TAILLEDE L'AIGUILLE | ENSEMBLE AIGUILLE/RESSORT/FIXATION | |
| NOM | TAILLE | |||
| BRIV® | 3/32" | STANDARD BISEAUTE | TOUTES | RESSORT D'AIGUILLECONE D'AIGUILLEVIROLERESSORTAIGUILLE |
| 3/32" | ACCES LIMITE ET ACCESLIMITE ACTIONNE A CAME | TOUTES | - - - - - - - - - - - - - - - - - - - - - - - - - - - - - - - - - - - - - - - - - - - - - - - - - - - - - - - - - - - - - - - - - - - - - - - - - - - - - - - - - - - - - - - - - - - - - - - - - - - - - | |
| 1/8" | TOUS | TOUTES | - - - - - - - - - - - - - - - - - - - - - - - - - - - - - - - - - - - - - - - - - - - - - - - - - - - - - - - - - - - - - - - - - - - - - - - - - - - - - - - - - - - - - - - - - - - - - - | |
| 5/32" | TOUS | TOUTES | - - - - - - - - - - - - - - - - - - - - - - - - - - - - - - - - - - - - - - - - - - - - - - - - - - - - - - - - - - - - - - - - - - - - - - - - - - - - - - - - - - - - - - - - - - | |
| 3/16" | TOUS | TOUTES | - - - - - - - - - - - - - - - - - - - - - - - - - - - - - - - - - - - - - - - - - - - - - - - - - - - - - - - - - - - - - - - - - - - - - - - - - - - - - - - - - - - - - - - - - - 0.00mm | |
| 6 mm | STANDARD | TOUTES, SAUF3ESURDIMENSIONNEE | - - - - - - - - - - - - - - - - - - - - - - - - - - - - - - - - - - - - - - - - - - - - - - - - - - - - - - - - - - - - - - - - - - - - - - - - - - - - - - - - - - - - - - - - - - - - - - - - - - | |
| CHOBERT®AVLUG®GROVIT® | 3/32" | TOUS, SAUFSTANDARD BISEAUTE,ACCES LIMITE | TOUTES | - - - - - - - - - - - - - - - - - - - - - - - - - - - - - - - - - - - - - - - - - - - - - - - - - - - - - - - - - - - - - - - - - - - - - - - - - - - - - - - - - - - - - - - - - - - - - - 0.00mm |
| 3/32" | STANDARD BISEAUTE,ACCES LIMITE | TOUTES | - - - - - - - - - - - - - - - - - - - - - - - - - - - - - - - - - - - - - - - - - - - - - - - - - - - - - - - - - - - - - - - - - - - - - - - - - - - - - - - - - - | |
| 1/8" | TOUS | TOUTES | - - 0.00mm | |
| CHOBERT®GROVIT® | 5/32" | TOUS | TOUTES, SAUF3ESURDIMENSIONNEE | - - 0.00mm |
| 5/32" | TOUS | 3ESURDIMENSIONNEE | - - 0.00mm | |
| 3/16" | TOUS | TOUTES, SAUF2ESURDIMENSIONNEE | - 0.00mm | |
| 3/16" | TOUS | 2ESURDIMENSIONNEE | - 0.00mm | |
| CHOBERT® | 1/4" | TOUS | TOUTES | - 0.00mm |
| RIVSCREW® | 2.8 mm | TOUS | TOUTES | - 0.00mm |
| 3 mm | ||||
| 3.5 mm | TOUS | TOUTES | - 0.00mm | |
| 4 mm | ||||
| AVSERT® | 2.5 mm | TOUS | TOUTES | - 0.00mm |
| 4 x 40UNC | ||||
| 3 mm | TOUS | TOUTES | - 0.00mm | |
| 6 x 32UNC | ||||
| AVTRONIC® | 2.5 mm | TOUS | TOUTES | - 0.00mm |
| 2.8 mm | TOUS, SAUFACCES LIMITE | TOUTES | - 0.00mm | |
| 2.8 mm | ACCES LIMITE | TOUTES | - 0.00mm | |
Sur les outils de rivetage rapide tels que le type 0753 Mk II, l'équipment de pose est always constituted de trois éléments : un nez de pose, une aiguille et un ressort. Ces trois éléments sont accordés à la fixation posée, et à la taille du trou de l'application.
IMPORTANT
Pour éviter d'avoir à démonter complètement l'outil, vérifier l'orientation du curseur avant de monter l'équipment de pose sur l'outil. Voir la partie "Curseur mécanique" page 47.
Il est nécessaire de monter le bon équipement de pose sur l'outil afin d'assurer à la fois une pose correcte des fixations et la sEcuritE du fonctionnement de l'outil. Lire soigneusement les instructions de sEcuritE de la page 42.
Pour identifier la bonne combinaison d'équipment de pose à monter sur l'outil, désir d'abord un nez de pose selon les instructions de la rubrique ci-dessous, puis consulter la rubrique aiguille pour sélectionner aussi bien l'aiguille elle-même que son ressort. Les aiguilles et les ressorts sont illustrés page 50.
Pour monter l'équipment de pose, suivre la procédure "Chargement de l'outil" page 49.
Nez de pose
IMPORTANT
Une erreur dans le choix dunez de pose peut avoir pour effet un mauvais placement ou un mauvais serrage de la fixation.
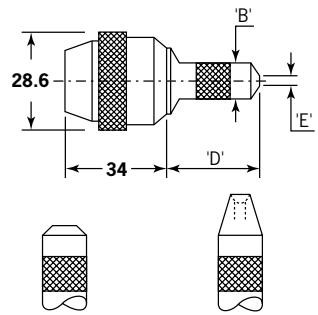
Les nez de pose se répartissant en 7 formes de base, représentées page opposée, dont les dimensions interieures variant en fonction de la fixation pour laquelle ils sont prévus. Les dimensions exactes correspondant aux lettres de l'illustration de la page opposée sont indiquées dans les "Tableaux de selection des nez de pose" des pages 53-54.
Pour une forme donnée, il peut exister plusieurs options de forme d'embout, chacune représentant certains avantages facilitant la pose des fixations.
Plat
- Forme d'extrémité normale de tous les nez de pose.
- Convient à toutes les applications sans contraintes d'accès.
Universal
- Concue pour être utilisée avec les fixations Chobert à tête universelle.
- Peut également être employée avec les fixations Briv® pour obtenir le serrage le plus fort possible. Noter que cela diminue la plage de serrage de la fixation Briv® d'environ 0,4 mm.
En Retrait
Utilisable seulement avec les fixations Briv^圆
- Donne un plus fort serrage que la forme plate, mais moindre que celui de la forme universelle, sans réduction de la plage de serrage de la fixation.
Biseauté
- Disponible dans les versions individues dans les tableaux de besoin des nez de pose.
- Permet une meilleure accessibilité qu'une forme plate, et avec la même plage de serrage.
A Formage de Tête
Utilisable seulement avec les fixations Rivscrew®.
Déformé la tête des fixations pour donner un bon serrage.
Relever le nom, la talle et le matériel de la fixation à poser.
- Rechercher cette fixation dans la première colonne des tableaux de seLECTION des nez de pose de la page 53, dans le cas des mesures anglaises, et de la page 54 dans le cas des mesures métriques.
- Dans la dernière colonne du tableau, noter les nez de pose disponibles. Seuls ceux qui sont indiqués existent.
- Sélectionner celui qui convient le mieux à l'application en se référant au plan du nez de pose concerné. Si l'application ne compte pas de contraintes d'accès, retenir de préférence la forme standard à embout plat, avec ou sans came.

STANDARD
Existe en quatre formes d'embout differentes. Permet de poser toutes les fixations (sauf Rivscrew) sur les applications ne presentaient que peu ou pas de contraintes d'accès.
LONG

Existe pour la pose de la plupart des fixations. Permet une pénétration supérieure dans les applications sans autres contraintes d'accès.
LONG COURBE

Disponible dans les versions indiquées dans LE TABLEAU DE SELECTION DES NEZ DE POSE. Permet une PENETRATION SUPérieURE dans les applications à accès limite. Les aiguilles doivent être courbées à la main pour suivre la courbure de la mâchoire.

ACCES LIMITE
Disponible dans les versions indiquées dans LE TABLEAU DE SELECTION DES NEZ DE POSE.
Permet d'acceder à des applications à accès très limité.
STANDARD ACTIONNE PAR GAME

PLAT A FORMAGE DE TETE (FT)

LONG ACTIONNE PAR CAME

ACCES LIMITE
Disponibles dans les versions individues dans LE TABLEAU DE SELECTION DES NEZ DE POSE, page suivant. Fonctions équivalentes à celles des versions standard et accès limité ci-dessus, avec, en plus, unecame facilitant et accélérant l'ouverture du nez de pose, etdonc le rechargement en fixations.
Les dimensions indiquées en caractères gras sont en millimétres.
Selection desnez de pose - Mesures anglo-saxonnés
La colonne "N° de reférence" établit la correspondance avec les colonnes du même nom de la partie aiguilles. Elle identifie à la fois l'iguille et le ressort nécessaires pour un nez de pose donné et une fixation particulière.
| FIXATION | Repère | NEZ DE POSE | Repère | NEZ DE POSE | ||||||||
| TYPE ET FORME D'EMBOUT | No. DE REFERENCE | DIMENSIONS | TYPE ET FORME D'EMBOUT | No. DE REFERENCE | DIMENSIONS | |||||||
| 'B' | 'D' | 'E' | 'B' | 'D' | 'E' | |||||||
| 3/32" CHOBERT®& GROVIT | 1 | STANDARD - PLAT | 07150-03003 | ,36 | 1,30 | ,16 | 1 | # STANDARD - UNIVERSEL | 07150-03203 | ,36 | 1,33 | ,24 |
| 1 | STANDARD - ACTIONNE PAR CAME - PLAT | 07170-04500 | ,36 | 1,30 | ,16 | 1 | ACCES LIMITE - ACTIONNE PAR CAME | 07177-03003 | ,20 | 1,18 | ,16 | |
| 2 | STANDARD - BISEAUTE | 07170-03103 | ,36 | 1,30 | ,16 | 3 | ACCES LIMITE | 07274-01000 | ,22 | 1,07 | ,16 | |
| 4 | LONG - PLAT | 07150-04003 | ,41 | 2,30 | ,16 | 4 | LONG - COURBE - PLAT | 07150-05003 | ,41 | 2,28 | ,16 | |
| 1/8" CHOBERT®& GROVIT | 5 | STANDARD - PLAT | 07150-03004 | ,41 | 1,18 | ,20 | 5 | # STANDARD - UNIVERSEL | 07150-03204 | ,41 | 1,22 | ,32 |
| 5 | STANDARD - BISEAUTE | 07170-03104 | ,41 | 1,19 | ,20 | 5 | STANDARD - ACTIONNE PAR CAME - PLAT | 07170-04600 | ,41 | 1,18 | ,20 | |
| 6 | LONG - PLAT | 07150-04004 | ,41 | 2,18 | ,20 | 6 | # LONG - UNIVERSEL | 07150-04204 | ,41 | 2,22 | ,30 | |
| 6 | LONG - COURBE - PLAT | 07150-05004 | ,41 | 2,12 | ,20 | 6 | LONG - ACTIONNE PAR CAME - PLAT | 07170-05000 | ,41 | 2,18 | ,20 | |
| 5/32" CHOBERT®& GROVIT | 7 | STANDARD - PLAT | 07150-03005 | ,48 | 1,30 | ,24 | 7 | # STANDARD - UNIVERSEL | 07150-03205 | ,48 | 1,35 | ,41 |
| 7 | STANDARD - BISEAUTE | 07150-03105 | ,44 | 1,30 | ,24 | 7 | STANDARD - ACTIONNE PAR CAME - PLAT | 07170-04700 | ,48 | 1,30 | ,24 | |
| 8 | LONG - PLAT | 07150-04005 | ,48 | 2,30 | ,24 | 8 | # LONG - UNIVERSEL | 07150-04205 | ,48 | 2,35 | ,42 | |
| 8 | LONG - COURBE - PLAT | 07150-05005 | ,48 | 2,23 | ,24 | 8 | LONG - ACTIONNE PAR CAME - PLAT | 07170-05100 | ,48 | 2,30 | ,24 | |
| 3/16" CHOBERT®& GROVIT | 9 | STANDARD - PLAT | 07150-03006 | ,56 | 1,18 | ,33 | 9 | # STANDARD - UNIVERSEL | 07150-03206 | ,56 | 1,24 | ,47 |
| 9 | STANDARD - BISEAUTE | 07150-03106 | ,56 | 1,18 | ,33 | 9 | STANDARD - ACTIONNE PAR CAME - PLAT | 07170-04800 | ,56 | 1,18 | ,33 | |
| 10 | LONG - PLAT | 07150-04006 | ,56 | 2,30 | ,33 | 10 | # LONG - UNIVERSEL | 07150-04206 | ,56 | 2,39 | ,48 | |
| 10 | LONG - COURBE - PLAT | 07150-05006 | ,56 | 2,21 | ,33 | 10 | LONG - ACTIONNE PAR CAME - PLAT | 07170-05200 | ,56 | 2,30 | ,33 | |
| 1/4" CHOBERT® | 11 | STANDARD - PLAT | 07150-03008 | ,64 | 1,18 | ,39 | 11 | STANDARD - ACTIONNE PAR CAME - PLAT | 07170-04900 | ,64 | 1,18 | ,39 |
| 12 | LONG - PLAT | 07150-04008 | ,64 | 2,18 | ,39 | 12 | LONG - ACTIONNE PAR CAME - PLAT | 07170-05300 | ,64 | 2,18 | ,39 | |
| 2,4mm BRIV*LATON SEULEMENT | 13 | STANDARD - BISEAUTE | 07170-03103 | ,36 | 1,30 | ,15 | 14 | ACCES LIMITE - ACTIONNE PAR CAME | 07177-03003 | ,20 | 1,18 | ,16 |
| 14 | ACCES LIMITE | 07274-01000 | ,22 | 1,07 | ,16 | - | - | - | - | - | - | |
| 3,2mm BRIV*ALLIAGE D'A LUMINIUM,LALTON, ACIER | 15 | STANDARD - PLAT | 07150-03004 | ,41 | 1,18 | ,20 | 15 | STANDARD - EN RETRAIT | 07170-03004 | ,41 | 1,20 | ,30 |
| 15 | STANDARD - BISEAUTE | 07170-03104 | ,41 | 1,19 | ,20 | 16 | LONG - PLAT | 07150-04004 | ,41 | 2,18 | ,20 | |
| 16 | LONG - EN RETRAIT | 07170-03204 | ,41 | 2,18 | ,30 | 16 | LONG - COURBE - PLAT | 07150-05004 | ,41 | 2,12 | ,20 | |
| 16 | LONG - COURBE - EN RETRAIT | 07170-03304 | ,41 | 2,12 | ,30 | - | - | - | - | - | - | |
| 4,0mm BRIV*ALLIAGE D'A LUMINIUM,LALTON, ACIER | 17 | STANDARD - PLAT | 07150-03005 | ,48 | 1,30 | ,24 | 17 | STANDARD - EN RETRAIT | 07170-03005 | ,48 | 1,32 | ,41 |
| 18 | LONG - PLAT | 07150-04005 | ,48 | 2,30 | ,24 | 18 | LONG - EN RETRAIT | 07170-03205 | ,48 | 2,30 | ,41 | |
| 18 | LONG - COURBE - PLAT | 07150-05005 | ,48 | 2,23 | ,24 | 18 | LONG - COURBE - EN RETRAIT | 07170-03305 | ,48 | 2,23 | ,41 | |
| 4,0mm BRIV*ACIER INOXYDABLESEULEMENT | 19 | STANDARD - PLAT | 07150-03005 | ,48 | 1,30 | ,24 | 19 | STANDARD - EN RETRAIT | 07170-03005 | ,48 | 1,32 | ,41 |
| 20 | LONG - PLAT | 07150-04005 | ,48 | 2,30 | ,24 | 20 | LONG - EN RETRAIT | 07170-03205 | ,48 | 2,30 | ,41 | |
| 20 | LONG - COURBE - PLAT | 07150-05005 | ,48 | 2,23 | ,24 | 20 | LONG - COURBE - EN RETRAIT | 07170-03305 | ,48 | 2,23 | ,41 | |
| 4,8mm BRIV*ALLIAGE D'A LUMINIUM,LALTON, ACIER | 21 | STANDARD - PLAT | 07150-03006 | ,56 | 1,18 | ,33 | 21 | STANDARD - EN RETRAIT | 07170-03006 | ,56 | 1,20 | ,47 |
| 22 | LONG - PLAT | 07150-04006 | ,56 | 2,30 | ,33 | 22 | LONG - EN RETRAIT | 07170-03206 | ,56 | 2,30 | ,47 | |
| 22 | LONG - COURBE - PLAT | 07150-05006 | ,56 | 2,21 | ,33 | 22 | LONG - COURBE - EN RETRAIT | 07170-03306 | ,56 | 2,21 | ,47 | |
| 4,8mm BRIV*ACIER INOXYDABLESEULEMENT | 23 | STANDARD - PLAT | 07150-03006 | ,56 | 1,18 | ,33 | 23 | STANDARD - EN RETRAIT | 07170-03006 | ,56 | 1,20 | ,47 |
| 24 | LONG - PLAT | 07150-04006 | ,56 | 2,30 | ,33 | 24 | LONG - EN RETRAIT | 07170-03206 | ,56 | 2,30 | ,47 | |
| 24 | LONG - COURBE - PLAT | 07150-05006 | ,56 | 2,21 | ,33 | 24 | LONG - COURBE - EN RETRAIT | 07170-03306 | ,56 | 2,21 | ,47 | |
| 6mm BRIV*ALLIAGE D'A LUMINIUM,ACIER | 25 | STANDARD - ACTIONNE PAR CAME | 07170-05600 | ,64 | 1,21 | ,52 | 25 | STANDARD - PLAT | 07170-05800 | ,64 | 1,21 | ,52 |
| 26 | LONG - ACTIONNE PAR CAME | 07170-05700 | ,64 | 2,19 | ,52 | 26 | LONG - PLAT | 07170-05900 | ,64 | 2,19 | ,52 | |
| 3/32" AVLUG* | 27 | STANDARD - PLAT | 07150-03003 | ,36 | 1,30 | ,16 | 27 | STANDARD - BISEAUTE | 07150-03103 | ,36 | 1,30 | ,16 |
| 27 | STANDARD - ACTIONNE PAR CAME - PLAT | 07170-04500 | ,36 | 1,30 | ,16 | 28 | LONG - PLAT | 07150-04003 | ,41 | 2,30 | ,16 | |
| 28 | LONG - COURBE - PLAT | 07150-05003 | ,41 | 2,28 | ,16 | - | - | - | - | - | - | |
| 1/8" AVLUG* | 29 | STANDARD - PLAT | 07150-03004 | ,41 | 1,18 | ,20 | 29 | STANDARD - BISEAUTE | 07170-03104 | ,41 | 1,19 | ,20 |
| 29 | STANDARD - ACTIONNE PAR CAME - PLAT | 07170-04600 | ,41 | 1,18 | ,20 | 30 | LONG - PLAT | 07150-04004 | ,41 | 2,18 | ,20 | |
| 30 | LONG - COURBE - PLAT | 07150-05004 | ,41 | 2,12 | ,20 | 30 | LONG - ACTIONNE PAR CAME - PLAT | 07170-05000 | ,41 | 2,18 | ,20 | |
| 2,5mm 4-40 UNCAVSERT* | 31 | STANDARD - PLAT | 07150-03003 | ,36 | 1,30 | ,16 | - | - | - | - | - | - |
| 3,0mm 6-32 UNCAVSERT* | 32 | STANDARD - PLAT | 07150-03004 | ,41 | 1,18 | ,20 | 32 | STANDARD - ACTIONNE PAR CAME - PLAT | 07170-04600 | ,41 | 1,18 | ,20 |
| 2,5mm AVTRONIC* | 33 | STANDARD - PLAT | 07150-03003 | ,36 | 1,30 | ,16 | 33 | ACCES LIMITE - ACTIONNE PAR CAME | 07271-08000 | ,41 | 1,18 | ,16 |
| 34 | LONG - PLAT | 07150-04003 | ,41 | 2,30 | ,16 | - | - | - | - | - | - | |
| 2,8mm AVTRONIC* | 35 | STANDARD - PLAT | 07271-05600 | ,36 | 1,30 | ,16 | 36 | ACCES LIMITE - ACTIONNE PAR CAME | 07271-08100 | ,40 | 1,18 | ,16 |
| 37 | LONG - PLAT | 07271-05900 | ,41 | 2,30 | ,16 | - | - | - | - | - | - | |
| 2,8mm RIVSCREW* | 38 | STANDARD - ACTIONNE PAR CAME - FT | 07271-03000 | ,41 | 1,18 | ,24 | - | - | - | - | - | - |
| 3,0mm RIVSCREW* | 39 | STANDARD - ACTIONNE PAR CAME - FT | 07271-03000 | ,41 | 1,18 | ,24 | - | - | - | - | - | - |
| 3,5mm RIVSCREW* | 40 | STANDARD - ACTIONNE PAR CAME - FT | 07271-03500 | ,41 | 1,18 | ,24 | - | - | - | - | - | - |
| 4,0mm RIVSCREW* | 41 | STANDARD - ACTIONNE PAR CAME - FT | 07271-04000 | ,41 | 1,18 | ,25 | - | - | - | - | - | - |
Ces nez de pose convennent à la pose des rivets Chobert® à forme de tête universelle. Lorsqu'ils sont utilisés avec la taille équivalente de Briv®, ils permettent d'obtenir le plus fort serrage possible. Noter que lors de la pose de fixations Briv®, la prise maximum se trouve réduite d'environ 0,4 mm.
| FIXATION | Repore | NEZ DE POSE | Repore | NEZ DE POSE | ||||||
| TYPE ET FORME D'EMBOUT | No. DE REFERENCE | DIMENSIONS | TYPE ET FORME D'EMBOUT | No. DE REFERENCE | DIMENSIONS | |||||
| 'B' | 'D' | 'E' | 'B' | 'D' | ||||||
| 2,4 mm CHOBERT®& GROV® | 1 | STANDARD - PLAT | 07150-03003 | 9,14 | 33,02 | 4,06 | 1 | # STANDARD - UNIVERSEL | 07150-03203 | 9,14 |
| 1 | STANDARD - ACTIONNE PAR CAME - PLAT | 07170-04500 | 9,14 | 33,02 | 4,06 | 1 | ACCES LIMITE - ACTIONNE PAR CAME | 07177-03003 | 5,08 | |
| 2 | STANDARD - BISEAUTE | 07170-03103 | 9,14 | 33,02 | 4,06 | 3 | ACCES LIMITE | 07274-01000 | 5,59 | |
| 4 | LONG - PLAT | 07150-04003 | 10,41 | 58,42 | 4,06 | 4 | LONG - COURBE - PLAT | 07150-05003 | 10,41 | |
| 3,2 mm CHOBERT®& GROV® | 5 | STANDARD - PLAT | 07150-03004 | 10,41 | 29,97 | 5,08 | 5 | # STANDARD - UNIVERSEL | 07150-03204 | 10,41 |
| 5 | STANDARD - BISEAUTE | 07170-03104 | 10,41 | 30,23 | 5,08 | 5 | STANDARD - ACTIONNE PAR CAME - PLAT | 07170-04600 | 10,41 | |
| 6 | LONG - PLAT | 07150-04004 | 10,41 | 55,37 | 5,08 | 6 | # LONG - UNIVERSEL | 07150-04204 | 10,41 | |
| 6 | LONG - COURBE - PLAT | 07150-05004 | 10,41 | 53,85 | 5,08 | 6 | LONG - ACTIONNE PAR CAME - PLAT | 07170-05000 | 10,41 | |
| 4,0 mm CHOBERT®& GROV® | 7 | STANDARD - PLAT | 07150-03005 | 12,19 | 33,02 | 6,10 | 7 | # STANDARD - UNIVERSEL | 07150-03205 | 12,19 |
| 7 | STANDARD - BISEAUTE | 07150-03105 | 11,18 | 33,02 | 6,10 | 7 | STANDARD - ACTIONNE PAR CAME - PLAT | 07170-04700 | 12,19 | |
| 8 | LONG - PLAT | 07150-04005 | 12,19 | 58,42 | 6,10 | 8 | # LONG - UNIVERSEL | 07150-04205 | 12,19 | |
| 8 | LONG - COURBE - PLAT | 07150-05005 | 12,19 | 56,64 | 6,10 | 8 | LONG - ACTIONNE PAR CAME - PLAT | 07170-05100 | 12,19 | |
| 4,8 mm CHOBERT®& GROV® | 9 | STANDARD - PLAT | 07150-03006 | 14,22 | 29,97 | 8,38 | 9 | # STANDARD - UNIVERSEL | 07150-03206 | 14,22 |
| 9 | STANDARD - BISEAUTE | 07150-03106 | 14,22 | 29,97 | 8,38 | 9 | STANDARD - ACTIONNE PAR CAME - PLAT | 07170-04800 | 14,22 | |
| 10 | LONG - PLAT | 07150-04006 | 14,22 | 58,42 | 8,38 | 10 | # LONG - UNIVERSEL | 07150-04206 | 14,22 | |
| 10 | LONG - COURBE - PLAT | 07150-05006 | 14,22 | 56,13 | 8,38 | 10 | LONG - ACTIONNE PAR CAME - PLAT | 07170-05200 | 14,22 | |
| 6,4 mm CHOBERT® | 11 | STANDARD - PLAT | 07150-03008 | 16,26 | 29,97 | 9,91 | 11 | STANDARD - ACTIONNE PAR CAME - PLAT | 07170-04900 | 16,26 |
| 12 | LONG - PLAT | 07150-04008 | 16,26 | 55,37 | 9,91 | 12 | LONG - ACTIONNE PAR CAME - PLAT | 07170-05300 | 16,26 | |
| 13 | STANDARD - BISEAUTE | 07170-03103 | 9,14 | 33,02 | 3,81 | 14 | ACCES LIMITE - ACTIONNE PAR CAME | 07177-03003 | 5,08 | |
| 2,4mm BRIV®LATON SEULEMENT | 14 | ACCES LIMITE | 07274-01000 | 5,59 | 27,18 | 4,06 | - | - | - | - |
| 3,2mm BRIV®ALLIAGE D'A LUMINIUM,LAITON, ACIER | 15 | STANDARD - PLAT | 07150-03004 | 10,41 | 29,97 | 5,08 | 15 | STANDARD - EN RETRAIT | 07170-03004 | 10,41 |
| 15 | STANDARD - BISEAUTE | 07170-03104 | 10,41 | 30,23 | 5,08 | 16 | LONG - PLAT | 07150-04004 | 10,41 | |
| 16 | LONG - EN RETRAIT | 07170-03204 | 10,41 | 55,37 | 7,62 | 16 | LONG - COURBE - PLAT | 07150-05004 | 10,41 | |
| 16 | LONG - COURBE - EN RETRAIT | 07170-03304 | 10,41 | 53,85 | 7,62 | - | - | - | - | |
| 4,0mm BRIV®ALLIAGE D'A LUMINIUM,LAITON, ACIER | 17 | STANDARD - PLAT | 07150-03005 | 12,19 | 33,02 | 6,10 | 17 | STANDARD - EN RETRAIT | 07170-03005 | 12,19 |
| 18 | LONG - PLAT | 07150-04005 | 12,19 | 58,42 | 6,10 | 18 | LONG - EN RETRAIT | 07170-03205 | 12,19 | |
| 18 | LONG - COURBE - PLAT | 07150-05005 | 12,19 | 56,64 | 6,10 | 18 | LONG - COURBE - EN RETRAIT | 07170-03305 | 12,19 | |
| 4,0mm BRIV®ACIER INOXYDABLESEULEMENT | 19 | STANDARD - PLAT | 07150-03005 | 12,19 | 33,02 | 6,10 | 19 | STANDARD - EN RETRAIT | 07170-03005 | 12,19 |
| 20 | LONG - PLAT | 07150-04005 | 12,19 | 58,42 | 6,10 | 20 | LONG - EN RETRAIT | 07170-03205 | 12,19 | |
| 20 | LONG - COURBE - PLAT | 07150-05005 | 12,19 | 56,64 | 6,10 | 20 | LONG - COURBE - EN RETRAIT | 07170-03305 | 12,19 | |
| 4,8mm BRIV®ALLIAGE D'A LUMINIUM,LAITON, ACIER | 21 | STANDARD - PLAT | 07150-03006 | 14,22 | 29,97 | 8,38 | 21 | STANDARD - EN RETRAIT | 07170-03006 | 14,22 |
| 22 | LONG - PLAT | 07150-04006 | 14,22 | 58,42 | 8,38 | 22 | LONG - EN RETRAIT | 07170-03206 | 14,22 | |
| 22 | LONG - COURBE - PLAT | 07150-05006 | 14,22 | 56,13 | 8,38 | 22 | LONG - COURBE - EN RETRAIT | 07170-03306 | 14,22 | |
| 4,8mm BRIV®ACIER INOXYDABLESEULEMENT | 23 | STANDARD - PLAT | 07150-03006 | 14,22 | 29,97 | 8,38 | 23 | STANDARD - EN RETRAIT | 07170-03006 | 14,22 |
| 24 | LONG - PLAT | 07150-04006 | 14,22 | 58,42 | 8,38 | 24 | LONG - EN RETRAIT | 07170-03206 | 14,22 | |
| 24 | LONG - COURBE - PLAT | 07150-05006 | 14,22 | 56,13 | 8,38 | 24 | LONG - COURBE - EN RETRAIT | 07170-03306 | 14,22 | |
| 6mm BRIV®ALLIAGE D'A LUMINIUM,ACIER | 25 | STANDARD - ACTIONNE PAR CAME | 07170-05600 | 16,33 | 30,65 | 13,14 | 25 | STANDARD - PLAT | 07170-05800 | 16,33 |
| 26 | LONG - ACTIONNE PAR CAME | 07170-05700 | 16,33 | 55,65 | 13,14 | 26 | LONG - PLAT | 07170-05900 | 16,33 | |
| 2,4mm AVLUG® | 27 | STANDARD - PLAT | 07150-03003 | 9,14 | 33,02 | 4,06 | 27 | STANDARD - BISEAUTE | 07150-03103 | 9,14 |
| 27 | STANDARD - ACTIONNE PAR CAME - PLAT | 07170-04500 | 9,14 | 33,02 | 4,06 | 28 | LONG - PLAT | 07150-04003 | 10,41 | |
| 28 | LONG - COURBE - PLAT | 07150-05003 | 10,41 | 57,91 | 4,06 | - | - | - | - | |
| 3,2mm AVLUG® | 29 | STANDARD - PLAT | 07150-03004 | 10,41 | 29,97 | 5,08 | 29 | STANDARD - BISEAUTE | 07170-03104 | 10,41 |
| 29 | STANDARD - ACTIONNE PAR CAME - PLAT | 07170-04600 | 10,41 | 29,97 | 5,08 | 30 | LONG - PLAT | 07150-04004 | 10,41 | |
| 30 | LONG - COURBE - PLAT | 07150-05004 | 10,41 | 53,85 | 5,08 | 30 | LONG - ACTIONNE PAR CAME - PLAT | 07170-05000 | 10,41 | |
| 2,5mm 4-40 UNCAVSET® | 31 | STANDARD - PLAT | 07150-03003 | 9,14 | 33,02 | 4,06 | - | - | - | - |
| 3,0mm 6-32 UNCAVSET® | 32 | STANDARD - PLAT | 07150-03004 | 10,41 | 29,97 | 5,08 | 32 | STANDARD - ACTIONNE PAR CAME - PLAT | 07170-04600 | 10,41 |
| 33 | STANDARD - PLAT | 07150-03003 | 9,14 | 33,02 | 4,06 | 33 | ACCES LIMITE - ACTIONNE PAR CAME | 07271-08000 | 10,41 | |
| 34 | LONG - PLAT | 07150-04003 | 10,41 | 58,42 | 4,06 | - | - | - | - | |
| 2,8mm AVTRONIC® | 35 | STANDARD - PLAT | 07271-05600 | 9,14 | 33,02 | 4,06 | 36 | ACCES LIMITE - ACTIONNE PAR CAME | 07271-08100 | 10,16 |
| 37 | LONG - PLAT | 07271-05900 | 10,41 | 58,42 | 4,06 | - | - | - | - | |
| 2,8mm RIVSCREW® | 38 | STANDARD - ACTIONNE PAR CAME - FT | 07271-03000 | 10,41 | 29,97 | 6,10 | - | - | - | - |
| 39 | STANDARD - ACTIONNE PAR CAME - FT | 07271-03000 | 10,41 | 29,97 | 6,10 | - | - | - | - | |
| 40 | STANDARD - ACTIONNE PAR CAME - FT | 07271-03500 | 10,41 | 29,97 | 6,10 | - | - | - | - | |
| 41 | STANDARD - ACTIONNE PAR CAME - FT | 07271-04000 | 10,41 | 29,97 | 6,35 | - | - | - | - | |
Ces nez de pose conviennent à la pose des rivets Chobert® à forme de tête universelle. Lorsqu'ils sont utilisés avec la taille équivalente de Briv®, ils permettent d'obtenir le plus fort serrage possible. Noter que lors de la pose de fixations Briv®, la prise maximum se trouve réduite d'environ 0,4 mm.
Aiguilles et Ressorts d'aiguille
Les aiguilles et leurs ressorts, illustrés page 50, doivent être choisis en fonction du type et de la dimension des fixations, ainsi que de la taille du trou de l'application. L'emploi d'une aiguille inappropriée augmente le risque de rupture et d'usure du côte de l'aiguille. Des problèmes d'alimentation peuvent survenir si l'on employe le mauvais type de ressort.
IMPORTANT
LIRE SOIGNEUSEMENT LES INSTRUCTIONS DE SECURITE de la page 42.
Bien qu'une usure et un marquage limités des aiguilles soient inévitables suite à leur utilisation normale et correcte, l'on veillera à les examiner régulièrement à la recherche de signes d'usure ou de marquage excessifs, en particulier au niveau du diamètre du cône et de la zone de prise des mâchoires d'aiguille du fêt, de signes de piquage intensif du fêt ou de déformation de l'aiguille. Un dysfonctionnement de l'aiguille en cours d'utilisation pourrait provoquer son éjection de l'outil. La responsabilité de veiller à ce que les aiguilles soient replacées avant d'atteindre un niveau excessif d'usure et toujours avant le nombre maximum de poses préconisé, incombe au client. Contacter le représentant Avdel le plus proche, qui sechargera de fournir cette information en mesurant la force de mandrinage de votre application à l'aide d'un outil de test calibre. Ces outils sont également vendus sous la référence 07900-09080 et sont fournis avec toute l'information nécessaire aux tests.
Chobert® et Grov® - Mesures anglo-saxonnes
Pour désir l'aiguille ou le ressort de l'aiguille, suivre les instructions de la page 57.
| FIXATION | REPERE | TAILLE DU TROU | AIGUILLE STANDARD - VERTE | TAILLE DU TROU | 1E AIGUILLE SURDIMENSIONNEE - JAUNE | REFERENCE DE RESSORT | ||||||||
| DIAMETRE DU CONE | REFERENCE DE L'AIGUILLE | P. MAXI | NUMERO DE REFERENCE DE L'AIGUILLE S/R | P. MAXI | DIAMETRE DU CONE | REFERENCE DE L'AIGUILLE | P. MAXI | NUMERO DE REFERENCE DE L'AIGUILLE S/R | P. MAXI | |||||
| 3/32" CHOBERT® & GROV® | 1 | SEL. REC. | ,0725 | 07150-06003 | ,166 | 07150-08003 | ,071 | +,0015 | ,074 | 07150-06303 | ,174 | - | - | 07150-06803 |
| 1 | - | - | - | - | - | - | +,0035 | ,076 | - | - | 07150-08103 | ,078 | 07150-06803 | |
| 2 | SEL. REC. | ,0725 | 07150-06003 | ,166 | 07150-08003 | ,071 | +,0015 | ,074 | 07150-06303 | ,174 | - | - | 07170-06873 | |
| 2 | - | - | - | - | - | - | +,0035 | ,076 | - | - | 07150-08103 | ,078 | 07170-06873 | |
| 3 | SEL. REC. | ,0725 | 07150-06003 | ,166 | 07150-08003 | ,071 | +,0015 | ,074 | 07150-06303 | ,174 | - | - | 07170-06903 | |
| 3 | - | - | - | - | - | - | +,0035 | ,076 | - | - | 07150-08103 | ,078 | 07170-06903 | |
| 4 | SEL. REC. | ,0725 | 07150-07003 | ,166 | 07150-09003 | ,071 | +,0035 | ,076 | - | - | 07150-09103 | ,078 | 07150-07803 | |
| 1/8" CHOBERT® & GROV® | 5 | SEL. REC. | ,088 | 07150-06004 | ,216 | 07150-08004 | ,090 | +,004 | ,092 | 07150-06104 | ,237 | 07150-08104 | ,098 | 07150-06804 |
| 6 | SEL. REC. | ,088 | 07150-07004 | ,216 | 07150-09004 | ,090 | +,004 | ,092 | 07150-07104 | ,237 | 07150-09104 | ,098 | 07150-07804 | |
| 5/32" CHOBERT® & GROV® | 7 | SEL. REC. | ,107 | 07150-06005 | ,244 | 07150-08005 | ,100 | +,008 | ,115 | 07150-06105 | ,284 | 07150-08105 | ,116 | 07170-06875 |
| 7 | - | - | - | - | - | - | - | - | - | - | - | - | - | |
| 8 | SEL. REC. | ,107 | 07150-07005 | ,244 | 07150-09005 | ,100 | +,008 | ,115 | 07150-07105 | ,284 | 07150-09105 | ,116 | 07170-07875 | |
| 8 | - | - | - | - | - | - | - | - | - | - | - | - | - | |
| 3/16" CHOBERT® & GROV® | 9 | SEL. REC. | ,132 | 07150-06006 | ,247 | 07150-08006 | ,102 | +,014 | ,146 | 07150-06106 | ,320 | 07150-08106 | ,130 | 07170-06876 |
| 9 | - | - | - | - | - | - | - | - | - | - | - | - | - | |
| 10 | SEL. REC. | ,132 | 07150-07006 | ,247 | 07150-09006 | ,102 | +,014 | ,146 | 07150-07106 | ,320 | 07150-09106 | ,130 | 07170-07876 | |
| 10 | - | - | - | - | - | - | - | - | - | - | - | - | - | |
| 1/4" CHOBERT® | 11 | SEL. REC. | ,184 | 07150-06008 | ,268 | 07150-08008 | ,110 | +,012 | ,196 | 07150-06108 | ,330 | 07150-08108 | ,134 | 07150-06808 |
| 12 | SEL. REC. | ,184 | 07150-07008 | ,268 | 07150-09008 | ,110 | +,012 | ,196 | 07150-07108 | ,330 | 07150-09108 | ,134 | 07150-07808 | |
| FIXATION | REPERE | TAILLE DU TROU | 2E AIGUILLE SURDIMENSIONNEE - BLEUE | TAILLE DU TROU | 3E AIGUILLE SURDIMENSIONNEE - ROUGE | REFERENCE DE RESSORT | ||||||||
| DIAMETRE DU CONE | REFERENCE DE L'AIGUILLE | P. MAXI | NUMERO DE REFERENCE DE L'AIGUILLE S/R | P. MAXI | DIAMETRE DU CONE | REFERENCE DE L'AIGUILLE | P. MAXI | NUMERO DE REFERENCE DE L'AIGUILLE S/R | P. MAXI | |||||
| 3/32" CHOBERT® & GROV® | 1 | +,0035 | ,076 | 07150-06103 | ,185 | - | - | - | - | - | - | - | - | 07150-06803 |
| 1 | - | - | - | - | - | - | - | - | - | - | - | - | - | |
| 2 | +,0035 | ,076 | 07150-06103 | ,185 | - | - | - | - | - | - | - | - | 07170-06873 | |
| 2 | - | - | - | - | - | - | - | - | - | - | - | - | - | |
| 3 | +,0035 | ,076 | 07150-06103 | ,185 | - | - | - | - | - | - | - | - | 07170-06903 | |
| 3 | - | - | - | - | - | - | - | - | - | - | - | - | - | |
| 4 | +,0035 | ,076 | 07150-07103 | ,185 | - | - | - | - | - | - | - | - | 07150-07803 | |
| 1/8" CHOBERT® & GROV® | 5 | +,010 | ,098 | 07150-06204 | ,268 | 07150-08204 | ,110 | +,014 | ,102 | 07150-06304 | ,288 | 07150-08304 | ,118 | 07150-06804 |
| 6 | +,010 | ,098 | 07150-07204 | ,268 | 07150-09204 | ,110 | +,014 | ,102 | 07150-07304 | ,288 | 07150-09304 | ,118 | 07150-07804 | |
| 5/32" CHOBERT® & GROV® | 7 | +,015 | ,122 | 07150-06205 | ,320 | 07150-08205 | ,130 | - | - | - | - | - | - | 07170-06875 |
| 7 | - | - | - | - | - | - | +,025 | ,132 | 07150-06305 | ,372 | 07150-08305 | ,150 | 07150-06805 | |
| 8 | +,015 | ,122 | 07150-07205 | ,320 | 07150-09205 | ,130 | - | - | - | - | - | - | 07170-07875 | |
| 8 | - | - | - | - | - | - | +,025 | ,132 | 07150-07305 | ,372 | 07150-09305 | ,150 | 07150-07805 | |
| 3/16" CHOBERT® & GROV® | 9 | - | - | - | - | - | - | - | - | - | - | - | - | - |
| 9 | +,024 | ,156 | 07150-06206 | ,372 | 07150-08206 | ,150 | - | - | - | - | - | - | 07150-06806 | |
| 10 | - | - | - | - | - | - | - | - | - | - | - | - | - | |
| 10 | +,024 | ,156 | 07150-07206 | ,372 | 07150-09206 | ,150 | - | - | - | - | - | - | 07150-07806 | |
| 1/4" CHOBERT® | 11 | - | - | - | - | - | - | - | - | - | - | - | - | - |
| 12 | - | - | - | - | - | - | - | - | - | - | - | - | - | |
S / R = aiguille à cône court. Voir les explications pages 57-58.
Les tableaux des pages gauche et croite ci-dessous, et des 4 pages suivantes, donnent la liste de toutes les aiguilles et ressorts d'iguille disponibles par fixation ou groupe de fixations, en l'occurrence les Chobert® et Grov® sur ces pages.
Bien que les fixations soient toujours mentionnées avec leurs unités respectives, chaque tableau a été produit en double, de façon à désigner les dimensions en unités anglaises sur la page de gauche, puis en unités métriques sur celle de droite. Ces tableaux de sélection des aiguilles renvoient à ceux des pages 53-54, qui permettent de désir les nez de pose, par le biais de la colonne "Repère". C'est le diamètre du cône situé à l'extrémité de l'iguille qui détermine, lorsqu'il le traverse, la dilatation du corps de la fixation.
Bien qu'il existe différentes formes de cône convenant à différents types de fixations (voir les illustrations de la page 58), il est nécessaire de-disposer de tailles de cône progressives pour tener compte des tolérances de diamètre du trou auxquelles l'application doit répondre, de sorte que la fixation soit toujours suffisamment dilatée pour replir le trou.
Un cône d'iguille trop gros exerce des contraintes excessives sur l'aiguille, et une aiguille venant à casser en cours d'utilisation peut se couver éjectée violément de l'util.
Les tableaux de selection sont agencés en quatre parties de "taille d'iguille", allant de la catégorie "standard" à la catégorie "3e surdimensionnée", chacune reconnaissable à un code de couleur porté par l'extrémité des cônes d'iguille eux-mêmes.
Chobert® et Grov® - Metrique
| FIXATION | REPERE | TAILLE DU TROU | AIGUILLE STANDARD - VERTE | TAILLE DU TROU | 1E AIGUILLE SURDIMENSIONNEE - JAUNE | REFERENCE DU RESSORT | ||||||||
| DIAMETRE DU CONE | REFERENCE DE L'AIGUILLE | P. MAXI | NUMERO DE REFERENCE DE L'AIGUILLE S/R | P. MAXI | DIAMETRE DU CONE | REFERENCE DE L'AIGUILLE | P. MAXI | NUMERO DE REFERENCE DE L'AIGUILLE S/R | P. MAXI | |||||
| 2,4 mm CHOBERT® & GROV® | 1 | SEL. REC. | 1,84 | 07150-06003 | 4,22 | 07150-08003 | 1,80 | +,04 | 1,88 | 07150-06303 | 4,42 | - | - | 07150-06803 |
| 1 | - | - | - | - | - | - | +,09 | 1,93 | - | - | 07150-08103 | 1,98 | 07150-06803 | |
| 2 | SEL. REC. | 1,84 | 07150-06003 | 4,22 | 07150-08003 | 1,80 | +,04 | 1,88 | 07150-06303 | 4,42 | - | - | 07170-06873 | |
| 2 | - | - | - | - | - | - | +,09 | 1,93 | - | - | 07150-08103 | 1,98 | 07170-06873 | |
| 3 | SEL. REC. | 1,84 | 07150-06003 | 4,22 | 07150-08003 | 1,80 | +,04 | 1,88 | 07150-06303 | 4,42 | - | - | 07170-06903 | |
| 3 | - | - | - | - | - | - | +,09 | 1,93 | - | - | 07150-08103 | 1,98 | 07170-06903 | |
| 4 | SEL. REC. | 1,84 | 07150-07003 | 4,22 | 07150-09003 | 1,80 | +,09 | 1,93 | - | - | 07150-09103 | 1,98 | 07150-07803 | |
| 3,2 mm CHOBERT® & GROV® | 5 | SEL. REC. | 2,24 | 07150-06004 | 5,49 | 07150-08004 | 2,29 | +,10 | 2,34 | 07150-06104 | 6,02 | 07150-08104 | 2,49 | 07150-06804 |
| 6 | SEL. REC. | 2,24 | 07150-07004 | 5,49 | 07150-09004 | 2,29 | +,10 | 2,34 | 07150-07104 | 6,02 | 07150-09104 | 2,49 | 07150-07804 | |
| 4,0 mm CHOBERT® & GROV® | 7 | SEL. REC. | 2,72 | 07150-06005 | 6,20 | 07150-08005 | 2,54 | +,20 | 2,92 | 07150-06105 | 7,21 | 07150-08105 | 2,95 | 07170-06875 |
| 7 | - | - | - | - | - | - | - | - | - | - | - | - | - | |
| 8 | SEL. REC. | 2,72 | 07150-07005 | 6,20 | 07150-09005 | 2,54 | +,20 | 2,92 | 07150-07105 | 7,21 | 07150-09105 | 2,95 | 07170-07875 | |
| 8 | - | - | - | - | - | - | - | - | - | - | - | - | - | |
| 4,8 mm CHOBERT® & GROV® | 9 | SEL. REC. | 3,35 | 07150-06006 | 6,27 | 07150-08006 | 2,59 | +,35 | 3,71 | 07150-06106 | 8,13 | 07150-08106 | 3,30 | 07170-06876 |
| 9 | - | - | - | - | - | - | - | - | - | - | - | - | - | |
| 10 | SEL. REC. | 3,35 | 07150-07006 | 6,27 | 07150-09006 | 2,59 | +,35 | 3,71 | 07150-07106 | 8,13 | 07150-09106 | 3,30 | 07170-07876 | |
| 10 | - | - | - | - | - | - | - | - | - | - | - | - | - | |
| 6,4 mm CHOBERT® | 11 | SEL. REC. | 4,67 | 07150-06008 | 6,81 | 07150-08008 | 2,79 | +,30 | 4,98 | 07150-06108 | 8,38 | 07150-08108 | 3,40 | 07150-06808 |
| 12 | SEL. REC. | 4,67 | 07150-07008 | 6,81 | 07150-09008 | 2,79 | +,30 | 4,98 | 07150-07108 | 8,38 | 07150-09108 | 3,40 | 07150-07808 | |
| FIXATION | REPERE | TAILLE DU TROU | 2E AIGUILLE SURDIMENSIONNEE - BLEUE | TAILLE DU TROU | 3E AIGUILLE SURDIMENSIONNEE - ROUGE | REFERENCE DU RESSORT | ||||||||
| DIAMETRE DU CONE | REFERENCE DE L'AIGUILLE | P. MAXI | NUMERO DE REFERENCE DE L'AIGUILLE S/R | P. MAXI | DIAMETRE DU CONE | REFERENCE DE L'AIGUILLE | P. MAXI | NUMERO DE REFERENCE DE L'AIGUILLE S/R | P. MAXI | |||||
| 2,4 mm CHOBERT® & GROV® | 1 | +,09 | 1,93 | 07150-06103 | 4,70 | - | - | - | - | - | - | - | - | 07150-06803 |
| 1 | - | - | - | - | - | - | - | - | - | - | - | - | - | |
| 2 | +,09 | 1,93 | 07150-06103 | 4,70 | - | - | - | - | - | - | - | - | 07170-06873 | |
| 2 | - | - | - | - | - | - | - | - | - | - | - | - | - | |
| 3 | +,09 | 1,93 | 07150-06103 | 4,70 | - | - | - | - | - | - | - | - | 07170-06903 | |
| 3 | - | - | - | - | - | - | - | - | - | - | - | - | - | |
| 4 | +,09 | 1,93 | 07150-07103 | 4,70 | - | - | - | - | - | - | - | - | 07150-07803 | |
| 3,2 mm CHOBERT® & GROV® | 5 | +,25 | 2,49 | 07150-06204 | 6,81 | 07150-08204 | 2,79 | +,35 | 2,59 | 07150-06304 | 7,32 | 07150-08304 | 3,00 | 07150-06804 |
| 6 | +,25 | 2,49 | 07150-07204 | 6,81 | 07150-09204 | 2,79 | +,35 | 2,59 | 07150-07304 | 7,32 | 07150-09304 | 3,00 | 07150-07804 | |
| 4,0 mm CHOBERT® & GROV® | 7 | +,38 | 3,10 | 07150-06205 | 8,13 | 07150-08205 | 3,30 | - | - | - | - | - | - | 07170-06875 |
| 7 | - | - | - | - | - | - | +,63 | 3,35 | 07150-06305 | 9,45 | 07150-08305 | 3,81 | 07150-06805 | |
| 8 | +,38 | 3,10 | 07150-07205 | 8,13 | 07150-09205 | 3,30 | - | - | - | - | - | - | 07170-07875 | |
| 8 | - | - | - | - | - | - | +,63 | 3,35 | 07150-07305 | 9,45 | 07150-09305 | 3,81 | 07150-07805 | |
| 4,8 mm CHOBERT® & GROV® | 9 | - | - | - | - | - | - | - | - | - | - | - | - | - |
| 9 | +,60 | 3,96 | 07150-06206 | 9,45 | 07150-08206 | 3,81 | - | - | - | - | - | - | 07150-06806 | |
| 10 | - | - | - | - | - | - | - | - | - | - | - | - | - | |
| 10 | +,60 | 3,96 | 07150-07206 | 9,45 | 07150-09206 | 3,81 | - | - | - | - | - | - | 07150-07806 | |
| 6,4 mm CHOBERT® | 11 | - | - | - | - | - | - | - | - | - | - | - | - | - |
| 12 | - | - | - | - | - | - | - | - | - | - | - | - | - | |
S / R = aiguille à cône court. Voir les explications pages 57-58.
Pour couver la refere d aiguille correspondant a une application particuile, dire les instructions ci-dessous apree avoir releve les informations suivantes, ilustrees par l'example fourni en regard. Les reponses correspondant a l'example apparaissent en grise et en italique.
NOM DE LA FIXATION
exempl
Chobert®
TAILLE DE LA FIXATION
3.2 mm
FICHE TECHNIQUE
Serie 1125
TAILLE DU TROU DE L'APPLICATION
ESPACE DERRIERE L'APPLICATION
"REPERE" TIRE DU TABLEAU DE SELECTION DES NEZ DE POSE
llimité
5 (standard plat)
- Soustraire la dimension minimum de trou recommendée (SEL. REC), trouvee dans la fiche technique de la fixation, de la dimension reelle du trou de l'application, par exemple 0,005.
Passer à la page du tableau de besoin de l'aiguille concernant la fixation, enCHOISANT les unités anglaises ou métriques (pages 55 à 59), par exemple page 55. - En partirant de la rubrique 'Aiguille standard - Verte', retrouver les dimensions de la fixation dans la colonne de gauche, par exemple Chobert® & Grov® de 3,2 mm.
Si I'on a déjà choisi un nez de pose convenant à la pose de la fixation, on doit alors pouvoir couvoir, dans la rubrique concernant la fixation en question, une ligne ayant le même "Repere" que celle du tableau de selection des nez de pose, par exemple 5. Cette ligne du Repere est celle dans laquelle on trouvera aussi bien la reférence de l'aiguille que celle du ressort. Cette ligne se prolonge dans la deuxième partie du tableau pour les aiguilles de catégorie 2e et 3e surdimensionnée. - Parcourir cette ligne jusqu'aux colonnes "taille du trou", et désir cette qui est égale à la valeur calculée en premier lieu ou qui s'en rapproche le plus. On peut alors dire le nombre de référence de l'aiguille à côté de la taille du trou, par exemple 07150-06104.
Pour les fixations Chobert et Grov, et elles seulement, la plupart des aiguilles existent aussi en version "cone court" (voir les illustrations de la page 58). Les aiguilles à cône court permettent de limiter les risques de contact entre le cône de l'iguille et un obstacle situé à l'arrière, ce qui aurait pour effet d'empêcher un bon appui de la face inférieure de la tête de la fixation sur la surface de l'application, et donc un défaut de serrage à ce joint. - Quelle que soit la taille d'aiguille que l'on retiennent, il est également nécessaire de vérifier que la valeur "P" convient à l'aiguille. "P" est l'espace nécessaire au côte de l'aiguille à l'arrête de la fixation, en plus de la longueur de la fixation dépassant de l'application, comme indiqué sur le schéma de la page 58.
- On peut alors dire la reférence du ressort d'iguille correspondant dans la colonne de droite du tableau, par exemple 07150-06804.
Dans tous les cas, on doit assurer un serrage satisfaisant du joint, notamment si la taille du trou de l'application est très proche de la prochaine condition de trou surdimensionné, auquel cas il est plus sur de besoinir la taille d'aiguille supérieure pour obtenir un serrage plus fort. NE PAS OUBLIER que cela conduit à augmenter la force de mandrinage et à réduire la durée de vie de l'aiguille
BRIV® - Mesures anglo-saxonnes
Pour désir l'aiguille ou le ressort de l'aiguille, suivre les instructions plus haut.
| FIXATION | REPERE | TAILLE DU TROU | AIGUILLE STANDARD - VERTE | TAILLE DU TROU | 1E AIGUILLE SURDIMENSIONNEE - JAUNE | REFERENCE DU RESSORT | ||||
| DIAMETRE DU CONE | REFERENCE DE L'AIGUILLE | P. MAXI | DIAMETRE DU CONE | REFERENCE DE L'AIGUILLE | P. MAXI | |||||
| 3/32" BRIV® LAITON SEULEMENT | 13 | SEL. REC. | ,072 | 07150-06013 | ,119 | +,004 | ,076 | 07150-06113 | ,123 | 07170-06873 |
| 14 | SEL. REC. | ,072 | 07150-06013 | ,119 | +,004 | ,076 | 07150-06113 | ,123 | 07170-06903 | |
| 1/8" BRIV® ALLIAGE D'ALUMINIUM, LAITON, ACIER | 15 | SEL. REC. | ,092 | 07271-06414 | ,120 | +,005 | ,097 | 07271-06514 | ,126 | 07150-06814 |
| 16 | SEL. REC. | ,092 | 07271-07414 | ,120 | +,005 | ,097 | 07271-07514 | ,126 | 07150-07814 | |
| 5/32" BRIV® ALLIAGE D'ALUMINIUM, LAITON, ACIER | 17 | SEL. REC. | ,110 | 07150-06015 | ,136 | +,005 | ,115 | 07150-06115 | ,142 | 07170-06875 |
| 18 | SEL. REC. | ,110 | 07150-07015 | ,136 | +,005 | ,115 | 07150-07115 | ,142 | 07170-07875 | |
| 5/32" BRIV® ACIER INOXYDABLE SEULEMENT | 19 | SEL. REC. | ,120 | 07170-06805 | ,126 | +,005 | ,125 | 07170-06825 | ,132 | 07170-06875 |
| 20 | SEL. REC. | ,120 | 07170-07805 | ,126 | +,005 | ,125 | 07170-07825 | ,132 | 07170-07875 | |
| 3/16" BRIV® ALLIAGE D'ALUMINIUM, LAITON, ACIER | 21 | SEL. REC. | ,141 | 07150-06016 | ,157 | +,005 | ,146 | 07150-06116 | ,164 | 07170-06876 |
| 22 | SEL. REC. | ,141 | 07150-07016 | ,157 | +,005 | ,146 | 07150-07116 | ,164 | 07170-07876 | |
| 3/16" BRIV® ACIER INOXYDABLE SEULEMENT | 23 | SEL. REC. | ,153 | 07170-06806 | ,150 | +,005 | ,158 | 07170-06826 | ,156 | 07170-06876 |
| 24 | SEL. REC. | ,153 | 07170-07806 | ,150 | +,005 | ,158 | 07170-07826 | ,156 | 07170-07876 | |
| 6mm BRIV® ALLIAGE D'ALUMINIUM, ACIER | 25 | SEL. REC. | ,179 | 07150-06018 | ,165 | +,005 | ,184 | 07150-06118 | ,171 | 07150-06846 |
| 26 | SEL. REC. | ,179 | 07150-07018 | ,165 | +,005 | ,184 | 07150-07118 | ,171 | 07150-07846 | |
| FIXATION | REPERE | TAILLE DU TROU | 2E AIGUILLE SURDIMENSIONNEE - BLEUE | TAILLE DU TROU | 3E AIGUILLE SURDIMENSIONNEE - ROUGE | REFERENCE DU RESSORT | ||||
| DIAMETRE DU CONE | REFERENCE DE L'AIGUILLE | P. MAXI | DIAMETRE DU CONE | REFERENCE DE L'AIGUILLE | P. MAXI | |||||
| 3/32" BRIV* | 13 | +,008 | ,079 | 07150-06213 | ,126 | - | - | - | - | 07170-06873 |
| LAITON SEULEMENT | 14 | +,008 | ,079 | 07150-06213 | ,126 | - | - | - | - | 07170-06903 |
| 1/8" BRIV* | 15 | +,010 | ,102 | 07271-06614 | ,133 | - | - | - | - | 07150-06814 |
| ALLIAGE D'ALUMINIUM, LAITON, ACER | 16 | +,010 | ,102 | 07271-07614 | ,133 | - | - | - | - | 07150-07814 |
| 5/32" BRIV* | 17 | +,010 | ,120 | 07150-06215 | ,149 | - | - | - | - | 07170-06875 |
| ALLIAGE D'ALUMINIUM, LAITON, ACER | 18 | +,010 | ,120 | 07150-07215 | ,149 | - | - | - | - | 07170-07875 |
| 5/32" BRIV* | 19 | - | - | - | - | - | - | - | - | - |
| ACIER INOXYDABLE SEULEMENT | 20 | - | - | - | - | - | - | - | - | - |
| 3/16" BRIV* | 21 | +,010 | ,151 | 07150-06216 | ,170 | +,012 | ,153 | 07150-06316 | ,173 | 07170-06876 |
| ALLIAGE D'ALUMINIUM, LAITON, ACER | 22 | +,010 | ,151 | 07150-07216 | ,170 | +,012 | ,153 | 07150-07316 | ,173 | 07170-07876 |
| 3/16" BRIV* | 23 | - | - | - | - | - | - | - | - | - |
| ACIER INOXYDABLE SEULEMENT | 24 | - | - | - | - | - | - | - | - | - |
| 6mm BRIV* | 25 | +,010 | ,189 | 07150-06218 | ,177 | - | - | - | - | 07150-06846 |
| ALLIAGE D'ALUMINIUM, ACER | 26 | +,010 | ,189 | 07150-07218 | ,177 | - | - | - | - | 01750-07846 |
Ensembles de nez
Types de cône d'aiguille et distance 'P'
Les aiguilles pour Briv en acier inoxydable se reconnaissent facilement au V gravé à l'extrémité des cônes d'aiguille.
Lors de l'utilisation de nez de pose courbes, il est nécessaire de courber les aiguilles à la main pour leur donner la même courbure que le nez de pose, afin d'assurer une bonne alimentation des fixations.

BRIV® - Metrique
| FIXATION | REPERE | TAILLE DU TROU | AIGUILLE STANDARD - VERTE | TAILLE DU TROU | 1E AIGUILLE SURDIMENSIONNEE - JAUNE | REFERENCE DU RESSORT | ||||
| DIAMETRE DU CONE | REFERENCE DE L'AIGUILLE | P. MAXI | DIAMETRE DU CONE | REFERENCE DE L'AIGUILLE | P. MAXI | |||||
| 2,4 mm BRIV® LAITON SEULEMENT | 13 | SEL. REC. | 1,83 | 07150-06013 | 3,02 | +,10 | 1,93 | 07150-06113 | 3,12 | 07170-06873 |
| 14 | SEL. REC. | 1,83 | 07150-06013 | 3,02 | +,10 | 1,93 | 07150-06113 | 3,12 | 07170-06903 | |
| 3,2 mm BRIV® ALLIAGE D'ALUMINIUM, LAITON, ACIER | 15 | SEL. REC. | 2,34 | 07271-06414 | 3,05 | +,13 | 2,46 | 07271-06514 | 3,20 | 07150-06814 |
| 16 | SEL. REC. | 2,34 | 07271-07414 | 3,05 | +,13 | 2,46 | 07271-07514 | 3,20 | 07150-07814 | |
| 4,0 mm BRIV® ALLIAGE D'ALUMINIUM, LAITON, ACIER | 17 | SEL. REC. | 2,79 | 07150-06015 | 3,45 | +,13 | 2,92 | 07150-06115 | 3,61 | 07170-06875 |
| 18 | SEL. REC. | 2,79 | 07150-07015 | 3,45 | +,13 | 2,92 | 07150-07115 | 3,61 | 07170-07875 | |
| 4,0 mm BRIV® ACIER INOXYDABLE SEULEMENT | 19 | SEL. REC. | 3,05 | 07170-06805 | 3,20 | +,13 | 3,18 | 07170-06825 | 3,35 | 07170-06875 |
| 20 | SEL. REC. | 3,05 | 07170-07805 | 3,20 | +,13 | 3,18 | 07170-07825 | 3,35 | 07170-07875 | |
| 4,8 mm BRIV® ALLIAGE D'ALUMINIUM, LAITON, ACIER | 21 | SEL. REC. | 3,58 | 07150-06016 | 3,99 | +,13 | 3,71 | 07150-06116 | 4,17 | 07170-06876 |
| 22 | SEL. REC. | 3,58 | 07150-07016 | 3,99 | +,13 | 3,71 | 07150-07116 | 4,17 | 07170-07876 | |
| 4,8 mm BRIV® ACIER INOXYDABLE SEULEMENT | 23 | SEL. REC. | 3,89 | 07170-06806 | 3,81 | +,13 | 4,01 | 07170-06826 | 3,96 | 07170-06876 |
| 24 | SEL. REC. | 3,89 | 07170-07806 | 3,81 | +,13 | 4,01 | 07170-07826 | 3,96 | 07170-07876 | |
| 6 mm BRIV® ALLIAGE D'ALUMINIUM, ACIER | 25 | SEL. REC. | 4,54 | 07150-06018 | 4,18 | +,13 | 4,67 | 07150-06118 | 4,34 | 07150-06846 |
| 26 | SEL. REC. | 4,54 | 07150-07018 | 4,18 | +,13 | 4,67 | 07150-07118 | 4,34 | 07150-07846 | |
| FIXATION | REPERE | TALLE DU TROU | 2E AIGUILLE SURDIMENSIONNEE - BLEUE | TAILLE DU TROU | 3E AIGUILLE SURDIMENSIONNEE - ROUGE | REFERENCE DU RESSORT | ||||
| DIAMETRE DU CONE | REFERENCE DE L'AIGUILLE | P. MAXI | DIAMETRE DU CONE | REFERENCE DE L'AIGUILLE | P. MAXI | |||||
| 2,4 mm BRIV®LAITON SEULEMENT | 13 | +,20 | 2,01 | 07150-06213 | 3,20 | - | - | - | - | 07170-06873 |
| 14 | +,20 | 2,01 | 07150-06213 | 3,20 | - | - | - | - | 07170-06903 | |
| 3,2 mm BRIV®ALLIAGE D'ALUMINIUM, LATON, ACER | 15 | +,25 | 2,59 | 07271-06614 | 3,38 | - | - | - | - | 07150-06814 |
| 16 | +,25 | 2,59 | 07271-07614 | 3,38 | - | - | - | - | 07150-07814 | |
| 4,0 mm BRIV®ALLIAGE D'ALUMINIUM, LATON, ACER | 17 | +,25 | 3,05 | 07150-06215 | 3,78 | - | - | - | - | 07170-06875 |
| 18 | +,25 | 3,05 | 07150-07215 | 3,78 | - | - | - | - | 07170-07875 | |
| 4,0 mm BRIV®ACIER INOXYDABLE SEULEMENT | 19 | - | - | - | - | - | - | - | - | - |
| 20 | - | - | - | - | - | - | - | - | - | |
| 4,8 mm BRIV®ALLIAGE D'ALUMINIUM, LATON, ACER | 21 | +,25 | 3,84 | 07150-06216 | 4,32 | +,30 | 3,85 | 07150-06316 | 4,39 | 07170-06876 |
| 22 | +,25 | 3,84 | 07150-07216 | 4,32 | +,30 | 3,85 | 07150-07316 | 4,39 | 07170-07876 | |
| 4,8 mm BRIV®ACIER INOXYDABLE SEULEMENT | 23 | - | - | - | - | - | - | - | - | - |
| 24 | - | - | - | - | - | - | - | - | - | |
| 6 mm BRIV®ALLIAGE D'ALUMINIUM, ACER | 25 | +,25 | 4,79 | 07150-06218 | 4,49 | - | - | - | - | 07150-06846 |
| 26 | +,25 | 4,79 | 07150-07218 | 4,49 | - | - | - | - | 07150-07846 | |
Avlug®, Avset®, Avtronic® & Rivscrew® - Metrique et Mesures anglo-saxonnes
Pour désir l'aiguille ou le ressort de l'aiguille, suivre les instructions de la page 57.
- ces dimensions s'entendant entre méplats
| FIXATION | REPERE | TAILLE DU TROU | AIGUILLE STANDARD - VERTE | TAILLE DU TROU | 1E AIGUILLE SURDIMENSIONNEE - JAUNE | REFERENCE DU RESSORT | ||||
| DIAMETRE DU CONE | REFERENCE DE L'AIGUILLE | P. MAXI | DIAMETRE DU CONE | REFERENCE DE L'AIGUILLE | P. MAXI | |||||
| 3/32" AVLUG® | 27 | SEL. REC. | ,076 | 07150-06603 | ,353 | +,005 | ,081 | 07150-06703 | ,478 | 07150-06803 |
| 28 | SEL. REC. | ,076 | 07150-07603 | ,353 | +,003 | ,079 | 07150-07703 | ,368 | 07150-07803 | |
| 1/8" AVLUG® | 29 | SEL. REC. | ,098 | 07150-06604 | ,593 | - | - | - | - | 07150-06804 |
| 30 | SEL. REC. | ,098 | 07150-07604 | ,593 | - | - | - | - | 07150-07804 | |
| 2,5 mm 4.40 UNC AVSERT® | 31 | SEL. REC. | ,0725 | 07150-06003 | ,145 | - | - | - | - | 07150-06803 |
| 3,0 mm 6.32 UNC AVSERT® | 32 | SEL. REC. | ,088 | 07150-06004 | ,185 | - | - | - | - | 07150-06804 |
| 2,5 mm AVTRONIC® | 33 | SEL. REC. | ,070 | 07170-06025 | ,140 | +,003 | ,073 | 07170-06125 | ,140 | 07150-06803 |
| 34 | SEL. REC. | ,070 | 07170-07025 | ,140 | +,003 | ,073 | 07170-07125 | ,140 | 07150-07803 | |
| 2,8 mm AVTRONIC® | 35 | SEL. REC. | ,079 | 07170-06028 | ,150 | +,003 | ,082 | 07170-06128 | ,150 | 07170-06528 |
| 36 | SEL. REC. | ,079 | 07170-06028 | ,150 | +,003 | ,082 | 07170-06128 | ,150 | 07170-06873 | |
| 37 | SEL. REC. | ,079 | 07170-07028 | ,150 | +,003 | ,082 | 07170-07128 | ,150 | 07170-07528 | |
| 2,8 mm RIVSCREW® | 38 | SEL. REC. | *,065 | 07271-06030 | ,127 | - | - | - | - | 07271-06630 |
| 3,0 mm RIVSCREW® | 39 | SEL. REC. | *,065 | 07271-06030 | ,127 | - | - | - | - | 07271-06630 |
| 3,5 mm RIVSCREW® | 40 | SEL. REC. | *,0825 | 07271-06035 | ,132 | - | - | - | - | 07271-06635 |
| 4,0 mm RIVSCREW® | 41 | SEL. REC. | *,103 | 07271-06140 | ,150 | - | - | - | - | 07271-06640 |
| FIXATION | REPERE | TAILLE DU TROU | 2E AIGUILLE SURDIMENSIONNEE - BLEUE | 3E AIGUILLE SURDIMENSIONNEE - ROUGE | REFERENCE DU RESSORT | ||||
| DIAMETRE DU CONE | REFERENCE DE L'AIGUILLE | P. MAXI | DU TROU | DIAMETRE DU CONE | REFERENCE DE L'AIGUILLE | P. MAXI | |||
| 3/32" AVLUG® | 27 | - | - | - | - | - | - | - | - |
| 28 | - | - | - | - | - | - | - | - | |
| 1/8" AVLUG® | 29 | - | - | - | - | - | - | - | - |
| 30 | - | - | - | - | - | - | - | - | |
| 2,5 mm 4.40 UNC AVSERT® | 31 | - | - | - | - | - | - | - | - |
| 3,0 mm 6.32 UNC AVSERT® | 32 | - | - | - | - | - | - | - | - |
| 2,5 mm AVTRONIC® | 33 | +,006 | ,076 | 07170-06225 | ,140 | - | - | - | 07150-06803 |
| 34 | +,006 | ,076 | 07170-07225 | ,140 | - | - | - | 07150-07803 | |
| 2,8 mm AVTRONIC® | 35 | +,006 | ,085 | 07170-06228 | ,150 | - | - | - | 07170-06528 |
| 36 | +,006 | ,085 | 07170-06228 | ,150 | - | - | - | 07170-06873 | |
| 37 | +,006 | ,085 | 07170-07228 | ,150 | - | - | - | 07170-07528 | |
| 2,8 mm RIVSCREW® | 38 | - | - | - | - | - | - | - | - |
| 3,0 mm RIVSCREW® | 39 | - | - | - | - | - | - | - | - |
| 3,5 mm RIVSCREW® | 40 | - | - | - | - | - | - | - | - |
| 4,0 mm RIVSCREW® | 41 | - | - | - | - | - | - | - | - |
| FIXATION | REPERE | TAILLE DU TROU | AIGUILLE STANDARD - VERTE | TAILLE DU TROU | 1E AIGUILLE SURDIMENSIONNEE - JAUNE | REFERENCE DU RESSORT | ||||
| DIAMETRE DU CONE | REFERENCE DE L'AIGUILLE | P. MAXI | DIAMETRE DU CONE | REFERENCE DE L'AIGUILLE | P. MAXI | |||||
| 2,4 mm AVLUG® | 27 | SEL. REC. | 1,93 | 07150-06603 | 8,97 | +,10 | 2,06 | 07150-06703 | 12,14 | 07150-06803 |
| 28 | SEL. REC. | 1,93 | 07150-07603 | 8,97 | +,10 | 2,01 | 07150-07703 | 9,35 | 07150-07803 | |
| 3,2 mm AVLUG® | 29 | SEL. REC. | 2,49 | 07150-06604 | 15,06 | - | - | - | - | 07150-06804 |
| 30 | SEL. REC. | 2,49 | 07150-07604 | 15,06 | - | - | - | - | 07150-07804 | |
| 2,5 mm 4,40 UNC AVSERT® | 31 | SEL. REC. | 1,84 | 07150-06003 | 3,68 | - | - | - | - | 07150-06803 |
| 3,0 mm 6,32 UNC AVSERT® | 32 | SEL. REC. | 2,24 | 07150-06004 | 4,70 | - | - | - | - | 07150-06804 |
| 2,5 mm AVTRONIC® | 33 | SEL. REC. | 1,78 | 07170-06025 | 3,56 | +,07 | 1,85 | 07170-06125 | 3,56 | 07150-06803 |
| 34 | SEL. REC. | 1,78 | 07170-07025 | 3,56 | +,07 | 1,85 | 07170-07125 | 3,56 | 07150-07803 | |
| 2,8 mm AVTRONIC® | 35 | SEL. REC. | 2,01 | 07170-06028 | 3,81 | +,07 | 2,08 | 07170-06128 | 3,81 | 07170-06528 |
| 36 | SEL. REC. | 2,01 | 07170-06028 | 3,81 | +,07 | 2,08 | 07170-06128 | 3,81 | 07170-06873 | |
| 37 | SEL. REC. | 2,01 | 07170-07028 | 3,81 | +,07 | 2,08 | 07170-07128 | 3,81 | 07170-07528 | |
| 2,8 mm RIVSCREW® | 38 | SEL. REC. | * 1,65 | 07271-06030 | 3,23 | - | - | - | - | 07271-06630 |
| 3,0 mm RIVSCREW® | 39 | SEL. REC. | * 1,65 | 07271-06030 | 3,23 | - | - | - | - | 07271-06630 |
| 3,5 mm RIVSCREW® | 40 | SEL. REC. | * 2,10 | 07271-06035 | 3,35 | - | - | - | - | 07271-06635 |
| 4,0 mm RIVSCREW® | 41 | SEL. REC. | * 2,62 | 07271-06140 | 3,81 | - | - | - | - | 07271-06640 |
ces dimensions s'entendant entre méplats
| FIXATION | REPERE | TAILLE DU TROU | 2E AIGUILLE SURDIMENSIONNEE - BLEUE | TAILLE DU TROU | 3E AIGUILLE SURDIMENSIONNEE - ROUGE | REFERENCE DU RESSORT | ||||
| DIAMETRE DU CONE | REFERENCE DE L'AIGUILLE | P. MAXI | DIAMETRE DU CONE | REFERENCE DE L'AIGUILLE | P. MAXI | |||||
| 2,4 mm AVLUG® | 27 | - | - | - | - | - | - | - | - | - |
| 28 | - | - | - | - | - | - | - | - | - | |
| 3,2 mm AVLUG® | 29 | - | - | - | - | - | - | - | - | - |
| 30 | - | - | - | - | - | - | - | - | - | |
| 2,5 mm, 4-40 UNC AVSERT® | 31 | - | - | - | - | - | - | - | - | - |
| 3,0 mm 6-32 UNC AVSERT® | 32 | - | - | - | - | - | - | - | - | - |
| 2,5 mm AVTRONIC® | 33 | +,15 | 1,93 | 07170-06225 | 3,56 | - | - | - | - | 07150-06803 |
| 34 | +,15 | 1,93 | 07170-07225 | 3,56 | - | - | - | - | 07150-07803 | |
| 2,8 mm AVTRONIC® | 35 | +,15 | 2,16 | 07170-06228 | 3,81 | - | - | - | - | 07170-06528 |
| 36 | +,15 | 2,16 | 07170-06228 | 3,81 | - | - | - | - | 07170-06873 | |
| 37 | +,15 | 2,16 | 07170-07228 | 3,81 | - | - | - | - | 07170-07528 | |
| 2,8 mm RIVSCREW® | 38 | - | - | - | - | - | - | - | - | - |
| 3,0 mm RIVSCREW® | 39 | - | - | - | - | - | - | - | - | - |
| 3,5 mm RIVSCREW® | 40 | - | - | - | - | - | - | - | - | - |
| 4,0 mm RIVSCREW® | 41 | - | - | - | - | - | - | - | - | - |
L'entretien doit être effectué de façon régulière, et une révision approfondie doit avoir lieu chaque année ou tous les 500,000 cycles minimum.
IMPORTANT
Il apparait a l'employeur de faire en sorte que les instructions de maintenance des outils soient conféées aux personnes compétentes. L'opérateur ne doit pas être impliqué dans la maintenance ou la réparation de l'outil, à moins qu'il n'ait reçu la formation appropriée.
Chaque jour
- Chaque jour, avant d'utiliser l'outil, ou lors de sa première mise en service, verser quelques gouttes d'une huile de lubrication propre dans l'accuee d'air de I'intensificateur, si I'alimentation pneutique ne compeote pas d'huileur. Si I'outil est utilisé de façon continue, débrancher le flexible de I'alimentation pneutique, et lubrifier I'outil toutes les deux ou trois heures.
- Rechercher les fuites d'air et d'huile. Les flexibles et raccords endommagés doivent être replacés par des neufs.
S'il n'y a pas de filtrer sur le regulateur de pression, purger la conduite d'air pour la débarrasser de toute accumulation de saletés ou d'eau avant de raccorder le flexible à l'intensificateur. Si un filtré est monté, le purger. - Vérifier que l'équipement de pose monté est le bon.
Vérifier régulierement les aiguilles en recherchant les traces d'usure ou de dommages, et en tenant le compte du nombre de poses (voir les instructions de sécurité, page 42).
Chaque semaine
- Suivre les procédures intégrales "quotidiennes" décrites ci-dessus.
- Demonter, examiner, nettoyer et graisser les mâchoires d'iguille (voir "Cylindre des mâchoires d'iguille" de la rubrique 'Maintenance', page 62).
Vérifier que le niveau d'huile du réservoir de l'intensificateur est à environ 1,25 cm sous la plaque de fermeture transparente.
Graisse au Bisulfure de Molybdene EP 3753 Informations de Securite
La graisse peut être commandeé séparément. Sa réference est indiquée dans le kit d'entretien, sur la page 61.
Premiers Secours
PEAU:
Cettegraisse résistant parfaitement à l'eau,la meilleure façon de I'eliminer est d'employer un emulsifier approuve pour usage cutané.
INGESTION:
Veiller à ce que le patient boive 30 ml de lait de magnésie, de préférence dans une tasse de lait.
YEUX:
Irritant, mais sans danger. Rincer à l'eau et faire appel à un medecin.
Incendie
POINT ECLAIR: supérieur à 220^
Non classé comme inflammable.
Agents d'extinction appropriés : CO_2 , Halon ou jet d'eau, si appliqué par une personne qualifiée.
Environnement
racler les dépôts. Les brûler ou lesmettre en décharge sur un siteapprovoué.
Manutention
Utiliser une crème protectrice ou des gants résistant à l'huile.
Stockage
A l'écart de la chaleur et des agents oxydants.
Kit d'entretien
Pour toute opération d'entretien, nous recommendons l'emploi du kit d'entretien (réference 07900-05300).
| KIT D'ENTRETIEN | |||||
| REFERENCE | DESCRIPTION | Quantité | REFERENCE | DESCRIPTION | Quantité |
| 07900-00157 | PINCE A CIRCLIPS | 1 | 07900-00352 | CROchet D'EXTRACTION DE JOINT | 1 |
| 07900-00006 | SPATULE | 1 | 07900-00710 | CLE DE RETRAIT DE BOUCHON DE CANON | 1 |
| 07900-00446 | EXTRACTEUR | 1 | 07900-00725 | BILLE | 1 |
| 07900-00603 | MACHOIRES D'ETAU POUR CANON | 1 | 07900-00243 | TOURNEVIS | 1 |
| 07900-00520 | TIGE DE 3/8 DE POUCE | 1 | 07900-00488 | CLE POUR INTENSIFICATEUR | 1 |
| 07900-00521 | TIGE DE 1/4 DE POUCE | 1 | 07900-00013 | CLE ALLEN DE 1/8 DE POUCE | 1 |
| 07900-00602 | BILLE DE MONTAGE DE JOINT TORIQUE | 1 | 07900-00617 | LOT DE LOCTITE MULTI-GASKET 574 DE 50 ML | 1 |
| 07900-00595 | CLE DE 18 mm | 1 | 07900-00469 | CLE ALLEN DE 2,5 mm | 1 |
| 07900-00434 | CLE DE 12 mm | 1 | 07900-00351 | CLE ALLEN DE 3 mm | 1 |
| 07900-00237 | CLE 3/8 X 5/16 DE POUCE | 1 | 07900-00224 | CLE ALLEN DE 4 mm | 1 |
| 07900-00012 | CLE DE 9/16 X 5/8 DE POUCE | 1 | 07900-00225 | CLE ALLEN DE 5 mm | 1 |
| 07900-00008 | CLE DE 7/16 X 1/2 POUCE | 1 | 07992-00020 | POT DE 80 G DE GRAISSE AU BISULFURE DE MOLYBDENE EP 3753 | 1 |
Note: sauf indication contraire, les dimensions des clés s'entendant "entre méplats".
Entretien
Tous les 500,000 cycles, ainsi qu'aux périodes recommendées, l'outil doit être entierement démonté, et les composants usés ou endommages doivent être replacés. Tous les joints plats et toriques doivent être changés, avec lubrification à la graisse au bisulfure de molybdène EP 3753 avant remontage.
IMPORTANT
Les instructions de sécurité figurent pages 42.
Il appar pent à l'employeur de faire en sorte que les instructions de maintenance des outils soient confiées aux personnes compétentes. L'opérateur ne doit pas être impliqué dans la maintenance ou la réparation de l'outil, à moins qu'il n'ait reçu la formation appropriée.
Sauf indication contraire, l'alimentation pneumatique doit etre debranchee avant toute operation d'entretien ou de demontage.
Il est recommandé d'effectuer tout demontage dans de bonnes conditions de propre.
Les procédures de démontage des outils 07530 Mk II et 07532 Mk II font l'objet de rubriques séparées. Pour l'outil 07530 Mk II, consulter les procédures de démontage ci-dessous et pour celles de l'outil 07532 Mk II, consulter les pages 64-65. Les numérodes de repère en caractères gras se référant à la rubrique Assemblage générale et liste de pieces prévue pour chaque méthode sur les pages 66-69.
Avant de démonter l'outil, il est nécessaire d'enlever l'équipment de pose.
Pour un entretien complét de l'outil, nous conseillons de procéder par démontage de sous-ensembles dans l'ordre indiqué ci-dessous, après avoir débranché le flexible hydraulique de l'intensificateur et la ligne pneumatique de gâchette de la valve de l'intensificateur, séparant ainsi le pistolet de l'intensificateur.
Demontage de l'outil 07530-02200 MkII
Consulter les pages 64-65 pour démonter l'util 07530-02200 Mk II.
CYLINDRE DES MACHOIRESD'AIGUILLE
Faire pivoter le clip 47 vers le haut à la main et-retirer l'obturateur 38.
A l'aide d'une clé Allen*, retirer une des vis à tete cylindrique 44, en veillant à bien purger l'air du cylindre des mâchoires d'aiguille. Retirer l'autre vis à tete cylindrique 44.
Faire sortir I'obturator arriere 46.
Extraire les composants des machoires d'aiguille pneumatiques, soit l'ensemble de piston de machoires d'aiguille 14, le ressort 13, les machoires 9 et le carter port-machoires 8.
Retirer l'obturateur de l'arriere de l'ensemble piston à l'aide d'une clé Allen et d'une barre insérée dans la grande fente de la tourelle.
Nettory a turel a dun foret de 4,7 mm et replcer l'obturateur a laide d'un prodit d'etanchete non durcissant ( comme Loctite Multi-gasket 574^
Retirer le joint torique d'etanchéité de piston 10.
A l'aide d'une clé Allen, enlever de la poignée les cinq vis de fixation de piece moulée de poignée 34, 39 et les écrous 33 de la poignée de l'outil.
- Serrer le canon 25 dans un état équipé de machoires tendres, pour éviter de l'endommager.
A l'aide d'une clé à tube, dévisser le bouchon de canon 7 en empêchant le canon 25 de tourner, à l'aide d'une clé à fourche.
- Débrancher le tube pneumatique en accordéon des mâchoires d'aiguille 12 du bloc interrupteur 28 etsterol le cylindre des mâchoires d'aiguille 6 de l'outil.
Retirer le joint torque 4, la bande de frottement 15 et le ressort de rappel du canon 16.
- La longueur sans charge du ressort 13 doit être de 38,1 mm. Le changer si nécessaire.
Enduire les mâchoires d'aiguille de graisse au bisulfure de molybdène avant de remonter.
- Remonter en inversant la procédure de démontage.
PISTON HYDRAULIQUE
Déposer le cylindre de machoires d'iguille 6 de la façon déjà décrite.
- Serrer à l'étau le carter principal 19 en utilisant des machoires tendres* pour éviter de l'endommager. Desserrer le limiteur de course 17.
- Serrer le canon 25 dans un etau équipé de mâchoires tendres, extraire le carter principal 19 du canon 25 (une faible quantité d'huile hydraulique sort du carter interieur).
Enlever avec précaution le piston 18, pour éviter d'endommager l'alésage du carter.
Enlever le joint 3.
Il est difficile d'enlever le joint 1 sans l'endommager, mais il peut rester en place pendant le nettoyage (à condition que le nettoyage lui même ne l'abîme pas). S'il est toute fois nécessaire de changer ce joint 1, procédé de la façon suivante :
A l'aide d'une spatule*, arracher du carter principal 19 le joint 1, en veillant a ne pas endommager la cavity et les alésages du carter. Une fois enlevé, l'ancien joint 1 doit être rebuté.
Pour changer le joint 1, devisser l'ensemble flexible hydraulique 22 et monter un ensemble bouchon de purge 2 de rechange en le vissant pour amener la face interieure au niveau de l'alusage interieur.
- Dévisser le bouchon de purge existant jusqu'à ce que sa face interne soit de niveau avec l'alésage interne. Ceci créé un passage facile pour introduire le nouveau joint 1 par l'arrière du carter principal.
Vérifier que le joint est bien graissé et orienté dans le bon sens, le côté ouvert du joint face aux mâchoires d'iguille arrière.
Terminer le remontage dans l'ordre inverse du démontage.
ENSEMBLE GACHETTE
Pour démonter / procédé à l'entretien de l'ensemble, enlever les capots de l'outil en adoptant la procédure décrite précédement.
- Débrancher de l'ensemble tous les flexibles pneumatiques en veillant à ne pas les endommager. Retirer l'ensemble.
A l'aide d'une clé*, devisser la retenue d'étanchéité 49 et la retirer. Veiller à bien conserver le ressort 50.
- Débloquer le joint torique 53, en veillant à ne pas endommager le pivot 54 ou les assises de retenue d'étanchéité 49.
Nettoyer et remonter, en utilisant un joint torque 53 neuf.
Vérifier la longueur sans charge du ressort 50, qui doit être de 12,7mm - remplacer si nécessaire.
- Remonter en inversant la procédure de démontage.
VALVE MARCHE / ARRET DE MACHOIRES D'AIGUILLE
Cet ensemble est concu pour ne nécessiter qu'un minimum d'entretien au cours de la durée de vie de l'outil.
Si le démontage de la valve s'avéré nécessaire, procéder comme suit :
- Débrancher de l'ensemble les flexibles pneumatiques en veillant à ne pas les endommager. Retirer l'ensemble.
A l'aide d'une clé Allen, desserer la vis 27 bloquant l'ensemble sur le canon 25 etPTRer l'ensemble.
- A l'aide d'un tournevis, enlever avec précaution la rondelle Starlock chromée 26 du tiroir pneumatique de mâchoires 29 et jeter cette rondelle.
- Extraire le tiroir pneumatique de mâchoires 29 du bloc interrupteur 28.
- En veillant à ne pas endommager le tiroir pneumatique de mâchoires 29, retirer les joints toriques 31.
Nettory le tiroir et remoner des joints toriques 31 neufs à l'aide de la bille de montage* et l'inserer dans le bloc interrupteur 28, en faisant attention à bien l'orienter.
- Monter une rondelle Starlock chromée 26 neue en serrant l'ensemble dans un état équipé de machoires tendres, pour éviter de l'endommager. NE PAS APPLICER UNE FORCE EXCESSIVE.
Terminer le remontage en inversant la procEDURE de demontage.
CLAPET ANTI-RETOUR DE PRESSION DE MACHOIRES D'AIGUILLE
Le clapet anti-retour 21 est situé dans la poignée de l'outil.
Pour retirer / remplacer le clapet anti-retour 21, faire pression sur les raccords traversants et retirer le tube en plastique bleu 23 des deux extrémités.
Faire attention à l'orientation du clapet anti-retour 21 au moment de le remonter.
POIGNEE & OBTURATEUR
Nettoyer et examiner les pièces moulées à la recherche de fissuration ou autres dommages.
CURSEUR MECANIQUE
Nettoyer et huiier le curseur mécanique 5 de temps en temps, avec un peu d'huile légère.
IMPORTANT
Pratiqueur sur l'outil les vérifications et opérations correspondant à l'entretien quotidien et hebdomadaire.
Un plein d'huile est TOUJOURS nécessaire après démontage de l'outil et avant de l'utiliser.
Consulter les pages 62-63 pour démonter l'outil 07530-02200 MkII.
CYLINDRE DES MACHOIRESD'AIGUILLE
Faire pivoter le clip 54 vers le haut à la main et-retirer l'obturateur 45.
A l'aide d'une clé Allen*, retirer une des vis à tête cylindrique 51, en veillant à bien purger l'air du cylindre des mâchoires d'àiguille. Retirer l'autre vis à tête cylindrique 51.
Pousser vers l'avant I'obturateur arriere 53 contre le ressort 20 et le relacher brusquement pour faire tomber I'obturateur arriere 53.
Extraire les composants des mâchioires d'àiguille pneumatiques, soit l'ensemble de piston de mâchioires d'àiguille 21, le ressort 20, les mâchioires 16 et le carter porte-mâchioires 15.
Retirer l'obturator de l'arriere de l'ensemble piston à l'aide d'une clé Allen et d'une barre insérée dans la grande fente de la tourelle.
Nettoyer la tourelle à l'aide d'un foret de 4,7 mm et replacer l'obturateur à l'aide d'un produit d'etanchéité non durcissant (como Loctite Multi-gasket 574^ ).
Retirer le joint torque d'etanchéité de piston 17.
A l'aide d'une clé Allen, enlever de la poignée les cinq vis de fixation de piece moulée de poignée 41, 46 et les écrous 40 de la poignée de l'outil.
- Serrer le canon 31 dans un etau équipé de machoires tendres, pour éviter de l'endommager.
A l'aide d'une clé à tube, dévisser le bouchon de canon 14 en empêchant le canon 31 de tourner, à l'aide d'une clé à fourche.
- Débrancher le tube pneumatique en accordéon des machoires d'aiguille 19 du bloc interrupteur 35 etsterolre des machoires d'aiguille 12 de l'outil.
- Retirer le joint torique 10, la bande de frottement 22 et le ressort de rappel du canon 13.
La longueur sans charge du ressort 20 doit etre de 38,1 mm. Le changer si nécessaire.
Enduire les mâchoires d'aiguille de graisse au bisulfure de molybdène avant de remonter.
- Remonter en inversant la procédure de démontage.
PISTON HYDRAULIQUE
Déposer le cylindre de mâchoires d'iguille 12 de la façon déjà décrite.
- Serrer à l'étau le carter principal 25 en utilisant des mâchoires tendres* pour éviter de l'endommager. Desserrer le limiteur de course 23.
- Serrer le canon 31 dans un état équipé de mâchoires tendres, extraire le carter principal 25 du canon 31 (une faible quantité d'huile hydraulique sort du carter interieur).
- Enlever avec précaution le piston 24, pour éviter d'endommager l'alésage du carter.
Enlever le joint 9.
Il est difficile d'enlever le joint 1 sans l'endommager, mais il peut rester en place pendant le nettoyage (à condition que le nettoyage lui-même ne l'abîme pas). S'il est toutefois nécessaire de changer ce joint 1, procédé de la façon suivante :
A l'aide d'une spatule*, arracher du carter principal 25 le joint 1, en veillant a ne pas endommager la cavit et les alesages du carter. Une fois enlevé, I'ancien joint 1 doit etre rebute.
Pour changer le joint 1, débrancher l'ensemble flexible hydraulique 63 et tous les tuyaux pneumatiques associés. Dévisser le couplage autoserrant 6, retarder la plaque de montage à suspension 4, dévisser le flexible d'adaptateur supérieur 2 et monter un ensemble bouchon de purge 30 de rechange en le vissant pour amener la face interieure au niveau de l'alèsage interieur.
- Dévisser le bouchon de purge existant jusqu'à ce que sa face interne soit de niveau avec l'alésage interne. Ceci créé un passage facile pour introduire le nouveau joint 1 par l'arrête du carter principal.
Vérifier que le joint est bien graissé et orienté dans le bon sens, le côté ouvert du joint face aux mâchoires d'iguille arrêté.
Terminer le remontage dans l'ordre inverse du demontage.
ENSEMBLE GACHETTE
Pour démonter / procédé à l'entretien de l'ensemble, enlever les capots de l'outil en adoptant la procédure décrite précédement.
- Débrancher de l'ensemble tous les flexibles pneumatiques en veillant à ne pas les endommager. Retirer l'ensemble.
A l'aide d'une clé*, dévisser la retenue d'étanchéité 56 et la retirer. Veiller à bien conserver le ressort 57.
- Débloquer le joint torque 60, en veillant à ne pas endommager le pivot 61 ou les assises de retenue d'étanchéité 56.
Nettoyer et remonter, en utilisant un joint torque 60 neuf.
- Vérifier la longueur sans charge du ressort 57, qui doit être de 12,7mm - remplacer si nécessaire.
- Remonter en inversant la procédure de démontage.
VALVE MARCHE / ARRET DE MACHOIRES D'AIGUILLE
Cet ensemble est concu pour ne nécessiter qu'un minimum d'entretien au cours de la durée de vie de l'outil.
Si le démontage de la valve s'avéré nécessaire, professionnel comme suit :
- Débrancher de l'ensemble les flexibles pneumatiques en veillant à ne pas les endommager. Retirer l'ensemble.
A l'aide d'une clé Allen*, desserrer la vis 34 bloquant l'ensemble sur le canon 31 et retirer l'ensemble.
A l'aide d'un tournevis*, enlever avec precaution la rondelle Starlock chromée 33 du tiroir pneumatique de machoires 36 et jeter cette rondelle.
Extraire le tiroir pneumatique de machoires 36 du bloc interrupteur 35.
En veillant a ne pas endommager le tiroir pneumatique de machoires 36, retirer les joints toriques 38.
Nettory teiroir and remonter des joints toriques 38 neuf s a l'aide de la bille de montage* et l'insere dans le bloc interrupteur 35, en faisant attention a bien l'orienter.
Monter une rondelle Starlock chromée 33 neuve en serrant l'ensemble dans un etau équipé de machoires tendres, pour éviter de l'endommager. NE PAS APPLICER UNE FORCE EXCESSIVE.
Terminer le remontage en inversant la procEDURE de demontage.
CLAPET ANTI-RETOUR DE PRESSION DE MACHOIRES D'AIGUILLE
Le clapet anti-retour 26 est situé dans la poignée de l'outil.
Pour retirer / remplacer le clapet anti-retour 26, faire pression sur les raccords traversants et retirer le tube en plastique bleu 27 des deux extrémités.
Faire attention à l'orientation du clapet anti-retour 26 au moment de le remonter.
POIGNEE & OBTURATEUR
Nettoyer et examiner les pièces moulées à la recherche de fissuration ou autres dommages.
CURSEUR MECANIQUE
Nettoyer et huiier le curseur mecanique 11 de temps en temps, avec un peu d'huile légere.
IMPORTANT
Pratiquer sur l'outil les vérifications et opérations correspondant à l'entretien quotidien et hebdomadaire.
Un plein d'huile est TOUJOURS nécessaire après démontage de l'outil et avant de l'utiliser.

| LISTE DE PIECES 07530-02200 | |||||||||
| REPÈRE | RÉFÉRENCE | DESCRIPTION | QTÉ | RECHANGES | REPÈRE | RÉFÉRENCE | DESCRIPTION | QTÉ | RECHANGES |
| 1 | 07003-00237 | JOINT (STATIQUE) | 1 | - | 29 | 07530-02302 | TIROIR PNEUMATIQUE DES MACHOIRES | 1 | - |
| 2 | 07530-00500 | ENSEMBLE BOUCHON DE PURGE (ELEMENTS 56 à 59) | 1 | - | 30 | 07004-00059 | RONDELLE STARLOCK NOIRE 1/8" | 1 | - |
| 3 | 07003-00236 | JOINT (DYNAMIQUE) | 1 | - | 31 | 07003-00121 | JOINT TORIQUE | 2 | 3 |
| 4 | 07003-00167 | JOINT TORIQUE | 1 | - | 32 | 07005-01571 | RACCORD COUDE | 2 | - |
| 5 | 07271-01100 | ENSEMBLE CURSEUR MECANIQUE | 1 | - | 33 | 07002-00134 | ECROU HEXAGONAL M4 | 5 | - |
| 6 | 07530-02207 | CYLINDRE DES MACHOIRES D'AIGUILLE | 1 | - | 34 | 07001-00401 | VIS LONGUE M4 X 10 A TETE CYLINDRIQUE A SIX PANS CREUX | 3 | - |
| 7 | 07530-02205 | BOUCHON DE CANON | 1 | - | 35 | 07530-02210 | ETIQUEtte | 2 | - |
| 8 | 07530-00208 | CARTER PORTE-MACHOIRES | 1 | - | 36 | 07007-01504 | ETIQUEtte CONFORMITE CE | 1 | - |
| 9 | 07151-00403 | MACHOIRES | 2 | 2 | 37 | 07007-01503 | ETIQUEtte A ICONE LIVRE OUVERT | 1 | - |
| 10 | 07003-00113 | JOINT TORIQUE | 1 | 2 | 38 | 07530-02603 | OBTURATEUR | 1 | - |
| 11 | 07005-01972 | RACCORD FILETE EN L | 1 | - | 39 | 07001-00262 | VIS LONGUE M4 X 22 A TETE CYLINDRIQUE A SIX PANS CREUX | 2 | - |
| 12 | 07530-02211 | TUBE PNEUMATIQUE EN ACCORDEON DES MACHOIRES D'AIGUILLE | 1 | - | 40 | 07530-02601 | PIECE MOULEE DE POIGNEE MODIFIEE (DROITE) | 1 | - |
| 13 | 07154-00404 | RESSORT | 1 | - | 41 | 07530-02602 | PIECE MOULEE DE POIGNEE MODIFIEE (GAUCHE) | 1 | - |
| 14 | 07530-02800 | ENSEMBLE PISTON DES MACHOIRES D'AIGUILLE | 1 | - | 43 | 07003-00113 | JOINT TORIQUE | 1 | - |
| 15 | 07530-00206 | BANDE DE FROTTEMENT | 1 | 1 | 44 | 07001-00504 | VIS LONGUE M4 X 6 A TETE CYLINDRIQUE A SIX PANS CREUX | 2 | 2 |
| 16 | 07490-03002 | RESSORT DE RAPPEL DU CANON | 1 | - | 45 | 07002-00153 | RONDELLE PLASTIQUE M4 | 2 | - |
| 17 | 07530-00204 | LIMITEUR DE COURSE | 1 | - | 46 | 07530-02213 | OBTURATEUR ARRIERE | 1 | - |
| 18 | 07530-00203 | PISTON | 1 | - | 47 | 07530-02220 | CLIP | 1 | - |
| 19 | 07530-02202 | CARTER PRINCIPAL | 1 | - | 48 | 07007-00300 | GACHETTE | 1 | - |
| 20 | 07003-00142 | JOINT COLLE BSP 1/8" | 2 | 2 | 49 | 07220-00803 | RETENUE D'ETANCHÉITE | 1 | - |
| 21 | 07005-01973 | CLAPET ANTI-RETOUR | 1 | - | 50 | 07125-00215 | RESSORT | 1 | - |
| 22 | 07008-00423 | ENSEMBLE FLEXIBLE HYDRAULIQUE | 1 | - | 51 | 07530-02311 | LOGEMENT DE GACHETTE | 1 | - |
| 23 | 07005-01083 | TUBE PLASTIQUE BLEU 4 mm DIAMETRE EXTERIEUR | 60 mm | - | 52 | 07005-01357 | RACCORD TYPE A COLLERETTE | 1 | - |
| 24 | 07007-00017 | CHAPEAU ANTI-POUSSIÈRE | 1 | - | 53 | 07003-00022 | JOINT TORIQUE | 1 | - |
| 25 | 07530-02201 | CANON | 1 | - | 54 | 07241-00208 | PIVOT | 1 | - |
| 26 | 07004-00058 | RONDELLE STARLOCK CHROMEE 1/8" | 1 | - | 56 | 07003-00142 | ● JOINT COLLE | 1 | 1 |
| 27 | 07001-00404 | VIS LONGUE M5 X 6 A TETE CYLINDRIQUE A SIX PANS CREUX | 1 | - | 57 | 07003-00194 | ● JOINT COLLE | 1 | 1 |
| 28 | 07530-02301 | BLOC INTERRUPUTEUR | 1 | - | 58 | 07001-00442 | ● VIS | 1 | - |
| 59 | 07530-00501 | ● OBTURATEUR | 1 | - | |||||
| 60 | 07530-00310 | OBTURATEUR | 2 | ||||||

| LISTE DE PIECES 07532-02200 | |||||||||
| REPÈRE | RÉFÉRENCE | DESCRIPTION | QTÉ | RECHANGE | REPÈRE | RÉFÉRENCE | DESCRIPTION | QTÉ | RECHANGE |
| 1 | 07003-00237 | JOINT (STATIQUE) | 1 | - | 33 | 07004-00058 | RONDELLE STARLOCK CHROMEES 1/8" | 1 | - |
| 2 | 07532-00203 | ADAPTATEUR DE FLEXIBLE SUPERIEUR | 1 | - | 34 | 07001-00404 | VIS LONGUE M5 X 6 A TETE CYLINDRIQUE A SIX PANS CREUX | 1 | - |
| 3 | 07003-00142 | JOINT COLLE BSP 1/8" | 4 | 2 | 35 | 07530-02301 | BLOC INTERRUPEURTIROIR PNEUMATIQUE DE | 1 | - |
| 4 | 07532-02202 | PLAQUE DE MONTAGE A SUSPENSION | 1 | - | 36 | 07530-02302 | MACHOIRES | 1 | - |
| 5 | 07532-00205 | VIS MODIFIEE | 1 | - | 37 | 07004-00059 | RONDELLE STARLOCK NOIRE 1/8" | 1 | - |
| 6 | 07005-00759 | COUPLAGE AUTOSERRANT | 1 | - | 38 | 07003-00121 | JOINT TORIQUE | 2 | 3 |
| 7 | 07005-01357 | RACCORD TYPE A COLLERETTE | 3 | - | 39 | 07005-01571 | RACCORD COUDE | 2 | - |
| 8 | 07005-01325 | RACCORD CANNELE DROIT | 2 | - | 40 | 07002-00134 | ECROU HEXAGONAL M4 | 5 | - |
| 9 | 07003-00236 | JOINT (DYNAMIQUE) | 1 | 1 | 41 | 07001-00401 | VIS LONGUE M4 X 10 A TETE CYLINDRIQUE A SIX PANS CREUX | 3 | - |
| 10 | 07003-00167 | JOINT TORIQUE | 1 | 1 | 42 | 07530-02210 | ETIQUETTE | 1 | - |
| 11 | 07271-01100 | ENSEMBLE CURSEUR MECANIQUE | 1 | - | 43 | 07007-01504 | ETIQUETTE CONFORMITE CE | 1 | - |
| 12 | 07530-02207 | CYLINDRE DES MACHOIRES D'AIGUILLE | 1 | - | 44 | 07007-01503 | ETIQUETTE A ICONE LIVRE OUVERT | 1 | - |
| 13 | 07490-03002 | RESSORT DE RAPPEL DU CANON | 1 | - | 45 | 07530-02603 | OBTURATEUR | 1 | - |
| 14 | 07530-02205 | BOUCHON DE CANON | 1 | - | 46 | 07001-00262 | VIS LONGUE M4 X 22 CYLINDRIQUE A TETE A SIX PANS CREUX | 2 | - |
| 15 | 07530-00208 | CARTER PORTE-MACHOIRES | 1 | - | 47 | 07532-02208 | PIECE MOULEE DE POIGNEE MODIFIEE (DROITE) | 1 | - |
| 16 | 07151-00403 | MACHOIRES | 2 | 2 | 48 | 07532-02209 | PIECE MOULEE DE POIGNEE MODIFIEE (GAUCHE) | 1 | - |
| 17 | 07003-00113 | JOINT TORIQUE | 1 | 2 | 50 | 07003-00113 | JOINT TORIQUE | 1 | - |
| 18 | 07005-01972 | RACCORD FILETE EN L | 1 | - | 51 | 07001-00504 | VIS LONGUE M4 X 6 A TETE CYLINDRIQUE A SIX PANS CREUX | 2 | 2 |
| 19 | 07530-02211 | TUBE PNEUMATIQUE EN ACCORDEON DES MACHOIRES D'AIGUILLE | 1 | - | 52 | 07002-00153 | RONDELLE PLASTIQUE M4 | 2 | - |
| 20 | 07154-00404 | RESSORT | 1 | - | 53 | 07530-02213 | OBTURATEUR ARRÈRE | 1 | - |
| 21 | 07530-02800 | ENSEMBLE PISTON DE MACHOIRES D'AIGUILLE | 1 | - | 54 | 07530-02220 | CLIP | 1 | - |
| 22 | 07530-00206 | BANDE DE FROTTEMENT | 1 | 1 | 55 | 07007-00300 | GACHETTE | 1 | - |
| 23 | 07530-00204 | LIMITEUR DE COURSE | 1 | - | 56 | 07220-00803 | RETENUE D'ETANCHÉITE | 1 | - |
| 24 | 07530-00203 | PISTON | 1 | - | 57 | 07125-00215 | RESSORT | 1 | - |
| 25 | 07530-02202 | CARTER PRINCIPAL | 1 | - | 58 | 07530-02311 | LOGEMENT DE GACHETTE | 1 | - |
| 26 | 07005-01973 | CLAPET ANTI-RETOUR | 1 | - | 60 | 07003-00022 | JOINT TORIQUE | 1 | - |
| 27 | 07005-01083 | TUBE PLASTIQUE BLEU 4 mm DIAMETRE EXTERIEUR | 350 mm | - | 61 | 07241-00208 | PIVOT | 1 | - |
| 28 | 07532-02215 | OBTURATEUR D'ETANCHÉITE | 1 | - | 63 | 07008-00414 | ENSEMBLE FLEXIBLE HYDRAULIQUE | 1 | - |
| 29 | 07005-01084 | TUBE PLASTIQUE NOIR 4 mm DIAMETRE EXTERIEUR | 220 mm | - | 64 | 07003-00142 | ● JOINT COLLE | 1 | 1 |
| 30 | 07530-00500 | ENSEMBLE BOUCHON DE PURGE (ELEMENTS 64 à 67) | 1 | - | 65 | 07003-00194 | ● JOINT COLLE | 1 | 1 |
| 31 | 07530-02201 | CANON | 1 | - | 66 | 07001-00442 | ● VIS | 1 | - |
| 32 | 07007-00017 | CHAPEAU ANTI-POUSSIÈRE | 1 | - | 67 | 07530-00501 | ● OBTURATEUR | 1 | - |
| 68 | 07530-00310 | OBTURATEUR | 2 | ||||||
Lrs du demontage de l'ensemble intensificateur, commencer par debrancher l'alimentation pneumatique au raccord d'entree 22 de I'intensificateur.
A l'aide d'une clé Allen*, desserrer les quatre vis 27 et enlever la plaque de protection 24.
- Débrancher le flexible de gachette (repères 22 page 66, 29 page 68) de la valve de l'intensificateur 43 ou 48 en,enfantant la collerette extérieure et en retardant le flexible.
Enlever la plaque de fermeture 4 et le joint plat 35 en retardant les vis 37 et les rondelles 36 à l'aide d'une clé Allen*.
Vérifier que le joint plat n'est pas endommagé pour assurer une bonne étanchéité au remontage.
-
Renverser l'ensemble intensificateur et vidanger l'huile du réservoir dans un recipient adapté.
-
Retirer le raccord rapide 32 avec le raccord 31 et les joints 33, à l'aide d'une clé adaptée*.
Retirer la valve de l'intensificateur 43 ou 48 en retard les vis de fixation avec une clé adaptée en veillant à bien retenir le joint torque 21 dans le corps de l'intensificateur.
Enlever la vis 19 à l'aide d'une clé Allen* et déposer le capot de silencieux 16, le silencieux en mousse 15, l'entretoise 18 et la plaque de retenue 20.
Retirer le tube en plastique de 6 mm 41 des raccords de depression 42.
A partir de la base de l'intensificateur, insérer une clé Allen* de 3 mm à travers les deux troughs et dévisser les raccords de dépression 42. Note :
Faire attention. En effet, les raccords de dépression sont bloqués et collés au produit Loctite 574.
Si le retrait s'avere dificile, les raccords de depression peuvent etre percés à l'aide d'un foret de 4,7 mm de diametre.
Le remontage des raccords de dépression 42 s'effectue de la maniere suivante :
Faire tremper les raccords de depression dans un appret adapte, comme Perma Bond A905.
- Placer une goutte de Loctite 574 dans le filetage de l'intensificateur.
A partir de la base de l'intensificateur, insérer la clé Allen à travers le trou. Vérifier que le produit Loctite 574 ne s'est pas repandu sur la clé Allen avant de l'insérer dans le raccord de dépression.
Faire pivoter la clé Allen en appliquant du produit Loctite 574 à la base du raccord de dépression.
- Visser le raccord de dépression sur l'intensificateur, en vérifié qu'une quantité de Loctite 574 suffisante pour cacher le filtage a été appliquée sur la base du raccord.
- A l'aide d'un tournevis, enlever avec précaution la bague de retenue interne 14. Nettoyer et examiner la gorge en recherchant les traces de dégats.
- Visser le côté fileté mâle de l'extracteur dans la plaque de fermeture 12 et extraire celle-ci avec le manchon d'intensificateur 28 et les joints toriques 10 et 13.
- Insérer la tige à travers l'orifice du raccord, sur le devant du corps de l'intensificateur et faire sortir la tige de piston 9 et l'ensemble piston en tapotant.
A l'aide d'une clé Allen, dévisser les deux vis 25 et enlever le capot d'extrémité 12 du manchon de l'intensificateur 28.
A l'aide d'une clé*, enlever le bouchon 7. - Introduire la tige dans l'orifice du raccord avant du corps de l'intensificateur, et chasser le logement de joint 5 avec ses joints toriques et joints à levres.
Déposer l'ensemble corps de valve 34 du carter principal à l'aide d'une clé*. Nettoyer par un jet d'air à basse pression.
Enlever la tige de piston 9 du piston pneumatique de l'intensificateur 11 en en serrant les 20 premiers mm (3 / 4^ ) dans un etau a mchoires tendres, et en veillant a ne pas endommager ou marquer la surface fonctionnelle. - Dévisser l'écrou de blocage 17 avec une clé*
- Remonter dans l'ordre inverse du démontage, en respectant les points suivants :
Nettoyer toutes les pieces et changer tous les joints toriques.
Lubrifier tous les joints à laGRAISSÉ au bisulfure de molybdène.
L'ensemble corps de valve 34 doit être remonté avec application d'un produit d'étanchéité pour filtages.
Monter l'ensemble piston à l'aide d'un écrou 17 neuf. - La plaque de fermetre 12 doit être monté correctement à l'intérieur de la bague de retenue interne 14. Ne pas utiliser l'outil sans la plaque de fermetre.
IMPORTANT
Un plein d'huile est TOUJOURS nécessaire après démontage de l'outil et avant de l'utiliser.


Note
* Certains appareils ne sont pas munis de ces éléments (ils sont dotés d'un système de raccordement interne)

VUE SELON LA FLECHE "A"
COUPE D'UNE VALVE FESTO

COUPE D'UNE VALVE COMPAIR
LISTE DE PIECES 07531-00200
| REPERE | REFERENCE | DESCRIPTION | QTE | RECHANGE | REPERE | REFERENCE | DESCRIPTION | QTE | RECHANGE |
| 1 | 07003-00037 | JOINT | 1 | 1 | 28 | 07531-00201 | MANCHON | 1 | - |
| 2 | 07240-00211 | VIS DE REMPLISSAGE | 1 | - | 29 | 07003-00337 | JOINT A LEVRE | 1 | 1 |
| 3 | 07001-00418 | VIS DE PURGE | 1 | 1 | 30 | 07003-00336 | JOINT A LEVRE | 2 | 2 |
| 4 | 07240-00210 | PLAQUE DE FERMETURE | 1 | - | 31 | 07005-00406 | RACCORD | 1 | - |
| 5 | 71420-02006 | LOGEMENT DE JOINT | 1 | - | 32 | 07005-00759 | RACCORD RAPIDE | 1 | - |
| 6 | 07003-00153 | JOINT TORIQUE | 2 | - | 33 | 07003-00142 | JOINT | 2 | 1 |
| 7 | 71420-02007 | BOUCHON | 1 | - | 34 | 07240-00400 | ENSEMBLE CORPS DE VALVE | 1 | - |
| 8 | 71420-02300 | ENSEMBLE CARTER PRINCIPAL | 1 | - | 35 | 07240-00209 | JOINT PLAT | 1 | 1 |
| 9 | 71420-02008 | TIGE DE PISTON | 1 | - | 36 | 07002-00073 | RONDELLLE | 4 | 1 |
| 10 | 07003-00182 | JOINT TORIQUE | 1 | 1 | 37 | 07001-00554 | VIS | 4 | 1 |
| 11 | 07531-00202 | PISTON PNEUMATIQUE | 1 | - | 38 | 07007-01504 | ETIQUETTE | 1 | - |
| 12 | 07531-00204 | PLAQUE DE FERMETURE | 1 | - | 39 | 07240-00217 | ETIQUETTE | 1 | - |
| 13 | 07003-00183 | JOINT TORIQUE | 1 | 1 | 40 | 07531-00205 | ETIQUETTE | 2 | - |
| 14 | 07004-00069 | BAGUE DE RETENUE | 1 | 1 | 41 | 07005-00596 | * TUBE PLASTIQUE 6 mm | - | - |
| 15 | 07240-00213 | SILENCIEUX MOUSSE | 1 | 1 | 42 | 07245-00103 | * RACCORD DE DEPRESSION | 2 | - |
| 16 | 07240-00214 | CAPOT DE SILENCIEUX | 1 | - | 43 | 07005-00590 | VALVE COMPAIR | 1 | 1 |
| 17 | 07002-00017 | ECROU | 1 | 1 | 44 | 07005-01431 | RACCORD TRAVERSANT | 1 | 1 |
| 18 | 07240-00215 | ENTRETOISE | 1 | - | 45 | 07005-00668 | OBTURATEUR M5 | 1 | - |
| 19 | 07001-00417 | VIS | 1 | 1 | 46 | 07005-00670 | BAGUE D'ETANCHEITE M5 | 1 | - |
| 20 | 07240-00216 | PLAQUE DE RETENUE | 1 | - | 47 | 07005-01084 | TUBE PLASTIQUE 4 mm (150 mm) | - | - |
| 21 | 07003-00042 | JOINT TORIQUE | 1 | 1 | 48 | 07005-01524 | VALVE FESTO | 1 | - |
| 22 | 07005-00041 | RACCORD | 1 | - | 49 | 07001-00176 | VIS | 3 | - |
| 23 | 07003-00065 | RONDELLE | 1 | - | 50 | 07007-00292 | CHAPEAU ANTIPOUSSIÈRE BSP 1/4" | 1 | - |
| 24 | 07240-00220 | PLAQUE DE PROTECTION | 1 | - | 51 | 07005-00647 | RACCORD | 1 | - |
| 25 | 07001-00375 | VIS | 2 | - | 52 | 07005-01085 | TUBE PLASTIQUE 6 mm (150 mm) | - | - |
| 26 | 07003-00238 | JOINT TORIQUE | 1 | 1 | 53 | 07005-00855 | UNION TRAVERSANTE | 1 | - |
| 27 | 07001-00396 | VIS | 4 | - | 54 | 07007-01503 | ETIQUETTE | 1 | - |
Prière de noter que ces instructions d'entretien se rapportent à la valve Compair, si montée.
Les interventions sur la valve se limitent à la dépose et au remplacement des joints toriques.
Enlever les vis 24 et déposer l'ensemble valve pilote.
Enlever le piston 11 et reuter les joints toriques 3, 10, 4 et 5.
Déposer les vis 26 et 21 puis déposer les obturateurs 22 et 25.
Extraire les pistons 12 et 18 et enlever des pistons les joints toriques 7 et 9.
Extraire de l'alagsage le tiroir 16, en prenant soin de ne pas endommager sa surface, et enlever les rondelles de position 14 et 17, le joint torique 8, les entreoies 15 et le joint torique 6 de chaque cote du corps de la valve.
Enlever les cinq joints toriques intermediaires 4.
Jeter TOUS les joints toriques enleves.
Nettoryt ales pce a la paraffine ou au white spirit. NE PAS EMPLOYER DE SOLTANTS. Secher toutes les pieces.
Enduire tegere de graisse CENTOPEX 2 les alesages du corps de valve 23, le corps de valve pilote 19, les deux obturateurs 22 et 25 et tous les joints toriques neufs.
- Monter les joints toriques neufs 10, 4 et 5 sur le piston 11 et l'insérer sur le corps de valve pilote.
- Monter les joints toriques neufs 3, 10 et 6 sur le corps de valve pilote,mettre en position le capuchon supérieur 20 et caler l'ensemble valve pilote sur le corps de la valve principale 23,à l'aide des vis 24. Veiller à ce que le logement du joint intermédiaire soit tourné vers le haut,G1/4 au fond.Vérifier la bonne orientation du piston 11.
Le corps de la valve principale 23 étant dans la même position, monter la rondelle de position verte 17 du côté gauche de l'ensemble valve.
- En partir du cote croit de la valve, monter alternativement les joints toriques 8 et les entretoises 15 (6 joints toriques et 5 entretoises) et terminer cet empilage par la rondelle de position blanche 14.
Enduire tegere le tiroir 16 de graisse CENTOPLEX 2, fourie avec le kit d'entretien, et faire glisser le tiroir a travers l'empilage de joints toriques et d'entretoises.
- Monter les joints toriques 9 & 7 sur les pistons 18 & 12 respectivement; monter les joints toriques 6 sur les extrémités du corps de la valve principale 23.
- Introduire les pistons dans les obturateurs 25 et 22 et monter ceux-ci sur la valve en veillant à placer les pions des pistons dans les trous des extrémites du tiroir 16.
Fixer les ensembles obturateurs sur le corps de la valve principale 23 avec les vis 26 et 21.
- Monter les joints toriques intermédiaires 4 dans leurs logements sur le corps de la valve principale.
- Si le raccord de tuyauterie d'arrivée à l'ensemble pilote est endommagé, changer la collerette plastique 2 et dégager le joint torique 1 de la cartouche 27.
- Monter un joint torque 1 neuf, et enforcer la collerette plastique 2 dans la cartouche 27.
IMPORTANT
Un plein d'huile est TOUJOURS nécessaire après démontage de l'outil et avant de l'utiliser.



| ELENCO PARTI VALVOLA 07005-00590 | |||||||||
| PART. | CODICE | DESCRIZIONE | QUANT. | RICAMBI | PART. | CODICE | DESCRIZIONE | QUANT. | RICAMBI |
| 1 | 07005-00599 | * ANELLO DI TENUTA | - | - | 15 | - | † DISTANZIATORE | 5 | - |
| 2 | 07005-00598 | * BUSSOLA DI CHIUSURA DI PLASTICA | - | - | 16 | - | † BOBINA | 1 | - |
| 3 | 07003-00204 | * "O" RING | 1 | - | 17 | - | † RonDELLA | 1 | - |
| 4 | 07003-00103 | * "O" RING | 6 | - | 18 | - | † PISTONE | 1 | - |
| 5 | 07003-00042 | * "O" RING | 1 | - | 19 | - | † CORPO | 1 | - |
| 6 | 07003-00121 | * "O" RING | 4 | - | 20 | - | † CAPPUCCIO SUPERiore | 1 | - |
| 7 | 08005-00127 | * "O" RING | 1 | - | 21 | - | † VITE | 2 | - |
| 8 | 07003-00105 | * "O" RING | 6 | - | 22 | - | † CAPPUCCIO ESTREMITE | 1 | - |
| 9 | 07003-00178 | * "O" RING | 1 | - | 23 | - | † CORPO | 1 | - |
| 10 | 07003-00017 | * "O" RING | 2 | - | 24 | - | † VITE | 2 | - |
| 11 | - | † PISTONE | 1 | - | 25 | - | † CAPPUCCIO ESTREMITE | 1 | - |
| 12 | - | † PISTONE | 1 | - | 26 | - | † VITE | 2 | - |
| 13 | 07005-00590 | COMPLESSIVO VALVOLA | - | - | 27 | - | † CARTUCCIA | 1 | - |
| 14 | - | † RonDELLA | 1 | - | |||||
- Réunis, ces éléments composent le kit d'entretien de la valve, qui comprend également un tube degraisse CENTOPLEX 2. Ce kit est disponible chez Avdel sous la référence 07005-01538.
† Non-disponible en piece détachée
Le plein d'huile est TOUJOURS nécessaire après un démontage de l'outil et avant toute utilisation. Il peut également être utile pour restaurer la totalité de la course après une utilisation prolongée, si l'on constate que la course diminue et que les fixations ne sont pas complètement posées en une seule action sur la gachette.
Huile
Le fabricant préconise l'utilisation des huiles de plein Hyspin VG32 et AWS 32 disponibles en bidons de 0,5 l (réference 07992-00002) ou d'1 gallon (soit 4,5 litres - référence 07992-00006). Prière de consulter l'information de sécurité ci-dessous.
Information de Securite Hyspin VG 32 et AWS 32 (Huile)
Premiers Secours
PEAU:
Laver soigneusement, à l'eau et au savon, dés que possible. Un contact occasionnel ne requiert pas de soins immédiats. Un contact de courte durée ne requiert pas de soins immédiats.
INGESTION:
Faire appel immédiatement à des soins Médicaux. NE PAS faire vomir le patient.
YEUX
Rincer immediatement à l'eau courante pendant plusieurs minutes. Quoique cette huile ne soit pas très irritante, une légère irritation peut apparaitre suite au contact.
Incendie
Agents d'extinction appropriés : CO₂, poudre sèche, mousse ou brouillard d'eau. NE PAS employer de jet d'eau.
Environnement
MISE EN DECHARGE : Sur site homologué par les soins d'une société agrée. Peut être incinérée. Le produit usage peut être recyclé. PRODUIT REPANDU : Empêcher la contamination par le produit des evacuations,égouts et cours d'eau.Eponger avec une substance absorbante.
Manipulation
Porter une protection oculaire, des gants imperméables (PVC, par exemple), et un tablier plastique. Employer dans des locaux bien aérés.
Stockage
Pas de précautions particulières.
Procedure de Plein D'huile
IMPORTANT
NE PAS ACTIONNER LA GACHETTE LORSQUE LA VIS DE PURGE EST RETIREE.
Toutes les opérations doivent être effectuées sur un établi propre, avec les mains propres, dans un local propre.
Veiller à ce que l'huile de rechange soit parfaitement propre et exemple de bulles d'air.
Des précautions DOIVENT seront prises à tous moments pour éviter la pénetration de corps étrangers dans l'outil et tout risque consécutif de détérioration irréversible.
Enlever la vis 2 et le joint 1 de la plaque de fermeture en plastique 4 du réservoir de l'intensificateur.
- Verser l'huile dans le réservoir jusqu'à ce qu'elle arrive à environ 12 mm du sommet du réservoir.
- Remetre en place la vis 2 et le joint 1.
Raccorder l'intensificateur à l'alimentation pneumatique. Enlever la vis du réservoir.
Le pistolet etant monte sur l'intensificateur et tenu au-dessous du niveau de ce dernier, devisser de deux tours la vis de purge 58 de I'ensemble bouchon de purge 2 sur I'outil 07530 Mk II, ou la vis de purge 66 de I'ensemble bouchon de purge 30 sur I'outil 07532 Mk II et laisser I'huile s'écouler de I'outil.
Lorsque l'huile s'écoule librement et sans bulles d'air, desserrer la vis de purgege.
- Compléter le niveau d'huile du réservoir de l'intensificateur.
Faire fonctionner l'outil jusqu'à ce que toutes les bulles d'air eventuelflement presents dans I'huile soient chassees vers le réservoir.
Les nombres de repère en caractères gras renvoient à la rubrique Assemblage générale et liste de pieces des pages 66-71.
| Symptome | Cause Possible | Remede | Ref de Page |
| L'outil ne parvientpas àposer lesfixations | Fable pression d'air | Augmenter la pression d'air | |
| Manque de lubrification | Lubrifier l'outil et son orifice d'entree d'air | ||
| Force de mandrinage excessive | Vérifier la prise de la fixation et la taille dutrou de l'application | ||
| Vérifier la taille de l'aiguille | |||
| Mâchoires d'aiguille usées ou brisées | Changer les mâchoires d'aiguille | ||
| Mâchoire d'aiguille désactivée | Activer la mâchoire d'aiguille | ||
| Présence d'air dans le circuit hydraulique | Voir "procédure de plein d'huile" | 74 | |
| Echappement del'aiguille : lesmâchoires nésaisissant pasl'aiguille | Mâchoires d'aiguille usées ou encrassées | Nettoyer ou changer selon les besoins | |
| Pression ou débit d'air insuffisants | Augmenter la pression ou le débit d'air | ||
| L'interrupteur de serrage mâchoires nefonctionne pas | Changer l'interrupteur | ||
| Fuites d'air aux mâchoires d'aiguille | Changer les joints toriques du piston 8 | ||
| Aiguille cassée et n'atteignant pas lesmâchoires d'aiguille | Changer l'aiguille | ||
| Clapet anti-retour défectueux | Changer le clapet anti-retour | ||
| Les mâchoires nlattachent pas l'aiguille | Mâchoires d'aiguille ou carter portemâchoires encrassés | Nettoyer ou lubrifier | |
| Interrupteur de mâchoires d'aiguilledéfectueux | Changer les joints toriques | ||
| Défaut d'introductions fixations dans lesnez de pose | Mâchoires d'aiguille non activées | Activer les mâchoires d'aiguille | |
| Mâchoires d'aiguille usées | Changer les mâchoires d'aiguille | ||
| Mauvaise orientation du curseur mécanique | Remoner en rectifiant l'orientation | ||
| Curseur non valable | Monter le curseur qui convient | ||
| Mauvais nz de pose | Monter le bon nz de pose | ||
| Ressort de l'aiguille manquant | Monter le bon ressort d'aiguille | ||
| Mauvais jeu entre tête de fixation etnez de | Régler le jeu entre 1,5 et 3 mm. | 48 | |
| pose au chargement | Voir "Chargement de l'outil" | ||
| Curseur mécanique grippé | Nettoyer et hui'er le curseur mécanique | ||
| Faiblesse du ressort extérieur entourant le | Changer le curseur mécanique | ||
| curseur mécanique | |||
| Le ressort de l'aiguille n'est pas le bon | Monter le bon ressort d'aiguille | ||
| Usure excessive de lamâchoire d'aiguille | Force de mandrinage excessive | Vérifier la taille du trou et l'épaissur de l'application, et la capacité de prise desfixations | |
| Passage de plus d'unefixation à la fois | Echappement de l'aiguille | Mêmes vérifications que pourEchappement de l'aiguille | |
| Mauvais jeu entre tête de fixation etnez depose au chargement | Régler le jeu entre 1,5 et 3 mm.Voir "Chargement de l'outil" | 48 |
Les autres symptômes ou pannes doivent être signalés à votre distributeur Avdel agrée ou centre de réparation le plus proche.
Déclaration de conformité
Royaume-Uni, déclarons sous notre seule responsabilité que le produit:
Modèle 0753 MklI type 07530 - 07532 models
N^ de série de l'outil a main
N^ de série de l'intensificateur
faitant l'objet de la presente déclaration est conforme aux normes suivantes :
EN ISO 12100 - parties 1 et 2
BS EN ISO 8662 - partie 6
BS EN ISO 11202
BS EN ISO 3744
BS EN 982
ISO EN 792 - partie 13-2000
BS EN 983
salon les dispositions de la Directive 98/37/EC concernant le rapprochement des législations des États membres relatives aux machines

A. Seewraj - Directeur, Services techniques de fabrication - outils d'automation
Date d'émission

Cette boîte contient un outil pneumatique en conformité avec la Directive sur les machines 98/37/EC.
La "Déclaration de conformité" est jointe.
33 bis, rue des Ardennes
BP4
75921 Paris Cedex 19
Tel: +33 (0) 1 4040 8000
Fax: +33 (0) 14208 2450
Email: AvdelFrance@acument.com
Notice Facile