GENESIS G2S - Outil pneumatique AVDEL - Notice d'utilisation et mode d'emploi gratuit
Retrouvez gratuitement la notice de l'appareil GENESIS G2S AVDEL au format PDF.
| Type d'outil | Outil oléo-pneumatique |
| Alimentation | Air comprimé |
| Lubrification | Huile intégrée |
| Pression de fonctionnement | Non précisé |
| Débit d'air | Non précisé |
| Vitesse de fonctionnement | Non précisé |
| Type de raccord | Raccord rapide |
| Poids | Non précisé |
| Matériau du corps | Non précisé |
| Utilisation recommandée | Assemblage industriel |
| Type de commande | Manuelle |
| Longueur du câble/tuyau | Non précisé |
| Garantie | Non précisé |
| Normes de sécurité | Non précisé |
| Accessoires inclus | Non précisé |
FOIRE AUX QUESTIONS - GENESIS G2S AVDEL
Questions des utilisateurs sur GENESIS G2S AVDEL
0 question sur cet appareil. Repondez a celles que vous connaissez ou posez la votre.
Poser une nouvelle question sur cet appareil
Téléchargez la notice de votre Outil pneumatique au format PDF gratuitement ! Retrouvez votre notice GENESIS G2S - AVDEL et reprennez votre appareil électronique en main. Sur cette page sont publiés tous les documents nécessaires à l'utilisation de votre appareil GENESIS G2S de la marque AVDEL.
MODE D'EMPLOI GENESIS G2S AVDEL
Manuel d'instructions

Règles de sécurité 4
Specifications
Charactéristiques de l'outil 5
Dimensions de l'outil 5
Utilisation pré
Gamage de fixations
Numérotaion des pieces
Mise en service
Alimentation pneumatique 7
Procedure d'utilisation 7
Equipements
Instructions de montage 8
Instructions d'entretien 8
Nez 9
Type 1 9
Avseal 10
Installation des nez de type 2/3 ou de la rallonge de nez 11
Type 2 et type 3 12
Accessoires
Deflecteur de tiges 13
Preparation de l'outil de base en vue d'une utilisation 13
avecledeflecteurde tiges
Rallonge 13
Tetes pivotantes 14
Possibilities de la tete pivotante a angle croit 14
Préparation de l'outil de base en vue de l'installation de 15
l'adaptateur de tete pivotante droite et a angle droit
Têtes droite et à angle droit 16
Instructions de montage 16
Instructions d'entretien 17
Composants constants 17
Entretien de l'outil
Journalier 18
Hebdomadaire 18
Informations de sécurité,GRAISE au bisulfure de 18
Molybdene EP 3753
Informations de sécurité, graisse Molykote 55m 19
Informations de sécurité, graisse Molykote 111 19
Kit d'entretien 07900-00716 20
Entretien 20
Annuel 20
Equipement de pose 20
Ensemble tete 21
Valve rotative 22
Gachette 22
Ensemble plaque de butée (71213-03900) 23
Amplificateur 24
Assemblage général et liste de pieces
Assemblage general du pistonlet 71401-02000 (s) 26
Listede pieces pour 71401-02000 (s) 27
Assemblage general de l'amplificateur 71421-02000 (s) 28
Listede pieces pour 71421-02000 (s) 29
Plein d'huile
Huile recommandée 30
Informations de sécurité, huiè Hyspin® VG 32 30
ProcEDURE de plein d'huile 31
Diagnostic des pannes
Symptôme, cause possible & remède 32
GARANTIE LIMITEE
Les termes de la garantie limitée Avdel confirment l'engagement de cette dernière vis-à-vis de produits exempls de vices de fabrication et de matériaux et ce dans des conditions d'utilisation normales. Cette garantie limitée tient compte des restrictions suivantes : (1) le produit sera installé, entretenu et exploité conformément à la documentation et au mode d'emploi y'affrents et (2) Avdel aura confirmé le vice signalé après inspection et tests. La garantie limitée Avdel susdite est valable douze (12) mois, à compter de la livraison du produit par Avdel à l'acheteur direct du produit Avdel. Le renvoi des marchandises défectueuses constitue le recours exclusif en cas de manquement à la garantie susdite ; celles-ci seront replacées ou remboursées au prix d'achat, la décision en la matière appartenant à Avdel. LA GARANTIE LIMITEE EXPRESSE ET LE RECOURS SUSDITS SONT EXCLUSIFS ET SE SUBSTITUENT A TOUS AUTRES GARANTIES ET RECOURS. AVDEL DESAVOUE ET EXCLUT SPECIFIQUÉMENT Toute GARANTIE IMPLICITE DE QUALITE, D'APTITUDE A L'EMPLOI ET DE COMMERCIABILITE DU PRODUIT.
Toute personne participant à l'installation, à l'utilisation ou à l'entretien de cet outil doit dire attentivement ce manuel.
1 Ne pas employerer pour d'autres usages que celui prévu.
2 Ne pas utiliser avec cet outil / cette machine d'autres matériels que ceux recommends et fournis par Avdel UK Limited.
3 Toute modification apportee par le client a l'outil ou a la machine, aux equipement, aux accessoires ou a tout autre materiel fourni par Avdel UK Limited. ou ses représentants relève de la seule et entière responsabilité du client. Avdel UK Limited. donna rontiers son avis sur toute modification envisagée.
4 L'util ou la machine doit etre maintainus en permanence en etat de fonctionner sans danger et leur bon etat et fonctionnement doit etre verifiés à intervalles réguliers par un personnel competent et ayant reçu la formation adequate. Toute opération de démontage ne doit etre entreprises que par des personnes formées aux procédures Avdel UK Limited. Ne pas demonter cet outil/cette machine avant d'avoir consulté les instructions de maintenance. Prière de consulter Avdel UK Limited. pour ce qui concerne vos besoin en formation.
5 L'outil ou la machine doit à tout moment être utilisés conformément à la législation d'hygiene et de sécurité conforme aux règlements du Ministère du Travail en application de l'article R233-69 du code du travail. Tout que question relative à la bonne utilisation de l'outil ou de la machine et à la sécurité de l'opérateur doit être adressée à Avdel UK Limited.
6 Il apparient au client d'explainer a chaque opérateur les précautions a respecter lors de l'utilisation de l'outil ou de la machine.
7 Toujours debrancher le tuyau d'air du raccord d'arrivalde l'outil ou de la machine avant tout réglage, montage ou demontage d'un ensemble de nez.
8 Ne pas actionner un outil/une machine orientés vers une/des personne(s) ou l'opérateur.
9 L'opérateur veillera à adopter une position équilibrée et stable avant d'utiliser l'outil/la machine.
10 S'assurer que les orifices de mise à l'atmosphère ne viennent pas à être obstrués ou masqués.
11 La pression de service ne doit pas dépasser 7 bars.
12 Ne pas utiliser l'outil si celui-ci n'est pas muni d'un équipement complet ou d'une tete pivotante, à moins d'une consigne contraire explicite.
13 L'on veillera a faire en sorte que les tiges usagées ne risquent pas de constituer un danger.
14 La fonction d'élimination de l'air DOIT est déactivée à l'aide de la gachette avant d'oter le vase récapucateur de tiges qui DOIT est vide lorsqu'il est à moitié plein.
15 L'outil NE DOIT PAS est utilisé lorsque le vase de récapération des tiges est enlevé.
16 Si l'outil est muni d'un deflecteur de tiges, l'on veillera a faire pivoter le deflecteur de maniere a ce que l'ouverture soit tournée du cote opposé à l'opérateur et, le cas échéant, à des personnes travaillant à proximité.
17 Lors de l'utilisation de l'outil, l'opérateur et les personnes se trouvant à proximé doivent impérativement porter des lunettes de sécurité pour se protégger contre l'éjection des fixations en cas de pose 'en l'air'. Nous recommendons le port de gants en cas de présence d'arêtes ou d'angles vifs sur l'application.
18 Veiller a ne pas laisser des vêtements amples, cravates, cheveux longs, chiffons de nettoyage, etc. se prend dans les parties mobiles de l'outil. L'outil doit être maintainu sec et propre pour donner la(Meilleure prise.
19 Lors du transport de l'outil, eloigner les mains de la gachette ou du levier pour eviter un declenchement intempestif de l'outil.
20 Tout contact excessif avec de l'huile hydraulique doit etre evite. Veiller a bien se laver pour eviter tout risque d'éruption cutanee.
21 Les données C.O.S.H.H. de sécurité et d'hygiene professionnelle se rapportant aux fluides hydrauliques et lubrifants sont disponibles sur demande auprès du fournisseur de l'outil.
| Pression pneumatique | Minimum - Maximum | 5 à 7 bars |
| Volume d'air libre nécessaire | à 5,5 bars | 3,6 litres |
| Course | Minimum | 17 mm |
| Force de traction | à 5,5 bars | 10,88 kN |
| Cycle de pose | Approximativement | 1 seconde |
| Niveau sonore | 75 dB(A) | |
| Poids | Sans équipement de pose ou amplificateur | 0,88 kg |
| Vibrations | Inférieures à | 2,5 m/s2 |
| Rapport d'amplification | 44:1 |

Dimensions de l'outil
Dimensions en millimètres
Utilisation prévue
Gamage de fixations
Le nG2s est un outil oleopneumatique destiné à la pose à cadence rapide de rivets à rupture de tige Avdel®, qui convient parfaitement au travail en lots ou en chaine continue pour une grande diversité d'applications dans tous les secteurs industriels. Les fixations qu'il permet de poser sont indiquées ci-contre.
L'outil comporte un dispositif à dépression qui sert à maintainir la fixation et à récapuerer facilement les tiges rompues qu'elle que soit l'orientation de l'outil.
Voir "Procedure d'utilisation", page 7, pour les instructions de réglage.
Un outil complet, sauf le 71401-00039, se compose de trois éléments individuels qui doivent être commandés séparément. Voir schéma ci-dessous.
Si vous souhaitez poser la plupart des fixations du tableau ci-contre, vous pouvez commander l'outil complet 71401-00039 qui comprend les pièces suivantes :
71401-01000, outilde base.
71213-15000, équipement.
- nez 71210-05002, 71210-16070 et 07381-04701.
Installer les nez conformément aux instructions des pages 8 à 12.
Voupez commander les trois nez ci-dessus et l'equipement sous forme de kit d'equipement, reference
71213-15100. Le recours à certaines fixations oblige à commander l'outil de base, l'équipement et le nez séparément.
L'ÉQUIPEMENT DE POSE DOIT ETRE INSTALLLE CONFORMEMENT AUX INSTRUCTIONS DE LA PAGE 8.
Numérotation des pièces


Mise en service
Alimentation pneumatique
Tous les outils fonctionnent à l'air comprime, à une pression optimale de 5,5 bars. Nous préconisons l'utilisation de régulateurs de pression et de systèmes de filtration sur le circuit d'alimentation pneumatique. Ces appeareils doivent être montés à 3 metres au plus de l'outil (voir le schéma ci-dessous) afin d'assurer à l'outil une durée de vie maximum et une maintenance minimum.
Les flexibles d'alimentation en air doivent etre compatibles avec une pression de service active minimum equivalente a 150% de la pression maximum produite par le systeme ou de 10 bars, selon la plus elevée de ces valeurs. Ces flexibles doit resister a I'huile, avoir une paroi exterieure resistante a I'abrasion, et ils doivent etre armes si les conditions d'utilisation presentent un risque de detetioration. Tous les flexibles d'air DOVENT IMPERATIVEMENT avoir un diametre interieur minimum de 6,4 millimetres.

Procedure d'utilisation
- Veiller à bien monter l'équipment ou la tête pivotante qui convennent à la fixation.
Raccorder l'util à l'alimentation pneumatique. - Introduire la tige de la fixation dans le nez de l'outil. Dans le cas d'un équipement, la fixation doit rester maintainue par le système à dépression.
- Présenter sur l'application l'outil portant la fixation de telle sorte que cette dernière pénétre bien perpendicular dans le trou de l'application.
Actionner à fond la gachette. Le cycle de l'outil servit la fixation et s'il s'agit d'un équipement standard, la tige rompue est projetée vers l'arrière de l'outil, dans le bol de récapération.
Pour le retirer, faire legement pivoter/tirer sur le bol de récapération. Avant de retirer le bol de récapération, soulever la gachette pour couper l'alimentation en air.

- On minimisera la consommation d'air en foulevant la "gachette" pour couper l'alimentation en air dans les cas ou une période d'inutilisation de l'outil risque de se prolonger.


IMPORTANT
Débrancher l'alimentation pneumatique avant de monter ou démonter les équipements.
Les repères en caractères gras indiquent les composants des équipements dans les 4 tableaux de nez (pages 9, 10 et 12).
Enduire les machoires 4 d'une légere couche de graisse au bisuture de molybdene.
Laisser tomber les mâchoires 4 dans le carter portemâchoires 3.
- Introduire le porte-mâchoires 5 dans le carter porte-mâchoires 3.
- Placer le butoir 6 sur le porte-mâchoires 5.
- Placer le ressort 7 sur le porte-mâchoires 5.
- Insérer le manchon de détente 10 dans le "T" du carter guide 9. Consigne non applicable aux équipements de Type 2 et 3.
- Installer la bague de serrage 8 sur le "T" du carter guide 9.
Sur les outils convertis en équipement de Type 2 et 3, installer la bague de serrage 8 sur le "T" de carter guide 9 monté sur l'outil.
- Serrer le carter porte-mâchoires 3 et les pièces assemblées sur le "T" du carter guide 9.
En se servant des profils de section en "T", assembler l'équipment sur le piston de l'outil par le biais de l'adaptateur en "T" maje (repère 1 pages 26-27). Cette consigne ne s'applique pas aux équipements de Type 2 et 3.
- Visser le nez dans le carter de nez 1 et serrer à la clé.
- Placer le carter de nez 1 sur le carter porte-mâchoires 3, et visser sur l'outil, en serrant à la clé*.
Instructions d'entretien
Les équipement doivent être entretenus chaque semaine. Il est conseilé de conserver un stock des pieces internes de l'équipment et du nez, qui doivent être remplacées périodiquement.
Utilisez la clé 07900-00849 (fournie avec l'outil) pour faciliter l'entretien de l'équipment de pose.
- Démonter l'équipement de pose en procédant à l'inverse des instructions de montage.
- Remplacer toute piece usee ou endommagee.
Nettoyer les machoires et vérifier leur usure. - Vérifier que le porte-mâchoires n'est pas déformé.
Vérifier que le ressort 7 n'est pas déformé. - Assembler selon les instructions ci-dessus.
Les repres en caractères gras indiquent les composants des équipements dans les 4 tableaux de nez (pages 9, 10 et 12).
*Elément inclus dans le kit d'entretien nG2s. Voir la liste complète page 20.
Nez
IMPORTANT
Les équipements NE COMPRENNENT PAS les nez. Ceux-ci doivent etre commandes séparément.
Un outil (à l'exception de la reférence 71401-00039) doit toujours être équipé de l'équipement et du nez qui conviennent à votre fixation. Toutefois, si l'on soushaite commander un équipement ou un nez séparément, consulter les tableaux consacrés aux "NEZ" ci-dessous et aux pages 10 et 12.
Si l'application ne presente pas de restrictions d'accès, utiliser unnez de type 1, sauf dans le cas de fixations aeronautiques, qui exigent un nez de type 3.
Les dimensions A et B ci-dessous vous permettront de vérifier l'adéquation d'un nez particulier.
Vérifier également que le carter de nez ne limite pas l'accès à votre application. Si c'est le cas, il existe des nez de type 2 pour certaines fixations. Voir le tableau page 12.
Il est impératif de n'utiliser l'outil qu'avac un équipement et un nez compatibles avec la fixation. Si I'on a commandé l'outil complet 71401-00039, il est important de vérifier que le nez déjà monté sur l'équipement est le bon. Pour cela, introduire la tige de la fixation dans le nez. Elle doit entraer sans effort et avec un jeu minimum.
On peut également remplaner les équipement par une tete pivotante pour atteindre des positions plus difficiles. Voir la partie Accessoires, pages 14-16.
NEZ DE
TYPE 1
1 En pouces, puis en millimétres.
2 Nez à formage de tête pour têtes fraîées SEULEMENT.
3 Nez long pour pose en profondeur.
4 Vis cb.
5 Vis a tete fraisee.
-
L'outil complet reférence 71401-00039 comprehend non seulement l'équipment 71213-15000 ci-dessous, mais également les trois nez suivants: 71210-05002, 71210-16070 et 07381-04701, composant le kit d'équipment reférence 71213-15100. Utiliser le nez indiquedans le tableau.
-
Repères 3 à 11 disponibles sous forme de cartouche, ↔idence 71213-20320
EQUIPMENT Réf. 71213-15000
(+ les 3 nez ci-dessus = 71213-15100)
REPERE DESCRIPTION REFERENCE
1 CARTER DE NEZ CONIQUE 71213-00350
2 JOINT TORIQUE 07003-00067
3 CARTERPORTEMACHOIRESCONIQUE 71210-15902*
4 MACHOIREs 71210-15001*
5 PORTE-MACHOIREs 07498-04502*
6 BUTOIR 71210-05001*
7 RESSORT 07500-00418
8 BAGUE DE SERRAGE 07340-00327
9 'T' DE CARTER GUIDE 71210-20321 *
10 MANCHON DE DETENTE 71210-15902
JOINT TORIQUE 71210-15902
| NOM | FIXATION | NEZ (mm) | voir ci-dessous | |||
| Ø1 | MATERIALIAU | REFERENCE | 'A' | 'B' | ||
| AVEX® | 1/8 : 3.2 | Alliage d'aluminium | 71210-05002 | 12.7 | 4.8 | ... 0 3 9* |
| 1/8 : 3.2 | Acier | 71210-16070 | 12.7 | 3.3 | ... 0 3 9* | |
| 1/8 : 3.2 | Alliage d'aluminium | 07340-064012 | 12.7 | 2.9 | ... 0 0 3 | |
| - : 3 | Alliage d'aluminium | 71210-05002 | 12.7 | 4.8 | ... 0 3 9* | |
| 5/32 : 4.0 | Alliage d'aluminium | 71210-16070 | 12.7 | 3.3 | ... 0 3 9* | |
| 5/32 : 4.0 | Acier | 07381-04701 | 12.7 | 2.8 | ... 0 3 9* | |
| 5/32 : 4.0 | Alliage d'aluminium | 07340-065012 | 12.7 | 3.3 | ... 0 0 9 | |
| 3/16 : 4.8 | Alliage d'aluminium | 07381-04701 | 12.7 | 2.8 | ... 0 3 9* | |
| 3/16 : 4.8 | Alliage d'aluminium | 07340-04800 | 19.0 | 3.3 | ... 0 1 6 | |
| 3/16 : 4.8 | Acier | 07490-04401 | 12.7 | 3.3 | ... 0 1 7 | |
| 3/16 : 4.8 | Alliage d'aluminium | 07340-066012 | 12.7 | 4.1 | ... 0 1 5 | |
| Bride large | 3/16 : 4.8 | Tous | 71210-16020 | 12.7 | 4.1 | ... 2 0 0 |
| MONOBOLT® | 5/32 : 4.0 | Alliage d'aluminium | 71210-16070 | 12.7 | 3.3 | ... 0 3 9* |
| 3/16 : 4.8 | Alliage d'aluminium | 07381-04701 | 12.7 | 2.8 | ... 0 3 9* | |
| AVINOX® II | 1/8 : 3.2 | Acier inoxydable | 71210-16070 | 12.7 | 3.3 | ... 0 3 9* |
| 5/32 : 4.0 | Acier inoxydable | 07381-04701 | 12.7 | 2.8 | ... 0 3 9* | |
| 3/16 : 4.8 | Acier inoxydable | 07498-01401 | 12.7 | 4.8 | ... 0 8 2 | |
| T-LOK® | - : 4.3 | Acier | 07340-06201 | 12.7 | 3.3 | ... 1 2 0 |
| 3/16 : 4.8 | Acier | 07340-06201 | 12.7 | 3.3 | ... 1 2 0 | |
| AVIBULB® | 1/8 : 3.2 | Acier | 71210-16070 | 12.7 | 3.3 | ... 0 3 9* |
| 5/32 : 4.0 | Acier | 07381-04701 | 12.7 | 2.8 | ... 0 3 9* | |
| 3/16 : 4.8 | Acier | 07498-01401 | 12.7 | 4.8 | ... 0 8 2 | |
| AVDEL® SR | 1/8 : 3.2 | Tous | 71210-05002 | 12.7 | 4.8 | ... 0 3 9* |
| 5/32 : 4.0 | Tous | 71210-16070 | 12.7 | 3.3 | ... 0 3 9* | |
| 3/16 : 4.8 | Tous | 07348-070014 | 12.7 | 5.7 | ... 0 6 2 | |
| 3/16 : 1.8 | Tous | 71210-160505 | 12.7 | 5.7 | ... 0 6 4 | |
| INTERLOCK® | 3/16 : 4.8 | Tous | 07381-04701 | 12.7 | 2.8 | ... 0 3 9* |
| STAVEX® | 1/8 : 3.2 | Acier | 71210-16070 | 12.7 | 3.3 | ... 0 3 9* |
| 5/32 : 4.0 | Acier | 07381-04701 | 12.7 | 2.8 | ... 0 3 9* | |
| 3/16 : 1.8 | Acier | 07381-04701 | 12.7 | 2.8 | ... 0 3 9* | |
| 3/16 : 4.8 | Acier | 07340-04800 | 19.0 | 3.3 | ... 0 1 6 | |
| 3/16 : 4.8 | Acier | 07381-04701 | 12.7 | 2.8 | ... 0 3 9* | |
| 1/8 : 3.2 | Acier inoxydable | 71210-16070 | 12.7 | 3.3 | ... 0 3 9* | |
| 5/32 : 4.0 | Acier inoxydable | 07381-04701 | 12.7 | 2.8 | ... 0 3 9* | |
| QTMRIVET | 1/8 : 3.2 | Tous | 71210-05002 | 12.7 | 4.8 | ... 0 3 9* |
| 5/32 : 4.0 | Tous | 07340-06201 | 12.7 | 3.3 | ... 1 2 0 | |
| 3/16 : 4.8 | Tous | 07340-06201 | 12.7 | 3.3 | ... 1 2 0 | |
| KLAMPTITE™ KTR | 3/16 : 4.8 | Allia e d'aluminium | 71220-16060 | 12.7 | 4.8 | ... 4 3 0 |
| KLAMPTITE™ | 3/16 : 4.8 | Allia e d'aluminium | 07381-04701 | 12.7 | 2.8 | ... 0 3 9* |


| NEZ AVSEAL®II | ||||||||
| FIXATION Ø1 MATERIALIAU | EQUIPMENT | NEZ (mm) REFERENCE "A" "B" | voir ci-dessous | |||||
| AVSEAL®II | 5/32 | 4,0 | Alliage standa rd Al. - nez a fflluent | 71213-16100 | 71210-16102 | 12,7 | 2,5 | ... 401 |
| 5/32 | 4,0 | Alliage standa rd Al. - nez allongé 2 mm | 71213-16100 | 71210-16106 | 12,7 | 5,4 | ... 402 | |
| 5/32 | 4,0 | Alliage standa rd Al. - nez allongé 8 mm | 71213-16100 | 71210-16110 | 12,7 | 11,4 | ... 403 | |
| - | 5,0 | Alliage standa rd Al. - nez a fflluent | 71213-16100 | 71210-16103 | 12,7 | 2,5 | ... 404 | |
| - | 5,0 | Alliage standa rd Al. - nez allongé 2 mm | 71213-16100 | 71210-16107 | 12,7 | 5,4 | ... 405 | |
| - | 5,0 | Alliage standa rd Al. - nez allongé 8 mm | 71213-16100 | 71210-16111 | 12,7 | 11,4 | ... 406 | |
| - | 6,0 | Alliage standa rd Al. - nez a fflluent | 71213-16100 | 71210-16104 | 12,7 | 2,5 | ... 407 | |
| - | 6,0 | Alliage standa rd Al. - nez allongé 2 mm | 71213-16100 | 71210-16108 | 12,7 | 5,4 | ... 408 | |
| - | 6,0 | Alliage standa rd Al. - nez allongé 8 mm | 71213-16100 | 71210-16112 | 12,7 | 11,4 | ... 409 | |
| - | 6,5 | Alliage standa rd Al. - nez a fflluent | 71213-16100 | 71210-16114 | 12,7 | 2,5 | ... 413 | |
| - | 6,5 | Alliage standa rd Al. - nez allongé 2 mm | 71213-16100 | 71210-16115 | 12,7 | 5,4 | ... 414 | |
| - | 6,5 | Alliage standa rd Al. - nez allongé 8 mm | 71213-16100 | 71210-16116 | 12,7 | 11,4 | ... 415 | |
| - | 7,0 | Alliage standa rd Al. - nez a fflluent | 71213-16100 | 71210-16105 | 12,7 | 2,5 | ... 410 | |
| - | 7,0 | Alliage standa rd Al. - nez allongé 2 mm | 71213-16100 | 71210-16109 | 12,7 | 5,4 | ... 411 | |
| - | 7,0 | Alliage standa rd Al. - nez allongé 8 mm | 71213-16100 | 71210-16113 | 12,7 | 11,4 | ... 412 | |
| EQUIPMENT Réf. 71213-16100 | 1 En pôues, puis en millimèt res. | |||||||
| REPERE | DESCRIPTION | REFERENCE | A B→← | REFERENCE DE L'OUTIL COMPLET : faire précéder de 71401-00. | ||||
| 1 | CARTER DE NEZ CONIQUE | 71213-00350 | ||||||
| 2 | JOINT TORIQUE | 07003-00067 | ||||||
| 3 | CARTER PORTE-MACHOIRESCONIQUE | 71210-15902 * | ||||||
| 4 | MACHOIRESCONIQUE | 71210-16101 * | ||||||
| 5 | PORTE-MACHOIRESCONIQUE | 07498-04502 * | ||||||
| 6 | BUTOIR | 71210-05001 * | ||||||
| 7 | RESSORT | 07500-00418 * | ||||||
| 8 | BAGUE DE SERRAGE | 07340-00327 * | ||||||
| 9 | T° DE CARTER GUIDE | 71210-20321 * | ||||||
| 10 | MANCHON DE DETENTE | 71210-20322 * | ||||||
| 11 | JOINT TORIQUE | 07003-00277 * | ||||||
Pour installer les nez de type 2/3 ou la rallonge de nez, l'adaptateur en "T" 1 doit être replacé par le carter guide 9^*
- Desserrer l'écrou de blocage 3 à l'aide d'une clé plate de 16mm .
- Dévisser l'adaptateur en "T" 1 et le retireur avec le joint torique 2.

- Installer le carter guide 9^ avec le joint torique 10^ (fourni avec les équipements de Type 2 et 3).
Le carter guide 9* doit etre serre contre le piston de tete 27 en emprisonnant le tube de depression 43,uis serrer Iecrou de blocage 3 contre le carter guide 9*.

Les repères 9^ et 10^ se rapportent aux composants des équipements dans les tableaux de nez de la page 12.
Pour d'autres repères en gras se référer à l'assemblage général et à la liste de pieces des pages 26 et 27.
NEZ TYPE 2
EQUIPMENT Réf. 71210-15200
| REPERE | DESCRIPTION | REFERENCE |
| 1 | CARTER DE NEZ | 07340-02804 |
| 2 | JOINT TORIQUE | 07003-00067 |
| 3 | CARTER PORTE-MACHOIRES | 07340-00304 |
| 4 | MACHOIRES | 71210-15001 |
| 5 | PORTE-MACHOIRES | 07498-04502 |
| 6 | BUTOIR | 71210-05001 |
| 7 | RESSORT | 07500-00418 |
| 8 | BAGUE DE SERRAGE | 07340-00327 |
| 9 | CARTER GUIDE | 71210-02101 |
| 10 | JOINT TORIQUE | 07003-00277 |
| FIXATION | NEZ (mm) | voir ci-dessous | ||||
| NOM | Ø1 | MATERIALIAU | REFERENCE | "A" | "B" | |
| AVEX® | 1/8 | 3,2 | Alliage d'aluminium | 07340-02805 | 9,5 | 12,95 |
| 1/8 | 3,2 | Acier | 07340-02806 | 9,5 | 11,4 | |
| 5/32 | 4,0 | Alliage d'aluminium | 07340-02806 | 9,5 | 11,4 | |
| 5/32 | 4,0 | Acier | 07340-02807 | 12,7 | 10,0 | |
| 3/16 | 4,8 | Alliage d'aluminium | 07340-02807 | 12,7 | 10,0 | |
| 3/16 | 4,8 | Acier | 07340-07301 | 12,7 | 11,8 | |
| BULBEX® | 5/32 | 4,0 | Alliage d'aluminium | 07340-02806 | 9,5 | 11,4 |
| 3/16 | 4,8 | Alliage d'aluminium | 07340-02807 | 12,7 | 10,0 | |
| T-LOK® | - | 4,3 | Acier | 07241-07101 | 12,7 | 10,0 |
| 3/16 | 4,8 | Acier | 07241-07101 | 12,7 | 10,0 | |
| STAVEX® | 1/8 | 3,2 | Acier | 07340-02806 | 9,5 | 11,4 |
| 5/32 | 4,0 | Acier | 07340-02807 | 12,7 | 10,0 | |
| 3/16 | 4,8 | Acier | 07340-02807 | 12,7 | 10,0 | |
| 1/8 | 3,2 | Acier inoxydable | 07340-02806 | 9,5 | 11,4 | |
| 5/32 | 4,0 | Acier inoxydable | 07340-02807 | 12,7 | 10,0 | |
| 3/16 | 4,8 | Acier inoxydable | 07340-02807 | 12,7 | 10,0 | |
| AVIBULB® | 1/8 | 3,2 | Acier | 07340-02806 | 9,5 | 11,4 |
| 5/32 | 4,0 | Acier | 07340-02807 | 12,7 | 10,0 | |
| ETR | - | 5,2 | Acier/laiton | 07340-02807 | 12,7 | 10,0 |
1 En pôues, puis en millimètres
LES NEZ DE TYPE 2 SONT ALLONGES POUR PERMETTRE D'ACCEDER A DES APPLICATIONS QUE LES NEZ DE TYPE 1 NE PEUVENT ATTEINDRE.

REFERENCE DE L'OUTIL COMPLET: faire preceder de 71401-00.


Déposer l'adaptateur en "T" male 1 de l'outil (voir page 11) et le replacer par le carter guide 9 (71210-02101) et le joint torque 10.
NEZ TYPE 3
| FIXATION | NEZ (mm) | voir ci-dessous | ||||
| NOM | Ø1 | MATERIALIAU | REFERENCE | "A" | "B" | |
| AVDEL® | 1/8 : 3,2 | Alliage d'aluminium | 71210-16030 | 12,7 | 2,5 | ... 2 8 3 |
| 1/8 : 3,2 | Alliage d'aluminium 0 | 71210-16031 | 12,7 | 2,5 | ... 2 8 4 | |
| 1/8 : 3,2 | Acier inoxydable | 71210-16032 | 12,7 | 3,3 | ... 2 8 5 | |
| 5/32 : 4,0 | Alliage d'aluminium | 71210-16033 | 12,7 | 2,5 | ... 2 8 8 | |
| 5/32 : 4,0 | Alliage d'aluminium 0 | 71210-16034 | 12,7 | 2,5 | ... 2 8 9 | |
| 5/32 : 4,0 | Acier inoxydable | 71210-16035 | 12,7 | 3,3 | ... 2 9 0 | |
| 3/16 : 4,8 | Alliage d'aluminium | 71210-16036 | 12,7 | 2,5 | ... 2 9 3 | |
| 3/16 : 4,8 | Alliage d'aluminium 0 | 71210-16037 | 12,7 | 2,5 | ... 2 9 4 | |
| MBC® | 1/8 : 3,2 | Tous | 07340-06701 | 12,7 | 4,8 | ... 3 0 0 |
| 5/32 : 4,0 | Tous | 07340-06801 | 12,7 | 5,0 | ... 3 0 5 | |
| 3/16 : 4,8 | Alliage d'aluminium | 07340-06901 | 12,7 | 5,1 | ... 3 1 0 | |
| MBC®L/C | 1/8 : 3,2 | Tous | 07344-04701 | 12,7 | 4,6 | ... 3 2 0 |
| 5/32 : 4,0 | Tous | 07344-04701 | 12,7 | 4,6 | ... 3 2 0 | |
| 3/16 : 4,8 | Alliage d'aluminium | 07344-04701 | 12,7 | 4,6 | ... 3 2 0 | |
En pouces, puis en millimetre res. O Surdimensionnée


REFERENCE DE L'OUTIL COMPLET: faire preceder de 71401-00.

Déposer l'adaptateur en "T" male 1 de l'outil (voir page 11) et le replacer par le carter guide 9 (71210-02101) et le joint torque 10.
9 et 10 se rapportent aux illustrations de cette page.
Le deflecteur de tiges est un accessoire très simple qui s'installe en remplacement du récapacateur de tiges normal, en permettant l'accès à des zones exiguées. Pour replacer le récapacateur de tiges par un déflecteur, procédez de la façon suivante :
Préparation de l'outil de base en vue d'une utilisation avec le déflecteur de tiges
La conduite d'air DOIT est debranchée avant tout entretien ou demontage.
L'écrou "Etanche" 71213-02200 remplace l'écrou de blocage 3 (pour couper l'alimentation pneumatique au système à dépression) comme suit :
- Desserrer l'écrou de blocage 3 à l'aide d'une clé plate de 16 mm.
- Dévisser et déposer l'adaptateur en "T" 1 et l'écrou de blocage 3.
- Remplacer l'écrou de blocage 3 par l'écrou "Etanche" 71213-02200, visser l'écrou "Etanche" sur le piston de tête 27 pour couper le système à dépression.
L'adaptateur en "T" 1 doit être serré contre le piston de tête 27 pour retenir le manchon à dépression 43 contre le piston de tête; on finira par serrer l'écrou "Etanche" contre l'adaptateur. - Retirez l'ensemble plaque d'arrêt 71213-03900 (voir page 23) enotide les vis 21 (2).

- Installer le déflecteur de tiges (07340-00342) dans l'adaptateur (71213-20101).
- Pousser le déflecteur de tiges assemblé et l'adaptateur sur l'adaptateur du bol de récapération 24 et l'aligner sur la fente.

Rallonge
La rallonge s'installe entre l'outil et l'équipement et permet d'acceder aux canaux plus profonds.
Le carter guide 9^ et le joint torique 10^ doivent être installés sur l'outil avant la rallonge. Voir page 11 pour les instructions de montage.
Pour monter la rallonge, enlevez tout composant d'ensemble de nez.
- Vissez la rallonge interieure sur le carter guide 9^* .
- Visser la pierce externe sur l'ensemble tete 4.
- Installer l'équipement sur la ballonne.
Les nombres de repère en caractères gras renvoient aux schémas d'assemblage général et aux listes de pieces des pages 26 et 27.
Les repères 9^ et 10^ se rapportent aux composants des équipements dans les tableaux de nez de la page 12.

RALLONGE - L'ADAPTATEUR EN 'T' 71213-12000 RALLONGE - NON DEMONTAGE RAPIDE 71210-20300
Têtes pivotantes
A la place d'un équipement, il est possible de monter sur un outil de base une tete pivotante. Elle permet une rotation de l'outil sur 360^ autour du nez, et d'atteindre ainsi beaucoup d'applications inaccessibles sans cet accessoire. Il existe deux types de tete pivotante : la tete pivotante droite, Equipée d'un nez légèrement décalé par rapport à la ligne centrale de la tête de l'outil et la tête pivotante à angle droit, dont le nez se trouve sur un axe perpendicular à la tête de l'outil. Voir les schémas ci-dessous ainsi que la page 15 pour les dimensions et la description détaillée page 16.
IMPORTANT
AVANT de monter une tête pivotante, il est nécessaire d'adapter l'outil de base. Voir "Préparation de l'outil de base" en page 15. Contrairement aux équipements, les références des têtes pivotantes COMPRENNENT un nez, comme indiqué ci-dessous.
Les têtes pivotantes peuvent être commandées séparément ou fournies avec un outil de base. Voir les références dans le tableau cédssous. Les machoires et les nez sont différents selon la fixation à poser, mais tous les autres composants restent les mêmes dans chaque type de tête pivotante. Voir les tableaux de "possibilities" ci-dessous et en page 15 ainsi que le tableau des "composants constants" de la page 17.
Les dimensions A et B permettent d'évaluer l'accessibilité de l'application.
Possibilities de la TETE PIVOTANTE A ANGLE DROIT
| FIXATION | REFERENCE DE LA TETE PIVO TANTE | NEZ (mm) | REFERENCE DES MACHOIRES | voir ci-dessous | ||||
| NOM | 01 | MATERIALIAU | REFERENCE | "A" | "B" | |||
| AVEX® | 1/8 | 3,2 | Alliage d'aluminium | 07345-03000 | 07345-03600 | 7,87 | 3,81 | 07340-00213 |
| 1/8 | 3,2 | Acier | 07345-03100 | 07345-03700 | 7,87 | 3,81 | 07340-00213 | |
| 5/32 | 4,0 | Alliage d'aluminium | 07345-03100 | 07345-03700 | 7,87 | 3,81 | 07340-00213 | |
| 5/32 | 4,0 | Acier | 07345-03200 | 07345-03800 | 7,87 | 3,81 | 07490-04602 | |
| 3/16 | 4,8 | Alliage d'aluminium | 07345-03200 | 07345-03800 | 7,87 | 3,81 | 07490-04602 | |
| BULBEX® | 5/32 | 4,0 | Alliage d'aluminium | 07345-03100 | 07345-03700 | 7,87 | 3,81 | 07340-00213 |
| 3/16 | 4,8 | Alliage d'aluminium | 07345-03200 | 07345-03800 | 7,87 | 3,81 | 07490-04602 | |
| AVINOX®II | 1/8 | 3,2 | Acier inoxydable | 07345-03100 | 07345-03700 | 7,87 | 3,81 | 07340-00213 |
| 5/32 | 4,0 | Acier inoxydable | 07345-03200 | 07345-03800 | 7,87 | 3,81 | 07490-04602 | |
| AVSEAL®II | - | 4 | Alliage d'aluminium | 07494-06000 | 07494-06001 | 6,35 | 1,95 | 07340-00213 |
| - | 4 | Alliage d'aluminium | 07494-06600 | 07494-066012 | 6,35 | 4,11 | 07340-00213 | |
| - | 5 | Alliage d'aluminium | 07494-06100 | 07494-06101 | 7,62 | 2,00 | 07340-00213 | |
| - | 5 | Alliage d'aluminium | 07494-06700 | 07494-067012 | 7,62 | 4,11 | 07340-00213 | |
| AVDEL® | 1/8 | 3,2 | Alliage d'aluminium | 07345-03300 | 07345-03301 | 5,08 | 1,17 | 07340-00229 |
| 1/8 | 3,2 | Alliage d'aluminium 0 | 07494-03600 | 07494-03601 | 5,08 | 1,17 | 07340-00229 | |
| 1/8 | 3,2 | Acier inoxydable | 07494-03000 | 07494-03011 | 5,08 | 3,81 | 07340-00213 | |
| 5/32 | 4,0 | Alliage d'aluminium | 07345-03400 | 07345-03401 | 6,6 | 0,84 | 07340-00229 | |
| 5/32 | 4,0 | Alliage d'aluminium 0 | 07494-03700 | 07494-03701 | 6,6 | 0,84 | 07340-00229 | |
| 3/16 | 4,8 | Alliage d'aluminium | 07345-03500 | 07345-03501 | 8,13 | 0,25 | 07498-04401 | |
| 3/16 | 4,8 | Alliage d'aluminium 0 | 07494-03800 | 07494-03801 | 8,13 | 0,25 | 07498-04401 | |
| MBC® | 1/8 | 3,2 | Alliage d'aluminium | 07345-04000 | 07165-00701 | 4,75 | 1,9 | 07340-00229 |
| 5/32 | 4,0 | Alliage d'aluminium | 07345-04100 | 07165-00702 | 6,35 | 2,36 | 07340-00229 | |
| 3/16 | 4,8 | Alliage d'aluminium | 07345-04200 | 07165-00703 | 7,92 | 2,46 | 07498-04401 | |
| MBC® L/C | 1/8 | 3,2 | Alliage d'aluminium | 07345-04700 | 07345-04701 | 7,87 | 2,03 | 07340-00229 |
| 5/32 | 4,0 | Alliage d'aluminium | 07345-04700 | 07345-04701 | 7,87 | 2,03 | 07340-00229 | |
| 5/32 | 4,0 | Alliage d'aluminium 0 | 07345-04800 | 07345-04701 | 7,87 | 2,03 | 07498-04401 | |
| 3/16 | 4,8 | Alliage d'aluminium | 07345-04800 | 07345-04701 | 7,87 | 2,03 | 07498-04401 | |
| STAVEX® | 1/8 | 3,2 | Acier | 07345-03100 | 07345-03700 | 7,87 | 3,81 | 07340-00213 |
| 5/32 | 4,0 | Acier | 07345-03200 | 07345-03800 | 7,87 | 3,81 | 074 90-04602 | |
| 1/8 | 3,2 | Acier inoxydable | 07345-03100 | 07345-03700 | 7,87 | 3,81 | 07340-00213 | |
| 5/32 | 4,0 | Acier inoxydable | 07345-03200 | 07345- 03800 | 7,87 | 3,81 | 074 90-04602 | |


1 En pouces, puis en millimetre res. 2 Nez long pour pose en p profondeur.

Déposer l'adaptateur en "T" male 1 de l'outil (voir page 11) et le remplacer par le carter guide (71210-02101).
Accessoires
Préparation de l'outil de base en vue de l'installation de l'adaptateur de tête pivotante droite et à angle croit
- Debrancher l'alimentation pneumatique.
Enlever tous les composants d'equipement.
Déposer l'ensemble bol de récapération de tiges 20 (71213-03800). - Remplacer l'ensemble 20 par un obturator de sécurité (71213-20201)
- Dévisser l'adaptateur en "T" male 1 et déposer le joint torique 2, l'écrou de blocage 3, les joints toriques 42 et 41 et le logement de joint 5. Ces repères ne doivent pas été remontés.
- Visser à fond à la main l'écrou d'arrêt (71213-20200) sur l'avant du piston de tête 27.
- Installer le carter guide (71210-02101) et le joint torque 2, les serrer sur le piston de tete 27 puis serrer l'écrou d'arrêt contre le carter guide.
L'outil est alors prét à receivevoir une tete pivotante. Instructions page 16.
Les nombres de repère en caractères gras renvoient à l'assemblage général et à la liste de pieces des pages 26 et 27.

Outil de base prét à receivevoir un équipement
Outil de base prét à receivevoir une tête pivotante

Possibilities de la TETE PIVOTANTE DROITE
| FIXATION | REFERENCE DE LA TETE PIVO TANTE | NEZ (mm) | REFERENCE VOIR ci-dessous | ||||
| NOM | 01 | MATERIALIAU | REFERENCE | "A" | "B" | DES MACHOIRESCIO | |
| AVEX® | 1/8 | 3,2 | Alliage d'aluminium | 07346-03000 | 07345-03600 | 7,87 | 3,81 |
| 1/8 | 3,2 | Acier | 07346-03100 | 07345-03700 | 7,87 | 3,81 | |
| 5/32 | 4,0 | Alliage d'aluminium | 07346-03100 | 07345-03700 | 7,87 | 3,81 | |
| 5/32 | 4,0 | Acier | 07346-03200 | 07345-03800 | 7,87 | 3,81 | |
| 3/16 | 4,8 | Alliage d'aluminium | 07346-03200 | 07345-03800 | 7,87 | 3,81 | |
| BULBEX® | 5/32 | 4,0 | Alliage d'aluminium | 07346-03100 | 07345-03700 | 7,87 | 3,81 |
| 3/16 | 4,8 | Alliage d'aluminium | 07346-03200 | 07345-03800 | 7,87 | 3,81 | |
| AVINOX®II | 1/8 | 3,2 | Acier inoxydable | 07346-03100 | 07345-03700 | 7,87 | 3,81 |
| 5/32 | 4,0 | Acier inoxydable | 07346-03200 | 07345-03800 | 7,87 | 3,81 | |
| AVSEAL®II | - | 4 | Alliage d'aluminium | 07495-04000 | 07494-06001 | 6,35 | 1,95 |
| - | 4 | Alliage d'aluminium | 07495-04700 | 07494-066012 | 6,35 | 4,11 | |
| - | 5 | Alliage d'aluminium | 07495-04100 | 07494-06101 | 7,62 | 2,00 | |
| - | 5 | Alliage d'aluminium | 07495-04800 | 07494-067012 | 7,62 | 4,11 | |
| AVDEL® | 1/8 | 3,2 | Alliage d'aluminium | 07346-03300 | 07345-03301 | 5,08 | 1,17 |
| 1/8 | 3,2 | Alliage d'aluminium O | 07495-03600 | 07494-03601 | 5,08 | 1,17 | |
| 1/8 | 3,2 | Acier inoxydable | 07495-03000 | 07494-03011 | 5,08 | 3,81 | |
| 5/32 | 4,0 | Alliage d'aluminium | 07346-03400 | 07345-03401 | 6,6 | 0,84 | |
| 5/32 | 4,0 | Alliage d'aluminium O | 07495-03700 | 07494-03701 | 6,6 | 0,84 | |
| 3/16 | 4,8 | Alliage d'aluminium | 07346-03500 | 07345-03501 | 8,13 | 0,25 | |
| 3/16 | 4,8 | Alliage d'aluminium O | 07495-03800 | 07494-03801 | 8,13 | 0,25 | |
| MBC® | 1/8 | 3,2 | Alliage d'aluminium | 07346-04000 | 07165-00701 | 4,75 | 1,9 |
| 5/32 | 4,0 | Alliage d'aluminium | 07346-04100 | 07165-00702 | 6,35 | 2,36 | |
| 3/16 | 4,8 | Alliage d'aluminium | 07346-04200 | 07165-00703 | 7,92 | 2,46 | |
| MBC® L/C | 1/8 | 3,2 | Alliage d'aluminium | 07346-04500 | 07345-04701 | 7,87 | 2,03 |
| 5/32 | 4,0 | Alliage d'aluminium | 07346-04500 | 07345-04701 | 7,87 | 2,03 | |
| 5/32 | 4,0 | Alliage d'aluminium O | 07346-04600 | 07345-04701 | 7,87 | 2,03 | |
| 3/16 | 4,8 | Alliage d'aluminium | 07346-04600 | 07345-04701 | 7,87 | 2,03 | |
| STAVEX® | 1/8 | 3,2 | Acier | 07346-03100 | 07345-03700 | 7,87 | 3,81 |
| 5/32 | 4,0 | Acier | 07346-03200 | 07345-03800 | 7,87 | 3,81 | |
| 1/8 | 3,2 | Acier inoxydable | 07346-03100 | 07345-03700 | 7,87 | 3,81 | |
| 5/32 | 4,0 | Acier inoxydable | 07346-03200 | 07345-03800 | 7,87 | 3.81 | |

1 En pouces, puis en millimetre. 2 Nez long pour pose en pr ofondeur.

0 Surdimensionnée
REFERENCE DE L'OUTIL COMPLT :
faire preceder de 71401-40
(l'éc rou d'arrêt et l'obturator de sécurité sont compris)
IMPORTANT : contrairement aux outils complets avec équipements, lenez des outils équipés de têtes pivotantes est compris dans la tête.

Déposer l'adaptateur en "T" male 1 de l'outil (voir page 11) et le replacer par le carter guide (71210-02101).
Les procedres de montage et d'entretien sont presque identiques pour les deux types de tete. Les différences sont clairment indiquees.
IMPORTANT
AVANT de monter une tete pivotante, il est nécessaire d'adapter l'outil de base. Voir page precedente.
Débrancher l'alimentation pneumatique avant de monter ou de déposer une tête pivotante.
Instructions de montage
La procedur suivante convient aux deux types de tete pivotante de l'outil. Si I'on a commande une tete pivotante complete au lieu de composants separés, partir de l'etape L. Toutes les pieces mobiles doivent etre lubrifiées. Sauf indication contraire, employer de la graisse au bisulfure de molybdene (voir page 18). Les instructions sur fond grisé concernent seulement la tete pivotante à angle droit. Les nombres de repere en caractères gras renuoient aux illustrations ci-dessous.

TETEPIVOTANTE DROITE

TETE PIVOTANTE A ANGLE DROIT
A Monter la bague de serrage 10 sur le carter guide 9^*
B Avec la vis 13, enduite d'un produit de blocage pour filtages, fixer le nez 14 sur le carter principal 5.
C Lubrifier légerement les pieces 17, 18, 19, 20 et les introduire dans le carter portemahoires 3 de la façon indiquée. Fixer avec les vis 16.
D Positionner le levier 4 sur le carter principal 5 et le maintainir en place avec l'axe 15 passant par le trou du corps 5 (et non pas une fente).
E Lubrifier les côts du carter portemâchoires et l'introduire dans le carter principal 5.
F Lubrifier les galets 8 et VERIFIER quils tournent librement dans les trous de l'adaptateur 9. Si nécessaire, aléser les trouss.
G Positionner l'agrafe ressort 7 sur l'adaptateur 9 au-delà des trous des galets, et tourner jusqu'à ce que le téton de positionnement soit en face du trou correspondant de l'adaptateur 9 (le plus petit trou).
H Monter l'adaptateur 9 sur l'extrémité du carter principal 5, et faire tomber les galets 8 en place. Pousser l'agrafe ressort 7 sur les galets 8.
Introduire le pivot 11 à travers l'adaptateur 9 dans le carter portemâchoires 3 jusqu'à ce que le trou soit aligné avec la fente du carter principal 5. Maintenir provisoirement en place avec l'axe 6.
J Introduire l'axe 12 à travers la fente avant du carter principal 5 dans le carter portemâchoires 3.
K Maintainir l'ensemble vertical pour empêcher les axes de tomber et faire coulibisser plusieurs fois l'ensemble carter portemâchoires d'avant en arrêt pour vérifier qu'il se déplace librement. Passer à M.
L Enlever la vis 23 (x 4) et la protection 1. Sur les têtes pivotantes droites, enlever également la vis 21 et la plate-forme 22.
M Chasser le ou les axes 6 et faire tomber le pivot 11. Visser le pivot 11 sur le carter guide de l'outil, en laissant le petit trou de vis vers le haut sur les têtes pivotantes droites. Serrer sans forcer avec un levier.
N Visser l'ensemble par-dessus le pivot 11 sur la poignée de l'outil. Remetre en place les axes 6.
0 Sur les têtes pivotantes droites, fixer la plate-forme 22 au sommet du pivot avec la vis 21. Ebavurer l'arrière de la plate-forme 22 pour qu'elle n'accroche pas la protection 1.
P Encliqueter la protection 1 sur l'ensemble, aligner les trous des vis de la protection sur les trous taraudés de l'ensemble de corps.
Q Insérer l'axe 15 à travers les fentes de la protection et le trou du corps. Installer le circlip 2 sur l'axe de manière à ce que le circlip se cale dans la rainure prévue à cet effet.
R Enduire le filetage des vis 23 (x 4) de produit de blocage pour filtages (frein-filet) et les visser dans l'ensemble de corps en calant la protection sur l'ensemble de corps.
Les nombres de repère en gras renvoient aux illustrations de cette page.
Le repère 9* se rapporte au carter guide 71210-02101.
Les têtes pivotantes doivent être entretenues chaqueSEMaine.
Déposer la tête complète, dans l'ordre inverse des "Instructions de montage", en sautant l'étape L en page 16.
- Si la protection 1^* porte la moindre trace de dommages, elle doit être remplacée par une neue.
- Remplacer toute piece usee ou endommagee.
- Préter une attention particulière aux pieces du carter portemâchoires suivantes, représentées sur l'illustration ci-contre en haut :
Vérifier l'usure des machoires 17.
Vérifier que le tube du porte-mâchoires 18 n'est pas déforme.
Vérifier que le ressort 19 n'est ni casse ni déforme.
Vérifier que le guide de ressort 20 n'est pas endommagé.
- Vérifier que l'agrafe ressort 7 n'est pas déformée. Pour la démonter, utiliser deux tournevis de la façon indiquée par l'illustration ci contre en bas.
- Vérifier que les fentes du carter principal 5 ne sont pas excessivement usées.
- Remonter en suivant les instructions de montage en page 16.
1^* se rapporte à l'article en page 16.


Alors que les nez et les mâchoires sont différents pour chaque type de tête pivotante, les autres composants restent les mêmes. Voir le tableau ci-dessous. Pour les nombres de réference des nez et des mâchoires, se reporter aux pages 9, 10 et 12.
| COMPOSANTS CONS TANTS | |||
| N° | DESCRIPTION | TETE DROITE | TETE A ANGLE DROIT |
| 1 | PROTECTION | 07494-05000 | 07495-03003 |
| 2 | CIRCLIP | - | 07004-00105 |
| 3 | PORTE-MACHOIRES | 07494-03026 | 07494-03026 |
| 4 | LEVIER | - | 07495-03004 |
| 5 | CARTER PRINCI PAL | 07494-03015 | 07495-03002 |
| 6 | AXE | 07343-02207 | 07343-02207 |
| 7 | AGRAFE RESSORT | 07495-03900 | 07495-03900 |
| 8 | GALET | 07007-00039 | 07007-00039 |
| 9 | ADAP TATEUR | 07345-03001 | 07345-03001 |
| 10 | BAGUE DE SERRAGE | 07345-03003 | 07345-03003 |
| 11 | PIVOT | 07345-03002 | 07345-03002 |
| 12 | GOUILLE | 07007-00038 | 07007-00038 |
| 13 | VIS | 07342-02207 | 07342-02207 |
| 15 | AXE | - | 07346-03102 |
| 16 | VIS | 07494-03028 | 07494-03028 |
| 18 | PORTE-MACHOIRES | 07346-03101 | 07346-03101 |
| 19 | RESSORT | 07165-00305 | 07165-00305 |
| 20 | GUIDE DE RESSORT | 07494-03027 | 07494-03027 |
| 21 | VIS | 07001-00368 | - |
| 22 | PLATE-FORME | 07345-00401 | - |
| 23 | VIS D'ARRET (x 4) | - | 07210-00804 |
Les numérodes repère en gras renvoient aux illustrations de cette page et page 16.
IMPORTANT
Lire les instructions de sécurité de la page 4.
Il apparient à l'employeur de faire en sorte que les instructions de maintenance des outils soient confiées aux personnes compétentes. L'opérateur ne doit pas être impliqué dans la maintenance ou la réparation de l'outil, à moins qu'il n'ait reçu la formation appropriée. Examiner régulièrement l'outil en recherchant dommages et dysfonctionnement.
Journalier
- Chaque jour, avant d'utiliser l'outil, ou lors de sa première mise en service, verser quelques gouttes d'une huile de lubrication propre dans l'arrivée d'air de l'outil, si l'alimentation pneumatique ne compte pas d'huileur.
- Rechercher les fuites d'air. Les flexibles et raccords endommages doivent être replacés.
S'il n'y a pas de filtrer sur le regulateur de pression, purger la conduite d'air pour la débarrasser de toute accumulation de saletés ou d'eau avant de raccorder le flexible à l'outil. Si un filtré est monté, le purger.
Vérifier que l'équipment ou la tête pivotante convennent à la fixation à poser.
Vérifier que la course de l'outil correspond aux caractéristiques minimum (page 5). La première étape de la procédure de plein d'huile, page 31, explique la façon de mesurer la course.
Si I'on n'utilise pas de tete pivotante, l'outil doit etre equipe soit d'un recupereateur de tiges, soit d'un deflecteur de tiges.
Veiller a ce que la valve rotative 48 soit assemblée dans le bon sens pour maintainir la fixation (voir "Procedure d'utilisation" en page 7).
Vase de recupération des tiges : vérifie si les joints toriques 17 et 23 ne sont pas usés, nettoyez-les et lubrifiez-les avec de la graisse Molykote® 55M.
Hebdomadaire
- Démoner et nettoyer l'équipment, en prétant une attention particulière aux mâchoires. Lubrifier à laGRASE au bisulfure de Molybdène avant de remonter.
- Rechercher les fuites d'huile ou d'air sur les flexibles et les raccords.
- Faire l'appoint du réservoir d'huile hydraulique de l'amplificateur.
Informations de sécurité,GRAisse au bisulfure de Molybdene EP 3753
La graisse peut être commandeé séparément. Sa réseau figure dans le kit d'entretien page 20.
Premiers secours
PEAU:
Cetra grise rresistant parfaitement a I'eau, la meilleure facon de I'eliminer est d'employer un emulsifieur approuve pour usage cutané.
INGESTION :
Veiller à ce que le patient boive 30 ml de lait de magnésie, de préférence dans une tasse de lait.
YEUX :
Irritant, mais sans danger. Rincer à l'eau et faire appel à un medecin.
Incendie
POINT ECLAIR: supérieur à 220^ .
Non classé comme inflammable.
Agents d'extinction appropriés : CO_2 , Halon ou jet d'eau, si appliqué par une personne qualifiée.
Environnement
Récupérer à des fins d'incinération ou de mise au rebut sur un site agréé.
Manutention
Utiliser une crème protectrice ou des gants résistant à l'huile.
Stockage
A l'écart de la chaleur et des agents oxydants.
Les repères en caractères gras reivoient aux schémas d'assemblage général et à la liste de pieces des pages 26 et 27.
Entretien de l'outil
Informations de sécurité,GRAISS Molykote 55m
Premiers secours
PEAU :
Rincer à l'eau. Essuyer.
INGESTION :
Les mesures de premier secours ne sont normalement pas nécessaires.
YEUX:
Rincer à l'eau.
Incendie
POINT ECLAIR: supérieur à 101,1°C. (coupelle fermée)
Propriétés explosives : Aucune
Conviennent pour l'extinction : Mousse de dioxyde de carbone, poudre sèche ou fine pulverisation d'eau.
L'eau peut être utilisé pour refroidir les recipients exposés au feu.
Environnement
Veiller à ce que de grandes quantités de produit ne s'éçourent pas dans les égouts ou eaux de ruissellement.
Méthodes de nettoyage : Racler les dépôts puis les placer dans un recipient approprié doté d'un couvercle. Les écoulements de produit rendent les surfaces extrémement glissantes.
Présente un danger pour les organismes aquatiques et peut avoir des répercussions négatives durables sur l'environnement aquatique. Toutefois, en raison des caractéristiques physiques et de l'insolubilité dans l'eau du produit, la biodisponibilité est négligeable.
Manutention
Aération générale recommandaee. Eviter tout contact avec la peau ou les yeux.
Stockage
Ne pas stocker à proximate d'agents oxydants. Maintenir le couvercle sur le produit et stocker à l'abri de l'eau et de l'humidité.
Informations de sécurité,GRAISS Molykote 111
Premiers secours
PEAU:
Les mesures de premier secours ne sont normalement pas nécessaires.
INGESTION :
Les mesures de premier secours ne sont normalement pas nécessaires.
YEUX:
Les mesures de premier secours ne sont normalement pas nécessaires.
INHALATION :
Les mesures de premier secours ne sont normalement pas nécessaires.
Incendie
POINT ECLAIR: supérieur à 101,1°C. (coupelle fermée)
Propriétés explosives : Aucune
Conviennent pour l'extinction : Mousse de dioxyde de carbone, poudre sèche ou fine pulverisation d'eau.
L'eau peut être utilisé pour refroidir les recipients exposés au feu.
Environnement
Aucun effet contraire anticipé.
Manutention
Aération générale recommende. Eviter tout contact avec la peau ou les yeux.
Stockage
Ne pas stocker à proximate d'agents oxydants. Maintenir le couvercle sur le produit et stocker à l'abri de l'eau et de l'humidité.
Pour faciliter une maintenance complète, Avdel. propose un kit d'entretien.
| KIT D'ENTRETIEN : 71210-99990 Sauf indication contraire, les dimensions des clés sont indiquées en pouces | |||
| REFERENCE | DESCRIPTION | REFERENCE | DESCRIPTION |
| 07900-00667 | MANCHON DE PISTON | 07900-00012 | CLE DE 9/16 x 5/8 DE POUCE |
| 07900-00692 | EXTRACTEUR DE VALVE DE GACHETTE | 07900-00015 | CLE DE 5/8 x 11/16 DE POUCE |
| 07900-00670 | BILLE | 07900-00686 | CLE A ERGOTS |
| 07900-00672 | CLE EN T | 07900-00677 | EXTRACTEUR DE JOINTS |
| 07900-00706 | EMBOUT DE CLE EN T | 07900-00698 | ECROU D'ARRET |
| 07900-00684 | TUBE GUIDE | 07900-00700 | POMPE POUR PLEIN D'HUILE |
| 07900-00685 | TIGE D'INSERTION | 07992-00020 | GRAISSE AU BISULFURE DE MOLYBDENE EP3753 |
| 07900-00351 | CLE ALLEN DE 3 MM | 07992-00075 | GRAISSE - MOLYKOTE® 55m |
| 07900-00469 | CLE ALLEN DE 2,5 MM | 07900-00755 | GRAISSE - MOLYKOTE® 111 |
| 07900-00158 | CHASSE-GOUPIILLE DE 2 MM | 07900-00850 | CLE POUR AXE |
| 07900-00164 | PINCE A CIRCLIPS | 07900-00898 | CROchet DE VALVE |
| 07900-00008 | CLE DE 7/16 x 1/2 DE POUCE | ||
Entretien
(Une fois par an ou tous les 500 000 cycles, au premier des deux termes)
Tous les ans ou tous les 500 000 cycles, démonter entièrement l'util et remplaçer les pieces usées ou endommagées, ainsi que celles qu'il est recommandé de changer. Les joints toriques et étanchéités doivent être replacés par des pieces neuves, lubriés à laGRASSÉ Molykote® 55m pour les joints pneumatiques ou Molykote® 111 pour les joints hydrauliques.
IMPORTANT
Lire les instructions de sécurité de la page 4.
Il apparait a l'employeur de faire en sorte que les instructions de maintenance des outils soient confiees aux personnes competentes. L'opérateur ne doit pas etre implique dans la maintenance ou la réparation de l'outil, a moins qu'il n'ait reçu la formation appropriee. Examiner regulierement l'outil en recherchant dommages et dysfontionnements.
Sauf indication contraire, l'alimentation pneumatique doit etre debranchee avant toute operation d'entretien ou de demontage.
Il est recommandé d'effectuer tout demontage dans de bonnes conditions de propre.
Avant d'entamer le démontage, vidanger l'outil de son huile en respectant les trois premières étapes de la "Procedure de plein d'huile", page 31.
Avant de démonter l'outil, il est nécessaire de déposer l'équipment de pose. Voir pour cela la partie équipment, pages 8-12, ou pages 14-16 dans le cas d'une tête pivotante.
Pour un entretien complet de l'outil, nous conseillons de proceder par demontage des sous-ensembles dans l'ordre indiqué.
Après chaque démontage, PENSER à faire le plein d'huile et à monter l'ensemble de nez ou la tête pivotante appropriés.
Equipement de pose
- Dévisser le carter de nez 1 et le nez.
Déposer la cartouche d'équipment de pose en la faisant glisser sur le même plan que le piston. - Dévisser le carter porte-mâchoires 3 du "T" de carter guide 9 et déposer les mâchoires 4, le porte-mâchoires 5, le ressort 7, le butoir 6 et le manchon de détente 10.
- Contrôler les composants. Change les pieces endommagées ou usées.
Nettoryer les pioces et enduire de graisse au bisulfure de Molybdene EP 3753 (07992-00020) l'alssage conique du carter portemahoires.
Pour le remontage, inverser la procEDURE ci-dessus.
Les numéroes de repères en caractères gras se rapportent aux tableaux des nez des pages 9, 10 et 12.
Ensemble tête
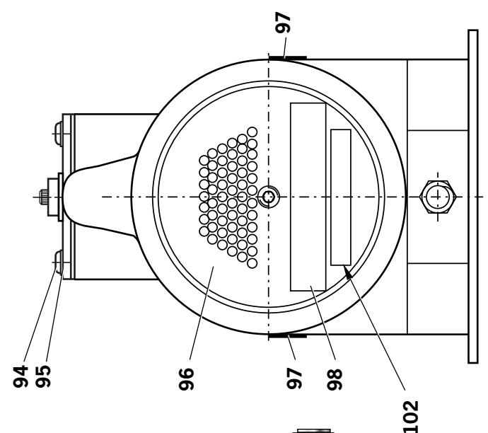
Faire pivoter et tirer sur l'ensemble bol de récapération de tiges 20. Voir l'illustration à la page 7.
Déposer l'ensemble plaque supérieure 19 en devissant les deux vis 21.
- Devisser l'écrou de retenue 22.
Extraire l'ensemble adaptateur de bol 24, avec les joints toriques 23 et 17.
Déposer l'ensemble obturator 18, avec le joint torique 25 (x 2) et le joint à lèvre 26.
Déposer le ressort 15.
- Desserrer l'écrou de blocage 3 à l'aide d'une ccef* et dévisser l'adaptateur en "T" male 1, avec le joint torque 2.
Retirer le manchon a depression 43.
Déposer l'écrou de blocage 2, avec les joints toriques 42 et 41.
Pousser le piston de tete 27 vers l'arriere et le sortir de l'ensemble tete 6, en veillant a ne pas endommager l'alésage du cylindre.
A l'aide d'une pince a circlips*, deposer la retenue d'etanchete 12. Pousser le joint a levre 9 et la bande de frottement 8 vers l'arriere et le sortir de l'ensemble tete 6, en veillant a ne pas endommager l'alusage du cylindre.
Déposer le logement de joint 5 et le joint à lèvre 7.
L'assemblage s'effectue dans l'ordre inverse, en tenant compte des points suivants :
- Poser le joint à lèvre 9 sur la tige d'insertion en veillant à l'orienter dans le bon sens. Placer le tube guide dans la tête de l'outil et pousser en place à travers le tube guide, la tige d'insertion munie du joint. Retirer la tige d'insertion, puis le tube guide.
Le bord chanfreiné de la retenue de joint 12 doit être tourné vers l'avant et le vide doit se trouver au fond. - Àpres avoir installé les joints à lèvre 13, 14, le joint torique 50 et la bande de frottement 51 sur le piston de tête 27, vérifier la conformité de l'orientation de l'ensemble, lubrifier l'alésage de cylindre et placer le manchon de piston dans l'arrête de l'ensemble tête 6. Faire couilisser la bille sur la partie filtée du piston de tête 27 et pousser le piston à fond, avec les joints, à travers le manchon de piston. Faire couilisser la bille pour la déposer du piston et déposer le manchon de piston*.
L'adaptateur en "T" 1 doit être serré contre le piston de tête 27 pour retenir le manchon à dépression 43 contre le piston de tête, avant de serrer l'écrou "Etanche" 3 contre l'adaptateur. - Refaire le plein d'huile conformément aux instructions de la page 31.
Les repères en caractères gras renuoient à l'assemblage général et à la liste de pieces des pages 26 et 27.
*Elément inclus dans le kit d'entretien nG2s. Voir la liste complète page 20.
Valve rotative
Démontage
A l'aide d'un chasse-goupille de 4 mm (07900-00158), chasser l'axe de gachette 40 et déposer l'ensemble gachette 39.
- Déconnecter le flexible 35 et déposer l'écrou 32.
- Séparer l'ensemble tête 6 de la poignée 29. PRENDRE NOTE DE L'ORIENTATION DE LA VALVE ROTATIVE 48.
Extraire la valve rotative 48, avec les joints toriques 49.
L'assemblage s'effectue dans le sens inverse du démontage, en tenant compte des consignes suivantes :
Vérifier l'etat des joints et changer les joints endommagés le cas échéant, après les avoir lubriifiés à la graisse Molykote 55m
Vérifier que la valve rotative 48 est assemblée dans le bon sens, pour pouvoir aligner les axes de la valve sur les griffes de la gachette 39.
Voir l'illustration ci-dessous.
Gachette
Démontage
A l'aide d'un chasse-goupille de 4 mm (07900-00158), chasser l'axe de gachette 40 et déposer l'ensemble gachette 39.
A l'aide de l'extracteur de valve pneumatique (0900-00692), dévisser la valve de gachette 38.
L'assemblage s'effectue dans le sens inverse du démontage, en tenant compte des consignes suivantes :
A l'assemblage de la gachette 39, les griffes de la gachette se placent sur les axes de chaque cote de la valve rotative 48.
Veiller à ce que la valve rotative 48 soit orientée dans le bon sens. Voir l'illustration ci-dessous.

Les repères en caractères gras renvoient à l'assemblage général et à la liste de pieces des pages 26 et 27.
Assemblage (voir l'illustration ci-dessous).
- Placer le joint torque 2 dans le renforcement du logement 5 et les caler à laGRAISE Molykote 55m
- Assemblier le joint torique 4 sur le piston 1 et pousser l'assemblage dans le logement 5, en veillant à bien le pousser à fond.
- Orienter la fente du piston 1 parallèlement à la face en escalier du logement 5.
Faire coulisser le joint plein 3 dans les pieces assemblées 1, 2, 4, et 5. Caler les pieces à laGRAISSSE Molykote 55m - Placer le joint torque 4 dans le renforcement de la plaque de fermeture 6 et le caler à laGRAISS Molykote ^ 55m.
- Placer le ressort 7 à sa place, et le caler à l'aide des deux renf Oncements des deux joints pleins 3 et I'ensemble adaptateur de bol de recupération 24^*
- Placer les pieces assemblées ci-dessus sur l'ensemble adaptateur de bol de récapération 24^* .
- Caler à l'aide des deux vis 21^* .
*voir les pages 26 et 27.
| N° | DESCRIPTION |
| 1 | PISTON |
| 2 | JOINT TORIQUE |
| 3 | JOINT PLEIN |
| 4 | JOINT TORIQUE |
| 5 | LOGEMENT |
| 6 | PLAQUE FERMOIR |
| 7 | RESSORT |


FERME

OUVERT
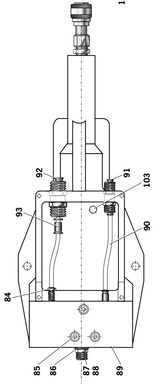
Amplificateur
- Débrancher l'alimentation pneumatique.
Retirer la plaque de recouvrement 58 et le joint d'etanchete 83 en oitant les vis 94 (x 4) et les rondelles 95 (x 4). - Vidanger l'huile dans un conteneur ajust.
- Débrancher les flexibles d'air et les tuyaux hydrauliques.
- Retirer la plaque de protection 71 en âtant les vis 72 (x 4).
- Retirer la valve 89 en âtant les vis 85 (x 3).
Déposer les vis 68 le couvercle de silencieux 96, le silencieux en mousse 64, l'entretoise 67 et la plaque de retenue 66.
Retirer la bague de retenue interne 69.
En utilisant comme extracteur la vis 68, l'introduire dans la plaque de fermeture 63 et extraire celle-ci. - Retirer le connecteur à raccord rapide 78.
- Insérer la tige de 14 " de diamètre dans le double racord maje 79 sur l'avant du corps d' amplificateur et chasser vers l'extérieur la tige de piston d' amplificateur 59 avec le joint torique 100, la butée de piston 99, le piston pneumatique d' amplificateur 60, le joint torique 61 et l'écrou 65.
Retirer le bouchon d'obturation 74 à l'aide de la clé 07900-00717. - Insérer la tige de 14 de diamètre dans le raccord 79 et chasser le logement de joint 77.
Pour nettoyer le clapet antiretour 82, souffler dans l'orifice sur le dessus de la valve à l'aide d'une suffletteasse pression. S'il est nécessaire de déposer la valve du corps principal, utiliser la clé 07900-00717. Pour le remontage, appliquer Loctite® 225 sur les fillets pour le blocage dans le corps principal.
Remonter dans l'ordre inverse du démontage.
IMPORTANT
Pratiquer sur l'outil les vérifications et opérations correspondant à l'entretien journalier et hebdomadaire. Un plein d'huile est TOUJOURS nécessaire après un démontage de l'outil et avant toute utilisation.
Les repères en caractères gras renvoient à l'assemblage général et à la liste de pieces des pages 28 et 29.
*Elément inclus dans le kit d'entretien nG2s. Voir la liste complète page 20.

| LISTE DE PIECES POUR 71401-02000(s) | * Quantité recommandee de pièces de rechange à conserver pour l'entretien périodique. | ||||||||
| N° | REFERENCE | DESCRIPTION | QTE | RECHANGE* | N° | REFERENCE | DESCRIPTION | QTE | RECHANGE* |
| 01 | 71213-02020 | ADAP TATEUR EN "T" MALE | 1 | - | 26 | 07003-00274 | LEVRE D'E TANCHEITE | 1 | - |
| 02 | 07003-00277 | JOINT TORIQUE | 1 | 1 | 27 | 71213-02121 | PISTON DE TETE | 1 | - |
| 03 | 71210-02103 | CONTRE-ECROU | 1 | 1 | 28 | 07003-00288 | JOINT TORIQUE | 2 | - |
| 04 | 07007-01503 | ETIQUETTE ICONE LIVRE OUVERT | 1 | - | 29 | 71213-02013 | ENSEMBLE TETE | 1 | - |
| 05 | 71210-02104 | LOGEMENT DE JOINT | 1 | 1 | 30 | 07003-00288 | JOINT TORIQUE | 2 | 2 |
| 06 | 71213-03320 | ENSEMBLE TETE | 1 | - | 31 | 07003-00287 | JOINT TORIQUE | 1 | - |
| 07 | 07003-00333 | LEVRE D'E TANCHEITE | 1 | - | 32 | 07002-00152 | ECROU MINCE | 1 | - |
| 08 | 71213-02021 | BANDE DE FROTTEMENT - TIGE DE PISTON | 1 | - | 33 | 07003-00142 | JOINT COMPOSITE | 1 | 1 |
| 09 | 07003-00273 | LEVRE D'E TANCHEITE | 1 | - | 34 | 71400-02002 | LANGUETTE | 1 | - |
| 10 | 07001-00405 | VIS HEXAGONALE A TETE RONDE M5 x 5 | 1 | - | 35 | 07008-00413 | ENSEMBLE FLEXIBLE | 1 | - |
| 11 | 07003-00194 | JOINT COLLE M5 | 1 | - | 36 | 71400-02001 | BASE DE POIGNEE | 1 | - |
| 12 | 71210-02019 | RETENUE D'E TANCHEITE | 1 | - | 37 | 07003-00281 | JOINT TORIQUE | 1 | - |
| 13 | 07003-00341 | LEVRE D'E TANCHEITE | 1 | - | 38 | 07005-00088 | VALVE DE GACHETTE | 1 | - |
| 14 | 07003-00275 | LEVRE D'E TANCHEITE | 1 | - | 39 | 71213-02008 | ENSEMBLE GACHETTE | 1 | - |
| 15 | 07490-03002 | RESSORT | 1 | - | 40 | 71210-02024 | AXE DE GACHETTE | 1 | - |
| 16 | 07003-00278 | JOINT TORIQUE | 1 | - | 41 | 07003-00204 | JOINT TORIQUE | 1 | - |
| 17 | 07003-00416 | JOINT TORIQUE | 1 | - | 42 | 07003-00310 | JOINT TORIQUE | 1 | - |
| 18 | 71213-02025 | ENSEMBLE OBTUR ATEUR | 1 | - | 43 | 71210-02102 | MANCHON A DEPRESSION | 1 | - |
| 19 | 71213-03900 | ENSEMBLE PLAQUE D'ARRET | 1 | - | 44 | 71401-02030 | ETIQUETTE | 1 | - |
| 20 | 71213-03800 | ENSEMBLE DU RECUPER ATEUR DE TIGES | 1 | - | 45 | 07005-01952 | CONNECTEUR DE 6 MM | 1 | 1 |
| 21 | 07001-00677 | VIS | 2 | - | 46 | 71400-02031 | ETIQUETTE | 1 | - |
| 22 | 71213-02028 | ECROU DE RETENUE | 1 | - | 47 | 07005-01951 | CONNECTEUR DE 4 MM | 1 | 1 |
| 23 | 07003-00415 | JOINT TORIQUE | 1 | - | 48 | 71213-02012 | VALVE ROTATIVE | 1 | - |
| 24 | 71213-03000 | ADAPTATEUR D'ENSEMBLE Bouteille | 1 | - | 49 | 07003-00189 | JOINT TORIQUE | 2 | - |
| 25 | 07003-00398 | JOINT TORIQUE | 2 | - | 50 | 07003-00342 | JOINT TORIQUE | 1 | |
| 51 | 71213-02022 | BANDE DE ROULEMENT | 1 | ||||||



"VUE A"
LISTE DE PIECES POUR 71421-02000(s)
| N° | REFERENCE | DESCRIPTION | QTE | N° | REFERENCE | DESCRIPTION | QTE |
| 55 | 07003-00037 | JOINT | 1 | 82 | 07240-00400 | CLAPET ANIRETOUR | 1 |
| 56 | 07240-00211 | VIS DE REMPLISSAGE | 1 | 83 | 07240-00209 | JOINT D'E TANCHEITE | 1 |
| 57 | 07001-00418 | VIS | 1 | 84 | 07005-00456 | RACCORD DE FLEXIBLE MALE | 1 |
| 58 | 07240-00210 | PLAQUE DE RECOUVREMENT | 1 | 85 | 07001-00176 | VIS | 1 |
| 59 | 71420-02008 | TIGE DE PISTON D'AMPLIFIC ATEUR | 1 | 86 | 07003-00065 | RONDELLE D'E TANCHEITE EN ALUMINIUM | 1 |
| 60 | 07240-00206 | PISTON PNEUM ATIQUE D'AMPLIFIC ATEUR | 1 | 87 | 07005-00041 | DOUBLE RACCORD MALE | 1 |
| 61 | 07003-00182 | JOINT TORIQUE | 1 | 88 | 07007-00292 | CAPUCHON FILETE | 1 |
| 62 | 07003-00183 | JOINT TORIQUE | 1 | 89 | 07005-01524 | VALVE | 110 MM |
| 63 | 07240-00207 | COUVERCLE D'EXTREMITE | 1 | 90 | 07005-01084 | TUBE EN PLASTIQUE NOIR DE 4 MM Ø | 1 |
| 64 | 07240-00213 | SILENCIEUX EN MOUSSE | 1 | 91 | 07005-01431 | RACCORD TR AVERSANT | 1 |
| 65 | 07002-00017 | ECROU | 1 | 92 | 07005-00855 | RACCORD TR AVERSANT | 1 |
| 66 | 07240-00216 | PLAQUE DE RETENUE | 1 | 93 | 07005-01977 | PLAQUE DE PROTECTION ( AVEC MANCHON DE REDUCTION) | 4 |
| 67 | 07240-00215 | ENTRETOISE | 1 | 94 | 07001-00554 | VIS | 4 |
| 68 | 07001-00417 | VIS | 1 | 95 | 07002-00073 | RONDELLE | 1 |
| 69 | 07004-00069 | BAGUE DE RETENUE INTERIEURE | 1 | 96 | 07240-00214 | COUVERCLE DE SILENCIEUX | 2 |
| 70 | 07003-00042 | JOINT TORIQUE | 1 | 97 | 71402-02010 | ETIQUEtte AUTOCOLLANTE | 2 |
| 71 | 07240-00220 | PLAQUE DE PROTECTION | 1 | 98 | 07240-00217 | ETIQUEtte (PRESSION MAX.) | 1 |
| 72 | 07001-00396 | VIS | 4 | 99 | 71420-02005 | BUTEE DE PISTON | 1 |
| 73 | 07003-00337 | LEVRE D'E TANCHEITE | 1 | 100 | 07003-00181 | JOINT TORIQUE | 1 |
| 74 | 71420-02007 | BOUCHON D'OBTUR ATION | 1 | 101 | 07007-01503 | ETIQUEtte ICONE LIVRE OUVERT | 1 |
| 75 | 07003-00153 | JOINT TORIQUE | 2 | 102 | 07007-01504 | ETIQUEtte CE | 1 |
| 76 | 07003-00336 | LEVRE D'E TANCHEITE | 2 | 103 | 07005-00668 | OBTUR ATEUR M5 | 1 |
| 77 | 71420-02006 | LOGEMENT DU JOINT | 1 | ||||
| 78 | 07005-00759 | RACCORD RAPIDE (FEMILLE) | 1 | ||||
| 79 | 07005-00406 | DOUBLE RACCORD MALE | 1 | ||||
| 80 | 07003-00142 | JOINT | 2 | ||||
| 81 | 71420-02300 | ENSEMBLE DE CORPS | 1 |
Le plein d'huile est TOUJOURS nécessaire après un démontage de l'outil et avant toute utilisation. Il peut également être utile pour restaurer la totalité de la course après une utilisation prolongée, si l'on constate que la course diminue et que les fixations ne sont pas complètement posées en une seule action sur la gâchette.
Huile recommendée
L'huile recommende est la Hyspin® VG 32, qui existe en bidons de 0,5 litre, (réference 07992-00002), ou d'1 gallon (4,5 litres), (réference 07992-00006). Voir ci-dessous les mesures de sécurité.
Informations de sécurité, hUILé Hyspin® VG 32
Premiers secours
PEAU :
Laver soigneusement, à l'eau et au savon, dés que possible. Un contact occasionnel ne requiert pas de soins immédiats. Un contact de courte durée ne requiert pas de soins immédiats.
INGESTION :
Faire appel immédiatement à des soins Médicaux. NE PAS faire vomir le patient.
YEUX:
Rincer immédiatement à l'eau courante pendant plusieurs minutes. Quique cette huié NE soit PAS très irritante, une légère irritation peut apparaitre suite au contact.
Incendie
POINT ECLAIR: 232^ . Non classé comme inflammable.
Conviennent pour l'extinction : CO_2 , poudre sèche, mousse ou brouillard d'eau. NE PAS UTILISER de jets d'eau.
Environnement
MISE EN DECHARGE: sur site homologué par les soins d'une société agrée. Peut être incinérée. Le produit usageé peut être recyclé. PRODUIT REPANDU: empêcher la contamination par le produit des evacuations,égouts et cours d'eau.Eponger avec une substance absorbante.
Manutention
Porter une protection oculaire, des gants imperméables (PVC, par exemple), et un tablier plastique. Employer dans des locaux bien aérés.
Stockage
Pas de précautions particulières.
IMPORTANT
Toutes ces opérations doivent être effectuées sur un établi propre, avec des mains propres et dans un endroit propre.
Vérifier que l'huile est parfaitement propre et sans bulles d'air.
VEILLER à tout moment à éviter que des corps étrangers ne pénétre dans l'outil, ce qui pourrait cause de graves dommages.
Retirer la vis de purgege 10 et le joint collé 11.
Raccorder l'alimentation pneumatique à l'amplificateur.
- Visser l'ensemble clapet antiretour (réference 07900-00714 du kit d'entretien) dans l'orifice pour la vis de purge 10.
- Placer l'extrémité du tube en caoutchouc de l'ensemble clapet antiretour au-dessus d'un conteneur de récapération d'huile adéquat.
- Remplir le réservoir de l'amplificateur avec de l'huile Hyspin®.
Actionner à fond la gachette et la maintainir pendant 2 secondes avant de la relacher. L'huile est aspirée dans le circuit depuis le réservoir.
Répéter cette dernière étape jusqu'à ce que de l'huile expulsée du clapet antiretour soit complètement exemplé d'air.
Garder la tete de pose au-dessous du niveau d'huile de l'amplificateur.
Déposer l'ensemble clapet antiretour.
- Remetre en place la vis de purge 10 et le joint collé 11, puis faire l'appoint d'huile du réservoir de l'amplificateur.
Vérifier que la course de l'outil est conforme à la Specification minimum de 17 millimétres Pour vérifier la course, mesurer la distance entre l'avant du carter guide et l'avant de la tête, AVANT d'appuyer sur la gachette et lorsque la gachette est actionnée à fond. La course est la différence entre les deux mesures. Si elle n'est pas conforme à la Specification minimum, repeter la procédure de plein d'huile.
| SYMPTOME | CAUSE POSSIBLE | REMEDE | PAGE |
| Il faut plus d'une action sur la gâchette pourposer une fixation | Fuite d'air | Serrer les raccords ou replacer les pièces | 5 |
| Pression d'air insuffisante | Régler la pression d'air à la valeur recommandée | 8 | |
| Mâchoires usées ou cassées | Monter des mâchoires neuves | ||
| Niveau d'huile insuffisant ou présence d'air dans l'huile | Faire le plein d'huile | 30, 31 | |
| Accumulation de saleté à l'intérieur de l'équipement | Nettoyer l'équipement | 8† | |
| L'outil n'agrippe pas la tige de la fixation | Mâchoires usées ou cassées | Monter des mâchoires neuves | 8, 9, 10, 12 |
| Accumulation de saleté à l'intérieur de l'équipement | Nettoyer l'équipement | 8 | |
| Carter porto-mâchoires desserré | Le serrer contre la bague de serrage | 8 | |
| Ressort de l'équipement faible ou cassé | Monter un ressort neuf | 8, 9, 10, 12 | |
| Erreur de montage de l'équipement | Rechercher l'erreur et changer la piece | 9, 10, 12 | |
| Les mâchoires ne relachent pas la tige rompue de la fixation | Accumulation de saleté à l'intérieur de l'équipement | Nettoyer l'équipement | 8† |
| Mauvais montage du carter porto-mâchoires, dunez ou du carter de nez | Serrer l'équipement | 9, 10, 12 | |
| Ressort de l'ensemble de nez faible ou cassé | Monter un ressort neuf | 9, 10, 12 | |
| Fuite d'air ou d'huile | Serrer les raccords ou replacer les pièces | ||
| Niveau d'huile insuffisant ou présence d'air dans l'huile | Faire le plein d'huile | 30, 31 | |
| Impossibilité d'introduire la fixation suivante | Présence de tiges brises dans l'outil | Vider le bol récapacitéur de tiges | 7 |
| Vérifier que le porte-mâchoires est le bon | 9, 10, 12 | ||
| Régler la pression d'air à la valeur recommandée | 5 | ||
| Cycle lent | Pression d'air insuffisante | Régler la pression d'air à la valeur recommandée | 5 |
| Accumulation de saleté à l'intérieur de l'équipement | Nettoyer l'équipement | 8† | |
| L'outil ne fonctionne pas | Pas de pression d'air | Raccorder et régler à la valeur recommandée | 5 |
| Valve de gâchette 32 endommagée | Remplacer | 23 | |
| La fixation ne casse pas | Pression d'air insuffisante | Régler la pression d'air à la valeur recommandée | 5 |
| Fixation dépassant la capacité de l'outil | Utiliser un outil Genesis®, plus puissant. Prendre contact avec Avdel UK Limited. | ||
| Niveau d'huile insuffisant ou présence d'air dans l'huile | Faire le plein d'huile | 30, 31 |
† Page 16 en cas d'utilisation d'une tête pivotante à la place d'un équipement.
Les repères en caractères gras renvoient à l'assemblage général et à la liste de pieces des pages 26 et 27.
Les autres symptômes ou pannes doivent être signalés à votre distributeur Avdel agréé ou centre de réparation le plus proche.
Déclaration de conformité
Nous, Avdel UK Limited, Watchmead Industrial Estate, Welwyn Garden City, Herts, AL7 1LY, déclarons sous notre seule responsabilité que le produit :
Modèle nG2s
N^ de série
faitant l'objet de la presente déclaration est conforme aux normes suivantes :
EN ISO 12100 - parties 1 et 2
BS EN ISO 8662 - partie 6 BS EN ISO 11202
BS EN ISO 3744 BS EN 982
ISO EN 792 - partie 13-2000 BS EN 983
selon les dispositions de la Directive 89/392/CE concernant le rapprochement des legislations des États membres relatives aux machines (telles que modifiée par les Directives 91/368/CE, 93/44/CE et remplaçaee par la Directives 98/37/CE, 93/68/CE)

A. Seewraj - Product Engineering Manager - Automation Tools
Date d'émission

Cette boîte contient un outil pneumatique en conformité avec la Directive sur les machines 89/392/CE.
La "Déclaration de conformité" est jointe.
AUSTRALIA
Acument Australia Pty Ltd.
891 Wellington Road
33 bis, rue des Ardennes
BP4
75921 Paris Cedex 19
Tel: +33 (0) 1 4040 8000
Fax: +33 (0) 1 4208 2450
Email: AvdelFrance@acument.com
GERMANY
| N° de Manuel | Edition | N° de Modification |
| 07900-00874 | A | 06/283 |
| B | 07/044 | |
| B3 | 07/174 | |
Loctite® est une marque commerciale de Henkel Loctite Corporation. Hyspin® est une marque commerciale de Castrol Limited. MolyKote® est une marque commerciale de Dow Corning Corporation.
Notice Facile