07220 - Outil pneumatique AVDEL - Notice d'utilisation et mode d'emploi gratuit
Retrouvez gratuitement la notice de l'appareil 07220 AVDEL au format PDF.
| Type d'outil | Outil oléo-pneumatique |
| Alimentation | Air comprimé |
| Pression de fonctionnement | Non précisé |
| Consommation d'air | Non précisé |
| Vitesse de fonctionnement | Non précisé |
| Type d'huile | Non précisé |
| Capacité du réservoir d'huile | Non précisé |
| Poids | Non précisé |
| Matériau du corps | Non précisé |
| Type de raccord | Non précisé |
| Utilisation recommandée | Assemblage, rivetage, fixation |
| Maintenance | Lubrification régulière requise |
| Dimensions | Non précisé |
| Niveau sonore | Non précisé |
| Accessoires inclus | Non précisé |
FOIRE AUX QUESTIONS - 07220 AVDEL
Questions des utilisateurs sur 07220 AVDEL
0 question sur cet appareil. Repondez a celles que vous connaissez ou posez la votre.
Poser une nouvelle question sur cet appareil
Téléchargez la notice de votre Outil pneumatique au format PDF gratuitement ! Retrouvez votre notice 07220 - AVDEL et reprennez votre appareil électronique en main. Sur cette page sont publiés tous les documents nécessaires à l'utilisation de votre appareil 07220 de la marque AVDEL.
MODE D'EMPLOI 07220 AVDEL
Manuel d'instructions

Règles de Sécurité 4
Caracteristiques
Caractéristiques de l'outil 5
Utilisation prévue 6
Dimensions de l'outil 6
Mise en service
Alimentation Pneumatique 7
Procédure d'utilisation 7
Accessoires
Raccords et Ensemble Flexible 8
Cisailles à collerette 8
Ensemble Cisailles à Collerette, Kit Adaptateur
(07220-09000) et Kit d'arrêt (07229-08973) 9
Ensembles de nez
Sélection 10
Instructions de Montage 10-11
Instructions d'entretien 11
Composants 12
Entretien de l'outil
Chaque Jour 13
Chaque Semaine 13
Informations de sécurité GRAISE au bisulfure 13
dé molybdène EP 3735
Kit d'entretien 14
Entretien
Procédure de Démontage 15-17
L'outil de base
Assemblage général de l'outil de base 07220-02000 18
Liste de pièces pour 07220-02000 19
Plein d'huile
Huile 20
Huile Hyspin® VG32 Informations de Sécurité 20
Procédure de Plein d'huile 20
Diagnostic des pannes
Symptôme, Cause Possible et Remède 21
Garantie
Les outils d'installation de Avdel sont couverts par une garantie de 12 mois contre tout vice de fabrication ou toute malfaçon. La période de garantie commence à la date de livraison confirmée par la facture ou le reçu de livraison.
L'opérateur/l'acheteur bénéficiaire de la garantie si l'outil a été acheté dans un point de vente agréé et seulement s'il est utilisé pour l'usage prévu. La garantie de l'outil est annulée en cas de non-respect des instructions d'entretien, de révision et d'utilisation contenues dans les Manuels d'instructions et d'entretien.
Dans l'éventualité d'un défaut ou d'une défaillance, Avdel, à son entière discrétion, s'engage uniquement à réparer ou remplacer les composants défectueux.
1 Ne pas employer à d'autres usages que celui prévu. 2 Ne pas utiliser avec cet outil/cette machine d'autres matériels que ceux recommandés et fournis par Avdel. 3 Toute modification apportée par le client à l'outil ou à la machine, aux ensembles de nez, aux accessoires ou à tout autre matériel fourni par Avdel ou ses représentants relève de la seule et entière responsabilité du client. Avdel donnera avis sur toute modification envisagée. 4 L'outil ou la machine doit être maintenus en permanence en état de fonctionner sans danger et leur bon état et fonctionnement doivent être vérifiés à intervalles réguliers par un personnel compétent et ayant reçu la formation adéquate. Toute opération de démontage ne doit être entreprise que par des personnes formées aux procédures Avdel. Ne pas démonter cet outil/cette machine avant d'avoir consulté les instructions de maintenance. Prière de contacter Avdel en indiquant vos besoins en formation. 5 L'outil ou la machine doit à tout moment être utilisés conformément à la législation d'hygiène et de sécurité conforme aux règlements du Ministère du Travail en application de l'article R233-69 du code du travail. Tout que question relative à la bonne utilisation de l'outil ou de la machine et à la sécurité de l'opérateur doit être adressée à Avdel. 6 Il appartient au client d'expliquer à chaque opérateur les précautions à respecter lors de l'utilisation de l'outil ou de la machine. 7 Toujours débrancher le tuyau d'air du raccord d'arrivée de l'outil ou de la machine avant tout réglage, montage ou démontage d'un ensemble de nez. 8 Ne pas mettre en marche un outil ou une machine dirigés vers une/des personne(s). 9 L'opérateur veillera à adopter une position équilibrée et stable avant d'utiliser l'outil/la machine. 10 S'assurer que les orifices de mise à l'atmosphère ne viennent pas à être obstrués ou masqués et que les flexibles sont toujours en bon état. 11 La pression d'utilisation ne doit pas dépasser 8,5 bars. 12 Ne pas utiliser l'outil avant d'avoir monté l'intégralité de l'équipement de pose. 13 L'opérateur veillera à ce que les queues de rivets usées ne créent pas un danger. 14 Les outils 07220 doivent être dotés d'un déflecteur en bon état avant d'être utilisés. 15 En cas d'application nécessitant l'utilisation de l'outil 07220 en position verticale, nez tourné vers le bas, l'on veillera à faire pivoter le déflecteur de manière à ce que l'ouverture soit tournée du côté opposé à l'opérateur et, le cas échéant, à des personnes travaillant à proximité. 16 Lors de l'utilisation de l'outil, l'opérateur et les personnes se trouvant à proximité doivent impérativement porter des lunettes de sécurité pour se protéger contre l'éjection des fixations en cas de pose 'en l'air'. Nous recommandons le port de gants en cas de présence d'arêtes ou d'angles vifs sur l'application. 17 Veiller à ne pas laisser des vêtements amples, cravates, cheveux longs, chiffons de nettoyage, etc. se prendre dans les parties mobiles de l'outil. L'outil doit être maintenu sec et propre pour donner la meilleure prise. 18 Lors du transport de l'outil, éloigner les mains de la gachette ou du levier pour éviter un déclenchement intempestif de l'outil. 19 Tout contact excessif avec de l'huile hydraulique doit être évité. Veiller à bien se laver pour éviter tout risque d'éruption cutanée. 20 Les données C.O.S.H.H. de sécurité et d'hygiène professionnelle se rapportant aux fluides hydrauliques et lubrifiants sont disponibles sur demande auprès du fournisseur de l'outil.
Caractéristiques
| Pression d'air | minimum - maximum | 5,4 - 8,5 bars (80 - 100 lbf/in2) |
| Volume d'air libre nécessaire | à 5,5 bars / 80 lbf/in2 | 14,6 litres (0,516 ft3) |
| Course | minimum | 19 mm (0,75 in) |
| Force de traction | à 5,5 bars / 80 lbf/in2 | 26,7 kN (6000 lbf) |
| Cycle de pose | environ | 3 secondes |
| Niveau sonore | 71,8 dB(A) | |
| Poids | sans équipement de pose | 5,0 kg (11 lb) |
| Vibrations | inférieures à | 2,5 m/s2 |
L'outil hydropneumatique de type 07220 a été conçu pour la pose rapide de rivets Avdelok (3 / 16^ , 1 / 4^ , 5 / 16^ et 3 / 8^ ) et de collerettes et convient tout particulièrement à l'assemblage en lots ou chaîne continue requis par un large éventail d'applications, toutes industries confondues.
Pour constituer un outil complet, commander un outil de base référence 07220-00200 et désirer dans la partie Ensembles de nez des pages 10-12 un ensemble de nez convenant à l'application.


Les dimensions indiquées en caractères gras sont en millimètres. Les autres dimensions sont en pouces.
Alimentation pneumatique
Tous les outils fonctionnent à l'air comprimé, à une pression optimale de 5,4 bars. Nous recommandons l'emploi d'unités de traitement d'air complétant la lubrification, la filtration et la régulation de pression sur le circuit d'alimentation en air. Ces appareils doivent être montés à 3 mètres au plus de l'outil (voir le schéma ci-dessous) afin d'assurer à l'outil une durée de vie maximum et une maintenance minimum.
Les flexibles d'alimentation en air doivent avoir une résistance nominale en pression égale à au moins 150 % de la pression maximum produite par le système, ou à 10 bars, minimum. Ces flexibles doivent résister à l'huile, avoir une paroi extérieure résistant à l'abrasion, et ils doivent être armés si les conditions d'utilisation présentent un risque de détérioration. Tous les flexibles d'air DOIVENT IMPERATIVÉMENT un diamètre intérieur minimum de 6,4 millimètres ou 14 de pouce.
Voir le détail de l'entretien journalier à la page 13.

Procédure d'utilisation
Vérifier que l'équipement de pose monté est le bon. Raccorder l'outil à l'alimentation d'air. - Enfoncer le rivet Avdelok® dans le trou de l'application. - Placer la collerette sur le rivet (orientée comme indiqué à droite). - En maintenant la tête du rivet contre l'application, pousser l'outil sur la queue de rivet dépassante. - Appuyer à fond sur la gachette. Un seul cycle suffit pour refouler la collerette dans les striés de blocage du rivet et pour casser le rivet à la gorge de rupture. - Relâcher la gâchette. L'outil termine son cycle en se dégageant de la collerette et en éjectant la queue de rivet par l'arrière.

Trois accessoires différents sont disponibles pour réaliser le raccordement à l'alimentation pneumatique :
Double raccord maléréférence 07005-00041
Raccord pour flexible, référence 07005-00276
Ensemble flexible, référence 07008-000324
Cisailles à collerette
Il est possible de commander des cisailles à collerette qui permettent de couper les collerettes des rivets Avdelok® posés. Les petits modèles montrés ci-dessous à gauche sont destinés à la coupe des collerettes 3/16 ou 1/4 de pouce, et les gros modèles ci-dessous à droite, aux collerettes de 5/16 et de 3/8 de pouce.


Les dimensions indiquées en caractères gras sont en millimètres. Les autres dimensions sont en pouces.
| CISAILLES A COLLERETTE : REFERENCES DES COMPOSANTS | ||||||
| REPERE | DESCRIPTION | CISAILLE A COLLERETTE3/16 DE POUCE :07500-06800 | CISAILLE A COLLERETTE1/4 DE POUCE :07500-06900 | CISAILLE A COLLERETTE5/16 DE POUCE :07220-03700 | CISAILLE A COLLERETTE3/8 DE POUCE :07220-03900 | QTE |
| 1 | VIS SIX PANS CREUX | 07001-00004 | 07001-00004 | 07001-00142 | 07001-00142 | 2 |
| 2 | MANCHON | 07210-02012 | 07210-02012 | - | - | 1 |
| 3 | AXE DE LAME | 07210-02014 | 07210-02014 | 07220-03712 | 07220-03712 | 2 |
| 4 | VIS D'AXE DE LAME | 07210-02015 | 07210-02015 | 07220-03713 | 07220-03713 | 2 |
| 5 | LAME | 07210-02016 | 07210-02104 | 07220-03710 | 07220-03902 | 2 |
| 6 | AGRAFE RESSORT | 07500-08000 | 07500-08000 | 07220-04500 | 07220-04500 | 1 |
| 7 | ENSEMBLE PORTE-LAME | 07210-02500 | 07210-02600 | 07220-04200 | 07220-04300 | 2 |
| 8 | AXE ENTRETOISE | 07210-02703 | 07210-02703 | 07220-03714 | 07220-03714 | 1 |
| 9 | CAME | 07500-06801 | 07500-06801 | 07220-03701 | 07220-03701 | 1 |
| 10 | MANCHON EXTERIEUR | 07500-06803 | 07500-06803 | 07220-03715 | 07220-03715 | 1 |
| 11 | ECROU DE RETENUE DU NEZ | 07500-00212 | 07500-00212 | - | - | 1 |
| 12 | CIRCLIP EXTERIEUR | 07004-00041 | 07004-00041 | - | - | 1 |
| 13 | CAPUCHON DE RETENUE | 07007-00076 | 07007-00076 | - | - | 1 |
| 14 | RESSORT DE LAME | - | - | 07220-03706 | 07220-03706 | 2 |
| 15 | AXE DE RETENUE INDEPENDANT | 07500-08003 | 07500-08003 | 07220-04501 | 07220-04501 | 1 |
Utiliser la cisaille à collerette 07500-06800 pour l'Avdelok® de 3/16 de pouce et le 07500-06900 pour l'Avdelok® de 1/4 de pouce. Pour utiliser l'une et l'autre de ces cisailles à collerette, il faut employer le kit adaptateur (réference 07220-09000) et monter un ensemble d'arrêt (référence 07229-08973) pour réduire la course de l'outil.
Ensemble cisaille à collerette, kit adaptateur (07220-09000) et kit d'arrêt (07229-08973)

Pour monter ces cisailles à collerette, commencer par débrancher l'alimentation pneumatique de l'outil. Enlever de l'outil le déflecteur de queue de rivet 52. Enlever les vis 50 (6). - Introduire la butée (partie saillante la première) dans le capuchon de tête 63. Fixer avec les vis (référence 07001-00002) livrées avec l'ensemble d'arrêt. Enlever l'ensemble de nez s'il est monté. Lubrifier les faces des cames de la cisaille à collerette, les surfaces de portée et toutes les parties mobiles à la graisse au bisulture de molybdène. Tirer vers l'avant et faire tourner sur la bague extérieure de l'ensemble rallonge de tête sur l'outil pour découvrir les fentes. En maintenant le piston de tête avec une clé Allen de 3/8 de pouce* introduite dans l'arrière de l'outil, serrer l'adaptateur de boîtier de mors sur le piston de tête à l'aide d'une clé*. - Pousser l'adaptateur d'enclume par-dessus l'adaptateur de boîtier de mors en alignant sa baïonnette avec les fentes correspondantes de la rallonge de tête, enfoncer et tourner de. - Tourner la bague extérieure de la rallonge de tête pour la verrouiller en position. - Introduire la cisaille à collerette assemblée dans l'adaptateur d'enclume et visser l'ensemble sur l'extrémité de l'adaptateur de boîtier de mors. Serrer l'écrou de retenue de nez sur l'adaptateur d'enclume à l'aide d'une clé*. Pour utiliser la cisaille à collerette, la pousser fortement sur la collerette et appuyer sur la gachette. Pour couper les Avdelok de 5/16 et de 3/8 de pouce, utiliser respectivement les cisailles à collerette 07220-03700 et 07220-03900. Aucun ensemble d'adaptateur ou d'arrêt n'est nécessaire. Pour monter ces grosses cisailles à collerette, commencer par débrancher l'alimentation pneumatique et enlever l'ensemble de nez, le cas échéant. Monter directement sur le piston de tête, de la même façon que les adaptateurs de boîtier de mors et d'enclume ci-dessus.
Sélection
Il existe deux types d'ensemble de nez, droit et déporté. Choisissez le type convenant le mieux en fonction des difficultés d'accès de l'application. Il est impératif de monter le bon ensemble de nez avant d'utiliser l'outil.
Droit Rond
Droit à méplats horizontaux
Droit à méplats verticaux
Droit Court
Dépôt
SELECTION D'UN ENSEMBLE DE NEZ 07220
| TAILLE DE L'AVDELOK® | DESCRIPTION DE L'ENSEMBLE DE NEZ | A mm | pouces | B mm | pouces | C mm | pouces | D mm | pouces | REFERENCE DE L'ENSEMBLE DE NEZ |
| 3/16 | Droit à méplats horizontally | 21 | ,812 | 16 | ,625 | 54 | 2,12 | 25 | 1,0 | 07200-02700* |
| Droit à méplats verticaux | 21 | ,812 | 16 | ,625 | 54 | 2,12 | 25 | 1,0 | 07200-02500* | |
| Départé | - | - | - | - | - | - | - | - | 07220-02800 | |
| 1/4 | Droit rond | 21 | ,812 | - | - | 54 | 2,12 | - | - | 07200-03500* |
| Droit à méplats horizontally | 21 | ,812 | 16 | ,625 | 54 | 2,12 | 25 | 1,0 | 07200-02800* | |
| Droit à méplats horizontally (en escalier) | 21 | ,812 | 16 | ,625 | 54 | 2,12 | 25 | 1,0 | 07200-03300* | |
| Droit à méplats verticaux | 21 | ,812 | 16 | ,625 | 54 | 2,12 | 25 | 1,0 | 07200-02600* | |
| Départé | - | - | - | - | - | - | - | - | 07220-02900 | |
| 5/16 | Droit rond | 27 | 1,06 | 91 | 3,58 | - | - | 07220-05600 | ||
| Droit à méplats horizontally | 27 | 1,06 | 23,6 | ,930 | 91 | 3,58 | 40 | 1,58 | 07220-02700 | |
| Droit à méplats horizontally (en escalier) | 27 | 1,06 | 22,6 | ,890 | 94 | 3,70 | 46 | 1,83 | 07220-03400 | |
| 3/8 | Droit rond | 27 | 1,06 | - | - | 70 | 2,75 | - | - | 07220-02000 |
| Droit rond (en escalier) | 21 | ,812 | - | - | 74,2 | 2,92 | - | - | 07220-03500 | |
| Droit court | 27 | 1,06 | 25,2 | ,992 | 37 | 1,45 | 32 | 1,25 | 07220-06100 |
- Un adaptateur (référence 07220-02500) est nécessaire pour monter ces ensembles de nez sur l'outil. Les enclumes en escalier donnent une moindre déformation des collerettes, ce qui permet de placer les Avdelok® dans des matériaux plus tendres, tels que les plastiques, le bois, etc.
Important
Sauf indication expresse contraire, lors du montage et du démontage des ensembles de nez, l'alimentation pneumatique doit être débranchée.
Les ensembles de nez doivent être assemblés avant montage. Les ensembles de nez déportés sont toujours livrés assemblés.
Ensembles de NEZ DROIT horizontal, vertical ou ROND
Enduire les mâchoires d'une légère couche de graisse au bisulfure de molybdène. - Assembler les guides ressort 4 et le ressort 5, et faire reposer debout sur une surface plane et horizontale. - Répartir les trois mâchoires de mors 3 sur le guide ressort 4 (en utilisant si nécessaire une tige de rivet usagée pour faciliter le positionnement). - Faire descendre avec précaution le boîtier de mors 2 sur les composants assemblés. - Insérer l'entretoise 6 (si besoin est) dans le boîtier de mors 2 (diamètre 5/16" seulement). L'ensemble peut alors être placé sur l'enclume.
Les repères en caractères gras renvoient à l'assemblage général de l'autre côté.

Instructions de montage
Pour assembler les ensembles de nez courts 07220-06100, enduire les mâchoires d'une légère couche de graisse au bisulfure de molybdène. Laisser tomber les trois mâchoires de mors 11 dans le boîtier de mors 12. - Placer le capuchon suivant 9, le ressort 13 et la rondelle 14 dans le boîtier de mors 12. L'ensemble peut alors être placé sur l'enclume.
Un adaptateur de référence 07220-02500 doit être monté sur l'outil avant toute utilisation des ensembles de nez 3 / 16 et 1 / 4
Pour monter l'adaptateur réducteur sur l'outil, tirer vers l'avant et faire tourner la bague extérieure de l'ensemble rallonge de tête de l'outil pour découvrir les fentes. - Visser l'adaptateur de col sur le piston de tête. - Introduire une clé Allen de 3/8 de pouce A/F dans l'arrière de l'outil et dans la tête de piston pour bloquer le piston en rotation, et serrer l'adaptateur de col à l'aide d'une clé. - Pousser l'adaptateur d'enclume par-dessus l'outil en s'assurant que les tétons du corps pénètrent dans les fentes de la rallonge de tête de l'outil. - Tourner le corps de l'adaptateur réducteur de, puis tourner la bague de la rallonge de tête jusqu'à ce qu'elle s'enclenche en position dans les fentes de la rallonge de tête. - Les ensembles de nez droits de 3/16 et de 1/4 de pouce peuvent alors être montés sur l'outil.
Pour monter les ensembles de nez soit directement sur l'outil, soit sur l'adaptateur, procéder de la façon suivante :
- Tirer vers l'avant et faire tourner la bague extérieure de l'ensemble rallonge de tête (ou la bague extérieure du 07220-02500, si celui-ci est monté).
- Introduire une clé Allen de 3/8 de pouce dans l'arrière de l'outil et dans la tête de piston. En maintenant l'outil pointe vers le bas, visser fermement l'ensemble sur l'outil à l'aide d'une clé, sauf dans le cas de l'ensemble de nez déporté. Pour les ensembles de nez droits, placer l'enclume intégrée sur le boîtier de mors, en s'assurant que les têtes de l'enclume pénètrent dans les fentes de la rallonge de tête (ou de l'adaptateur).
- Engager les tétons de l'ensemble de nez dans les fentes correspondantes de la rallonge de tête, et tourner de. L'ensemble de nez déporté peut être orienté selon l'angle voulu. Tourner la bague de la rallonge de tête jusqu'à ce qu'elle s'enclenche en position dans les fentes du manchon de la rallonge de tête.
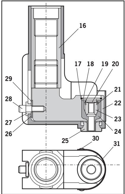
Instructions d'entretien
Les ensembles de nez doivent subir un entretien hebdomadaire.
- Démonter les ensembles de nez droits dans l'ordre inverse des instructions de montage.
- Vérifier en particulier l'usure des mâchoires. Vérifier que le ressort et les guides de ressort (le cas échéant) ne sont ni usés ni déformés. Pour démonter l'ensemble de nez déporté, suivre les six étapes ci-dessous. Enlever les vis de capot 30 et le capot 31. Enlever la bague de retenue 17.
- Sur l'adaptateur déported de 3/16 de pouce seulement, enlever la rondelle 18 et le joint torique 20. Enlever la rondelle nylon 19. Enlever les mâchoires 23 de l'insert 24. Enlever le joint torique 21 de la gorge des mâchoires 23. Nettoyer et examiner les composants et replacer ceux qui sont usés ou endommagés.
- Remonter dans l'ordre inverse du démontage.
Composants
Chaque ensemble de nez représente un ensemble différent de composants qu'il est possible de commander séparément. Les numéros de composant sont indiqués aux illustrations. Nous recommandons de conserver un certain stock des éléments nécessitant un remplacement périodique. Lire attentivement les instructions d'entretien des ensembles de nez.

| REFERENCES DES COMPOSANTS DES ENSEMBLES DE NEZ RONDS, DROITS A MEPLATS HORIZONTAUX ET A MEPLATS VERTICAUX | ||||||
| DESCRIPTION | ENCLUME | BOITIER DE MORS | MACHOIRES DE MORS | GUIDE DE RESSORT | RESSORT | ENTRETOISE |
| REPERE | 1 | 2 | 3 | 4 | 5 | 6 |
| QTE | 1 | 1 | 3 | 2 | 1 | 1 |
| ENSEMBLE DE NEZ | ||||||
| 07200-02500 | 07200-02501 | 07200-02101 | 07220-02101 | 07220-02104 | 07220-02103 | - |
| 07200-02600 | 07200-02601 | 07200-02201 | 07220-02302 | 07220-02104 | 07220-02103 | - |
| 07200-02700 | 07200-02701 | 07200-02101 | 07220-02102 | 07220-02104 | 07220-02103 | - |
| 07200-02800 | 07200-02801 | 07200-02201 | 07220-02302 | 07220-02104 | 07220-02103 | - |
| 07200-03300 | 07200-03301 | 07200-03302 | 07220-02302 | 07220-02104 | 07220-02103 | - |
| 07200-03500 | 07200-03501 | 07200-02201 | 07220-02302 | 07220-02104 | 07220-02103 | - |
| 07220-02000 | 07220-02001 | 07220-02002 | 07220-02003 | 07220-02603 | 07220-02605 | - |
| 07220-02700 | 07220-02601 | 07220-02701 | 07220-02606 | 07220-02603 | 07220-02605 | 07220-02604 |
| 07220-03400 | 07220-03401 | 07220-03402 | 07220-02606 | 07220-02603 | 07220-02605 | 07220-02604 |
| 07220-03500 | 07220-03501 | 07220-03502 | 07220-02003 | 07220-02603 | 07220-02605 | - |
| 07220-05600 | 07220-05401 | 07220-02701 | 07220-02606 | 07220-02603 | 07220-02605 | 07220-02604 |

| REFERENCES DES COMPOSANTS DES ENSEMBLES DE NEZ COURTS 07220-06100 | |||
| REPERE | DESCRIPTION | REFERENCE | QTE |
| 7 | CALE | 07220-06106 | 1 |
| 8 | BAGUE DE BLOCAGE | 07220-06105 | 1 |
| 9 | CAPUCHON SUVEUR | 07220-06107 | 1 |
| 10 | ENCLUME | 07220-06103 | 1 |
| 11 | MÂCHOIRE DE MORS | 07220-02003 | 3 |
| 12 | BOITIER DE MORS | 07220-06104 | 1 |
| 13 | RESSORT | 07220-06101 | 1 |
| 14 | RONDEILLE | 07220-06102 | 1 |
| 15 | CAPUCHON PROTECTEUR | 07220-02108 | 1 |

| REFERENCES DES COMPOSANTS DES ENSEMBLES DE NEZ DEPORTES | ||||
| REPERE | DESCRIPTION | ENSEMBLE DE NEZ 07220-02800 | ENSEMBLE DE NEZ 07220-09900 | QTE |
| 16 | MANCHON D'ADAPTATEUR | 07220-02805 | 07220-02805 | 1 |
| 17 | BAGUE DE RETENUE | 07004-00010 | 07004-00010 | 1 |
| 18 | RONDELLÉ | 07220-02811 | 07220-02811 | 1 |
| 19 | RONDELLÉ NYLON | 07220-02816 | - | 1 |
| 20 | JOINT TORIQUE | 07003-00026 | - | 1 |
| 21 | JOINT TORIQUE | 07003-00030 | 07003-00030 | 1 |
| 22 | BRAS ACTIONNEUR | 07220-02809 | 07220-02809 | 1 |
| 23 | MACHORES | 07220-02815 | 07220-02902 | 3 |
| 24 | INSERT | 07220-02810 | 07220-02903 | 1 |
| 25 | ENCLUME | 07220-03200 | 07220-03300 | 1 |
| 26 | CALE | 07220-02813 | 07220-02813 | 1 |
| 27 | DOUILLE DE POSITIONNEMENT | 07220-02807 | 07220-02807 | 1 |
| 28 | VIS | 07220-02814 | 07220-02814 | 1 |
| 29 | TAMPON | 07220-02812 | 07220-02812 | 1 |
| 30 | VIS DE CAPOT | 07001-00010 | 07001-00010 | 2 |
| 31 | CAPOT | 07220-02804 | 07220-02804 | 1 |
L'entretien doit être effectué de façon régulière, et une révision approfondie doit avoir lieu chaque année ou tous les 500.000 cycles, minimum.
Important
Il appartient à l'employeur de faire en sorte que les instructions de maintenance des outils soient confiées aux personnes compétentes. L'opérateur ne doit pas être impliqué dans la maintenance ou la réparation de l'outil, à moins qu'il n'ait reçu la formation appropriée.
Chaque jour
- Chaque jour, avant d'utiliser l'outil, ou lors de sa première mise en service, verser quelques gouttes d'une huile de lubrification propre dans l'arrivée d'air de l'outil, si l'alimentation pneumatique ne compte pas d'huileur. Si l'outil est utilisé de façon continue, débrancher le flexible de l'alimentation pneumatique, et lubrifier l'outil toutes les deux ou trois heures.
- Rechercher les fuites d'air. Les flexibles et raccords endommagés doivent être remplacés par des neufs.
- Rechercher les fuites d'huile. S'il n'y a pas de filtre sur le régulateur de pression, purger la conduite d'air pour la débarrasser de toute accumulation de saletés ou d'eau avant de raccorder le flexible à l'outil. Si un filtre est monté, le purger. Vérifier que l'équipement de pose monté est le bon. Vérifier que le déflecteur 52 est monté sur l'outil. Vérifier que la course de l'outil satisfait à la specification minimum (page 5). Il s'agit de la distance parcourue par le boîtier de mors avec l'équipement de pose en place, mesurée entre les positions gâchette relâchée et gâchette complètement enfoncée.
Chaque semaine
- Rechercher les fuites d'air sur les flexibles et les raccords.
- Démonter et nettoyer l'ensemble de nez, en prêtant une attention particulière aux mâchoires (lubrifier à la GRASE au bisulfure de molybdène EP 3753 avant de remonter). Lubrifier les faces de came et les faces de portée des cisailles à colletée à la grise au bisulfure de molybdène EP 3753.
Informations de sécurité graissu au bisulfure de molybdène EP 3753
La GRAISSE dont la référence figure dans le kit d'entretien de la page 14 peut être commandée seule.
Premiers secours
PEAU :
Cette graisse résistant parfaitement à l'eau, la meilleure façon de l'éliminer est d'employer un émulsifieur approuvé pour usage cutané. INGESTION:
Veiller à ce que le patient boive 30ml de lait de magnésie, de préférence dans une tasse de lait.
YEUX
Irritant, mais sans danger. Rincer à l'eau et faire appel à un médecin.
Incendie
POINT ECLAIR: supérieur à 220°C
Non classé comme inflammable.
Agents d'extinction appropriés : CO_2, Halon ou jet d'eau, si appliqué par une personne qualifiée.
Environnement
Racinez les dépôts. Les brûlez ou les mettez en décharge sur un site approuvé.
Manutention
Utiliser une crème protectrice ou des gants résistants à l'huile.
Stockage
Pour toute opération d'entretien, nous recommandons d'employer le kit d'entretien (référence 07900-02200).
| KIT D'ENTRETIEN | ||
| Référence des composants | DESCRIPTION | QTE |
| 07900-00043 | BALLE DE PISTON DE TETE | 1 |
| 07900-00130 | BALLE DE PISTON DE PUISSANCE | 1 |
| 07900-00045 | MANCHON DE CYLINDRE DE PUISSANCE | 1 |
| 07900-00150 | CLE DE BOUCHON D'ETANCHEITE, OUTIL | 1 |
| 07900-00051 | ENSEMBLE DE CLES POUR PISTON DE VALVE, OUTIL | 1 |
| 07900-00054 | TIGE DE PISTON DE VALVE | 1 |
| 07900-00055 | ENSEMBLE DE CLES POUR TIGE DE PISTON | 1 |
| 07900-00131 | ENSEMBLE D'OUTILS POUR DEMONTAGE DE LA BASE | 1 |
| 07900-00063 | BAGUE D'ARRET DE L'OUTIL DE DEMONTAGE DE LA BASE | 1 |
| 07900-00064 | ENSEMBLE DE RESSORTS DE BLOCAGE DE NEZ, OUTIL | 1 |
| 07900-00065 | ENSEMBLE CYLINDRE DE RETOUR, OUTIL | 1 |
| KIT D'ENTRETIEN (Suite) | ||
| Référence des composants | DESCRIPTION | QTE |
| 07900-00068 | ENSEMBLE PISTON DE PUISSANCE, MANCHON | 1 |
| 07900-00069 | BALLE D'ADAPTATEUR PIVOTANT | 1 |
| 07900-00070 | BOUCHON DE CYLINDRE DE PUISSANCE | 1 |
| 07900-00073 | ENSEMBLE POMPE DE PLEIN D'HUILLE | 1 |
| 07900-00077 | ENSEMBLE POUR JOINTS TORIQUES, OUTIL | 1 |
| 07900-00078 | CLE ALLEN 5/32 DE POUCE A/F | 1 |
| 07900-00079 | CLE ALLEN 3/8 DE POUCE A/F | 1 |
| 03201-00621 | BROCHE A ERGOT (pour demontage du piston pneumatique) | 1 |
| 07007-00066 | DOUILLE A CHOC 7/16 DE POUCE | 1 |
| 07900-00490 | CLE A TUBE 5/8 DE POUCE | 1 |
REMARQUE: sauf indication contraire, les dimensions des clés s'entendent "entre méplats".
Tous les 500.000 cycles, l'util doit être entièrement démonté, et les éléments usés et endommagés doivent être remplacés, ainsi que ceux qu'il est recommandé de changer. Tous les joints plats et toriques doivent être changés, avec lubrification au graissé au bisulfure de molybdène EP 3753 avant remontage.
Important
Les instructions de sécurité figurent à la page 4.
Il appartient à l'employeur de faire en sorte que les instructions de maintenance des outils soient confiées aux personnes compétentes. L'opérateur ne doit pas être impliqué dans la maintenance ou la réparation de l'outil, à moins qu'il n'ait reçu la formation appropriée.
Sauf indication contraire, l'alimentation pneumatique doit être débranchée avant toute opération d'entretien ou de démontage.
Il est recommandé d'effectuer tout démontage dans de bonnes conditions de propreté.
Procédure de démontage
Pour un entretien complet de l'outil, nous conseillons de procéder par démontage des sous-ensembles dans l'ordre indiqué ci-dessous:
Montage de la TETE
Raccorder l'outil a l'alimentation pneumatique. Appuyer sur la gachette 87 et la maintainir enfonnée. - Debrancher l'alimentation pneumatique et relâcher la gachette. Enlever les vis six pans creux 50 à l'aide de la clé Allen. Soulever et dégager l'ensemble de tête 53. Enlever la vis 75 à l'aide d'une clé Allen et enlever la rondelle 74. Laisser huielsecouler. Enlever le joint plat 51 et le joint torique 95. - Bloquer l'ensemble de tête 53 dans un etau équipé de mâchoires tendres, le cylindre de retard 56 en haut. - Placer l'util de montage du cylindre de return sur le cylindre de return 56 et serrer la vis à tête plate. A l'aide de I'outil, dévisser le cylindre de I'ensemble de tête 53. Enlever l'outil. Extraire le piston de return 58 et le ressort 59. Enlever le joint torique 60. Extraire le déflecteur de queues de rivet de son montage 61. - Enlever le montage de déflecteur 61 en enlevant la bague de retenue 65. Enlever les six vis 50 à l'aide de la clé Allen. Faire légèrement tourner le capuchon de tête 63 et le dégager en tirant. Enlever le joint torique 64, le joint 66 et le joint 67. - Placer une barre de section rectangulaire d'environ 13mm(12) d'épaissur dans la fente de l'ensemble rallonge de tête 55, et dévisser du sous-ensemble tête 68. Enlever la rondelle de butée 77 et la cale 76. Chasser à petits coups le piston de tête supérieur 54 de l'arrière de l'ensemble tête 53. Enlever le joint 73 et le joint 72 du sous-ensemble tete 68. Enlever la bague anti-extrusion 71 et le joint 70 du piston de tete 54. - La vis de régulation de pression 85 est réalisée en usine et ne doit en principipe pas être touchée. S'il est toute fois indispensable de le faire, noter le nombre de tours nécessaire pour amener la vis de régulation de pression 85 à fleur de la surface du cylindre de tête. Enlever la vis de regulation de pression 85 et extraire le ressort 84, le guide de ressort 83 et la bille d'acier 82. A l'aide d'un tournevis adapté à la fente du siège de bille 78, dévisser celui-ci du cylindre de tête. Enlever le joint 79 du cylindre de tete. Terminer le montage dans l'ordre inverse du demontage. Verifier que le guide de ressort 83 est monté dans le bon sens, et que la vis de régulation de pression 85 a été remise dans sa position d'origine. Lors du montage du piston de tete 54 dans le sous-ensemble de tete 68, utiliser la balle de piston de tete* en la montant sur le filetage du piston. - Quand l'ensemble de tête est remonté sur la poignée, des précautions doivent être prisant pour assurer un alignement correcte entre le joint plat 51, le joint torque 95 et les vis 50. Pour aider autenir un alignment correcte avec le joint torique 95 et les taraudages, you pouvez appliquer une fine couche de graisse type Molykote 111 sur le joint plat 51 et le positionner à la base de l'ensemble de tete 53. - Tout chevauchement entre le joint plat 51 et le joint torique 95 est à proscrire. La graisse va maintainir le joint plat en position quand l'ensemble de tete sera montee sur la poignee 1.
- Les repères entre parenthèses concernent les outils antérieurs au kit de service n° 14000.
- viennent à l'assemblage général et à la liste de pièces (pages 18-19).
Ensemble poignee
Raccorder l'outil a l'alimentation en air. Appuyer sur la gachette 87 sans la relacher. - Débrancher l'alimentation en air et relâcher la gachette. Déposer les vis 50 à l'aide d'une clé Allen. Enlever l'ensemble tete 53. Vider l'huile de la poignee dans un recipient approprié. A l'aide d'une clé, déposer le boulon de pivotement 23. A l'aide d'une clé Allen, déposer les quatre vis 44 et enlever l'ensemble valve 18. - Retourner la poignée et déposer la bague de retenue 38 à l'aide d'un tournevis approprié. Soulever le capot de base 35. A l'aide d'un tournevis approprié, enlever la bague de retenue 36. - Mettre en place la bague d'arrêt sur la base de la poignée 2. - Mettre en place l'util de démontage sur la base de la poignée 2, et aligner deux des vis de l'util de démontage avec deux trous taraudés de la base de la poignée 34. - Engager et serrer les deux vis fournies. Visser les trois vis restantes jusqu'à ce que la base de la poignée 34 soit libérée. Enlever la bague de retenue 33, l'ensemble tampon 32, et le joint torique 37 de la base de la poignee 34. Pour enlever le sous-ensemble piston pneumatique 40, introduire la clé pour tige de piston dans le sommet de l'ensemble piston de puissance 47. A l'aide d'une douille de 3/8 appropriée et d'une ballonge, dévisser l'écrou 39. Chasser à petits coups l'ensemble piston de puissance 47 du sous-ensemble piston pneumatique 40. - Introduire la broche à ergot dans le trou du sous-ensemble piston pneumatique 40 et extraire le sous-ensemble piston pneumatique de la poignée 2. Enlever le joint 31 du sous-ensemble piston pneumatique 40. - Dégager en le poussant l'ensemble piston de puissance 47 du sommet de la poignée 2. Enlever le joint 48 et la bague anti-extrusion 49. - Placer la poignée 2, cylindre pneumatique vers le haut, dans un etaquiépè de mâchoires tendres. - Engager les ergots de la clé pour bouchon d'étanchéité dans les trouss du bouchon d'étanchéité 3 et dévisser ce dernier. Enlever le joint torique 13 de la poignee 2. Enlever les bagues de retenue 10 des deux extrémités du bouchon d'étanchéité 3 et dégager en les boulevant la rondelle 6, le joint 12 et la bague anti-extrusion 5 du haut du bouchon d'étanchéité 3. Dégager en les boulevant la rondelle 6 et le joint torique 4 du bas du bouchon d'étanchéité 3. Retirer la poignee 2 de I'etau et la placer en position verticale, c'est-à-dire reposant sur le cylindre pneumatique. A l'aide de I'util de demontage et de remontage du cylindre de puissance*, taper a petits coups sur le cylindre de puissance 8 vers le bas jusqu'à ce qu'il soit libre. Enlever du cylindre de puissance 8 le joint 9 et le joint torque 11. Enlever le manchon de gachette 89 à l'aide de la clé à tube. Extraire la gachette 87 et enlever le joint torque 88. - Assembler le joint 9 sur le cylindre de puissance 8 à l'aide de l'outil de montage pour joint torque. - Avant de monter le cylindre de puissance 8 sur la poignée 2, placer le manchon de l'ensemble piston de puissance sur le joint 9. Reposer le joint torique 11 sur le cylindre de puissance 8. - Avant de monter l'ensemble piston de puissance 47, monter la balle de piston de puissance sur la tige, et le manchon de l'ensemble piston de puissance sur le piston. - Avant de remonter les joints toriques 24 sur le joint tournant 23, placer la balle d'adaptateur de joint tournant* sur le filetage du joint tournant. Terminer le remontage en sens inverse du demontage. Veiller à remonter les joints et les bagues anti-extrusion dans le bon ordre. - Quand l'ensemble de tête est remonté sur la poignée, des précautions doivent être prisent pour assurer un alignement correcte entre le joint plat 51, le joint torque 95 et les vis 50. Pour aider a tener un alignment correcte avec le joint torique 95 et les taraudages, vous pouze appliquer une fine couche de graisse type Molykote 111 sur le joint plat 51 et le positionner à la base de l'ensemble de tete 53. - Tout chevauchement entre le joint plat 51 et le joint torique 95 est à
- Signale les éléments faisant partie du kit d'entretien 07220. Voir la liste complète à la page 14.
Les repères en caractères gras renvoient à l'assemblage général et à la liste de pièces (pages 18-19).
VALVE pneumatique
Enlever le siège de valve 45 et le joint plat 41, avec le tiroir 42 et son ressort 43. - Dévisser la butée de valve 20 du bloc de valve 19 à l'aide d'une clé appropriée. Extraire le ressort 21. - Dévisser le bouchon du cylindre de valve 30 du bloc de valve 19 et retirer le joint plat 28. - Introduire une tige de dimensions appropriées dans le puits de valve 26. Engager les ergots de l'ensemble clé de piston de valve dans les trous du piston de valve 29, et dévisser. Enlever le joint torique 27. - Remonter dans l'ordre inverse du démontage.
Silencieux
Enlever les deux vis six pans creux 91 et extraire le silencieux 93 et le joint plat Néopène 90. Nettoyer soigneusement le silencieux ou le changer s'il est usé, avant de remonter.
Important
Pratiquer sur l'outil les vérifications et opérations correspondant à l'entretien journalier et hebdomadaire.
Un plein d'huile est TOUJOURS nécessaire après un démontage de l'outil, et avant toute utilisation.
COUPE C-C
COUPE A-A
COUPE B-B

DISPOSITION DES JOINTS DES OUTILS ANTERIEURS AU KIT D'ENTRETIEN N°14000
LISTES DES PIECES 07220-00200
| Repère | REFERENCE | DESCRIPTION | QTE | Rechange | Repère | REFERENCE | DESCRIPTION | QTE | Rechange |
| 1 | 07220-07300 | ENSEMBLE POIGNEE | 1 | - | 50 | 07001-00001 | VIS | 12 | 24 |
| 2 | 07220-07301 | • POIGNEE | 1 | - | 51 | 07220-00201 | JOINT PLAT | 1 | 5 |
| 3 | 07220-00304 | • BOUCHON D'ETANCHEITE | 1 | 1 | 52 | 07220-00215 | DEFLECTEUR | 1 | 10 |
| 4 | 07003-00058 | • JOINT TORIQUE | 1 | 10 | 53 | 07220-00400 | ENSEMBLE DE TETE | 1 | - |
| 5 | 07003-00006 | • BAGUE ANTEXTRUSION | 1 | 5 | 54 | 07220-00403 | • PISTON DE TETE | 1 | - |
| 6 | 07220-00306 | • RONDELLE | 2 | 10 | 55 | 07220-01500 | • ENSEMBLE RALLYNGE DE TETE | 1 | - |
| 7 | 56 | 07220-00414 | • CYLINDRE DE RETOUR | 1 | - | ||||
| 8 | 07220-00303 | • CYLINDRE DE PUISSANCE | 1 | - | 57 | 07004-00004 | • BAGUE DE RETENUE | 1 | - |
| 9 | 07003-00003 | • JOINT | 1 | 10 | 58 | 07220-00416 | • PISTON DE RETOUR | 1 | - |
| 10 | 07004-00002 | • BAGUE DE RETENUE | 2 | 5 | 59 | 07220-00417 | • RESSORT | 1 | 5 |
| 11 | 07003-00064 | • JOINT TORIQUE | 1 | 10 | 60 | 07003-00012 | • JOINT TORIQUE | 1 | 10 |
| 12 | 07003-00005 | • JOINT | 1 | 10 | 61 | 07220-00405 | • MONTAGE DE DEFLECTEUR | 1 | - |
| 13 | 07003-00004 | • JOINT TORIQUE | 1 | 5 | 62 | ||||
| 14 | 07003-00380 | ANNEAU DE NETTOYAGE | 1 | 5 | 63 | 07220-00425 | • CAPUCHON DE TETE | 1 | - |
| 15 | 07003-00378 | JOINT A LEVRE | 1 | 5 | 64 | 07003-00068 | • JOINT TORIQUE | 1 | 5 |
| 16 | 07003-00379 | JOINT A LEVRE | 1 | 5 | 65 | 07004-00003 | • BAGUE DE RETENUE | 1 | 10 |
| 17 | 07220-00430 | CAPUCHON DE TETE | 1 | - | 66 | 07003-00117 | • JOINT | 1 | 5 |
| 18 | 07220-00500 | • ENSEMBLE VALVE | 1 | - | 67 | 07003-00118 | • JOINT | 1 | 5 |
| 19 | 07220-00511 | • BLOC DE VALVE | 1 | - | 68 | 07220-01400 | • SOUS-ENSEMBLE TETE | 1 | - |
| 20 | 07220-00507 | • BUTEE DE VALVE | 1 | - | 69 | 07220-00415 | • RESSORT | 1 | 5 |
| 21 | 07220-00506 | • RESSORT | 1 | 2 | 70 | 07003-00007 | • JOINT | 1 | 10 |
| 22 | 07003-00017 | • JOINT TORIQUE | 1 | 5 | 71 | 07003-00008 | • BAGUE ANTI-EXTRUSION | 2 | 5 |
| 23 | 07220-00509 | • JOINT TOURSANT | 1 | - | 72 | 07003-00116 | • JOINT | 2 | 10 |
| 24 | 07003-00105 | • JOINT TORIQUE | 2 | 5 | 73 | 07003-00115 | • JOINT | 1 | 5 |
| 25 | 07220-00508 | • PIVOT | 1 | - | 74 | 07220-00424 | • RONDELLE | 1 | 15 |
| 26 | 07220-00503 | • PUTS DE VALVE | 1 | - | 75 | 07001-00089 | • VIS | 1 | - |
| 27 | 07003-00147 | • JOINT TORIQUE | 1 | 10 | 76 | 07220-00409 | • CALE | 1 | 10 |
| 28 | 07220-00512 | • JOINT PLAT | 1 | 5 | 77 | 07220-00407 | • RONDELLE DE BUTEE | 1 | 5 |
| 29 | 07220-00504 | • PISTON DE VALVE | 1 | - | 78 | 07220-00411 | • SIEGE DE BILLE | 1 | - |
| 30 | 07220-00505 | • BOUCHON DE CYLINDRE DE VALVE | 1 | - | 79 | 07003-00011 | • JOINT | 1 | 5 |
| 31 | 07003-00020 | JOINT | 1 | 5 | 80 | 07003-00099 | • JOINT | 2 | 10 |
| 32 | 0722001100 | ENSEMBLE TAMPON | 1 | 1 | 81 | 07001-00008 | • VIS | 2 | 10 |
| 33 | 07004-00035 | BAGUE DE RETENUE | 1 | - | 82 | 07007-00043 | • BILLE | 1 | 5 |
| 34 | 07220-00220 | BASE DE POIGNEE | 1 | - | 83 | 07220-00429 | • GUIDE RESSORT | 1 | 2 |
| 35 | 07220-00222 | CAPOT DE BASE | 1 | - | 84 | 07220-00428 | • RESSORT | 1 | 5 |
| 36 | 07004-00001 | BAGUE DE RETENUE | 1 | - | 85 | 07220-00420 | • VIS DE REGULATION DE PRESSION | 1 | 5 |
| 37 | 07003-00002 | JOINT TORIQUE | 1 | 10 | 86 | 07220-00800 | ENSEMBLE GACHETTE | 1 | - |
| 38 | 07004-00034 | BAGUE DE RETENUE | 1 | - | 87 | 07220-00801 | • GACHETTE | 1 | - |
| 39 | 07002-00017 | ECROU | 1 | 5 | 88 | 07003-00022 | • JOINT TORIQUE | 1 | 10 |
| 40 | 07220-01300 | SOUS-ENSEMBLE PISTON PNEUMATIQUE | 1 | - | 89 | 07220-00803 | • MANCHON DE GACHETTE | 1 | - |
| 41 | 07220-00208 | JOINT PLAT | 1 | 5 | 90 | 07220-00227 | JOINT PLAT | 1 | 5 |
| 42 | 07220-00202 | TIROIR | 1 | - | 91 | 07001-00109 | VIS | 2 | 10 |
| 43 | 07220-00204 | RESSORT | 1 | 1 | 92 | 07220-00225 | PLAQUE DE FERMETURE | 1 | 1 |
| 44 | 07001-00002 | VIS | 4 | 12 | 93 | 07220-00226 | SILENCIEUX | 1 | 1 |
| 45 | 07220-00206 | SIÉGE DE VALVE | 1 | - | 94 | 07220-00216 | ETIQUETTE | 1 | - |
| 46 | 07220-00205 | JOINT PLAT | 1 | 5 | 95 | 07003-00001 | JOINT TORIQUE | 1 | 10 |
| 47 | 07220-01200 | ENSEMBLE PISTON | 1 | - | 96 | 07220-00217 | TRANSFERT | 1 | - |
| 48 | 07003-00018 | JOINT | 1 | 5 | |||||
| 49 | 07003-00019 | BAGUE ANTI-EXTRUSION | 2 | 5 |
Le plein d'huile est TOUJOURS nécessaire après un démontage de l'outil et avant toute utilisation. Il peut également être utile pour restaurer la totalité de la course après une utilisation prolongée, si l'on constate que la course diminue et que les rivets ne sont pas complètement posés en une seule action sur la gachette.
Huile
L'huile recommandée pour le plein d'huile est la Hyspin® VG32, qui existe en bidons de 0,5 litre, référence 07992-00002, ou de 1 gallon (4,5 litres), référence 07992-00006. Prieur de consulter les informations de sécurité ci-dessous :
Premiers secours
PEAU :
Laver soigneusement, à l'eau et au savon, dès que possible. Un contact occasionnel ne requiert pas de soins immédiats. Un contact de courte durée ne requiert pas de soins immédiats.
INGESTION :
Faire appel immédiatement à des soins médicaux. NE PAS faire vomir le patient.
YEUX
Rincer immédiatement à l'eau courante pendant plusieurs minutes. Quoique cette huile NE SOIT PAS très irritante, une légère irritation peut apparaître suite au contact.
Incendie
Agents d'extinction appropriés : CO_2, poudre sèche, mousse ou brouillard d'eau. NE PAS employer de jet d'eau.
Environnement
MISE EN DECHARGE: Sur site homologué par les soins d'une société agrée. Peut être incinérée. Le produit usageé peut être recyclé. PRODUIT REPANDU: empêcher la contamination par le produit des evacuations, égouts et cours d'eau. Eponger avec une substance absorbante.
Manutention
Porter une protection oculaire, des gants imperméables (PVC, par exemple), et un tablier plastique. Employer dans des locaux bien aérés.
Stockage
Pas de précautions particulières.
NE PAS actionner la gachette TANT que la VIS de PURGE n'est PAS en PLACE.
Ces opérations ne doivent être effectuées que sur un établi propre, avec des mains propres et dans un endroit propre. Vérifier que la pompe de plein d'huile ne contient pas de corps étrangers, et que l'huile est parfaitement propre et sans bulles d'air. VEILLER à tout moment à éviter que des corps étrangers ne pénétrent dans l'outil, ce qui pourrait causer de graves dommages.
Nettoyer soigneusement l'extérieur de l'outil de pose. - Placer l'outil en position verticale sur l'établi et brancher l'alimentation pneumatique. Appuyer sur la gachette 87 et la maintenir enfoncée, et pendant que le sous-ensemble piston pneumatique 40 est en position basse, débrancher l'alimentation pneumatique de l'outil. - Pousser le piston de tête 54 en position arrêté. Enlever la vis inférieure avant 81 et le joint 80. Raccorder la pompe de plein d'huile référence 07900-00073, remplie d'huile. Enlever la vis supérieure arrière 81 et le joint 80 du côté opposé de la tête. À l'aide de la pompe de plein d'huile, injecter de l'huile jusqu'à ce que l'huile ressortant coule librement et sans bulles. - Remettre en place la vis supérieure arrière 81 et le joint 80. Enlever la vis avant 75 et sa rondelle 74 du sommet du bloc avant de la tête. Continuer à pomper de l'huile jusqu'à ce que l'huile ressortant coule librement et sans bulles. - Remettre en place la vis 75 et sa rondelle 74. Raccorder l'outil à l'alimentation pneumatique. Le piston de tête repart immédiatement en position avant, en refoulant l'excédent d'huile et d'air vers la pompe de plein d'huile. Enlever la pompe de plein d'huile et remettre en place la vis 81 et le joint 80.
Les repères en caractères gras renvoient à l'assemblage général et à la liste de pièces (pages 40-41).
| Symptome | Cause Possible | Remede | Ref de Ref |
| Course trop courte ou-retour incomplet | Pression d'air réduite | Régler la pression d'air. Rechercher les fuites | 7 |
| Fuite du joint plat de la tête/poignée | Remplacer le joint plat | ||
| Niveau d'huile trop bas dans l'outil, ou présence d'air dans l'huile | Refaire le plein d'huile de l'outil | 20 | |
| L'outil ne saisit pas bien le rivet | L'ensemble de nez monté n'est pas le bon | Monter l'ensemble de nez correct | 10 |
| Mâchoires brisées dans l'ensemble de nez | Remplacer | 11 | |
| Mâchoires usées ou sales | Nettoyer ou changer selon le cas | 11 | |
| L'outil ne casse pas le rivet | Pression d'air insuffisante | Régler la pression d'air / vérifier qu'il n'existe aucune fuite d'air | 7 |
| Le rivet n'est pas de la bonne longueur | Utiliser un rivet de la bonne longueur | ||
| L'outil a besoin d'être réamorcé | Refaire le plein d'huile de l'outil | 20 | |
| Silencieux d'échévement de l'outil sale | Nettoyer le silencieux | ||
| Valve de commande sale | Enlever / nettoyer la valve | ||
| L'outil ne refoule pas la collerette | Pression d'air insuffisante | Régler la pression d'air | 7 |
| Enclumes usées | Changer | ||
| L'outil a besoin d'être réamorcé | Refaire le plein d'huile de l'outil | 20 | |
| Enclume de refoulement fissurée | Changer | ||
| Le rivet n'est pas de la bonne longueur | Utiliser un rivet de la bonne longueur | ||
| L'outil ralentit et cesse de fonctionner | Silencieux d'échéancement de l'outil encrassé | Nettoyer le silencieux | 17 |
| Valve de commande sale | Déposer et nettoyer la valve |
Déclaration de conformité
Nous, Avdel UK Limited ; Watchmead Industrial Estate, Welwyn Garden City, Hertfordshire, AL7 1LY Royaume-Uni, déclarons sous notre seule responsabilité que le produit:
Modèle 07220
Numéro de série
Faisant l'objet de la présente déclaration est conforme aux normes suivantes :
EN ISO 12100 - Parties 1 et 2
BS EN ISO 8662 - Partie 6 BS EN ISO 11202
BS EN ISO 3744 BS EN 982
ISO EN 792 - Partie 13-2000 BS EN 983
selon les dispositions de la Directive 98/37/EC

A. Séewraj - Directeur, Services techniques de fabrication - outils d'automatisation
Date d'émission

Cette boîte contient un outil pneumatique en conformité avec la Directive sur les machines 98/37/EC.
La « Déclaration de conformité » est jointe.
891 Wellington Road
33 bis, rue des Ardennes
BP4
75921 Paris Cedex 19
Tel: +33 (0) 1 4040 8000
Fax: +33 (0) 1 4208 2450
Email: AvdelFrance@acument.com
Notice Facile