07537 - Outil pneumatique AVDEL - Notice d'utilisation et mode d'emploi gratuit
Retrouvez gratuitement la notice de l'appareil 07537 AVDEL au format PDF.
| Type d'outil | Outil oléo-pneumatique |
| Alimentation | Air comprimé et huile |
| Pression de fonctionnement | Non précisé |
| Consommation d'air | Non précisé |
| Vitesse de fonctionnement | Non précisé |
| Poids | Non précisé |
| Longueur | Non précisé |
| Type de raccord | Raccord pneumatique standard |
| Utilisation recommandée | Applications industrielles et de montage |
| Matériau du corps | Non précisé |
| Type de poignée | Poignée pistolet |
| Mode de commande | Gâchette |
| Maintenance | Lubrification régulière requise |
| Accessoires inclus | Non précisé |
| Garantie | Non précisé |
FOIRE AUX QUESTIONS - 07537 AVDEL
Questions des utilisateurs sur 07537 AVDEL
0 question sur cet appareil. Repondez a celles que vous connaissez ou posez la votre.
Poser une nouvelle question sur cet appareil
Téléchargez la notice de votre Outil pneumatique au format PDF gratuitement ! Retrouvez votre notice 07537 - AVDEL et reprennez votre appareil électronique en main. Sur cette page sont publiés tous les documents nécessaires à l'utilisation de votre appareil 07537 de la marque AVDEL.
MODE D'EMPLOI 07537 AVDEL
Manuel d'instructions
Betriebsanleitung
Outil oléo-pneumatique
Attrezzo oleopneumatico
Safety Rules 4
Specifications
Régles de Sécurité 34
\section*{Caracteristiques}
Caracteristiques de L'outil 07537 35
Dimensions de L'outil 35
Utilisation Prévue 36
Mise en Service
Alimentation Pneumatique 37
Curseur Mecanique 38
Curseur 39
Chargement et Rechargement de L'outil 39
Chargement de L'outil 40
Rechargement de L'outil 40
Procedure D'utilisation 40
Identification et Orientation des
Ressorts D'aiguille 41
Ensembles de Nez
Nez de Pose 42
Selection d'un Nez de Pose 43
Selection des Nez de Pose - Mesures Anglo-Saxonnes 44
Selection des Nez de Pose-Metrique 45
Aiguilles et Ressorts D'iguille 46
Chobert et Grov - Mesures Anglo-Saxonnes 46
Chobert et Grov - Metrique 47
Briv - Mesures Anglo-Saxonnes 48
Types de Cônes D'aiguille et Longueur 'P' 49
Briv® - Metrique 49
Avlug®, Avset®, Avtronic® et Rivscrew® Mesures Anglo
Saxonnes-Metrique 50
Entretien de L'outil
Chaque Jour 51
Chaque Semaine 51
Graisse au Bisulfure de Molybdene EP 3735
Informations de Sécurité 51
Informations de Sécurité Graisse MolyKote® 55m 52
Informations de Sécurité Graisse MolyKote® 111 52
Kit D'entretien 53
Entretien
Démontage de L'util 07537-00200 54-55
07537-00200 - Assemblage Général
et Lieste de Pièces 56-57
Plein D'huile
Huile 58
Information de Sécurité Hyspin® VG 32 et AWS (Huile) 58
Pump Pour de Plein D'huile 58
Procedure de Plein D'huile 59
Diagnostic des Defaults
Symptôme, Cause Possible et Remède 60
GARANTIE LIMITEE.
Les termes de la garantie limitée Avdel confirment l'engagement de cette dernière vis-à-vis de produits exempts de vices de fabrication et de matériaux et ce dans des conditions d'utilisation normales. Cette garantie limitée tient compte des restrictions suivantes : (1) le produit sera installé, entretenu et exploité conformément à la documentation et au mode d'emploi y'affrents et (2) Avdel aura confirmé le vice signalé après inspection et tests. La garantie limitée Avdel susdite est valable douze (12) mois, à compter de la livraison du produit par Avdel à l'acheteur direct du produit Avdel. Le renvoi des marchandises défectueuses constitue le recours exclusif en cas de manquement à la garantie susdite ; celles-ci seront replacées ou remboursées au prix d'achat, la décision en la matière appartenant à Avdel. LA GARANTIE LIMITEE EXPRESSE ET LE RECOURS SUSDITS SONT EXCLUSIFS ET SE SUBSTITUENT A TOUS AUTRES GARANTIES ET RECOURS. AVDEL DESAVOUE ET EXCLUT SPECIFIQUÉMENT Toute GARANTIE IMPLICITE DE QUALITE, D'APTITUDE A L'EMPLOI ET DE COMMERCIABILITE DU PRODUIT.
Toute personne participant à l'installation, à l'utilisation ou à l'entretien de cet outil doit dire attentivement ce manuel.
1 Ne pas employerer à d'autres usages que celui prévu.
2 Ne pas utiliser avec cet outil/cette machine d'autres matériels que ceux recommendés et fournis par Avdel UK Limited.
3 Toute modification apportee par le client a l'outil ou a la machine, aux ensembles de nez, aux accessoires ou a tout autre materiel fourni par Avdel UK Limited ou ses représentants relève de la seule et entière responsabilité du client. Avdel UK Limited donnera volunteered son avis sur toute modification envisagée.
4 L'outil ou la machine doit être maintainen en permanence en état de fonctionner sans danger et leur bon état et fonctionnement doivent être vérifiés à intervalles réguliers par un personnel compétent et ayant reçu la formation adequate. Toute opération de démontage ne doit être entreprise que par des personnes formées aux procédures Avdel UK Limited. Ne pas démonter cet outil/cette machine avant d'avoir consulté les instructions de maintenance. Prière de contacter Avdel UK Limited en indiquant vos besoins en formation.
5 L'outil ou la machine doit à tout moment être utilisés conformément à la législation d'hygiene et de sécurité conforme aux règlements du Ministère du Travail en application de l'article R233-69 du code du travail. Tout question relative à la bonne utilisation de l'outil ou de la machine et à la sécurité de l'opérateur doit être adressée à Avdel UK Limited.
6 Il apparient au client d'explainer à chaque opérateur les précautions à respecter lors de l'utilisation de l'outil ou de la machine.
7 Toujours debrancher le tuyau d'air du raccord d'arrivee de l'outil ou de la machine avant tout reglage, montage ou demontage d'un ensemble de nez.
8 Ne pasmettre en marche un outil ou une machine diriges vers une/despersonne(s).
9 L'opérateur veillera adopter une position équilibrée et stable avant d'utiliser l'outil/la machine.
10 S'assurer que les orifices de mise à l'atmosphère ne viennent pas à être obstrués ou masqués et que les flexibles sont toujours en bon état.
11 La pression d'utilisation ne doit pas dépasser 7 bars.
12 La combinaison fixation, aiguille, dimension du trou et épaissur de tôle doit être conforme aux specifications imposées par Avdel UK Limited.
13 Ne pas utiliser l'outil si celui-ci n'est pas muni d'un ensemble de nez complet, à moins d'une consigne contraire explicite.
14 Lors de l'utilisation de l'outil, l'opérateur et les personnes se trouvant à proximé doivent impérativement porter des lunettes de sécurité pour se protégger contre l'éjection des fixations en cas de pose 'en l'air'. Nous recommendons le port de gants en cas de présence d'arêtes ou d'angles vifs sur l'application.
15 Veiller à ne pas laisser des vêtements amples, cravates, cheveux longs, chiffons de nettoyage, etc. se prendre dans les parties mobiles de l'outil. L'outil doit être maintainu sec et propre pour donner la meilleure prise.
16 Lors du transport de l'outil, éloigner les mains de la gachette ou du levier pour éviter un déclenchement intempéstif de l'outil.
17 Tout contact excessif avec de l'huile hydraulique doit etre evite. Veiller a bien se laver pour eviter tout risque d'eruption cutanee.
IMPORTANT
Bien qu'une usure et un marquage limités des aiguilles soient inévitables suite à leur utilisation normale et correcte, l'on veillera à les examiner régulièrement à la recherche de signes d'usure ou de marquage excessifs, en particulier au niveau du diamètre du côte et de la zone de prise des mâchoires d'aiguille du fut, de signes de pique intensif du fut ou de déformation de l'aiguille. Un dysfonctionnement de l'aiguille en cours d'utilisation pourrait provoquer son éjection de l'outil. La responsabilité de veiller à ce que les aiguilles soient replacées avant d'atteindre un niveau excessif d'usure et toujours avant le nombre maximum de poses préconisé, incombe au client. Contacter le représentant Avdel UK Limited le plus proche, qui se chargerà de fournir cette information en mesurant la force de mandrinage de votre application à l'aide d'un outil de test calibre. Ces outils sont également vendus sous la référence 07900-09080 et sont fournis avec toute l'information nécessaire aux tests incluse dans ce manuel.
| Pression d'air | minimum - maximum | 5 - 7 bars |
| Volume d'air libre nécessaire | @ 5,1 bars / 75 lbf/in2 | 2,6 litres |
| Course | minimum | 28 mm |
| Force de Traction | @ 5,5 bars / 80 lbf/in2 | 3,89 kN |
| Cycle de Pose | environ | 1 seconde |
| Niveau Sonore | Inférieur à | 70 dB(A) |
| Poids | Outil | 2.3 kg |
| Vibration | Inférieur à | 2,5 m/s2 |
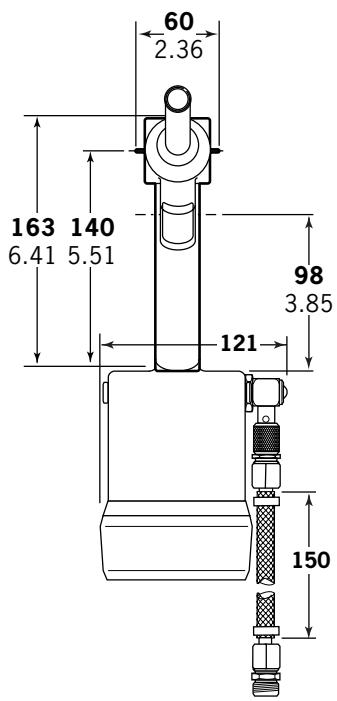
Dimensions de L'outil


L'outil pneumatique 07537 est un outil à main léger concu pour la pose de fixations rapides Avdel® (sauf Avlug® 1/16") ; il convient tout particulièrement à l'assemblage enlots ou chaîne continue requis par un large évendant d'applications, toutes industries confondues.
Les nombres de reference indiqués permettent de commander un outil complet, sans équipement de pose.
Le numero de referencia de l'outil du modele 07537 est 07537-00200. Voir la rubrique Assemblage général des pages 56-57.
L'outil convient à la pose de la plupart des fixations à répétition, comme le montre le tableau ci-dessous.
L'outil est utilisé avec un équipement de pose spécifique. La sélection des composants compatibles avec le type et les dimensions de la fixation utilisée par votre application doit s'effectuer à partir de la rubrique Equipement de pose du manuel (voir pages 42-50). Les dimensions des nez de pose sont listedes sur les pages 43.
| NOM DE LA FIXATION | TAILLE DE LA FIXATION | |||||||||||
| 2,4 mm | 3,2 mm | 4,0 mm | 4,8 mm | 6,4 mm | 2,5 mm 2,8 mm | 3 mm | 3,5 mm | 4 mm | 6 mm | M2.5 4-40 UNC | M3 6-32 UNC | |
| CHOBERT® | ● | ● | ● | ● | ● | |||||||
| GROV® | ● | ● | ● | ● | ||||||||
| AVLUG® | ● | ● | ||||||||||
| BRIV® | ● | ● | ● | ● | ● | |||||||
| RIVSCREW® | ● | ● | ● | ● | ||||||||
| AVTRONIC® | ● | |||||||||||
| AVSERT® | ● | ● | ||||||||||
Tous les outils sont actionnés à l'air comprime, à la pression optimale de 5,5 bars. Nous recommendons l'utilisation de réguleurs de pression et de dispositifs automatiques de filtration et d'huilage sur le circuit d'alimentation pneumatique. Ces apparéils doivent être montés à 3 mètres au plus de l'outil (voir le schéma ci-dessous) afin d'assurer à l'outil une durée de vie maximum et une maintenance minimum.
Les flexibles d'alimentation en air doivent avoir une résistance nominale en pression égale à au moins 150% de la pression maximum produit par le système, ou à 10 bars, minimum. Ces flexibles doivent résister à l'huile, avoir une paroi extérieure résistant à l'abrasion, et ils doivent être armés si les conditions d'utilisation serontent un risque de détérioration. Tous les flexibles d'air DOIVENT IMPERATIVÉMENT avoir un diamètre interieur minimum de 6,4 millimétres.
Lire le détaill des opérations d'entretien quotidien, page 51.


Il existe trois types de curseurs mécaniques différents, adaptés aux diverses références :
07271-01100
Utilisé pour les aiguilles standards et jatables 5/32^n
07279-05843
les aiguilles jetables 1 / 8
07279-05845
les aiguilles jétables 3 / 16
La différence entre les ensembles ci-dessus correspond au diamètre interne de l'obturator.

Ces éléments sont codés couleur, comme suit :
| REF. PIECE DE CURSEUR MECANIQUE. | REF. PIECE OBTURATEUR | COLORIS | DIAMETRE DU TROU (en mm) |
| 07271-01100 | 07150-00402 | ACIER | 2.7 |
| 07279-05843 | 07159-05844 | OR | 2.2 |
| 07279-05845 | 07159-05846 | ARGENT | 3.3 |
IMPORTANT
S'il n'est pas correctement monté, le curseur mécanique ne permet pas l'alimentation en fixations.
Bien que le curseur mécanique soit monté dans le bon sens à la livraison de l'outil, nous recommendons de vérifier son orientation avant de monter l'équipement de pose. Le côté légèrement concave, portant le ressort, du curseur mécanique doit être orienté vers l'avant de l'outil, comme indiqué sur l'illustration ci-dessous.
Lorsqu'il est monté dans le bon sens, le curseur mécanique sort facilement du canon quand on introduit une aiguille dans son centre, et qu'on la retire ensuite.
Pour inverser l'orientation du curseur mécanique, procéder de la façon suivante :
Les nombres de repère en caractères gras renvoient à la rubrique Assemblage général & liste de pieces de l'outil 07537-00200 des pages 56-57.
- Retirer le clip 48 et faire coulisser l'obturateur 50 pour le retarder.
- A l'aide d'une clé Allen, retireur une des vis à tête cylindrique 5, en veillant à bien purger l'air. Retirer l'autre vis à tête cylindrique 5.
Faire sortir l'obturateur arrriere 47. - Extraire l'ensemble piston des machoires d'aiguille 51 avec les machoires 34.
Dégager le ressort 35 et le carter portemâchoires 41. - Introduire une aiguille dans le trou situé à l'arrière du canon 44 jusqu'à ce qu'elle dépasse à travers l'avant du canon, puis extraire ensemble l'aiguille et le curseur mécanique par l'avant.
- Remonter les composants dans l'ordre inverse du démontage.
- Introduire l'ensemble Curseur mécanique 36 par l'avant du canon et dans le bon sens.

Chargement et Rechargement de L'outil
IMPORTANT
Le chargement de l'outil et le montage de l'équipment de pose sur l'outil ne sont qu'une même opération.
Lors de la commande d'un outil complet, la livraison comprend en原則 l'équipment de pose correspondant au type de fixation à poser. Pour identifier les composants de l'équipment de pose et selectionner les bons éléments, consulter la rubrique équipements de pose, pages 42-50.
Si le matériel livre comprend unnez de pose,des aiguilles et des ressorts d'iguille,passer au chargement de l'outil et au montage de I'equipement de pose en suivant les etapes de la page suivante.
Les numeros de repere en caractetes gras revoient à la rubrique Assemblage general & listede pieces de l'util 07537-00200 des pages 56-57.
Mise en Service
Chargement de l'outil
Raccorder l'outil à l'alimentation pneumatique.
Ouvr les machoires d'aiguille 34 en prise sur l'aiguille en coupant l'interrupteur de serrage machoires (repères 22 et 23).
- Visser lenez de pose selectionné sur le canon 25 de l'outil.
^* Introduire une aiguille du cote tige des fixations, à travers le chargeur carton.
Faire coulisser le ressort d'iguille sur l'aiguille en vérifant sa bonne orientation, comme indiqué sur le tableau de la page 41.
- En tenant le côté tige de l'aiguille, arracher le chargeur carton qui entoure les fixations.
Ouvrir le nez de pose soit en faisant tourner la bague extérieure des machoires actionnées par came, soit en poussant vers l'extérieur sur l'extrémité des machoires, de la façon illustrée ci-dessous à gauche.
- Introduire dans le nez de pose l'ensemble aiguille, ressort et fixations préalablement réalisé jusqu'à ce que la première fixation à poser dépasse du nez de pose.
- Fermer le nez de pose et régler de telle sorte que la première fixation dépasse de 1,5 à 3 mm, de la façon illustrée ci-dessous à droite.
- Fermer les machoires d'aiguille pour bien assurer le blocage de l'aiguille, en actionnant l'interrupteur de serrage machoire (repères 22 et 23).


Rechargement de l'outil
Ouvr les machoires d'aiguille 34 de l'outil.
Ouvrir le nez de pose et extraire de l'outil l'aiguille vide et le ressort.
- Recharger l'util en suivant les instructions ci-dessus, en partant de l'étape ^* .
Procedure d'utilisation
IMPORTANT
Il est essentiel de vérifier que l'orientation du curseur mécanique et de l'équipement de pose est correcte avant toute utilisation de l'outil.
Pousser la fixation depassant du nez de pose à fond dans le trou de l'application, en maintainant l'outil bien d'équre.
Actionner la gachette et la maintainir enfoncée. Le cune d'aiguille est tiré à travers la fixation, ce qui provoque le formage de la fixation dans l'application.
Enlever l'outil.
- Relacher la gachette. La fixation suivant se presente automatique dans le nez de pose, prete à la pose.
Les nombres de repère en caractères gras reivoient à la rubrique Assemblage général & liste de pieces de l'util 07537-00200 des pages 56-57.
| IDENTIFICATION ET ORIENTATION DES RESSORTS D'AIGUILLE | ||||
| FIXATION | NEZ DE POSE(VOIR LA RUBRIQUE EQUIPEMENT DE POSE) | TAILLEDE L'AIGUILLE | ENSEMBLE AIGUILLE /RESSORT / FIXATION | |
| NOM | TAILLE | |||
| BRIV® | 3/32" | STANDARD BISEAUTE | TOUTES | RESSORT D'AIGUILLECONE D'AIGUILLEVIROLERESSORTAIGUILLE |
| 3/32" | ACCES LIMITE ET ACCESLIMITE ACTIONNE A CAME | TOUTES | - - - - - - - - - - - - - - - - - - - - - - - - - - - - - - - - - - - - - - - - - - - - - - - - - - - - - - - - - - - - - - - - - - - - - - - - - - - - - - - - - - - - - - - - - - - - - - - - - - - - - | |
| 1/8" | TOUS | TOUTES | - - - - - - - - - - - - - - - - - - - - - - - - - - - - - - - - - - - - - - - - - - - - - - - - - - - - - - - - - - - - - - - - - - - - - - - - - - - - - - - - - - - - - - - - - - - - - - | |
| 5/32" | TOUS | TOUTES | - - - - - - - - - - - - - - - - - - - - - - - - - - - - - - - - - - - - - - - - - - - - - - - - - - - - - - - - - - - - - - - - - - - - - - - - - - - - - - - - - - - - - - - - - - | |
| 3/16" | TOUS | TOUTES | - - - - - - - - - - - - - - - - - - - - - - - - - - - - - - - - - - - - - - - - - - - - - - - - - - - - - - - - - - - - - - - - - - - - - - - - - - - - - - - - - - - - - - - - - - 0.0000000000000000000000000000000000000000000000000000000000000000000000000000000000000000000000000000 | |
| 6 mm | STANDARD | TOUTES, SAUF3ESURDIMENSIONNEE | - - - - - - - - - - - - - - - - - - - - - - - - - - - - - - - - - - - - - - - - - - - - - - - - - - - - - - - - - - - - - - - - - - - - - - - - - - - - - - - - - - - - - - - - - - - - - - - - - - | |
| CHOBERT®AVLUG®GROVIT® | 3/32" | TOUS, SAUFSTANDARD BISEAUTE,ACCES LIMITE | TOUTES | - - - - - - - - - - - - - - - - - - - - - - - - - - - - - - - - - - - - - - - - - - - - - - - - - - - - - - - - - - - - - - - - - - - - - - - - - - - - - - - - - - - - - - - - - - - - - - 0.0000000 |
| 3/32" | STANDARD BISEAUTE,ACCES LIMITE | TOUTES | - - - - - - - - - - - - - - - - - - - - - - - - - - - - - - - - - - - - - - - - - - - - - - - - - - - - - - - - - - - - - - - - - - - - - - - - - - - - - - - - - - | |
| 1/8" | TOUS | TOUTES | - - 0.00000000000000000000000000000000000000000000000000000000000000000000000000000000000000000000000 | |
| CHOBERT®GROVIT® | 5/32" | TOUS | TOUTES, SAUF3ESURDIMENSIONNEE | - - 0.000000000000000000000000000000000000000000000000000000000000000000000000000000000000000000000 |
| 5/32" | TOUS | 3ESURDIMENSIONNEE | - - 0.00000000000000000000000000000000000000000000000000000000000000000000000000000000000000 | |
| 3/16" | TOUS | TOUTES, SAUF2ESURDIMENSIONNEE | - - 0.000000000000000000000000000000000000000000000000000000000000000000000000000000000000 | |
| 3/16" | TOUS | 2ESURDIMENSIONNEE | - - 0.00000000000000000000000000000000000000000000000000000000000000000000000000000 | |
| CHOBERT® | 1/4" | TOUS | TOUTES | - - 0.00000000000000000000000000000000000000000000000000000000000000000000000000000 |
| RIVSCREW® | 2.8 mm | TOUS | TOUTES | - - 0.00000000000000000000000000000000000000000000000000000000000 |
| 3 mm | TOUS | TOUTES | - - 0.00000000000000000000000000000000000000000000000000 | |
| 3.5 mm | TOUS | TOUTES | - - 0.000000000000000000000000000000000000000000000 | |
| 4 mm | TOUS | TOUTES | - - 0.00000000000000000000000000000000000000000000 | |
| AVSERT® | 2.5 mm | TOUS | TOUTES | - - 0.00000000000000000000000000000000000000000000 |
| 4 x 40UNC | TOUS | TOUTES | - - 0.000000000000000000000000000000000000000 | |
| 3 mm | TOUS | TOUTES | - - 0.00000000000000000000000000000000000000 | |
| 6 x 32UNC | TOUS | TOUTES | - - 0.0000000000000000000000000000000000000 | |
| AVTRONIC® | 2.5 mm | TOUS | TOUTES | - - 0.000000000000000000000000000000000000 |
| 2.8 mm | TOUS, SAUFACCES LIMITE | TOUTES | - - 0.00000000000000000000000000000 | |
| 2.8 mm | ACCES LIMITE | TOUTES | - - 0.000000000000000000000000000 | |
Sur les outils de rivetage rapide tels que le type 0753 Mk II, l'équipment de pose est always constituted de trois éléments : un nez de pose, une aiguille et un ressort. Ces trois éléments sont accordés à la fixation posée, et à la taille du trou de l'application.
IMPORTANT
Pour éviter d'avoir à démonter complètement l'outil, vérifier l'orientation du curseur avant de monter l'équipement de pose sur l'outil. Voir la partie "Curseur mécanique" page 39.
Il est nécessaire de monter le bon équipement de pose sur l'outil afin d'assurer à la fois une pose correcte des fixations et la sEcuritE du fonctionnement de l'outil. Lire soigneusement les instructions de sEcuritE de la page 34.
Pour identifier la bonne combinaison d'équipment de pose à monter sur l'outil, désirir d'abord un nez de pose selon les instructions de la rubrique ci-dessous, puis consulter la rubrique aiguille pour sélectionner aussi bien l'aiguille elle-même que son ressort. Les aiguilles et les ressorts sont illustrés page 41.
Pour monter l'équipment de pose, suivre la procédure "Chargement de l'outil" page 40.
Nez de pose
IMPORTANT
Une erreur dans le choix dunez de pose peut avoir pour effet un mauvais placement ou un mauvais serrage de la fixation.
Les nez de pose se répartissant en 7 formes de base, représentées page opposée, dont les dimensions interieures varient en fonction de la fixation pour laquelle ils sont prévus. Les dimensions exactes correspondant aux lettres de l'illustration de la page opposée sont indiquées dans les "Tableaux de sélection des nez de pose" des pages 44-45.
Pour une forme donnée, il peut exister plusieurs options de forme d'embout, chacune呈現nt certains avantages facilitant la pose des fixations.
Plat
- Forme d'extrémité normale de tous les nez de pose.
- Convient à toutes les applications sans contraintes d'accès.
Universal
- Concue pour être utilisée avec les fixations Chobert® à tête universelle.
- Peut également être employée avec les fixations Briv^® pour obtenir le serrage le plus fort possible. Noter que cela diminue la plage de serrage de la fixation Briv^® d'environ 0,4 mm.
En Retrait
Utilisable单独ment avec les fixations Briv^圆
- Donne un plus fort serrage que la forme plate, mais moindre que celui de la forme universelle, sans réduction de la plage de serrage de la fixation.
Biseauté
- Disponible dans les versions indiquées dans les tableaux de besoin des nez de pose.
- Permet une(Meilleure accessibilitéqu'une forme plate,et avec la même plage de serrage.
A Formage de Tête
Utilisable seulement avec les fixations Rivscrew.
Déforme la tête des fixations pour donner un bon serrage.
- Relever le nom, la taille et le matériel de la fixation à poser.
- Rechercher cette fixation dans la première colonne des tableaux de seLECTION des nez de pose de la page 44, dans le cas des mesures anglaises, et de la page 45 dans le cas des mesures métriques.
- Dans la dernière colonne du tableau, noter les nez de pose disponibles. Seuls ceux qui sont indiqués existent.
- Sélectionner celui qui convient le mieux à l'application en se référant au plan dunez de pose concerné. Si l'application ne comporte pas de contraintes d'accès, retenir de préférence la forme standard à embout plat, avec ou sans came.

STANDARD
Existe en quatre formes d'embout differentes. Permet de poser toutes les fixations (sauf Rivscrew) sur les applications ne presentaient que peu ou pas de contraintes d'accès.

LONG
Existe pour la pose de la plupart des fixations. Permet une penetration supérieure dans les applications sans autres contraintes d'accès.

LONG COURBE
Disponible dans les versions individues dans LE TABLEAU DE SELECTION DES NEZ DE POSE. Permit une penetration supérieure dans les applications à accès limite. Les aiguilles doivent être courbées à la main pour suivre la courbure de la machoire.

ACCES LIMITE
Disponible dans les versions indiquées dans LE TABLEAU DE SELECTION DES NEZ DE POSE. Permet d'acceder à des applications à accès très limité.

STANDARD ACTIONNE PAR CAME

LONG ACTIONNE PAR CAME

ACCESS LIMITE PAR CAME
Disponibles dans les versions individues dans LE TABLEAU DE SELECTION DES NEZ DE POSE, page suivante. Fonctions équivalentes à celles des versions standard et accès limite ci-dessus, avec, en plus, unecame facilitant et accelerant l'ouverture du nez de pose,et donc le rechargement en fixations.
Les dimensions indiquées en caractères gras sont en millimétres.
La colonne "N° de reférence" établit la correspondance avec les colonnes du même nom de la partie aiguilles. Elle identifie à la fois l'iguille et le ressort nécessaires pour un nez de pose donné et une fixation particulière.
| FIXATION | Repère | NEZ DE POSE | Repère | NEZ DE POSE | ||||||||
| TYPE ET FORME D'EMBOUT | No. DE REFERENCE | DIMENSIONS | TYPE ET FORME D'EMBOUT | No. DE REFERENCE | DIMENSIONS | |||||||
| 'B' | 'D' | 'E' | 'B' | 'D' | 'E' | |||||||
| 3/32" CHOBERT®& GROVIT® | 1 | STANDARD - PLAT | 07150-03003 | ,36 | 1,30 | ,16 | 1 | # STANDARD - UNIVERSEL | 07150-03203 | ,36 | 1,33 | ,24 |
| 1 | STANDARD - ACTIONNE PAR CAME - PLAT | 07170-04500 | ,36 | 1,30 | ,16 | 1 | ACCES LIMITE - ACTIONNE PAR CAME | 07177-03003 | ,20 | 1,18 | ,16 | |
| 2 | STANDARD - BISEAUTE | 07170-03103 | ,36 | 1,30 | ,16 | 3 | ACCES LIMITE | 07274-01000 | ,22 | 1,07 | ,16 | |
| 4 | LONG - PLAT | 07150-04003 | ,41 | 2,30 | ,16 | 4 | LONG - COURBE - PLAT | 07150-05003 | ,41 | 2,28 | ,16 | |
| 1/8" CHOBERT®& GROVIT® | 5 | STANDARD - PLAT | 07150-03004 | ,41 | 1,18 | ,20 | 5 | # STANDARD - UNIVERSEL | 07150-03204 | ,41 | 1,22 | ,32 |
| 5 | STANDARD - BISEAUTE | 07170-03104 | ,41 | 1,19 | ,20 | 5 | STANDARD - ACTIONNE PAR CAME - PLAT | 07170-04600 | ,41 | 1,18 | ,20 | |
| 6 | LONG - PLAT | 07150-04004 | ,41 | 2,18 | ,20 | 6 | # LONG - UNIVERSEL | 07150-04204 | ,41 | 2,22 | ,30 | |
| 6 | LONG - COURBE - PLAT | 07150-05004 | ,41 | 2,12 | ,20 | 6 | LONG - ACTIONNE PAR CAME - PLAT | 07170-05000 | ,41 | 2,18 | ,20 | |
| 5/32" CHOBERT®& GROVIT® | 7 | STANDARD - PLAT | 07150-03005 | ,48 | 1,30 | ,24 | 7 | # STANDARD - UNIVERSEL | 07150-03205 | ,48 | 1,35 | ,41 |
| 7 | STANDARD - BISEAUTE | 07150-03105 | ,44 | 1,30 | ,24 | 7 | STANDARD - ACTIONNE PAR CAME - PLAT | 07170-04700 | ,48 | 1,30 | ,24 | |
| 8 | LONG - PLAT | 07150-04005 | ,48 | 2,30 | ,24 | 8 | # LONG - UNIVERSEL | 07150-04205 | ,48 | 2,35 | ,42 | |
| 8 | LONG - COURBE - PLAT | 07150-05005 | ,48 | 2,23 | ,24 | 8 | LONG - ACTIONNE PAR CAME - PLAT | 07170-05100 | ,48 | 2,30 | ,24 | |
| 3/16" CHOBERT®& GROVIT® | 9 | STANDARD - PLAT | 07150-03006 | ,56 | 1,18 | ,33 | 9 | # STANDARD - UNIVERSEL | 07150-03206 | ,56 | 1,24 | ,47 |
| 9 | STANDARD - BISEAUTE | 07150-03106 | ,56 | 1,18 | ,33 | 9 | STANDARD - ACTIONNE PAR CAME - PLAT | 07170-04800 | ,56 | 1,18 | ,33 | |
| 10 | LONG - PLAT | 07150-04006 | ,56 | 2,30 | ,33 | 10 | # LONG - UNIVERSEL | 07150-04206 | ,56 | 2,39 | ,48 | |
| 10 | LONG - COURBE - PLAT | 07150-05006 | ,56 | 2,21 | ,33 | 10 | LONG - ACTIONNE PAR CAME - PLAT | 07170-05200 | ,56 | 2,30 | ,33 | |
| 1/4" CHOBERT® | 11 | STANDARD - PLAT | 07150-03008 | ,64 | 1,18 | ,39 | 11 | STANDARD - ACTIONNE PAR CAME - PLAT | 07170-04900 | ,64 | 1,18 | ,39 |
| 12 | LONG - PLAT | 07150-04008 | ,64 | 2,18 | ,39 | 12 | LONG - ACTIONNE PAR CAME - PLAT | 07170-05300 | ,64 | 2,18 | ,39 | |
| 2,4mm BRIV®LATON SEULEMENT | 13 | STANDARD - BISEAUTE | 07170-03103 | ,36 | 1,30 | ,15 | 14 | ACCES LIMITE - ACTIONNE PAR CAME | 07177-03003 | ,20 | 1,18 | ,16 |
| 14 | ACCES LIMITE | 07274-01000 | ,22 | 1,07 | ,16 | - | - | - | - | - | - | |
| 3,2mm BRIV®ALLIAGE D'AUMINIUM,LAITON, ACIER | 15 | STANDARD - PLAT | 07150-03004 | ,41 | 1,18 | ,20 | 15 | STANDARD - EN RETRAIT | 07170-03004 | ,41 | 1,20 | ,30 |
| 15 | STANDARD - BISEAUTE | 07170-03104 | ,41 | 1,19 | ,20 | 16 | LONG - PLAT | 07150-04004 | ,41 | 2,18 | ,20 | |
| 16 | LONG - EN RETRAIT | 07170-03204 | ,41 | 2,18 | ,30 | 16 | LONG - COURBE - PLAT | 07150-05004 | ,41 | 2,12 | ,20 | |
| 16 | LONG - COURBE - EN RETRAIT | 07170-03304 | ,41 | 2,12 | ,30 | - | - | - | - | - | - | |
| 4,0mm BRIV®ALLIAGE D'AUMINIUM,LAITON, ACIER | 17 | STANDARD - PLAT | 07150-03005 | ,48 | 1,30 | ,24 | 17 | STANDARD - EN RETRAIT | 07170-03005 | ,48 | 1,32 | ,41 |
| 18 | LONG - PLAT | 07150-04005 | ,48 | 2,30 | ,24 | 18 | LONG - EN RETRAIT | 07170-03205 | ,48 | 2,30 | ,41 | |
| 18 | LONG - COURBE - PLAT | 07150-05005 | ,48 | 2,23 | ,24 | 18 | LONG - COURBE - EN RETRAIT | 07170-03305 | ,48 | 2,23 | ,41 | |
| 4,0mm BRIV®ACIER INOXYDABLESEULEMENT | 19 | STANDARD - PLAT | 07150-03005 | ,48 | 1,30 | ,24 | 19 | STANDARD - EN RETRAIT | 07170-03005 | ,48 | 1,32 | ,41 |
| 20 | LONG - PLAT | 07150-04005 | ,48 | 2,30 | ,24 | 20 | LONG - EN RETRAIT | 07170-03205 | ,48 | 2,30 | ,41 | |
| 20 | LONG - COURBE - PLAT | 07150-05005 | ,48 | 2,23 | ,24 | 20 | LONG - COURBE - EN RETRAIT | 07170-03305 | ,48 | 2,23 | ,41 | |
| 4,8mm BRIV®ALLIAGE D'AUMINIUM,LAITON, ACIER | 21 | STANDARD - PLAT | 07150-03006 | ,56 | 1,18 | ,33 | 21 | STANDARD - EN RETRAIT | 07170-03006 | ,56 | 1,20 | ,47 |
| 22 | LONG - PLAT | 07150-04006 | ,56 | 2,30 | ,33 | 22 | LONG - EN RETRAIT | 07170-03206 | ,56 | 2,30 | ,47 | |
| 22 | LONG - COURBE - PLAT | 07150-05006 | ,56 | 2,21 | ,33 | 22 | LONG - COURBE - EN RETRAIT | 07170-03306 | ,56 | 2,21 | ,47 | |
| 4,8mm BRIV®ACIER INOXYDABLESEULEMENT | 23 | STANDARD - PLAT | 07150-03006 | ,56 | 1,18 | ,33 | 23 | STANDARD - EN RETRAIT | 07170-03006 | ,56 | 1,20 | ,47 |
| 24 | LONG - PLAT | 07150-04006 | ,56 | 2,30 | ,33 | 24 | LONG - EN RETRAIT | 07170-03206 | ,56 | 2,30 | ,47 | |
| 24 | LONG - COURBE - PLAT | 07150-05006 | ,56 | 2,21 | ,33 | 24 | LONG - COURBE - EN RETRAIT | 07170-03306 | ,56 | 2,21 | ,47 | |
| 6mm BRIV®ALLIAGE D'AUMINIUM,ACIER | 25 | STANDARD - ACTIONNE PAR CAME | 07170-05600 | ,64 | 1,21 | ,52 | 25 | STANDARD - PLAT | 07170-05800 | ,64 | 1,21 | ,52 |
| 26 | LONG - ACTIONNE PAR CAME | 07170-05700 | ,64 | 2,19 | ,52 | 26 | LONG - PLAT | 07170-05900 | ,64 | 2,19 | ,52 | |
| 3/32" AVLUG® | 27 | STANDARD - PLAT | 07150-03003 | ,36 | 1,30 | ,16 | 27 | STANDARD - BISEAUTE | 07150-03103 | ,36 | 1,30 | ,16 |
| 27 | STANDARD - ACTIONNE PAR CAME - PLAT | 07170-04500 | ,36 | 1,30 | ,16 | 28 | LONG - PLAT | 07150-04003 | ,41 | 2,30 | ,16 | |
| 28 | LONG - COURBE - PLAT | 07150-05003 | ,41 | 2,28 | ,16 | |||||||
| 1/8" AVLUG® | 29 | STANDARD - PLAT | 07150-03004 | ,41 | 1,18 | ,20 | 29 | STANDARD - BISEAUTE | 07170-03104 | ,41 | 1,19 | ,20 |
| 29 | STANDARD - ACTIONNE PAR CAME - PLAT | 07170-04600 | ,41 | 1,18 | ,20 | 30 | LONG - PLAT | 07150-04004 | ,41 | 2,18 | ,20 | |
| 30 | LONG - COURBE - PLAT | 07150-05004 | ,41 | 2,12 | ,20 | 30 | LONG - ACTIONNE PAR CAME - PLAT | 07170-05000 | ,41 | 2,18 | ,20 | |
| 2,5mm 4-40 UNCAVSERT® | 31 | STANDARD - PLAT | 07150-03003 | ,36 | 1,30 | ,16 | ||||||
| 32 | STANDARD - PLAT | 07150-03004 | ,41 | 1,18 | ,20 | 32 | STANDARD - ACTIONNE PAR CAME - PLAT | 07170-04600 | ,41 | 1,18 | ,20 | |
| 33 | STANDARD - PLAT | 07150-03003 | ,36 | 1,30 | ,16 | 33 | ACCES LIMITE - ACTIONNE PAR CAME | 07271-08000 | ,41 | 1,18 | ,16 | |
| 34 | LONG - PLAT | 07150-04003 | ,41 | 2,30 | ,16 | |||||||
| 34 | LONG - COURBE - PLAT | 07150-04003 | ,41 | 2,30 | ,16 | |||||||
| 35 | STANDARD - PLAT | 07271-05600 | ,36 | 1,30 | ,16 | 36 | ACCES LIMITE - ACTIONNE PAR CAME | 07271-08100 | ,40 | 1,18 | ,16 | |
| 37 | LONG - PLAT | 07271-05900 | ,41 | 2,30 | ,16 | |||||||
| 38 | STANDARD - ACTIONNE PAR CAME - FT | 07271-03000 | ,41 | 1,18 | ,24 | |||||||
| 39 | STANDARD - ACTIONNE PAR CAME - FT | 07271-03000 | ,41 | 1,18 | ,24 | |||||||
| 40 | STANDARD - ACTIONNE PAR CAME - FT | 07271-03500 | ,41 | 1,18 | ,24 | |||||||
| 41 | STANDARD - ACTIONNE PAR CAME - FT | 07271-04000 | ,41 | 1,18 | ,25 | |||||||
| 42 | STANDARD - ACTIONNE PAR CAME - FT | 07271-04000 | ,41 | 1,18 | ,25 | |||||||
| 43 | STANDARD - ACTIONNE PAR CAME - FT | 07271-04500 | ,41 | 1,18 | ,25 | |||||||
Ces nez de pose conviennent à la pose des rivets Chobert® à forme de tête universelle. Lorsqu'ils sont utilisés avec la taille équivalente de Briv®, ils permettent d'obtenir le plus fort serrage possible. Noter que lors de la pose de fixations Briv®, la prise maximum se trouve réduite d'environ 0,4 mm.
Selection des nez de pose - Metrique
| FIXATION | Repère | NEZ DE POSE | Repère | NEZ DE POSE | ||||||
| TYPE ET FORME D'EMBOUT | No. DE REFERENCE | DIMENSIONS | TYPE ET FORME D'EMBOUT | No. DE REFERENCE | DIMENSIONS | |||||
| 'B' | 'D' | 'E' | 'B' | 'D' | ||||||
| 2,4 mm CHOBERT®& GROV® | 1 | STANDARD - PLAT | 07150-03003 | 9,14 | 33,02 | 4,06 | 1 | # STANDARD - UNIVERSEL | 07150-03203 | 9,14 |
| 1 | STANDARD - ACTIONNE PAR CAME - PLAT | 07170-04500 | 9,14 | 33,02 | 4,06 | 1 | ACCES LIMITE - ACTIONNE PAR CAME | 07177-03003 | 5,08 | |
| 2 | STANDARD - BISEAUTE | 07170-03103 | 9,14 | 33,02 | 4,06 | 3 | ACCES LIMITE | 07274-01000 | 5,59 | |
| 4 | LONG - PLAT | 07150-04003 | 10,41 | 58,42 | 4,06 | 4 | LONG - COURBE - PLAT | 07150-05003 | 10,41 | |
| 3,2 mm CHOBERT®& GROV® | 5 | STANDARD - PLAT | 07150-03004 | 10,41 | 29,97 | 5,08 | 5 | # STANDARD - UNIVERSEL | 07150-03204 | 10,41 |
| 5 | STANDARD - BISEAUTE | 07170-03104 | 10,41 | 30,23 | 5,08 | 5 | STANDARD - ACTIONNE PAR CAME - PLAT | 07170-04600 | 10,41 | |
| 6 | LONG - PLAT | 07150-04004 | 10,41 | 55,37 | 5,08 | 6 | # LONG - UNIVERSEL | 07150-04204 | 10,41 | |
| 6 | LONG - COURBE - PLAT | 07150-05004 | 10,41 | 53,85 | 5,08 | 6 | LONG - ACTIONNE PAR CAME - PLAT | 07170-05000 | 10,41 | |
| 4,0 mm CHOBERT®& GROV® | 7 | STANDARD - PLAT | 07150-03005 | 12,19 | 33,02 | 6,10 | 7 | # STANDARD - UNIVERSEL | 07150-03205 | 12,19 |
| 7 | STANDARD - BISEAUTE | 07150-03105 | 11,18 | 33,02 | 6,10 | 7 | STANDARD - ACTIONNE PAR CAME - PLAT | 07170-04700 | 12,19 | |
| 8 | LONG - PLAT | 07150-04005 | 12,19 | 58,42 | 6,10 | 8 | # LONG - UNIVERSEL | 07150-04205 | 12,19 | |
| 8 | LONG - COURBE - PLAT | 07150-05005 | 12,19 | 56,64 | 6,10 | 8 | LONG - ACTIONNE PAR CAME - PLAT | 07170-05100 | 12,19 | |
| 4,8 mm CHOBERT®& GROV® | 9 | STANDARD - PLAT | 07150-03006 | 14,22 | 29,97 | 8,38 | 9 | # STANDARD - UNIVERSEL | 07150-03206 | 14,22 |
| 9 | STANDARD - BISEAUTE | 07150-03106 | 14,22 | 29,97 | 8,38 | 9 | STANDARD - ACTIONNE PAR CAME - PLAT | 07170-04800 | 14,22 | |
| 10 | LONG - PLAT | 07150-04006 | 14,22 | 58,42 | 8,38 | 10 | # LONG - UNIVERSEL | 07150-04206 | 14,22 | |
| 10 | LONG - COURBE - PLAT | 07150-05006 | 14,22 | 56,13 | 8,38 | 10 | LONG - ACTIONNE PAR CAME - PLAT | 07170-05200 | 14,22 | |
| 6,4 mm CHOBERT® | 11 | STANDARD - PLAT | 07150-03008 | 16,26 | 29,97 | 9,91 | 11 | STANDARD - ACTIONNE PAR CAME - PLAT | 07170-04900 | 16,26 |
| 12 | LONG - PLAT | 07150-04008 | 16,26 | 55,37 | 9,91 | 12 | LONG - ACTIONNE PAR CAME - PLAT | 07170-05300 | 16,26 | |
| 2,4mm BRIV®LATON SEULEMENT | 13 | STANDARD - BISEAUTE | 07170-03103 | 9,14 | 33,02 | 3,81 | 14 | ACCES LIMITE - ACTIONNE PAR CAME | 07177-03003 | 5,08 |
| 14 | ACCES LIMITE | 07274-01000 | 5,59 | 27,18 | 4,06 | - | - | - | - | |
| 3,2mm BRIV®ALLIAGE D'AUMINIUM,LAITON, ACIER | 15 | STANDARD - PLAT | 07150-03004 | 10,41 | 29,97 | 5,08 | 15 | STANDARD - EN RETRAIT | 07170-03004 | 10,41 |
| 15 | STANDARD - BISEAUTE | 07170-03104 | 10,41 | 30,23 | 5,08 | 16 | LONG - PLAT | 07150-04004 | 10,41 | |
| 16 | LONG - EN RETRAIT | 07170-03204 | 10,41 | 55,37 | 7,62 | 16 | LONG - COURBE - PLAT | 07150-05004 | 10,41 | |
| 16 | LONG - COURBE - EN RETRAIT | 07170-03304 | 10,41 | 53,85 | 7,62 | - | - | - | - | |
| 4,0mm BRIV®ALLIAGE D'AUMINIUM,LAITON, ACIER | 17 | STANDARD - PLAT | 07150-03005 | 12,19 | 33,02 | 6,10 | 17 | STANDARD - EN RETRAIT | 07170-03005 | 12,19 |
| 18 | LONG - PLAT | 07150-04005 | 12,19 | 58,42 | 6,10 | 18 | LONG - EN RETRAIT | 07170-03205 | 12,19 | |
| 18 | LONG - COURBE - PLAT | 07150-05005 | 12,19 | 56,64 | 6,10 | 18 | LONG - COURBE - EN RETRAIT | 07170-03305 | 12,19 | |
| 4,0mm BRIV®ACIER INOXYDABLESEULEMENT | 19 | STANDARD - PLAT | 07150-03005 | 12,19 | 33,02 | 6,10 | 19 | STANDARD - EN RETRAIT | 07170-03005 | 12,19 |
| 20 | LONG - PLAT | 07150-04005 | 12,19 | 58,42 | 6,10 | 20 | LONG - EN RETRAIT | 07170-03205 | 12,19 | |
| 20 | LONG - COURBE - PLAT | 07150-05005 | 12,19 | 56,64 | 6,10 | 20 | LONG - COURBE - EN RETRAIT | 07170-03305 | 12,19 | |
| 4,8mm BRIV®ALLIAGE D'AUMINIUM,LAITON, ACIER | 21 | STANDARD - PLAT | 07150-03006 | 14,22 | 29,97 | 8,38 | 21 | STANDARD - EN RETRAIT | 07170-03006 | 14,22 |
| 22 | LONG - PLAT | 07150-04006 | 14,22 | 58,42 | 8,38 | 22 | LONG - EN RETRAIT | 07170-03206 | 14,22 | |
| 22 | LONG - COURBE - PLAT | 07150-05006 | 14,22 | 56,13 | 8,38 | 22 | LONG - COURBE - EN RETRAIT | 07170-03306 | 14,22 | |
| 4,8mm BRIV®ACIER INOXYDABLESEULEMENT | 23 | STANDARD - PLAT | 07150-03006 | 14,22 | 29,97 | 8,38 | 23 | STANDARD - EN RETRAIT | 07170-03006 | 14,22 |
| 24 | LONG - PLAT | 07150-04006 | 14,22 | 58,42 | 8,38 | 24 | LONG - EN RETRAIT | 07170-03206 | 14,22 | |
| 24 | LONG - COURBE - PLAT | 07150-05006 | 14,22 | 56,13 | 8,38 | 24 | LONG - COURBE - EN RETRAIT | 07170-03306 | 14,22 | |
| 6mm BRIV®ALLIAGE D'AUMINIUM,ACIER | 25 | STANDARD - ACTIONNE PAR CAME | 07170-05600 | 16,33 | 30,65 | 13,14 | 25 | STANDARD - PLAT | 07170-05800 | 16,33 |
| 26 | LONG - ACTIONNE PAR CAME | 07170-05700 | 16,33 | 55,65 | 13,14 | 26 | LONG - PLAT | 07170-05900 | 16,33 | |
| 2,4mm AVLUG® | 27 | STANDARD - PLAT | 07150-03003 | 9,14 | 33,02 | 4,06 | 27 | STANDARD - BISEAUTE | 07150-03103 | 9,14 |
| 27 | STANDARD - ACTIONNE PAR CAME - PLAT | 07170-04500 | 9,14 | 33,02 | 4,06 | 28 | LONG - PLAT | 07150-04003 | 10,41 | |
| 28 | LONG - COURBE - PLAT | 07150-05003 | 10,41 | 57,91 | 4,06 | - | - | - | - | |
| 3,2mm AVLUG® | 29 | STANDARD - PLAT | 07150-03004 | 10,41 | 29,97 | 5,08 | 29 | STANDARD - BISEAUTE | 07170-03104 | 10,41 |
| 29 | STANDARD - ACTIONNE PAR CAME - PLAT | 07170-04600 | 10,41 | 29,97 | 5,08 | 30 | LONG - PLAT | 07150-04004 | 10,41 | |
| 30 | LONG - COURBE - PLAT | 07150-05004 | 10,41 | 53,85 | 5,08 | 30 | LONG - ACTIONNE PAR CAME - PLAT | 07170-05000 | 10,41 | |
| 2,5mm 4-40 UNCAVSET® | 31 | STANDARD - PLAT | 07150-03003 | 9,14 | 33,02 | 4,06 | - | - | - | - |
| 32 | STANDARD - PLAT | 07150-03004 | 10,41 | 29,97 | 5,08 | 32 | STANDARD - ACTIONNE PAR CAME - PLAT | 07170-04600 | 10,41 | |
| 33 | STANDARD - PLAT | 07150-03003 | 9,14 | 33,02 | 4,06 | 33 | ACCES LIMITE - ACTIONNE PAR CAME | 07271-08000 | 10,41 | |
| 34 | LONG - PLAT | 07150-04003 | 10,41 | 58,42 | 4,06 | - | - | - | - | |
| 2,8mm AVTRONIC® | 35 | STANDARD - PLAT | 07271-05600 | 9,14 | 33,02 | 4,06 | 36 | ACCES LIMITE - ACTIONNE PAR CAME | 07271-08100 | 10,16 |
| 37 | LONG - PLAT | 07271-05900 | 10,41 | 58,42 | 4,06 | - | - | - | - | |
| 2,8mm RIVSCREW® | 38 | STANDARD - ACTIONNE PAR CAME - FT | 07271-03000 | 10,41 | 29,97 | 6,10 | - | - | - | - |
| 39 | STANDARD - ACTIONNE PAR CAME - FT | 07271-03000 | 10,41 | 29,97 | 6,10 | - | - | - | - | |
| 40 | STANDARD - ACTIONNE PAR CAME - FT | 07271-03500 | 10,41 | 29,97 | 6,10 | - | - | - | - | |
| 41 | STANDARD - ACTIONNE PAR CAME - FT | 07271-04000 | 10,41 | 29,97 | 6,35 | - | - | - | - | |
Ces nez de pose conviennent à la pose des rivets Chobert® à forme de tête universelle. Lorsqu'ils sont utilisés avec la taille équivalente de Briv®, ils permettent d'obtenir le plus fort serrage possible. Noter que lors de la pose de fixations Briv®, la prise maximum se trouve réduite d'environ 0,4 mm.
Les aiguilles et leurs ressorts, illustrés page 41, doivent être choisis en fonction du type et de la dimension des fixations, ainsi que de la taille du trou de l'application. L'emploi d'une aiguille inappropriée augmente le risque de rupture et d'usure du côte de l'aiguille. Des problèmes d'alimentation peuvent survenir si l'on employe le mauvais type de ressort.
IMPORTANT
LIRE SOIGNEUSEMENT LES INSTRUCTIONS DE SECURITE de la page 34.
Bien qu'une Usure et un marquage limités des aiguilles soient inévitables suite à leur utilisation normale et correcte, l'on veillera à les examiner régulièrement à la recherche de signes d'usure ou de marquage excessifs, en particulier au niveau du diamètre du cône et de la zone de prise des machoires d'aiguille du fut, de signes de piquage intensif du fut ou de déformation de l'aiguille. Un dysfonctionnement de l'aiguille en cours d'utilisation pourrait provquer son éjection de l'outil. La responsabilité de veiller à ce que les aiguilles soient replacées avant d'atteindre un niveau excessif d'usure et toujours avant le nombre maximum de poses préconse, incombe au client. Contacter le représentant Avdel UK Limited le plus proche, qui se chargea de fournir cette information en mesurant la force de mandrinage de votre application à l'aide d'un outil de test calibre. Ces outils sont également vendus sous la referrerence 07900-09080 et sont fournis avec toute l'information nécessaire aux tests.
Chobert® et Grov® - Mesures anglo-saxonnés
Pour désir l'aiguille ou le ressort de l'aiguille, suivre les instructions de la page 48.
| FIXATION | REPERE | TAILLE DU TROU | AIGUILLE STANDARD - VERTE | TAILLE DU TROU | 1E AIGUILLE SURDIMENSIONNEE - JAUNE | REFERENCE DE RESSORT | ||||||||
| DIAMETRE DU CONE | REFERENCE DE L'AIGUILLE | P. MAXI | NUMERO DE REFERENCE DE L'AIGUILLE SIR | P. MAXI | DIAMETRE DU CONE | REFERENCE DE L'AIGUILLE | P. MAXI | NUMERO DE REFERENCE DE L'AIGUILLE SIR | P. MAXI | |||||
| 3/32" CHOBERT® & GROV® | 1 | SEL. REC. | ,0725 | 07150-06003 | ,166 | 07150-08003 | ,071 | +,0015 | ,074 | 07150-06303 | ,174 | - | - | 07150-06803 |
| 1 | - | - | - | - | - | - | +,0035 | ,076 | - | - | 07150-08103 | ,078 | 07150-06803 | |
| 2 | SEL. REC. | ,0725 | 07150-06003 | ,166 | 07150-08003 | ,071 | +,0015 | ,074 | 07150-06303 | ,174 | - | - | 07170-06873 | |
| 2 | - | - | - | - | - | - | +,0035 | ,076 | - | - | 07150-08103 | ,078 | 07170-06873 | |
| 3 | SEL. REC. | ,0725 | 07150-06003 | ,166 | 07150-08003 | ,071 | +,0015 | ,074 | 07150-06303 | ,174 | - | - | 07170-06903 | |
| 3 | - | - | - | - | - | - | +,0035 | ,076 | - | - | 07150-08103 | ,078 | 07170-06903 | |
| 4 | SEL. REC. | ,0725 | 07150-07003 | ,166 | 07150-09003 | ,071 | +,0035 | ,076 | - | - | 07150-09103 | ,078 | 07150-07803 | |
| 1/8" CHOBERT® & GROV® | 5 | SEL. REC. | ,088 | 07150-06004 | ,216 | 07150-08004 | ,090 | +,004 | ,092 | 07150-06104 | ,237 | 07150-08104 | ,098 | 07150-06804 |
| 6 | SEL. REC. | ,088 | 07150-07004 | ,216 | 07150-09004 | ,090 | +,004 | ,092 | 07150-07104 | ,237 | 07150-09104 | ,098 | 07150-07804 | |
| 5/32" CHOBERT® & GROV® | 7 | SEL. REC. | ,107 | 07150-06005 | ,244 | 07150-08005 | ,100 | +,008 | ,115 | 07150-06105 | ,284 | 07150-08105 | ,116 | 07170-06875 |
| 7 | - | - | - | - | - | - | - | - | - | - | - | - | - | |
| 8 | SEL. REC. | ,107 | 07150-07005 | ,244 | 07150-09005 | ,100 | +,008 | ,115 | 07150-07105 | ,284 | 07150-09105 | ,116 | 07170-07875 | |
| 8 | - | - | - | - | - | - | - | - | - | - | - | - | - | |
| 3/16" CHOBERT® & GROV® | 9 | SEL. REC. | ,132 | 07150-06006 | ,247 | 07150-08006 | ,102 | +,014 | ,146 | 07150-06106 | ,320 | 07150-08106 | ,130 | 07170-06876 |
| 9 | - | - | - | - | - | - | - | - | - | - | - | - | - | |
| 10 | SEL. REC. | ,132 | 07150-07006 | ,247 | 07150-09006 | ,102 | +,014 | ,146 | 07150-07106 | ,320 | 07150-09106 | ,130 | 07170-07876 | |
| 10 | - | - | - | - | - | - | - | - | - | - | - | - | - | |
| 1/4" CHOBERT® | 11 | SEL. REC. | ,184 | 07150-06008 | ,268 | 07150-08008 | ,110 | +,012 | ,196 | 07150-06108 | ,330 | 07150-08108 | ,134 | 07150-06808 |
| 12 | SEL. REC. | ,184 | 07150-07008 | ,268 | 07150-09008 | ,110 | +,012 | ,196 | 07150-07108 | ,330 | 07150-09108 | ,134 | 07150-07808 | |
| FIXATION | REPERE | TAILLE DU TROU | 2E AIGUILLE SURDIMENSIONNEE - BLEUE | TAILLE DU TROU | 3E AIGUILLE SURDIMENSIONNEE - ROUGE | REFERENCE DE RESSORT | ||||||||
| DIAMETRE DU CONE | REFERENCE DE L'AIGUILLE | P. MAXI | NUMERO DE REFERENCE DE L'AIGUILLE S/R | P. MAXI | DIAMETRE DU CONE | REFERENCE DE L'AIGUILLE | P. MAXI | NUMERO DE REFERENCE DE L'AIGUILLE S/R | P. MAXI | |||||
| 3/32" CHOBERT® & GROV® | 1 | +,0035 | ,076 | 07150-06103 | ,185 | - | - | - | - | - | - | - | - | 07150-06803 |
| 1 | - | - | - | - | - | - | - | - | - | - | - | - | - | |
| 2 | +,0035 | ,076 | 07150-06103 | ,185 | - | - | - | - | - | - | - | - | 07170-06873 | |
| 2 | - | - | - | - | - | - | - | - | - | - | - | - | - | |
| 3 | +,0035 | ,076 | 07150-06103 | ,185 | - | - | - | - | - | - | - | - | 07170-06903 | |
| 3 | - | - | - | - | - | - | - | - | - | - | - | - | - | |
| 4 | +,0035 | ,076 | 07150-07103 | ,185 | - | - | - | - | - | - | - | - | 07150-07803 | |
| 1/8" CHOBERT® & GROV® | 5 | +,010 | ,098 | 07150-06204 | ,268 | 07150-08204 | ,110 | +,014 | ,102 | 07150-06304 | ,288 | 07150-08304 | ,118 | 07150-06804 |
| 6 | +,010 | ,098 | 07150-07204 | ,268 | 07150-09204 | ,110 | +,014 | ,102 | 07150-07304 | ,288 | 07150-09304 | ,118 | 07150-07804 | |
| 5/32" CHOBERT® & GROV® | 7 | +,015 | ,122 | 07150-06205 | ,320 | 07150-08205 | ,130 | - | - | - | - | - | - | 07170-06875 |
| 7 | - | - | - | - | - | - | +,025 | ,132 | 07150-06305 | ,372 | 07150-08305 | ,150 | 07150-06805 | |
| 8 | +,015 | ,122 | 07150-07205 | ,320 | 07150-09205 | ,130 | - | - | - | - | - | - | 07170-07875 | |
| 8 | - | - | - | - | - | - | +,025 | ,132 | 07150-07305 | ,372 | 07150-09305 | ,150 | 07150-07805 | |
| 3/16" CHOBERT® & GROV® | 9 | - | - | - | - | - | - | - | - | - | - | - | - | - |
| 9 | +,024 | ,156 | 07150-06206 | ,372 | 07150-08206 | ,150 | - | - | - | - | - | - | 07150-06806 | |
| 10 | - | - | - | - | - | - | - | - | - | - | - | - | - | |
| 10 | +,024 | ,156 | 07150-07206 | ,372 | 07150-09206 | ,150 | - | - | - | - | - | - | 07150-07806 | |
| 1/4" CHOBERT® | 11 | - | - | - | - | - | - | - | - | - | - | - | - | - |
| 12 | - | - | - | - | - | - | - | - | - | - | - | - | - | |
S / R = aiguille a cone court. Voir les explications pages 48-49.
Les tableaux des pages gauche et croite ci-dessous, et des 4 pages suivantes, donnent la liste de toutes les aiguilles et ressorts d'iguille disponibles par fixation ou groupe de fixations, en l'occurrence les Chobert et Grov sur ces pages.
Bien que les fixations soient toujours mentionnées avec leurs unités respectives, chaque tableau a été produit en double, de façon à désigner les dimensions en unités anglaises sur la page de gauche, puis en unités métriques sur celle de droite. Ces tableaux de sélection des aiguilles renvoient à ceux des pages 44-45, qui permettent de désir les nez de pose, par le biais de la colonne "Repère".
C'est le diamètre du cône situé à l'extrémité de l'aiguille qui détermine, lorsqu'il le traverse, la dilatation du corps de la fixation.
Bien qu'il existe différentes formes de cône convenant à différents types de fixations (voir les illustrations de la page 49), il est nécessaire de-disposer de tailles de cône progressives pour tener compte des tolérances de diamètre du trou auxquelles l'application doit répondre, de sorte que la fixation soit always suffisamment dilatée pour replir le trou.
Un cône d'iguille trop gros exerce des contraintes excessives sur l'aiguille, et une aiguille venant à casser en cours d'utilisation peut se trouver éjectée violément de l'outil.
Les tableaux de sélection sont agencés en quatre parties de "taille d'aiguille", allant de la catégorie "standard" à la catégorie "3e surdimensionnée", chacune reconnaissable à un code de couleur porté par l'extrémité des cônes d'aiguille eux-mêmes.
Chobert® et Grov® - Metrique
| FIXATION | REPERE | TAILLE DU TROU | AIGUILLE STANDARD - VERTE | TAILLE DU TROU | 1E AIGUILLE SURDIMENSIONNEE - JAUNE | REFERENCE DU RESSORT | ||||||||
| DIAMETRE DU CONE | REFERENCE DE LAIGUILLE | P. MAXI | NUMERO DE REFERENCE DE LAIGUILLE SIR | P. MAXI | DIAMETRE DU CONE | REFERENCE DE LAIGUILLE | P. MAXI | NUMERO DE REFERENCE DE LAIGUILLE SIR | P. MAXI | |||||
| 2,4 mm CHOBERT® & GROV® | 1 | SEL. REC. | 1,84 | 07150-06003 | 4,22 | 07150-08003 | 1,80 | +,04 | 1,88 | 07150-06303 | 4,42 | - | - | 07150-06803 |
| 1 | - | - | - | - | - | - | +,09 | 1,93 | - | - | 07150-08103 | 1,98 | 07150-06803 | |
| 2 | SEL. REC. | 1,84 | 07150-06003 | 4,22 | 07150-08003 | 1,80 | +,04 | 1,88 | 07150-06303 | 4,42 | - | - | 07170-06873 | |
| 2 | - | - | - | - | - | - | +,09 | 1,93 | - | - | 07150-08103 | 1,98 | 07170-06873 | |
| 3 | SEL. REC. | 1,84 | 07150-06003 | 4,22 | 07150-08003 | 1,80 | +,04 | 1,88 | 07150-06303 | 4,42 | - | - | 07170-06903 | |
| 3 | - | - | - | - | - | - | +,09 | 1,93 | - | - | 07150-08103 | 1,98 | 07170-06903 | |
| 4 | SEL. REC. | 1,84 | 07150-07003 | 4,22 | 07150-09003 | 1,80 | +,09 | 1,93 | - | - | 07150-09103 | 1,98 | 07150-07803 | |
| 3,2 mm CHOBERT® & GROV® | 5 | SEL. REC. | 2,24 | 07150-06004 | 5,49 | 07150-08004 | 2,29 | +,10 | 2,34 | 07150-06104 | 6,02 | 07150-08104 | 2,49 | 07150-06804 |
| 6 | SEL. REC. | 2,24 | 07150-07004 | 5,49 | 07150-09004 | 2,29 | +,10 | 2,34 | 07150-07104 | 6,02 | 07150-09104 | 2,49 | 07150-07804 | |
| 4,0 mm CHOBERT® & GROV® | 7 | SEL. REC. | 2,72 | 07150-06005 | 6,20 | 07150-08005 | 2,54 | +,20 | 2,92 | 07150-06105 | 7,21 | 07150-08105 | 2,95 | 07170-06875 |
| 7 | - | - | - | - | - | - | - | - | - | - | - | - | - | |
| 8 | SEL. REC. | 2,72 | 07150-07005 | 6,20 | 07150-09005 | 2,54 | +,20 | 2,92 | 07150-07105 | 7,21 | 07150-09105 | 2,95 | 07170-07875 | |
| 8 | - | - | - | - | - | - | - | - | - | - | - | - | - | |
| 4,8 mm CHOBERT® & GROV® | 9 | SEL. REC. | 3,35 | 07150-06006 | 6,27 | 07150-08006 | 2,59 | +,35 | 3,71 | 07150-06106 | 8,13 | 07150-08106 | 3,30 | 07170-06876 |
| 9 | - | - | - | - | - | - | - | - | - | - | - | - | - | |
| 10 | SEL. REC. | 3,35 | 07150-07006 | 6,27 | 07150-09006 | 2,59 | +,35 | 3,71 | 07150-07106 | 8,13 | 07150-09106 | 3,30 | 07170-07876 | |
| 10 | - | - | - | - | - | - | - | - | - | - | - | - | - | |
| 6,4 mm CHOBERT® | 11 | SEL. REC. | 4,67 | 07150-06008 | 6,81 | 07150-08008 | 2,79 | +,30 | 4,98 | 07150-06108 | 8,38 | 07150-08108 | 3,40 | 07150-06808 |
| 12 | SEL. REC. | 4,67 | 07150-07008 | 6,81 | 07150-09008 | 2,79 | +,30 | 4,98 | 07150-07108 | 8,38 | 07150-09108 | 3,40 | 07150-07808 | |
| FIXATION | REPERE | TAILLE DU TROU | 2E AIGUILLE SURDIMENSIONNEE - BLEUE | TAILLE DU TROU | 3E AIGUILLE SURDIMENSIONNEE - ROUGE | REFERENCE DU RESSORT | ||||||||
| DIAMETRE DU CONE | REFERENCE DE LAIGUILLE | P. MAXI | NUMERO DE REFERENCE DE LAIGUILLE SIR | P. MAXI | DIAMETRE DU CONE | REFERENCE DE LAIGUILLE | P. MAXI | NUMERO DE REFERENCE DE LAIGUILLE SIR | P. MAXI | |||||
| 2,4mm CHOBERT® & GROV® | 1 | +,09 | 1,93 | 07150-06103 | 4,70 | - | - | - | - | - | - | - | - | 07150-06803 |
| 1 | - | - | - | - | - | - | - | - | - | - | - | - | - | |
| 2 | +,09 | 1,93 | 07150-06103 | 4,70 | - | - | - | - | - | - | - | - | 07170-06873 | |
| 2 | - | - | - | - | - | - | - | - | - | - | - | - | - | |
| 3 | +,09 | 1,93 | 07150-06103 | 4,70 | - | - | - | - | - | - | - | - | 07170-06903 | |
| 3 | - | - | - | - | - | - | - | - | - | - | - | - | - | |
| 4 | +,09 | 1,93 | 07150-07103 | 4,70 | - | - | - | - | - | - | - | - | 07150-07803 | |
| 3,2 mm CHOBERT® & GROV® | 5 | +,25 | 2,49 | 07150-06204 | 6,81 | 07150-08204 | 2,79 | +,35 | 2,59 | 07150-06304 | 7,32 | 07150-08304 | 3,00 | 07150-06804 |
| 6 | +,25 | 2,49 | 07150-07204 | 6,81 | 07150-09204 | 2,79 | +,35 | 2,59 | 07150-07304 | 7,32 | 07150-09304 | 3,00 | 07150-07804 | |
| 4,0 mm CHOBERT® & GROV® | 7 | +,38 | 3,10 | 07150-06205 | 8,13 | 07150-08205 | 3,30 | - | - | - | - | - | - | 07170-06875 |
| 7 | - | - | - | - | - | - | +,63 | 3,35 | 07150-06305 | 9,45 | 07150-08305 | 3,81 | 07150-06805 | |
| 8 | +,38 | 3,10 | 07150-07205 | 8,13 | 07150-09205 | 3,30 | - | - | - | - | - | - | 07170-07875 | |
| 8 | - | - | - | - | - | - | +,63 | 3,35 | 07150-07305 | 9,45 | 07150-09305 | 3,81 | 07150-07805 | |
| 4,8 mm CHOBERT® & GROV® | 9 | - | - | - | - | - | - | - | - | - | - | - | - | - |
| 9 | +,60 | 3,96 | 07150-06206 | 9,45 | 07150-08206 | 3,81 | - | - | - | - | - | - | 07150-06806 | |
| 10 | - | - | - | - | - | - | - | - | - | - | - | - | - | |
| 10 | +,60 | 3,96 | 07150-07206 | 9,45 | 07150-09206 | 3,81 | - | - | - | - | - | - | 07150-07806 | |
| 6,4 mm CHOBERT® | 11 | - | - | - | - | - | - | - | - | - | - | - | - | - |
| 12 | - | - | - | - | - | - | - | - | - | - | - | - | - | |
# S / R = aiguille a cone court. Voir les explications pages 48-49.
Ensembles de nez
Pour couver la refere d'aiguille correspondant a une application particuiere, dire les instructions ci-dessous apree avoir releve les informations suivantes, illustrees par l'example fourni en regard. Les reponses correspondant a l'example apparaissent en grise et en italique.
NOM DE LA FIXATION
exempl
Chobert®
TAILLE DE LA FIXATION
3,2 mm
FICHE TECHNIQUE
Serie 1125
TAILLE DU TROU DE L'APPLICATION
ESPACE DERRIERE L'APPLICATION
"REPERE" TIRE DU TABLEAU DE SELECTION DES NEZ DE POSE
llimité
5 (standard plat)
- Soustraire la dimension minimum de trou recommandaee (SEL. REC), trouvee dans la fiche technique de la fixation, de la dimension reelle du trou de l'application, par exemple 0,005.
Passer à la page du tableau de besoin de l'aiguille concernant la fixation, enCHOISANT les unités anglaises ou métriques (pages 46 à 50), par exemple page 46. - En partirant de la rubrique 'Aiguille standard - Verte', retrouver les dimensions de la fixation dans la colonne de gauche, par exemple Chobert® & Grov® de 3,2 mm.
Si I'on a déjà choisi un nez de pose convenant à la pose de la fixation, on doit alors pouvoir couvoir, dans la rubrique concernant la fixation en question, une ligne ayant le même "Repere" que celle du tableau de selection des nez de pose, par exemple 5. Cette ligne du Repere est cette dans laquelle on trouvera aussi bien la referrerde l'iguille que celle du ressort. Cette ligne se prolonge dans la deuxieme partie du tableau pour les aiguilles de categorie 2e et 3e surdimensionnee. - Parcourir cette ligne jusqu'àux colonnes "taille du trou", et besoinlle qui est egeale à la valeur calculée en premier lieu ou qui s'en rapproche le plus. On peut alors dire le numero de reference de I'aiuille a coté de la taille du trou, par exemple 07150-06104.
Pour les fixations Chobert et Grov, et elles seulement, la plupart des aiguilles existent aussi en version "cone court" (voir les illustrations de la page 49). Les aiguilles à cone court permettent de limiter les risques de contact entre le cone de l'iguille et un obstacle situé à l'arrière, ce qui aurait pour effet d'empêcher un bon appui de la face inférieure de la tete de la fixation sur la surface de l'application, et donc un défaut de serrage à ce joint.
Quelle que soit la taille d'aiguille que I'on retienne, il est également nécessaire de vérifier que la valeur "P" convient à l'aiguille. "P" est l'espace nécessaire au cône de l'aiguille à l'arrêté de la fixation, en plus de la longueur de la fixation dépassant de l'application, comme indiqué sur le schéma de la page 49. - On peut alors dire la reférence du ressort d'iguille correspondant dans la colonne de droite du tableau, par exemple 07150-06804.
Dans tous les cas, on doit assurer un serrage satisfaisant du joint, notamment si la taille du trou de l'application est très proche de la prochaine condition de trou surdimensionné, auquel cas il est plus sur de désirir la taille d'iguille supérieure pour obtenir un serrage plus fort. NE PAS OUBLIER que cela conduit à augmenter la force de mandrinage et à réduire la durée de vie de l'iguille
BRIV® - Mesures anglo-saxonnes
PourCHOISIRIaiguilleoureressortdeI'aiguille,suivresinsinstructionsplushaut.
| FIXATION | REPERE | TAILLE DU TROU | AIGUILLE STANDARD - VERTE | TAILLE DU TROU | 1E AIGUILLE SURDIMENSIONNEE - JAUNE | REFERENCE DU RESSORT | ||||
| DIAMETRE DU CONE | REFERENCE DE L'AIGUILLE | P. MAXI | DIAMETRE DU CONE | REFERENCE DE L'AIGUILLE | P. MAXI | |||||
| 3/32" BRIV® LAITON SEULEMENT | 13 | SEL. REC. | ,072 | 07150-06013 | ,119 | +,004 | ,076 | 07150-06113 | ,123 | 07170-06873 |
| 14 | SEL. REC. | ,072 | 07150-06013 | ,119 | +,004 | ,076 | 07150-06113 | ,123 | 07170-06903 | |
| 1/8" BRIV® ALLIAGE DALUMINUM, LAITON, ACIER | 15 | SEL. REC. | ,092 | 07271-06414 | ,120 | +,005 | ,097 | 07271-06514 | ,126 | 07150-06814 |
| 16 | SEL. REC. | ,092 | 07271-07414 | ,120 | +,005 | ,097 | 07271-07514 | ,126 | 07150-07814 | |
| 5/32" BRIV® ALLIAGE DALUMINUM, LAITON, ACIER | 17 | SEL. REC. | ,110 | 07150-06015 | ,136 | +,005 | ,115 | 07150-06115 | ,142 | 07170-06875 |
| 18 | SEL. REC. | ,110 | 07150-07015 | ,136 | +,005 | ,115 | 07150-07115 | ,142 | 07170-07875 | |
| 5/32" BRIV® ACIER NOXYDABLE SEULEMENT | 19 | SEL. REC. | ,120 | 07170-06805 | ,126 | +,005 | ,125 | 07170-06825 | ,132 | 07170-06875 |
| 20 | SEL. REC. | ,120 | 07170-07805 | ,126 | +,005 | ,125 | 07170-07825 | ,132 | 07170-07875 | |
| 3/16" BRIV® ALLIAGE DALUMINUM, LAITON, ACIER | 21 | SEL. REC. | ,141 | 07150-06016 | ,157 | +,005 | ,146 | 07150-06116 | ,164 | 07170-06876 |
| 22 | SEL. REC. | ,141 | 07150-07016 | ,157 | +,005 | ,146 | 07150-07116 | ,164 | 07170-07876 | |
| 3/16" BRIV® ACIER NOXYDABLE SEULEMENT | 23 | SEL. REC. | ,153 | 07170-06806 | ,150 | +,005 | ,158 | 07170-06826 | ,156 | 07170-06876 |
| 24 | SEL. REC. | ,153 | 07170-07806 | ,150 | +,005 | ,158 | 07170-07826 | ,156 | 07170-07876 | |
| 6mm BRIV® ALLIAGE DALUMINUM, ACIER | 25 | SEL. REC. | ,179 | 07150-06018 | ,165 | +,005 | ,184 | 07150-06118 | ,171 | 07150-06846 |
| 26 | SEL. REC. | ,179 | 07150-07018 | ,165 | +,005 | ,184 | 07150-07118 | ,171 | 07150-07846 | |
| FIXATION | REPERE | TAILLE DU TROU | 2E AIGUILLE SURDIMENSIONNEE - BLEUE | TAILLE DU TROU | 3E AIGUILLE SURDIMENSIONNEE - ROUGE | REFERENCE DU RESSORT | ||||
| DIAMETRE DU CONE | REFERENCE DE L'AIGUILLE | P. MAXI | DIAMETRE DU CONE | REFERENCE DE L'AIGUILLE | P. MAXI | |||||
| 3/32" BRIV® LAITON SEULEMENT | 13 | +,008 | ,079 | 07150-06213 | ,126 | - | - | - | - | 07170-06873 |
| 14 | +,008 | ,079 | 07150-06213 | ,126 | - | - | - | - | 07170-06903 | |
| 1/8" BRIV® ALLIAGE DALIMINUM, LAITON, ACER | 15 | +,010 | ,102 | 07271-06614 | ,133 | - | - | - | - | 07150-06814 |
| 16 | +,010 | ,102 | 07271-07614 | ,133 | - | - | - | - | 07150-07814 | |
| 5/32" BRIV® ALLIAGE DALIMINUM, LAITON, ACER | 17 | +,010 | ,120 | 07150-06215 | ,149 | - | - | - | - | 07170-06875 |
| 18 | +,010 | ,120 | 07150-07215 | ,149 | - | - | - | - | 07170-07875 | |
| 5/32" BRIV® ACIER INOXYDABLE SEULEMENT | 19 | - | - | - | - | - | - | - | - | - |
| 20 | - | - | - | - | - | - | - | - | - | |
| 3/16" BRIV® ALLIAGE DALIMINUM, LAITON, ACER | 21 | +,010 | ,151 | 07150-06216 | ,170 | +,012 | ,153 | 07150-06316 | ,173 | 07170-06876 |
| 22 | +,010 | ,151 | 07150-07216 | ,170 | +,012 | ,153 | 07150-07316 | ,173 | 07170-07876 | |
| 3/16" BRIV® ACIER INOXYDABLE SEULEMENT | 23 | - | - | - | - | - | - | - | - | - |
| 24 | - | - | - | - | - | - | - | - | - | |
| 6mm BRIV® ALLIAGE DALIMINUM, ACER | 25 | +,010 | ,189 | 07150-06218 | ,177 | - | - | - | - | 07150-06846 |
| 26 | +,010 | ,189 | 07150-07218 | ,177 | - | - | - | - | 01750-07846 | |
Types de cône d'aiguille et distance 'P'
Les aiguilles pour Briv^® en acier inoxydable se reconnaissent facilement au Vgrave à l'extrémité des cônes d'aiguille.
Lors de l'utilisation de nez de pose courbes, il est nécessaire de courber les aiguilles à la main pour leur donner la même courbure que le nez de pose, afin d'assurer une bonne alimentation des fixations.

BRIV® - Metrique
| FIXATION | REPERE | TAILLE DU TROU | AIGUILLE STANDARD - VERTE | TAILLE DU TROU | 1E AIGUILLE SURDIMENSIONNEE - JAUNE | REFERENCE DU RESSORT | ||||
| DIAMETRE DU CONE | REFERENCE DE L'AIGUILLE | P. MAXI | DIAMETRE DU CONE | REFERENCE DE L'AIGUILLE | P. MAXI | |||||
| 2,4 mm BRIV® LAITON SEULEMENT | 13 | SEL. REC. | 1,83 | 07150-06013 | 3,02 | +,10 | 1,93 | 07150-06113 | 3,12 | 07170-06873 |
| 14 | SEL. REC. | 1,83 | 07150-06013 | 3,02 | +,10 | 1,93 | 07150-06113 | 3,12 | 07170-06903 | |
| 3,2 mm BRIV® ALLIAGE DALUMINUM, LAITON, ACIER | 15 | SEL. REC. | 2,34 | 07271-06414 | 3,05 | +,13 | 2,46 | 07271-06514 | 3,20 | 07150-06814 |
| 16 | SEL. REC. | 2,34 | 07271-07414 | 3,05 | +,13 | 2,46 | 07271-07514 | 3,20 | 07150-07814 | |
| 4,0 mm BRIV® ALLIAGE DALUMINUM, LAITON, ACIER | 17 | SEL. REC. | 2,79 | 07150-06015 | 3,45 | +,13 | 2,92 | 07150-06115 | 3,61 | 07170-06875 |
| 18 | SEL. REC. | 2,79 | 07150-07015 | 3,45 | +,13 | 2,92 | 07150-07115 | 3,61 | 07170-07875 | |
| 4,0 mm BRIV® ACIER INOXYDAIBLE SEULEMENT | 19 | SEL. REC. | 3,05 | 07170-06805 | 3,20 | +,13 | 3,18 | 07170-06825 | 3,35 | 07170-06875 |
| 20 | SEL. REC. | 3,05 | 07170-07805 | 3,20 | +,13 | 3,18 | 07170-07825 | 3,35 | 07170-07875 | |
| 4,8 mm BRIV® ALLIAGE DALUMINUM, LAITON, ACIER | 21 | SEL. REC. | 3,58 | 07150-06016 | 3,99 | +,13 | 3,71 | 07150-06116 | 4,17 | 07170-06876 |
| 22 | SEL. REC. | 3,58 | 07150-07016 | 3,99 | +,13 | 3,71 | 07150-07116 | 4,17 | 07170-07876 | |
| 4,8 mm BRIV® ACIER INOXYDAIBLE SEULEMENT | 23 | SEL. REC. | 3,89 | 07170-06806 | 3,81 | +,13 | 4,01 | 07170-06826 | 3,96 | 07170-06876 |
| 24 | SEL. REC. | 3,89 | 07170-07806 | 3,81 | +,13 | 4,01 | 07170-07826 | 3,96 | 07170-07876 | |
| 6 mm BRIV® ALLIAGE DALUMINUM, ACIER | 25 | SEL. REC. | 4,54 | 07150-06018 | 4,18 | +,13 | 4,67 | 07150-06118 | 4,34 | 07150-06846 |
| 26 | SEL. REC. | 4,54 | 07150-07018 | 4,18 | +,13 | 4,67 | 07150-07118 | 4,34 | 07150-07846 | |
| FIXATION | REPERE | TAILLE DU TROU | 2E AIGUILLE SURDIMENSIONNEE - BLEUE | 3E AIGUILLE SURDIMENSIONNEE - ROUGE | REFERENCE DU RESSORT | ||||
| DIAMETRE DU CONE | REFERENCE DE L'AIGUILLE | P. MAXI | DIAMETRE DU CONE | REFERENCE DE L'AIGUILLE | P. MAXI | ||||
| 2,4 mm BRIV® LAITON SEULEMENT | 13 | +,20 | 2,01 | 07150-06213 | 3,20 | - | - | - | 07170-06873 |
| 14 | +,20 | 2,01 | 07150-06213 | 3,20 | - | - | - | 07170-06903 | |
| 3,2 mm BRIV® ALLIAGE D'ALUMINIUM, LAITON, ACIER | 15 | +,25 | 2,59 | 07271-06614 | 3,38 | - | - | - | 07150-06814 |
| 16 | +,25 | 2,59 | 07271-07614 | 3,38 | - | - | - | 07150-07814 | |
| 4,0 mm BRIV® ALLIAGE D'ALUMINIUM, LAITON, ACIER | 17 | +,25 | 3,05 | 07150-06215 | 3,78 | - | - | - | 07170-06875 |
| 18 | +,25 | 3,05 | 07150-07215 | 3,78 | - | - | - | 07170-07875 | |
| 4,0 mm BRIV® ACIER INOXYDABLE SEULEMENT | 19 | - | - | - | - | - | - | - | - |
| 20 | - | - | - | - | - | - | - | - | |
| 4,8 mm BRIV® ALLIAGE D'ALUMINIUM, LAITON, ACIER | 21 | +,25 | 3,84 | 07150-06216 | 4,32 | +,30 | 3,85 | 07150-06316 | 4,39 |
| 22 | +,25 | 3,84 | 07150-07216 | 4,32 | +,30 | 3,85 | 07150-07316 | 4,39 | |
| 4,8 mm BRIV® ACIER INOXYDABLE SEULEMENT | 23 | - | - | - | - | - | - | - | - |
| 24 | - | - | - | - | - | - | - | - | |
| 6 mm BRIV® ALLIAGE D'ALUMINIUM, ACIER | 25 | +,25 | 4,79 | 07150-06218 | 4,49 | - | - | - | 07150-06846 |
| 26 | +,25 | 4,79 | 07150-07218 | 4,49 | - | - | - | 07150-07846 | |
Ensembles de nez
Avlug®, Avset®, Avtronic® & Rivscrew® - Metrique et Mesures anglo-saxonnes
Pour désir l'aiguille ou le ressort de l'aiguille, suivre les instructions de la page 48.
| FIXATION | REPERE | TAILLE DU TROU | AIGUILLE STANDARD - VERTE | TAILLE DU TROU | 1E AIGUILLE SURDIMENSIONNEE - JAUNE | REFERENCE DU RESSORT | ||||
| DIAMETRE DU CONE | REFERENCE DE L'AIGUILLE | P. MAXI | DIAMETRE DU CONE | REFERENCE DE L'AIGUILLE | P. MAXI | |||||
| 3/32° AVLUG® | 27 | SEL. REC. | ,076 | 07150-06603 | ,353 | +,005 | ,081 | 07150-06703 | ,478 | 07150-06803 |
| 28 | SEL. REC. | ,076 | 07150-07603 | ,353 | +,003 | ,079 | 07150-07703 | ,368 | 07150-07803 | |
| 1/8° AVLUG® | 29 | SEL. REC. | ,098 | 07150-06604 | ,593 | - | - | - | - | 07150-06804 |
| 30 | SEL. REC. | ,098 | 07150-07604 | ,593 | - | - | - | - | 07150-07804 | |
| 2,5 mm, 4-40 UNC AVSET® | 31 | SEL. REC. | ,0725 | 07150-06003 | ,145 | - | - | - | - | 07150-06803 |
| 3,0 mm, 6-32 UNC AVSET® | 32 | SEL. REC. | ,088 | 07150-06004 | ,185 | - | - | - | - | 07150-06804 |
| 2,5 mm AVTRONIC® | 33 | SEL. REC. | ,070 | 07170-06025 | ,140 | +,003 | ,073 | 07170-06125 | ,140 | 07150-06803 |
| 34 | SEL. REC. | ,070 | 07170-07025 | ,140 | +,003 | ,073 | 07170-07125 | ,140 | 07150-07803 | |
| 2,8 mm AVTRONIC® | 35 | SEL. REC. | ,079 | 07170-06028 | ,150 | +,003 | ,082 | 07170-06128 | ,150 | 07170-06528 |
| 36 | SEL. REC. | ,079 | 07170-06028 | ,150 | +,003 | ,082 | 07170-06128 | ,150 | 07170-06873 | |
| 37 | SEL. REC. | ,079 | 07170-07028 | ,150 | +,003 | ,082 | 07170-07128 | ,150 | 07170-07528 | |
| 2,8 mm RIVSCREW® | 38 | SEL. REC. | *,065 | 07271-06030 | ,127 | - | - | - | - | 07271-06630 |
| 3,0 mm RIVSCREW® | 39 | SEL. REC. | *,065 | 07271-06030 | ,127 | - | - | - | - | 07271-06630 |
| 3,5 mm RIVSCREW® | 40 | SEL. REC. | *,0825 | 07271-06035 | ,132 | - | - | - | - | 07271-06635 |
| 4,0 mm RIVSCREW® | 41 | SEL. REC. | *,103 | 07271-06140 | ,150 | - | - | - | - | 07271-06640 |
* ces dimensions s'entendant entre m
| FIXATION | REPERE | TAILLEDU TROU | 2E AIGUILLE SURDIMENSIONNEE - BLEUE | TAILLEDU TROU | 3E AIGUILLE SURDIMENSIONNEE - ROUGE | REFERENCEDU RESSORT | ||||
| DIAMETREDU CONE | REFERENCEDE L'AIGUILLE | P.MAXI | DIAMETREDU CONE | REFERENCEDE L'AIGUILLE | P.MAXI | |||||
| 3/32" AVLUG® | 27 | - | - | - | - | - | - | - | - | - |
| 28 | - | - | - | - | - | - | - | - | - | |
| 1/8" AVLUG® | 29 | - | - | - | - | - | - | - | - | - |
| 30 | - | - | - | - | - | - | - | - | - | |
| 2,5 mm, 4-40 UNCAVSERT® | 31 | - | - | - | - | - | - | - | - | - |
| 3,0 mm, 6-32 UNCAVSERT® | 32 | - | - | - | - | - | - | - | - | - |
| 2,5 mm AVTRONIC® | 33 | +,006 ,076 | 07170-06225 | ,140 | - | - | - | - | - | 07150-06803 |
| 34 | +,006 ,076 | 07170-07225 | ,140 | - | - | - | - | - | 07150-07803 | |
| 2,8 mm AVTRONIC® | 35 | +,006 ,085 | 07170-06228 | ,150 | - | - | - | - | - | 07170-06528 |
| 36 | +,006 ,085 | 07170-06228 | ,150 | - | - | - | - | - | 07170-06873 | |
| 37 | +,006 ,085 | 07170-07228 | ,150 | - | - | - | - | - | 07170-07528 | |
| 2,8 mm RIVSCREW® | 38 | - | - | - | - | - | - | - | - | - |
| 3,0 mm RIVSCREW® | 39 | - | - | - | - | - | - | - | - | - |
| 3,5 mm RIVSCREW® | 40 | - | - | - | - | - | - | - | - | - |
| 4,0 mm RIVSCREW® | 41 | - | - | - | - | - | - | - | - | - |
| FIXATION | REPERE | TAILLE DU TRQU | AIGUILLE STANDARD - VERTE | TAILLE DU TROU | 1E AIGUILLE SURDIMENSIONNEE - JAUNE | REFERENCE DU RESSORT | ||||
| DIAMETRE DU CONE | REFERENCE DE L'AIGUILLE | P. MAXI | DIAMETRE DU CONE | REFERENCE DE L'AIGUILLE | P. MAXI | |||||
| 2,4 mm AVLUG® | 27 | SEL. REC. | 1,93 | 07150-06603 | 8,97 | +,10 | 2,06 | 07150-06703 | 12,14 | 07150-06803 |
| 28 | SEL. REC. | 1,93 | 07150-07603 | 8,97 | +,10 | 2,01 | 07150-07703 | 9,35 | 07150-07803 | |
| 3,2 mm AVLUG® | 29 | SEL. REC. | 2,49 | 07150-06604 | 15,06 | - | - | - | - | 07150-06804 |
| 30 | SEL. REC. | 2,49 | 07150-07604 | 15,06 | - | - | - | - | 07150-07804 | |
| 2,5 mm, 4-40 UNC AVSERT® | 31 | SEL. REC. | 1,84 | 07150-06003 | 3,68 | - | - | - | - | 07150-06803 |
| 3,0 mm, 6-32 UNC AVSERT® | 32 | SEL. REC. | 2,24 | 07150-06004 | 4,70 | - | - | - | - | 07150-06804 |
| 2,5 mm AVTRONIC® | 33 | SEL. REC. | 1,78 | 07170-06025 | 3,56 | +,07 | 1,85 | 07170-06125 | 3,56 | 07150-06803 |
| 34 | SEL. REC. | 1,78 | 07170-07025 | 3,56 | +,07 | 1,85 | 07170-07125 | 3,56 | 07150-07803 | |
| 2,8 mm AVTRONIC® | 35 | SEL. REC. | 2,01 | 07170-06028 | 3,81 | +,07 | 2,08 | 07170-06128 | 3,81 | 07170-06528 |
| 36 | SEL. REC. | 2,01 | 07170-06028 | 3,81 | +,07 | 2,08 | 07170-06128 | 3,81 | 07170-06873 | |
| 37 | SEL. REC. | 2,01 | 07170-07028 | 3,81 | +,07 | 2,08 | 07170-07128 | 3,81 | 07170-07528 | |
| 2,8 mm RIVSCREW® | 38 | SEL. REC. | * 1,65 | 07271-06030 | 3,23 | - | - | - | - | 07271-06630 |
| 3,0 mm RIVSCREW® | 39 | SEL. REC. | * 1,65 | 07271-06030 | 3,23 | - | - | - | - | 07271-06630 |
| 3,5 mm RIVSCREW® | 40 | SEL. REC. | * 2,10 | 07271-06035 | 3,35 | - | - | - | - | 07271-06635 |
| 4,0 mm RIVSCREW® | 41 | SEL. REC. | * 2,62 | 07271-06140 | 3,81 | - | - | - | - | 07271-06640 |
- ces dimensions s'entendant entre m
| FIXATION | REPERE | TAILLE DU TROU | 2E AIGUILLE SURDIMENSIONNEE - BLEUE | TAILLE DU TROU | 3E AIGUILLE SURDIMENSIONNEE - ROUGE | REFERENCE DU RESSORT | ||||
| DIAMETRE DU CONE | REFERENCE DE L'AIGUILLE | P. MAXI | DIAMETRE DU CONE | REFERENCE DE L'AIGUILLE | P. MAXI | |||||
| 2,4 mm AVLUG® | 27 | - | - | - | - | - | - | - | - | - |
| 28 | - | - | - | - | - | - | - | - | - | |
| 3,2 mm AVLUG® | 29 | - | - | - | - | - | - | - | - | - |
| 30 | - | - | - | - | - | - | - | - | - | |
| 2,5 mm, 4-40 UNC AVSERT® | 31 | - | - | - | - | - | - | - | - | - |
| 3,0 mm, 6-32 UNC AVSERT® | 32 | - | - | - | - | - | - | - | - | - |
| 2,5 mm AVTRONIC® | 33 | +,15 | 1,93 | 07170-06225 | 3,56 | - | - | - | - | 07150-06803 |
| 34 | +,15 | 1,93 | 07170-07225 | 3,56 | - | - | - | - | 07150-07803 | |
| 2,8 mm AVTRONIC® | 35 | +,15 | 2,16 | 07170-06228 | 3,81 | - | - | - | - | 07170-06528 |
| 36 | +,15 | 2,16 | 07170-06228 | 3,81 | - | - | - | - | 07170-06873 | |
| 37 | +,15 | 2,16 | 07170-07228 | 3,81 | - | - | - | - | 07170-07528 | |
| 2,8 mm RIVSCREW® | 38 | - | - | - | - | - | - | - | - | - |
| 3,0 mm RIVSCREW® | 39 | - | - | - | - | - | - | - | - | - |
| 3,5 mm RIVSCREW® | 40 | - | - | - | - | - | - | - | - | - |
| 4,0 mm RIVSCREW® | 41 | - | - | - | - | - | - | - | - | - |
L'entretien doit etre effectue de forma reguliere, et une revision approfondie doit avoir lieu chaque anee ou tous les 500,000 cycles minimum.
IMPORTANT
Il apparait à l'employeur de faire en sorte que les instructions de maintenance des outils soient conféées aux personnes compétentes. L'opérateur ne doit pas être impliqué dans la maintenance ou la réparation de l'outil, à moins qu'il n'ait reçu la formation appropriée.
Chaque jour
- Chaque jour, avant d'utiliser l'outil, ou lors de sa première mise en service, verser quelques gouttes d'une huile de lubrication propre dans l'accuee d'air de I'intensificateur, si I'alimentation pneumatice ne compeote pas d'huileur. Si I outil est utilisé de façon continue, débrancher le flexible de I'alimentation pneumatice, et lubrifier I'outil toutes les deux ou trois heures.
- Rechercher les fuites d'air et d'huile. Les flexibles et raccords endommages doivent être replacés par des neufs.
S'il n'y a pas de filtrer sur le regulateur de pression, purger la conduite d'air pour la débarrasser de toute accumulation de saletés ou d'eau avant de raccorder le flexible à l'intensificateur. Si un filtré est monté, le purger.
Vérifier que l'équipement de pose monté est le bon. - Vérifier régulierement les aiguilles en recherchant les traces d'usure ou de dommages, et en tenant le compte du nombre de poses (voir les instructions de sécurité, page 34).
- Vérifier que le couvercle de base est serré à fond sur le carter principal.
Chaque semaine
- Suivre les procédures intégrales "quotidiennes" décrites ci-dessus.
- Demonter, examiner, nettoyer et graisser les machoires d'aiguille (voir "Cylindre des machoires d'aiguille" de la rubrique 'Maintenance', page 54).
Graisse au Bisulfure de Molybdene EP 3753 Informations de Securite
La graisse peut etre commandee séparément. Sa réference est indiquée dans le kit d'entretien, sur la page 53.
Premiers Secours
PEAU:
Cette grise s résistant parfaitement à l'eau, la meilleure façon de l'éliminer est d'employer un émulsifieur approuve pour usage cutané.
INGESTION:
Veiller à ce que le patient boive 30ml de lait de magnésie, de préférence dans une tasse de lait.
YEUX:
Irritant, mais sans danger. Rincer à l'eau et faire appel à un médecin.
Incendie
POINT ECLAIR: supérieur à 220^ .
Non classé comme inflammable.
Agents d'extinction appropriés : CO_2 , Halon ou jet d'eau, si appliqué par une personne qualifiée.
Environnement
racler les dépôts. Les brûler ou les mettre en décharge sur un site approuve.
Manutention
Utiliser une crème protectrice ou des gants résistant à l'huile.
Stockage
A l'ecart de la chaleur et des agents oxydants.
Entretien de l'outil
Informations de Sécurité, Graisse Molykote® 55m
Premiers secours
PEAU:
Rincer à l'eau. Essuyer.
INGESTION:
Les mesures de premier secours ne sont normalement pas nécessaires.
YEUX:
Rincer à l'eau.
Incendie
POINT ECLAIR: supérieur à 101.1^ . (coupelle fermée)
Propriétés explosives : Aucune
Mousse de dioxyde de carbone, poudre sèche ou fine pulverisation d'eau.
L'eau peut être utilisé pour refroidir les recipients exposés au feu.
Environnement
Veiller à ce que de grandes quantités de produit ne s'écoulient pas dans les égouts ou eaux de ruissellement.
Méthodes de nettoyage : Racler les dépôts puis les placer dans un recipient approprié doté d'un couvercle. Les écoulements de produit rendent les surfaces extrémement glissantes.
Présente un danger pour les organismes aquatiques et peut avoir des répercussions négatives durables sur l'environnement aquatique. Toutefois, la forme physique et l'insolvabilité dans l'eau du produit rendent sa biodisponibilité négligeable.
Manutention
Aération générale recommende. Eviter tout contact avec la peau ou les yeux.
Stockage
Ne pas stocker à proximé d'agents oxydants. Maintenir le couvercle sur le produit et stocker à l'abri de l'eau et de l'humidité.
Informations de Sécurité, Graisse Molykote® 111
Premiers secours
PEAU:
Les mesures de premier secours ne sont normalement pas nécessaires.
INGESTION:
Les mesures de premier secours ne sont normalement pas nécessaires.
YEUX:
Les mesures de premier secours ne sont normalement pas nécessaires.
INHALATION:
Les mesures de premier secours ne sont normalement pas nécessaires.
Incendie
POINT ECLAIR: supérieur à 101.1^ . (coupelle fermée)
Propriétés explosives : Aucune
Mousse de dioxyde de carbone, poudre sèche ou fine pulverisation d'eau.
L'eau peut être utilisée pour refroidir les recipients exposés au feu.
Environnement
Aucun effet contraire anticipé.
Manutention
Aération générale recommende. Eviter tout contact avec les yeux.
Stockage
Ne pas stocker à proximé d'agents oxydants. Maintenir le couvercle sur le produit et stocker à l'abri de l'eau et de l'humidité.
Nous preconisons l'utilisation des kits d'entretien suivants pour tous travaux d'entretien.
| KIT D'ENTRETIEN: 07900-05300 Sauf indication contraire, les dimensions des clés s'entendant "entre méplats". | |||||
| REFERENCE | DESCRIPTION | Quantité | REFERENCE | DESCRIPTION | Quantité |
| 07900-00157 | Pince A CIRCLIPS | 1 | 07900-00352 | CROchet D'EXTRACTION DE JOINT | 1 |
| 07900-00006 | SPATULE | 1 | 07900-00710 | CLE DE RETRAIT DE BOUCHON DE CANON | 1 |
| 07900-00446 | EXTRACTEUR | 1 | 07900-00725 | BILLE | 1 |
| 07900-00603 | MACHOIRES D'ETAU POUR CANON | 1 | 07900-00243 | TOURNEVIS | 1 |
| 07900-00520 | TIGE DE 3/8 DE POUCE | 1 | 07900-00717 | CLE POUR INTENSIFICATEUR | 1 |
| 07900-00521 | TIGE DE 1/4 DE POUCE | 1 | 07900-00013 | CLE ALLEN DE 1/8 DE POUCE | 1 |
| 07900-00602 | BILLE DE MONTAGE DE JOINT TORIQUE | 1 | 07900-00617 | LOT DE LOCTITE®MULTIGASKET 574 DE 50 ML | 1 |
| 07900-00595 | CLE DE 18 mm | 1 | 07900-00469 | CLE ALLEN DE 2,5 mm | 1 |
| 07900-00434 | CLE DE 12 mm | 1 | 07900-00351 | CLE ALLEN DE 3 mm | 1 |
| 07900-00237 | CLE 3/8 X 5/16 DE POUCE | 1 | 07900-00224 | CLE ALLEN DE 4 mm | 1 |
| 07900-00012 | CLE DE 9/16 X 5/8 DE POUCE | 1 | 07900-00225 | CLE ALLEN DE 5 mm | 1 |
| 07900-00008 | CLE DE 7/16 X 1/2 POUCE | 1 | 07992-00020 | POT DE 80 G DE GRAISSE AU BISULFURE DE MOLYBDENE EP 3753 | 1 |
| KIT D'ENTRETIEN : 71210-99990 Sauf indication contraire, les dimensions des clés sont indiquées en pouces et entre méplats | |||||
| REFERENCE | DESCRIPTION | Quantité | REFERENCE | DESCRIPTION | Quantité |
| 07900-00667 | MANCHON DE PISTON | 1 | 07900-00157 | PINCE A CIRCLIPS | 1 |
| 07900-00692 | EXTRACTEUR DE VALVE DE GACHETTE | 1 | 07900-00008 | CLE DE 7/16 x 1/2 DE POUCE | 1 |
| 07900-00670 | BILLE | 1 | 07900-00012 | CLE DE 9/16 x 5/8 DE POUCE | 1 |
| 07900-00672 | CLE EN T | 1 | 07900-00015 | CLE DE 5/8 x 11/16 DE POUCE | 1 |
| 07900-00706 | EMBOUT DE CLE EN T | 1 | 07900-00686 | CLE A ERGOTS | 1 |
| 07900-00684 | TUBE GUIDE | 1 | 07900-00677 | EXTRACTEUR DE JOINTS | 1 |
| 07900-00685 | TIGE D'INSERTION | 1 | 07900-00698 | ECROU D'ARRET | 1 |
| 07900-00351 | CLE ALLEN DE 3 MM | 1 | 07900-00700 | POMPE POUR PLEIN D'HUILE | 1 |
| 07900-00469 | CLE ALLEN DE 2,5 MM | 1 | 07992-00020 | GRAISSE AU BISULFURE DE MOLYBDENE EP3753 | 1 |
| 07900-00158 | CHASSE-GOUPIILLE DE 2 MM | 1 | 07992-00075 | GRAISSE - MOLYKOTE® 55M | 1 |
| 07900-00775 | GRAISSE - MOLYKOTE® 111 | 1 | |||
Tous les 500,000 cycles, ainsi qu'aux périodes recommendées, l'util doit être entierement démonté, et les composants usés ou endommages doivent être remplacés. Les joints toriques et étanchéités doivent être remplacés par des pieces neuves, lubrifiés à laGRAisse Molykote® 55m pour les joints pneumatiques ou Molykote® 111 pour les joints hydrauliques.
IMPORTANT
Les instructions de sécurité figurent pages 34.
Il apparlient à l'employeur de faire en sorte que les instructions de maintenance des outils soient confiées aux personnes compétentes. L'opérateur ne doit pas être impliqué dans la maintenance ou la réparation de l'outil, à moins qu'il n'ait reçu la formation appropriée.
Sauf indication contraire, l'alimentation pneumatique doit etre débranchée avant toute operation d'entretien ou de demontage.
Il est recommandé d'effectuer tout demontage dans de bonnes conditions de propre.
Avant de démonter l'outil, il est nécessaire d'enlever l'équipement de pose.
Pour proceder à l'entretien total de l'outil, nous vous conseillons de proceder au demontage des sous-ensembles en respectant l'ordre indiqué.
Demontage de l'outil 07537-00200
DEPOSE DES PIECES MOULEES DE TETE
A la main, faire pivoter le Clip 48 et déposer l'obturateur 50.
A l'aide d'une clé Allen*, retirez les vis d'arrêt du corps moulé 2 et les écrous 7 du corps de l'outil, ainsi qu'une vis 97 du corps moulé gauche 60.
Retirez le corps moulé droite et gauche 59 et 60.
- Remonter dans l'ordre inverse du démontage.
ENSEMBLE PISTON PNEUMATIQUE
- Bloquer le corps 72 de l'outil inversé transversalement par rapport aux bossages d'accue d'air dans un etau à mordaches.
Déposer le soufflet en caoutchouc 67.
A l'aide d'une clé à ergots*, dévisser le couvercle de base 73. - Dévisser les écrous de blocage 6 (x2) et déposer la plaque de base 77.
- Déposer la chemise de cylindre 75 avec les rondelles d'étanchéité 78 (x2) et les joints toriques 9 (x2).
Déposer l'ensemble piston pneumatique 58 du carter principal 72, avec le joint torique, les joints à lèvre (au nombre de trois) et la bague de guidage. - Remonter dans l'ordre inverse du démontage.
ENSEMBLE TIROIR DE VALVE
- Déposer l'ensemble piston pneumatique 58 et l'ensemble joint d'intensificateur 71 en suivant les instructions fournies précédemment.
A l'aide de la clé en 'T' et de l'embout de clé en 'T', desserrer l'écrou de blocage 64 et le déposer avec la plaque supérieure 76, les colonnettes d'assemblage 74 et l'ensemble tube de transfert 69.
Retirer l'outil de I'etau, et separer le carter principal 72, avec le joint torique 20, de I'ensemble poignee 57.
Retirer l'ensemble tete 56 de I'ensemble poignee 57 et deposer le joint torique 19 du tube d'intensificateur. - Pousser sur le siège de valve 62 pour l'exraire, avec les deux joints toriques 18 (au nombre de deux).
Déposer tous les composants de l'ensemble tiroir de valve 68.
Enlever enfin le joint torique 18 du logement cylindrique de la poignee.
Pour le remontage, inverser l'ordre de demontage en veillant a ce que l'orifice central du siège de valve 62 soit orienté vers le haut, vers le joint torque 17.
GACHETTE
- Avec le chasse-goupille de 2 mm, chasser l'axe de gâchette 65 et dégager la gâchette 61 par le haut.
A l'aide de l'extracteur de valve pneumatique, dévisser la valve de gachette 24. - Remonter dans l'ordre inverse du démontage.
Se référer aux repères inclus dans les kits d'entretien 07900-05300 & 71210-99990. Pour la liste complète, voir la page 53.
Les numeros de repere en caractères gras renuoient à la rubrique Assemblage générale et liste de pieces des pages 56-57.
CYLINDRE DES MACHOIRS D'AIGUILLE
A l'aide d'une clé Allen, rétirer une des vis à tête cylindrique 5, en veillant à bien purger l'air du cylindre des machoires d'aiguille. Retirer l'autre vis à tête cylindrique 5.
Faire sorting I'obturateur arriere 47
- Extraire les composants des mâchioires d'àiguille pneumatiques, soit l'ensemble de piston de mâchioires d'àiguille 51, le ressort 35, les mâchioires 34 et le carter porte-mâchioires 41.
Retirer l'obturateur de l'arriere de I'ensemble piston à I'aide d'une clé Allen et d'une barre insérée dans la grande fente de la tourelle.
Nettoyer la tourelle à l'aide d'un foret de 4,7 mm et replacer l'obturateur à l'aide d'un produit d'etanchéité non durcissant ( comme Loctite® Multi-gasket 574).
Retirer le joint torique d'etanchéité de piston 10.
- Serrer le canon 44 dans un etau équipé de machoires tendres, pour éviter de l'endommager.
A l'aide d'une clé à tube, dévisser le bouchon de canon 45 en empêchant le canon 44 de tourner, à l'aide d'une clé à fourche.
- Debrancher le tube en accordéon de mâchoire d'iguille pneumatique 54 de l'ensemble tête et extraire le cylindre de mâchoires d'iguille 46 de l'outil.
Retirer le joint torque 13, la bande de frottement 40 et le ressort de rappel du canon 37.
La longueur sans charge du ressort 35 doit etre de 38.1 mm.Le changer si nécessaire.
Enduire les mâchoires d'àiguille de graisse au bisulfure de molybdène avant de remonter.
- Remonter en inversant la procédure de démontage.
PISTON HYDRAULIQUE
Déposer le cylindre de machoires d'iguille 46 de la façon déjà décrite.
- Bloquer l'ensemble tête 56 entre les mâchoires d'un étau, muni de mordaches pour éviter tout risque de détérioration ; défaire le limiteur de course 39.
A l'aide d'une clé Allen, desserer la vis 3 qui retient le bloc interrupteur 55 contre le canon 44.
A l'aide d'une clé Allen*, déposer le bloc interrupteur 55 et le joint torque 21, en dévisant la vis de serrage 4.
- Tenir fermement l'outil et extraire le canon 44 du carter principal (une petite quantite de fluide hydraulique risque d'être ejectee de l'intérieur du carter principal).
- Enlever avec précaution le piston 38, pour éviter d'endommager l'alésage du carter.
Enlever le joint à lèvre 15.
Le joint à lèvre 16 est difficile à extraire sans le détériorer ; il peut être laissé en place pendant le nettoyage (s'il est jugé qu'il ne court aucun risque consécutivement au processus de nettoyage). Si toutes les remplacement du joint à lèvre 16 s'avère nécessaire, procédéer comme suit :
A l'aide d'une spatule*, extraire le joint à lèvre 16 de l'ensemble tete 56 en veillant à ne pas endommager la cavité de la tete et les alésages. Le joint à lèvre 16 déposé DOIT est mis au rebut.
Pour remplacer le joint à lèvre 16, dévisser le bouchon de purgex existant 43 jusqu'à ce que la face interne soit de niveau avec l'alésage interne de l'ensemble tete 56. Cette précaution permet de dégager le passage en vue de l'insertion d'un joint à lèvre 16 neuf par l'arrête du carter principal.
Veiller a ce que le joint a lèvre 16 soit suffisamment graissé et inséré dans le bon sens, autrement dit, côté évasé du joint orienté vers l'arrête des machoires d'iguille.
Terminer le remontage dans l'ordre inverse du démontage.
VALVE MARCHE / ARRET DE MACHOIRES D'AIGUILLE
Cet ensemble est concu pour ne nécessiter qu'un minimum d'entretien au cours de la durée de vie de l'outil.
Si le demontage de la valve s'avere nécessaire, proceder comme suit :
Déposer le bloc interrupteur 55 en suivant la procédure de la rubrique "Piston hydraulique.
- A l'aide d'un tournevis, enlever avec précaution la rondelle Starlock chromée 22 du tiroir pneumatique de machoires 49 et jeter cette rondelle.
Extraire le tiroir pneumatique de machoires 49 du bloc interrupteur 55.
En veillant a ne pas endommager le tiroir pneumatique de machoires 49, retirer les joints toriques 11.
Nettoyer tiroir et remonter des joints toriques 11 neufs à l'aide de la bille de montage et l'inserer dans le bloc interrupteur 55, en faisant attention à bien l'orienter.
Monter une rondelle Starlock chromée 22 neue en serrer l'ensemble dans un etau équipé de machoires tendres, pour éviter de l'endommager. NE PAS APPLICHER UNE FORCE EXCESSIVE.
Terminer le remontage en inversant la procEDURE de demontage.
POIGNEE & OBTURATEUR
- Nettoyer et examiner les pieces moulées à la recherche de fissuration ou autres dommages.
CURSEUR MECANIQUE
Nettoyer et huier le curseur mécanique 36.
IMPORTANT
Pratiquer sur l'outil les vérifications et opérations correspondant à l'entretien quotidien et hebdomadaire.
Un plein d'huile est TOUJOURS nécessaire après démontage de l'outil et avant de l'utiliser.
- Correspond aux repêres inclus dans les kits d'entretien 07900-05300 & 71210-99990. Pour la liste complète, voir la page 53. Les nombres de repêre en caractères gras renvoient à la rubrique Assemblage générale etliste de pieces des pages 56-57.

LISTE DE PIECES 07537-00200
| REFERE | REFERENCE | DESCRIPTION | QTE | RECHANGE | REFERE | REFERENCE | DESCRIPTION | QTE | RECHANGE | REFERE | REFERENCE | DESCRIPTION | QTE | RECHANGE |
| 01 | 07001-00223 | VIS CREUSE SANS TETE LONGUE M4 x 5 | 2 | - | 41 | 07530-00208 | CARTER PORTE-MACHOIRES | 1 | - | 81 | 71221-20103 | ECROU DE RETENUE DE MOULURE | 2 | - |
| 02 | 07001-00401 | VIS LONGUE M4 x 10 A TETE CYLINDRIQUE A SIX PANS CRELIX | 3 | - | 42 | 07530-00310 | OBTURATEUR | 2 | - | 82 | 71221-20105 | COMPTEUR MODIFIE | 1 | - |
| 03 | 07001-00404 | VIS DE PRESSION CREUSE LONGUE M5 x 6 | 1 | - | 43 | 07530-00500 | ENSEMBLE BOUCHON DE PURGE (ELEMENTS 83 à 86) | 1 | - | 83 | 07003-00142 | JOINT D'ETANCHÉITE | 1 | 1 |
| 04 | 07001-00445 | VIS LONGUE M4 x 15 A TETE CYLINDRIQUE A SIX PANS CRELIX | 1 | - | 44 | 07530-02201 | CANON | 1 | - | 84 | 07003-00194 | JOINT D'ETANCHÉITE | 1 | 1 |
| 05 | 07001-00504 | VIS LONGUE M4 x 6 A TETE CYLINDRIQUE A SIX PANS CRELIX | 2 | 2 | 45 | 07530-02205 | BOUCHON DE CANON | 1 | - | 85 | 07001-00442 | VIS | 1 | - |
| 06 | 07002-00108 | DADO NYLOK M6 | 2 | - | 46 | 07530-02207 | CYLINDRE DES MACHOIRES D'AIGUILLE | 1 | - | 86 | 07530-00501 | BOUCHON | 1 | - |
| 07 | 07002-00134 | ECROU HEXAGONAL M4 | 3 | - | 47 | 07530-02213 | OBTURATEUR ARRIERE | 1 | - | 87 | 71211-03201 | PISTON | 1 | - |
| 08 | 07002-00153 | RONDELLE M4 (PLASTIQUE) | 2 | - | 48 | 07530-02220 | CLIP | 1 | - | 88 | 07003-00280 | JOINT TORIQUE | 1 | 1 |
| 09 | 07003-00027 | JOINT TORIQUE | 2 | - | 49 | 07530-02302 | TIROIR PNEUMATIQUE DES MACHOIRES | 1 | - | 89 | 07003-00274 | JOINT/ RACLETTE | 3 | - |
| 10 | 07003-00113 | JOINT TORIQUE | 2 | 2 | 50 | 07530-02603 | OBTURATEUR | 1 | - | 90 | 71211-03202 | TIGE D'INTENSIFICATEUR | 1 | - |
| 11 | 07003-00121 | JOINT TORIQUE | 2 | 2 | 51 | 07530-02800 | ENSEMBLE PISTON DE MACHOIRES D'AIGUILLE | 1 | - | 91 | 07537-00501 | ENTRETOISE | 1 | - |
| 12 | 07003-00127 | JOINT TORIQUE | 1 | - | 52 | 07537-00201 | ETIQUETTE (NON ILLUSTREE) | 2 | - | 92 | 07001-00411 | VIS A TETE FRAISEE M6 X 25 | 1 | - |
| 13 | 07003-00167 | JOINT TORIQUE | 1 | 1 | 53 | 07537-00202 | ETIQUETTE (NON ILLUSTREE) | 1 | - | 93 | 07007-01993 | AIMANT A POLE CENTRAL | 1 | - |
| 14 | 07003-00418 | JOINT TORIQUE | 2 | - | 54 | 07537-00203 | TUBE PNEUMATIQUE EN ACCORDÉON DES MACHOIRES D'AIGUILLE | 1 | - | 94 | 07002-00098 | ECROU NYLOK M5 | 1 | - |
| 15 | 07003-00236 | JOINT A LEVRE (DYNAMIQUE) | 1 | 1 | 55 | 07537-00204 | BLOC INTERRUPTEUR | 1 | - | 95 | 71221-20104 | VIS A TETE FRAISEE M5 X 19 | 1 | - |
| 16 | 07003-00237 | JOINT A LEVRE (STATIQUE) | 2 | - | 56 | 07537-00300 | ENSEMBLE Tête | 1 | - | 96 | 71210-03205 | BAGUE GUIDE | 1 | - |
| 17 | 07003-00271 | JOINT TORIQUE | 1 | - | 57 | 07537-00400 | ENSEMBLE POIGNEE | 1 | - | 97 | 07001-00442 | VIS HEXAGONALE M5 X 6 LONGUE PRISE | 1 | - |
| 18 | 07003-00281 | JOINT TORIQUE | 3 | - | 58 | 07537-00500 | ENSEMBLE PISTON PNEUMATIQUE (87 à 96) | 1 | - | 98 | 07002-00163 | RONDELLE | 2 | - |
| 19 | 07003-00287 | JOINT TORIQUE | 1 | - | 59 | 07537-00600 | ENSEMBLE PIECE MOULEE DE CARTER PRINCIPAL 07537-DROIT | 1 | - | |||||
| 20 | 07003-00288 | JOINT TORIQUE | 2 | - | 60 | 07537-00700 | ENSEMBLE PIECE MOULEE DE CARTER PRINCIPAL 07537-GAUCHÉ | 1 | - | |||||
| 21 | 07003-00383 | JOINT TORIQUE - (Diam. int. 3,00 Sec. 1,00) | 2 | - | 61 | 71210-02008 | GACHETTE | 1 | - | |||||
| 22 | 07004-00058 | RONDELLE STARLOCK CHROMEE 1/8" | 1 | - | 62 | 71210-02009 | SIEGE DE VALVE | 1 | - | |||||
| 23 | 07004-00059 | RONDELLE STARLOCK NOIRE 1/8" | 1 | - | 63 | |||||||||
| 24 | 07005-00088 | VALVE DE GACHETTE | 1 | - | 64 | 71210-02014 | ECROU DE BLOCAGE | 1 | - | |||||
| 25 | 07005-01274 | OBTURATEUR BSP 1/8" | 1 | - | 65 | 71210-02024 | AXE DE GACHETTE | 1 | - | |||||
| 26 | 1 | - | 66 | 71210-02031 | SILENCIEUX | 2 | - | |||||||
| 27 | 07005-01972 | RACCORD FILE EN L | 1 | - | 67 | 71210-02055 | SOUFFLET EN CAOUTCHOUC | 1 | - | |||||
| 28 | 07005-10057 | CLAPET ANTI-RETOUR | 1 | - | 68 | 71210-03400 | ENSEMBLE TIROIR DE VALVE | 1 | - | |||||
| 29 | 07007-00017 | CHAPEAU ANTI-POUSSIÈRE | 1 | - | 69 | 07537-00810 | ENSEMBLE TUBE DE TRANSFERT | 1 | - | |||||
| 30 | 07007-00224 | GOUILLE SPIRALEE Diam. 3 x 10 | 2 | - | 70 | 71210-03700 | ENSEMBLE VALVE MARCHE/ARRET | 1 | - | |||||
| 31 | 07007-01503 | ICONE LIVRE OUVERT (NON ILLUSTREE) | 1 | - | 71 | 71210-03800 | ENSEMBLE JOINT D'INTENSIFICATEUR | 1 | - | |||||
| 32 | 07007-01504 | ETIQUETTE CONFORMITE CE (NON ILLUSTREE) | 1 | - | 72 | 71211-02001 | CARTER PRINCIPAL USINE | 1 | - | |||||
| 33 | 07008-00010 | FLEXIBLE 6" | 1 | - | 73 | 71211-02002 | COUVERCLE DE BASE USINE | 1 | - | |||||
| 34 | 07151-00403 | MACHOIRES | 2 | 2 | 74 | 71211-02004 | COLONNETTES D'ASSEMBLAGE | 2 | - | |||||
| 35 | 07154-00404 | RESSORT | 1 | - | 75 | 71211-02008 | CHEMISE DE CYLINDRE | 1 | - | |||||
| 36 | 07271-01100 | CURSEUR MECANIQUE | 1 | - | 76 | 71213-02010 | ENSEMBLE PLAQUE SUPERIEURE | 1 | - | |||||
| 37 | 07490-03002 | RESSORT DE RAPPEL DU CANON | 1 | - | 77 | 71221-02005 | RONDELLA DI TENUTA | 1 | - | |||||
| 38 | 07530-00203 | PISTON | 1 | - | 78 | 71221-02006 | RONDELLA D'ETANCHÉITE | 2 | - | |||||
| 39 | 07530-00204 | LIMITEUR DE COURSE | 1 | - | 79 | 71221-20101 | PIECE DE MOULURE DE COMPTEUR | 1 | - | |||||
| 40 | 07530-00206 | BANDE DE FROTTEMENT | 1 | 1 | 80 | 71221-20102 | VIS SPECIALE M4 | 2 | - |
Plein d'huile
Le plein d'huile est TOUJOURS nécessaire après un démontage de l'outil et avant toute utilisation. Il peut également être utile pour restaurer la totalité de la course après une utilisation prolongée, si l'on constate que la course diminue et que les fixations ne sont pas complètement posées en une seule action sur la gâchette.
Huile
L'huile recommende est la Hyspin® VG 32, qui existe en bidons de 0,5 litre, (réference 07992-00002), ou d'1 gallon (4,5 litres), (réference 07992-00006). Voir ci-dessous le tableau des caractéristiques et des mesures de sécurité.
Information de Securite Hyspin® VG 32 et AWS (Huile)
Premiers Secours
PEAU:
Laver soigneusement, à l'eau et au savon, dés que possible. Un contact occasionnel ne requiert pas de soins immédiats. Un contact de courte durée ne requiert pas de soins immédiats.
INGESTION:
Faire appel immédiatement à des soins Médicaux. NE PAS faire vomir le patient.
YEUX
Rincer immediatement à l'eau courante pendant plusieurs minutes. Quoique cette huile ne soit pas très irritante, une légere irritation peut apparaitre suite au contact.
Incendie
Agents d'extinction appropriés : CO2, poudre sèche, mousse ou brouillard d'eau. NE PAS employer de jet d'eau.
Environnement
MISE EN DECHARGE: Sur site homologué par les soins d'une société agrée. Peut être incinérée. Le produit usage peut être recyclé.
PRODUIT REPANDU : Empécher la contamination par le produit des évaquences,égouts et cours d'eau. Eponger avec une substance absorbante.
Manipulation
Porter une protection oculaire, des gants imperméables (PVC, par exemple), et un tablier plastique. Employer dans des locaux bien aérés.
Stockage
Pas de précautions particulières.
Pump Pour Plein D'huile
La procEDURE de plein d'huile ci-contre vous obligera à vous munir d'une pompé pour plein d'huile 07900-00700 :
IMPORTANT
DEBRANCHER L'ALIMENTATION PNEUMATIQUE DE L'OUTIL, OU COUPER L'AIR A LA VALVE 70.
Toutes les opérations doivent être effectuées sur un établi propre, avec les mains propres, dans un local propre.
Veiller à ce que l'huile de rechange soit parfaitement propre et exemple de bulles d'air.
Des précautions DOIVENT être prises à tous moments pour éviter la pénétration de corps étrangers dans l'outil et tout
risque consécutif de déterioration irréversible.
Enlever la vis de purge 85 et le joint d'etancheite 84.
Raccorder l'alimentation pneumatique à l'outil et placer la valve marche/arrêt 70 sur MARCHE.
Renverser l'outil au-dessus d'un recepient et actionner la gachette. L'huile est ejectee par l'orifice de la vis de purgege.
VEILLER A NE PAS ORIENTER L'ORIFICE DE PURGE EN DIRECTION DE L'OPERATEUR OU D'AUTRES PERSONNES.
- Debrancher l'alimentation pneumatique de l'outil, oumettre la valve de marche/arrêt 70 sur ARRET.
- Remplir la pompé d'huile.
- Visser la pompé de plein d'huile 07900-00700 sur l'orifice de la vis de purgege, avec le joint d'etancheite 84 en place.
Actionner la pompe en appuyant vers le bas et en relachant a plusieurs reprises jusqu'à partir une résistance.
Enlever la pompe et I'écrou d'arrêt. - Remetre en place la vis de purgege 85 le joint d'etancheite 84.
Raccorder l'alimentation pneumatique à l'outil et placer la valve marche/arrêt 70 sur MARCHE. - Vérifier que la course de l'outil correspond à la Specification minimum, soit 30 millimétres. Pour mesurer la course, mesurer la distance entre l'arrière du cylindre des machoires d'aiguille et les pieces moulées de carter principal AVANT d'appuyer sur la gachette puis lorsque la gachette est entierement actionnée. La course correspond à la différence entre les deux relevés. Si la course ne correspond pas à la Specification minimum, répéter la méthode de plein d'huile.
Diagnostic des Defaults
| Symptome | Cause Possible | Remede | Ref de Page |
| L'outil ne parvient pas àposer les fixations | Faible pression d'air | Augmenter la pression d'air | |
| Manque de lubrification | Lubrifier l'outil et son orifice d'entree d'air | ||
| Force de mandrinage excessive | Vérifier la prise de la fixation et la taille du trou de l'application | ||
| Vérifier la taille de l'aiguille | |||
| Mâchoires d'aiguille usées ou brises | Changer les mâchoires d'aiguille | ||
| Mâchoire d'aiguille déactivée | Activer la mâchoire d'aiguille | ||
| Présence d'air dans le circuit hydraulique | Voir "procédure de plein d'huile" | 59 | |
| Echappement de l'aiguille : les mâchoires ne saissient pas l'aiguille | Mâchoires d'aiguille usées ou encrassées | Nettoyer ou changer selon les besoin | |
| Pression ou début d'air insuffisants | Augmenter la pression ou le début d'air | ||
| L'interrupteur de serrage mâchoires ne fonctionne pas | Changer l'interrupteur | ||
| Fuites d'air aux mâchoires d'aiguille | Remplacer les joints toriques 10 de l'ensemble piston 51 | ||
| Aiguille cassée et n'atteignant pas les mâchoires d'aiguille | Changer l'aiguille | ||
| Clapet anti-retour défectueux | Changer le clapet anti-retour | ||
| Les mâchoires ne lâché pas l'aiguille | Mâchoires d'aiguille ou carter portemâchoires encrassés | Nettoyer ou lubrifier | |
| Interrupteur de mâchoires d'aiguille défectueux | Changer les joints toriques | ||
| Défaut d'introduction des fixations dans les nez de pose | Mâchoires d'aiguille non activées | Activer les mâchoires d'aiguille | |
| Mâchoires d'aiguille usées | Changer les mâchoires d'aiguille | ||
| Mauvaise orientation du curseur mécanique | Remonter en rectifiant l'orientation | ||
| Mauvais nez de pose | Monter le bon nez de pose | ||
| Ressort de l'aiguille manquant | Monter le bon ressort d'aiguille | ||
| Mauvais jeu entre tête de fixation et nez de pose au chargement | Régler le jeu entre 1,5 et 3 mm. Voir "Chargement de l'outil" | 40 | |
| Curseur mécanique grippé | Nettoyer et huiher le curseur mécanique | ||
| Faiblesse du ressort extérieur entourant le curseur mécanique | Changer le curseur mécanique | ||
| Le ressort de l'aiguille n'est pas le bon | Monter le bon ressort d'aiguille | ||
| Usure excessive de la mâchoire d'aiguille | Force de mandrinage excessive | Vérifier la taille du trou et l'épaissur de l'application, et la capacité de prise des fixations | |
| Passage de plus d'une fixation à la fois | Echappement de l'aiguille | Mèmes vérifications que pour Echappement de l'aiguille | |
| Mauvais jeu entre tête de fixation et nez de pose au chargement | Régler le jeu entre 1,5 et 3 mm. Voir "Chargement de l'outil" | 40 |
Les autres symptômes ou pannes doivent être signalés à votre distributeur Avdel agrée ou centre de réparation le plus proche.
Déclaration de conformité
Nous, Avdel UK Limited; Watchmead Industrial Estate, Welwyn Garden City, Hertfordshire, AL7 1LY Royaume-Uni, déclarons sous notre seule responsabilité que le produit:
Modèle 07537
N^ de série
faitant l'objet de la presente déclaration est conforme aux normes suivantes :
EN ISO 12100 - parties 1 et 2
BS EN ISO 8662 - partie 6
BS EN ISO 11202
BS EN ISO 3744
BS EN 982
ISO EN 792-partie 13-2000
BS EN 983
selon les dispositions de la Directive 98/37/CE concernant le rapprochement des législations des États membres relatives aux machines.

A. Seewraj - Directeur, Services techniques de fabrication - outils d'automation
Date d'émission

Cette boîte contient un outil pneumatique en conformité avec la Directive sur les machines 98/37/EC.
La "Déclaration de conformité" est jointe.
33 bis, rue des Ardennes
BP4
75921 Paris Cedex 19
Tel: +33 (0) 1 4040 8000
Fax: +33 (0) 1 4208 2450
Email: AvdelFrance@acument.com
Notice Facile