Romeo 60 N SM ECO - Afzuigkap EICO - Gratis gebruiksaanwijzing en handleiding
Vind de handleiding van het apparaat gratis Romeo 60 N SM ECO EICO in PDF-formaat.
Questions des utilisateurs sur Romeo 60 N SM ECO EICO
0 question sur cet appareil. Repondez a celles que vous connaissez ou posez la votre.
Poser une nouvelle question sur cet appareil
Download de handleiding voor uw Afzuigkap in PDF-formaat gratis! Vind uw handleiding Romeo 60 N SM ECO - EICO en neem uw elektronisch apparaat weer in handen. Op deze pagina staan alle documenten die nodig zijn voor het gebruik van uw apparaat. Romeo 60 N SM ECO van het merk EICO.
GEBRUIKSAANWIJZING Romeo 60 N SM ECO EICO
HANDLEIDING Voor Het GEBRuiK, Het OnderHoud EN DE INSTALLATIE VAN DE AFZUIGKAP
OPGELET: De afzuigkap mag alleen door bevoegt personeel worden geinstalleerd. Elke verantwoordelijkheid ten aanzien van de installmentie door onbevoegt personeel worden afgewezen. Alvorens aan de installmentie van de afzuigkap te beginnen要去 deze handleiding aandachtig en geheel worden doorgelezen. Deze handleiding要去ijdens de levensduur van de afzuigkap bewaard blijven.
WAARSCHUWING
Het apparaat kan door kinderen ouder dan 8aar en personen met verminderde lichamelijke, zintuiglijke of geestelijkke vermogens of gebrek aan ervaring en kennis gebruikt worden op voorwaarde dat dit gebeurt onder toezicht en nadat zij instructies hebben ontvangen inzake een veilig gebruik van de apparatuur en de bevaren die ermee zich verbonden. Kinderen mogen Niet met het apparaat spelen. De reiniging en het onderhoud,uit te voeren door de gebruiker, mag Niet zonder toezicht door kinderen uitgevoerd worden.
Zowel voor het normale, alsmede het periodieke onderhoud van de afzuigkap, dient de netaansluiting te worden onderbroken d.m.v. het uittrekken van de stekker uit de contactdoos of door het indrukken van de algemene schakelaar en deze op de stand O (OFF) te zetten. De afzuigkap mag Niet op electriciteitsleidingen worden aangesloten die gebruikt worden voor verwarmingsapparaten zoals branders, verwarmingsketels enz. Voor de installmentieClient gecontroleerd te worden of de netspanning, welke is aangegeven op het zilveren etiket aan de binnenzijde van de afzuigkap, overeenkomt met de lokale netspanning. Het verdient aanbeveling om tevens te controleren of een aardlekschakelaar aanwezig is. Voor het koken en bakken van voedsel mag uitsluitend gebruik gemaakt worden van�loor geschikte materialen. Gebruekte olieën en vetten zijn buitengewoon gevaarlijk en+kennen in brand vliegen. Het is verboden voedsel onder de kap te flamberen.
Nadat de=kappen met externe motor door een gespecialiseerde technicus werden geinstalleerd,ogen de kabels, connectors, aardaansluitingen van de externe motor voor de gebruiker Nieteer toegankelijk zijn. De toegang isuitsluitend voorbehouden aan de installment der die met schroeven bevestigde panelen moet verwijderen.
Voorlichtig: Niet maar de brandende lamp staren. Dit kan schadelijk zijn voor de ogen.
Neem de geldendeplaatselijke normen en de voorschriften van de bevoegde instanties inzake de luchtafvoer in acht. Indien de in deze brochure vermelde onderhoud- en reinigingswerkzaamheden Niet in acht worden genomen, za ernstig gevaar voor brand bestaan. LET UP: De toegankelijke delen+knen heet worden als de kap met kookappara-tuur worden gebruikt.
INSTALLATIE
De veiligheidsafstand:tussen de onderkant van de afzigkap en de kookplaat moet minstens 65 cm zirn; een kortere afstand is Niet toegestaan. De afzigkap kan zowel met recirculatiefilters als met een afvoer naar buiten werken.
Bij recirculatie van de kooklucht is het noodzakelijk koolstoffilters te gebruiken (zie het hoofdstuk KOOLSTOFFILTERS). Bij een afzuigkap die aangesloten worden op een afvoerkanaal maar buiten is toevoerlucht noodzakelijk. Het te gebruiken afvoerkanaal要去en diameter van 15 cm. hebben.
Het vertrek waar de afvoerkap geinstalleerd worden要去 voldaende worden geventileerd, indien tegelijkertijd andere apparaten gebruikt worden die op gas of andere verbrandingsstoffen werken.
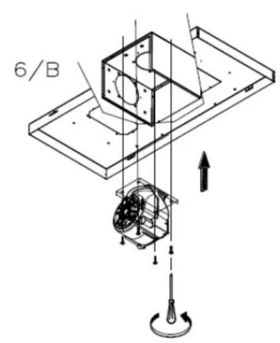
Kappen toegerust voor een externe motor
De kappen, toegerust voor een externe motor, zich voorzien van een connector voor verbinding met de kabel van de externe motor. Deze connector bevindt zich aan de binnenzijde van de kap. Steek de kabel van de externe motor doorheen de opening
op de kap (gewoonlijk maar de opening voor de rookgasafvoer) zatat hij aan de binnenzijde verechtkomt en verbind de twee connectors met elkaar. Raadpleeg voor deze werkzaamheid de tekeningen in de instructiehandleiding van de externe motors. De=kappen zonder motor (Art.*0***) mogen enkel gemonteerd en aangesloten worden met een zuigeenheid met een maximumvermogen van 690W, geleverd door de fabrikant.
Nadat de=kappen met externe motor door een gespecialiseerde technicus werden geinstalleerd, mogen de kabels, connec-tors, aardaansluitingen van de externe motor voor de gebruiker neteer toegankelijk zijn. De toegang is uitsluitend voorbehonden aan de installmenter die met schroeven bevestigde panelen moet verwijderen.
INSTRukties Voor DE MONTAGE
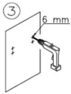
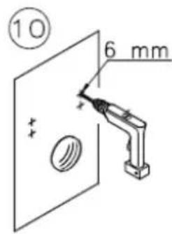
Let op: Voordat u verder gaat met de installatione, zorg ervoor dat de schroeven en de ankers reeds geleverde, geschikt zichn voor het type muur de kap moet worden vastgesteld aan.
Voor de montage van de afzuiigkap dienen de bijgeleverde accessoires gebrukt te worden en volgens de stappen, zoals geilustreerd in het bijgevoegde blad.
De elektrische aansluiting moet worden uitgevoerd door gespecialiseerd personeel met inachtneming van de van kracht zijnde normen en wetten. Controller altijd of de netspanning gelijk is aan die welke is aangegeven op het zilveren etiket aan de binnenkant van de kap. Controlleren of de installmentie volgens de geldende normen geaard en geinstalleerd is. Bijzondere aandacht moet geschonken worden aan de aansluitkabel van de afzuigkap, waar bij zorgend dat de kabel nicht door openings geleid worden die Niet voorzien zijn van een beschermingsrubber.
Bij een directe aansluiting met het net要去en inrichting voorzien worden om de kap van het net af te sluiten met een dusdanige openingsafstand tussen de contacten dat bij de omstandigheden van de overspanningscategorie lI volledige uitschakeling möglich is, in overeenstemming met de installmenteregels. De stekker of alpige schakelaar要去en toegankelijk zich als het apparaat is geinstalleerd. Als de voedingskabel beschadigd is,要去hij door een speciale kabel of door een unit, beschikbaar bij de fabrikant of zich technische Dienst,ervangen worden. De te gebruiken kabel要去 van het type H05VV-F zich, met een minimumdoorsnede van 3× 0.75mm^2
De fabrikant wijst elkveerantwoordelijkheid af ingeval de van kracht zijnde veiligheidsnormen Niet in acht worden genomen, noodzakelijk voor een normale werking van een elektrische installmentie.
BEDIENINGSKNOPPEN
BEDIENING MET KNOPPEN (Afb.1)
Bij de versie met bedieningsknoppen zijn er vier drukknoppen aanwezig.
Een knop voor het in- en uitschakelen van de lampjes
Een knop voor het aandoen in eerste snelheid en voor het uitdoen van de motor
Een drukknop voor het aandoen in tweeede sleidheid
Een drukknop voor het aandoen van de derde snugheid.
SOFT TOUCH-BEDIENINGSKNOP (Afb. 2)
Bij de versie met soft touch-knappen zijn er vier soft touch-knappen aanwezig en een led met variërende kleur (groen voor de min. spelheid, roord voor de max. spelheid).
Een drukknop voor het in- en uitschakelen van de lampjes
Een drukknop voor het aandoen in de 2e slelheid en voor het uitdoen van de motor
N.B: Als men deze drukknop langer dan drie seconden ingedrukt houdt, gaat hij na 10 minutes van zich uit, de led knippert traag.
Twee drukknappen + en - voor het hoger zieten of het reduceren van de motorsnelheid. Als de 4de slelheid van de motor is ingeschakeld (intensief), knippert de led snel en na 5 minuten worden automatisch de 2de slelheid ingeschakeld.
DIGITALE BEDIENING \ TOUCH CONTROL BEDIENING (Afb. 3)
In de digitale bedieningsversie zijn er vrij soft touch-bedieningsknoppen aanwezig en een display.
Een bedieningsknop voor het in- en uitschakelen van de lampjes.
Een knop voor het aandoen in 2e slenelheid en voor het uitdoen van de motor
Twee knappen + en - voor het verhogen of verlagen van de motorsnelheid. Als de 4de slelheid van de motor is ingeschakeld (intensief), het nummer aanwezig op de display knippert en na 5 minuten worden automatisch de 2de slelheid ingeschakeld.
Een TIMER-knop die de motor na ID min. afzet. Met de timer in werking za het op de display zichbare nummer knipperen.
Speciale funkties:
Na 100 uw gewerkt te hebben za op de DISPLAY de nul of de letter A gaan knipperen om aan te duiden dat de metalen filters schoongemaakt dienen te worden. Na de metalen filters te hebben afgewassen要去 men de urenteller waar op nul zetten (reset procedure), door de toets TIMER iets longer dan 3 sec. ingedrukt te houden verwijl de afzuigkap uit is. Men kan zich dat de reset procedure tot stand is gekomen, waar dan met uitgeschakelde afzuigkap een lignend streepje op de display verschijnt.
RADIO CONTROL (Afb. 4)
De toets ON/OFFop de afzuigkap, doet gelijkertijd de lichten en de motor op de tweede snelheid aan of hij doet allesuit. Na 100 aur bedrijsduur van de aspirerende motor begint het rode led te knipperen ten teken dat de metalen filters schoongemaakt dienen te worden. Om het filteralarm af te zetten moet men de toets ON/OFF op de afzuigkap lang ingedrukt honden met afgezette motor.
Afstandsbediening
AANDACHT:
de zuigkappen met standardafstandsbediening zirn reeds ingesteld.
Voor de optionele en/of verrangen afstandsbedieningen要去 het aanleren starten:
Met uitgeschakelde kap op de "ON/OFF" toets (DISTANTE - CEILING - EICDE22 - SKYFRAME) of de toets "+" (AIDA - HAMLET - ROMED) drukken 5 Seconden. Het knipperen van het rode led geeft aan dat de lering van de afstandsbediening aan is. Als binnen een minuut een geldige afstandsbedieningscode verschijnt (die men verwrijgt door een willekeurige toets van de afstandsbediening in te drukken) blijft het led 3 Seconden aan zonder te knipperen en gaat dan uit, ten teken van de co recte lering.
Toetsen afstandsbediening:
Een bedieningsknop voor het in- en uitschakelen van de lampjes. CEILING PANEL: De toets ingedrukt houden om de lichsterkte te verminderen.
Een knop voor het aandoen in 2e sleid en voor het uitdoen van de motor
Twee knappen + en - voor het verhogen of verlagen van de motorsnelheid. Als de 4de slelheid van de motor is ingeschakeld (intensief), knippert de led en na 5 minuten worden automatisch de 2de slelheid ingeschakeld.
Een TIMER-knop die de motor na 10 min. afzet.
GEBRUK EN ONDERHOUD
Vór het uityoeren van enige schoonmaak- of onderhoudsbeurt de stroomvoeding maar de afzuigkap uitschakelen door de algemene schakelaar op de stand D (OFF) te zetten.
Vervanging van de lampjes
Spotlight LED: De verwanging van de Spotlight led mag enkel uitgevoerd worden door bevaegde technici en met originele verwangingsonderdelen.
Reiniging van de metalen filters
De metalen filters die met de afzuigkap worden bijgeleverd要去el 2-3 maanden worden gereinigd afhankelijk van hetmeer of minder gebruik, met warm water en een Niet aantastend vloeibaar wasmiddel. De metalen filters haalt men eruit met het betreffende handvat, waar bij het filter eerst aan de voorkant wordt losgemaakt door het maar beneden te trekken (afb. 5) Na het afwassen要去en de filters goed afgedruogd worden en op korrekte wijze weeer op hunplaats gebracht worden.
Koolfilters
Indien de afzuigkap worden gebruikt als recirculatiekap, heeft men koolstoffilters nodig; dit zich filters met aktieve koolstof. De aktieve koolstaf die sich in de filters befindt dient er voor om de reuk van de kooklucht te absorberen. voor de rechthoekige filters zich aflb. 6.
Opgelet: De koolstoffilters zijn 1-malig en{kunnen nicht gewassen worden; geadvisererd wordt om ze na 3 maanden gebruik te verwangen, waar bij als regel geldt dat de kap ongeveer 2 uur per dag wordt gebruikt. Het vet wat zich in de kooklucht bevindt wordt door het koolstof geabsorbeerd, waar bij het dichtslid; volgezogen koolstoffilters zijn brandgevaarlijk! Afhankelijk van het model van de afzuigkap{kunnen de koolfilters rond of rechthoekig zijn.
In gegenstelling tot andere koolfilters, kan het LONG LIFE koolfilters worden gereinigd en herbruikt. Bij normal gebruik要去 het filter om de twee maanden worden gereinigd. Het filter reinigt u het best door het op de hoogste temperatuur en met een gewoon afwasmiddel te wassen in een vaatwasmachine. Het filter要去 afzonderlijk worden gewassen om te vermijden date er zich etensreten in vastzetten die dan later onaangename geurtjeskunnen verspreiden. Om de koolstof te reactiveren,要去 het filter in de oven worden gedraagd. Kies boven-/ ondervarmte bij een temperatuur van maximum 100^ enaar het filter 10 minutes drogen. De filter要去 verrangen worden als hij Niet langer in staat is om op bevredigende wijze de keukengeurtjes te absorberen. Afb.7.
Condensatie in de kap
De inductie of keramische kookplaten verwarmen het voedsel zeer snel en veroorzaken damp alvorens het glazen of stalen oppervlak van de kap is verwarmd. Daardoor ontstaan condens en bijgevolg druppels op de kap. Als de afvoerbuis net over de afmetingen beschikt die door ons worden aanbevolen, kan dit een andere ororzaak van condensatie zich (zie paragraaf INSTALLATIE). Tijdens de afkoeling condenseert de damp die in de kap blij waardoor druppels ontstaan. Wij adviseren om, tien minutes voor de bereidingen aan te vatten, de kap aan te zetten en ze na afloop aan te latent zatat alle dampen in de leiding konnen ontsnappen.
Bovendien is het van groot belongings om de filters regelmatig te reinigen en ze te verrangen als ze zijn versleten (zie REINIGING METALEN FILTERS).
Reiniging van de afzuigkap
Een regelmatige reiniging van de oppervlakken voorkomt dat het vuil zich vasthecht en de reiniging moeilijker worden. Als de afzugkap governist of van koper is, met een zachte doek met law water en een neutraal afwasmiddel reinigen. Geen vloeistof direkt op de afzugkap gieten of korrelige en/of schuurmiddelen gebruiken. Als de afzugkap van roestvrij staal is, dan speciaal voor gesatineerd roestvrij staal bestende Produkten en doekjes gebruiken (geen schuurmiddelen en/of bijtende middelen en zonder chloor), er voor zorg dragend met de doek derichting van de barsteling te volgen. Geen aantastende middelen gebruiken en ook geen chemische oplosmiddelen of derivaten van uit petroleum gedistilleerde middelen, waar deze olieachtige resten hunnen achefterlaten, die oxidatie en polymerisatie hunnen veroorzaken.
Hamlet - Romeo: Wanner je olie gebruikt om mee te koken, dan za deze olie waar het laagste deel van de kap lopen. Dit deel dient.altijd het vaakst te worden schoongemaakt.
De fabriek is nicht verantwoordelijk voor esthetische schade als gevolg van het Niet nakomen van boven-genoemde aanwijzigingen.

MOD. DISTANTE - DISTANTE CIRCLE - AIDA - HAMLET - CEILING STRIPE - CEILING PANEL EICOE22

MOD. DISTANTE R

FIG. 6

ROMEO



ROMEO 60 (22kg)
ROMEO 80 (25kg)












ROMEO

ROMEO 80 (25kg)
ROMEO 60 (22kg)



















HAMLET

Per aprire firare qut simulaneamente Please pull here in the same time to open Zlehen sie hler








6/C


(7)
9


HAMLET


MOTOR A





MOTOR B

(2)












DISTANTE R

CEILING STRIPE 75/45 SM
CEILING STRIPE 75/45 SM (17Kg)

Per aprire flare qui simultaneamente
Please pull here in the same time to open
Zlehen sie hier
Pull ici pour ouvrir





OPTION 1
1

(2)



(3)

4

OPTION 2




CEILING STRIPE 75/45
CEILING STRIPE 75/45 (21Kg)


Per aprire flare qui simultaneamente Please pull here in the same time to open Ziehen sie hier Pull lcl pour ouvrir





OPTION 1
1


②

4

(3)



OPTION 2


DISTANTE 90 - DISTANTE 120 - CEILING STRIPE 90 - CEILING STRIPE 120

DISTANTE 120 - CEILING STRIPE 120
Distante



Ceiling stripe



DISTANTE 90 - CEILING STRIPE 90

Distante



Ceiling stripe




DISTANTE 150







CEILING STRIPE 90 - 120


CEILING STRIPE R 90


TRUK HER SAMTIDIG FOR AT ABNE
OPPNA GENOM ATT DRA HAR SAMTIDIG
AAVA ETAMALLA SAMANAKASESTI TASTA
TREKK HER SAMTIDIG FOR A APNE
PER APRIRE TRARE QUI SIMULTANEAMENTE
PLEAES PULL HERE IN THE SAME TIME TO OPEN
ZIEHEN SIE HER
TIRER POUR OUVIRI ICI EN MEME TEMPS
ALB TREK HER IN DEZELFDE TUD OM TE OPENEN


ADVARSEL: SKAB ET FRIRUM PA 60 mm OVER MOTORBOKSEN FOR AT TILSLUTTE STROM OG SKJULE FORSYNINGSKABLES STIK
OBSERVERA: SKAPA ETT UTRYMME PA 60 mm OVANFOR MOTORLADAN FOR ELANSLUTNINGEN OCH FOR ATT DOLJA ELKABELNS KONTAKT
HUOMIO: MUODOSTA 60 mmn TILA MOOTTORIKOTELON YLPUOLELLSE SAIHKOLITANTAA VARTEN JA PIILOTA SAIHKOOHDON PISTOKE
ADVARSEL: LA DET VERE 60 mm OVER MOTORBOKSEN FOR A TILKOLEB FORSYNINGEN OG SKJULE STRMKABELENS STIKONTAKT
ATTENZIONE: CREARE UNO SPAZO DI 60mm SOPRA IL BOX MOTORE PER LA CONNECTION DELL'ALIMENTAZIONE E NASCONDERE LA PRESA DEL CAVO DI ALIMENTAZIONE
ATTENTION: CREATE A SPACE OF 60mm ABOVE THE MOTOR BOX FOR THE POWER CONNECTION AND HIDE THE PLUG OF THE POWER CORD
ACHTUNG: ES MUSSE EIN RAUM VON 60mm Über DIE MOTORBOX FÜR DEN STROMANSCHLUSS GESCHaffen UND DIE STECKDOSE DES STROMKABELS VERBORGEN WERDEN
ATTENTION: LAISSER UN ESPACE DE 60 MM AU DESSUS DU BOX MOTEUR POUR LA ConnEXION DE L'ALIMENTATION ET CACHER LA PRISE DU CABLE D'ALIMENTATION
LET OP: BOVEN DE MOTORBOX EEN RUIIME VAN 60mm CREEREN VOOR DE AANSLUITING VAN DE VOEDING EN OM HET STOPCONTACT VAN DE VOEDINGSKABEL TE VERBERGEN



CEILING STRIPE R 120


CEILING STRIPER 120 (34Kg)


UDGANG TIL FORSYNINGSKABEL
UTGANG FDR ELKABEL
SAHKOJOHDON ULOSTULO
UTCANG TIL STRBMKABEL
USCITA CAVO ALIMENTAZIONE
OUTPUT POWER CABLE
AUSGANGLEISTUNG KABEL
SORTIE CABLE D'ALIMENTATION
UITGANGSVERMOGEN CABLE

TROK HER SAMTDIG FOR AT ABNE
OPPNA GENOM ATT DRA HAR SAMTDIDCT
AVAA VETAMALLA SAMANAIAKASESTI TASTA
TREKK HER SAMTDIG FOR A APNE
PER APRIRE TIRARE QUI SIMULTANEAMENTE
PLEASE PULL HERE IN THE SAME TIME TO OPEN
ZIEHEN SIE HER
TIRER POUR OUVRIR ICI EN MÈME TEMPS
AUB TREK HER IN DEZELFDE TUD OM TE OPENE



ADVARSEL: SKAB ET FRIRUM PA 60 mm OVER MOTORBOKSEN FOR AT TILSLUTTE STROM OG SKJULE FORSYNINGSKABLES STIK
OBSERVERA: SKAPA ETT UTRYMME PA 60 mm OVANFOR MOTORLADAN FOR ELANSLUTNINGEN OCH FDR ATT DOLJA ELKABELNS KONTAKT
HUOMIO: MUODOSTA 60 mm TILA MOOTTORIKOTELON YLAPUOLELLA VARTEN JA PILOTAA SHKOJOHDON PISTOKE
ADVARSEL: LA DET WERE 60 mm OVER MOTORBOKSEN FOR A TILKOBLE FORSYINGEN OG SKJULE STROMKABELNS STIKKONTAKT
ATTENZIONE: CREARE UNO SPAZO DI 60mm SOPRA IL BOX MOTORE PER LA CONNECTION DELL'ALIMENTAZIONE E NASCONDERE LA PRESA DEL CAVO DI ALIMENTAZIONE
ATTENTION: CREATE A SPACE OF 60mm ABOVE THE MOTOR BOX FOR THE POWER CONNECTION AND HIDE THE PLUG OF THE POWER CORD
ACHTUNG: ES MUSSE EN RAUM VON 60mm UBER DIE MOTORBOX FDR DEN STROMANSCHLUSS GESCHaffen UND DIE STECKDOSE DES STROMKABELS VERBORGEN WERDEN
ATTENTION: LAISSER UN ESPACE DE 60 MM AU DESSUS DU BOX MOTEUR POUR LA ConnEXION DE L'ALIMENTATION ET Cacher LA PRISE DU CABLE D'ALIMENTATION
LET OP: BOVEN DE MOTORBOX EEN RIUMTE VAN 60mm CREEREN VOOR DE AANSLUITING VAN DE VOEDING EN OM HET STOPCONTACT VAN DE VOEDINSKABEL TE VERBERGEN


4





CEILING PANEL 124


CEILING PANEL 124 22Kg

Per aprire firare qut simultaneamente Please pull here in the same time to open Ziehen ste hier











CEILING PANEL 124 SM





USCITA CAVO ALIMENTAZIONE OUTPUT POWER CABLE AUSGANGLETUNG KABEL SORTTE CABLE D'ALIMENTATION UTTGANGSVERMIOGEN CABLE
CEILING PANLE 124 18Kg


Per aprire firare quit simultaneamente Please pull here in the same time to open Ziehen sie hier





(6) OPTION B





OPTION B
6/A




EICOE22






OPTION B


EICOE22 SM





EICOE22 SM 120 (21Kg)
USCITA CAVO ALIMENTAZIONE OUTPUT POWER CABLE AUSGANGLETUNG KABEL SORTTE CABLE D'ALIMENTATION UTTGANGSVERMOGEN CABLE





EICOE22 SM 90 (16Kg)
USCITA CAVO ALIMENTAZIONE OUTPUT POWER CABLE AUSGANGLESTUNG KABEL SORTTE CABLE D'ALIMENTATION UITCANGSVERMIOGEN CABLE

Per oprire tirare qui simultaneamente Please pull here in the same time to open Ziehen sie hier





OPTION B
6/A



(8)

AIDA SM

AIDA - AMT08 OPTION 2








③

④

(5)





AIDA - AMTO8 OPTION 4












(4)

(5)





AIDA

AIDA 60 (10Kg)
AIDA 90 (11Kg)







AMT09













AMT10


AMT20










AMT13






SimpelGids