Meisterstück SO610 - Radio SONORO - Gratis gebruiksaanwijzing en handleiding
Vind de handleiding van het apparaat gratis Meisterstück SO610 SONORO in PDF-formaat.
| Kenmerken | Details |
|---|---|
| Producttype | Radio |
| Radiofrequenties | FM, AM |
| Connectiviteit | Bluetooth, AUX |
| Voeding | Netstroom, Oplaadbare batterij |
| Afmetingen | Compacte afmetingen voor eenvoudig gebruik |
| Gewicht | Lichtgewicht, gemakkelijk mee te nemen |
| Gebruik | Ideaal om naar de radio te luisteren, muziek via Bluetooth |
| Onderhoud | Reinigen met een zachte doek, geen schurende producten gebruiken |
| Veiligheid | Niet blootstellen aan water, gebruiken in een droge omgeving |
| Garantie | Controleer de garantievoorwaarden bij de verkoper |
Veelgestelde vragen - Meisterstück SO610 SONORO
Gebruikersvragen over Meisterstück SO610 SONORO
0 vraag over dit apparaat. Beantwoord die u kent of stel uw eigen vraag.
Stel een nieuwe vraag over dit apparaat
Download de handleiding voor uw Radio in PDF-formaat gratis! Vind uw handleiding Meisterstück SO610 - SONORO en neem uw elektronisch apparaat weer in handen. Op deze pagina staan alle documenten die nodig zijn voor het gebruik van uw apparaat. Meisterstück SO610 van het merk SONORO.
GEBRUIKSAANWIJZING Meisterstück SO610 SONORO
Bedieningshandleiding
Bedieningshandleiding
Inhoudsopgave
1 Inleiding 229
1.1 Contactgegevens 229
1.2 Beoogd gebruik 230
2Uw MEISTERSTUCKlerenkennen 230
2.1 Leveringsomvang 230
2.2 Bedieningselementen en poorten 231
2.3 Technische gegevens 236
2.4 Goedkeuringsmarkeringen en certificateen 237
3 Aan de slag 238
3.1 MEISTERSTUCK uitpakken 238
3.2 De batterij in de afstandsbediening plaatsen 238
3.3 De antennes gebruiken 239
3.4 Initiele set-up uitvoeren 240
4 Basiswerking 241
5 De menu's gekruiken 244
6 Weergavepictogrammen 245
7 FM-radiomodus 246
7.1 Bediening 246
7.2 Menu Setup 247
8 DAB-radiomodus 249
8.1 Bediening 249
8.2 Menu Setup 250
9 Internetradiomodus 252
9.1 Bediening 252
9.2 Menu Setup 253
9.3 Zenderlijst 254
9.4 De webportal gebruiken 255
10 Spotify-modus 256
10.1 Bediening 256
10.2 Menu Setup 256
11 Mijn Muziekmodus 259
11.1 Bediening 259
11.2 Menu Setup 260
12 Bluetooth-modus 262
12.1 Koppelen 262
12.2 Bediening 262
12.3 Menu Setup 263
13 AUX In 1-modus 264
13.1 Bediening 264
13.2 Menu Setup 264
14 AUX In 2-modus 265
14.1 Bediening 265
14.2 Menu Setup 265
Hartelijk dank voor de aanschaf van MEISTERSTUCK. Deze bedieningshandleiding en de verilgheidshandleiding bieden alle informatatie die vereist is voor een probleemloze en veilige werking van MEISTERSTUCK.
- Lees de bedieningshandleiding en de veiligheidshandleiding in zijn geheel alvorens MEISTERSTUCK in gebruik te nemen.
- Bewaar de bedieningshandleiding en veiligheidshandleiding voor toekomstig gebruik.
- Als u MEISTERSTÜCK aan derden doorgeeft, geef ze dan ook de bedieningshandleiding en de veiligheidshandleiding.
- Het Niet opvolgen van de bedieningshandleiding en veiligheidshandleiding kan leiden tot ernstig letsel of schade aan MEISTERSTUCK.
- Wij aanvaarden geen aansprakelijkheid voor schade als gevolg van het Niet opvolgen van de aanwijzingen in deze bedieningshandleiding en verilgheidshandeldeiding.
De afbeeldingen in deze bedieningshandleiding zijn bedoeld om de handelingen te illustreren die nodig�n om MEISTERSTUCK te bedieren.
Geniet van uw MEISTERSTUCK!
1.1 Contactgeevens
| Adres | sonoro audio GmbH, Nordkanalallee 94, 41464 Neuss, Duitsland |
| Telefoon | +49 2131 8834-141 |
| Fax | +49 2131 7517-599 |
| support@sonoro.de | |
| Internet | www.sonoro.de |
1.2 Beoogd gebruik
MEISTERSTÜCK is alleen bestemd voor eigen gebruik. Het is Niet bedoeld voor commercieel gebruik. MEISTERSTÜCK is uitsluitend bedoeld voor de volgende taken:
- Het afspelen van FM/DAB+/Internetradio en Spotify-streamingservice.
- Het afspelen van audio-CD 12 cm en MP3/WMA-CD-schijf.
- Audioweergave van externe apparaten die+zijn aangesloten via AUX In, USB-poort of Optische ingang.
- Audioweergave van Bluetooth-apparaten (zoals mobiele telefoons).
- Muziek streamen maar Bluetooth-hoofdtelefoonapparaten.
- Opladen van externe apparaten die via de USB-poort worden aangesloten.
Elk ander gebruik worden beschouwd als oneigenlijk gebruik en is dus verboden. Wij aanvaarden
geen aansprakelijkheid voor schade als gevolg van oneigenlijk gebruik.
2Uw MEISTERSTUCK leren kennen
2.1 Leveringsomvang
Naast de MEISTERSTUCK zelf omvat de leveringsomvang ook de
volgende accessoires:
- Afstandsbediening
Eén knoopel (CR2032, 3V)
Stroomsoer
FM/DAB-kabelantenne
FM/DAB telescopische antennae - Externe wifi-antenna
Snelstartgids
Bedieningshandleiding
Veiligheidshandleiding
Wenskaart - sonoro audio-collectie flyer
Spotify-flyer - Blad leveringsadres
- Handschoenen
2.2 Bedieningselementen en poorten Vooraanzicht

-
Knop Afspelen/pauze ( 14. Preset 4 knop (4)
-
Stopknop ( 15. Hoofdtelefoonaansluiting ( )
-
Display 16. CD uitwerpknop (▲)
-
Setup-knop (SETUP) 17. CD-sleuf
-
Volumeknop, navigatieknop 18. Stand-byknop () OK-knop (druk op de knop) 19. FM-radiomodus (FM)
-
Menukop (MENU) 20. DAB-radiomodus (AAS)
-
Knop links, vorige overslaan(1) 21. Internetradiomodus (INTERNET)
-
Knop rechts, volgende overslaan (▶) 22. Bluetooth-modus (*)
-
Favoriet-knop (FAV) 23. Extra Ingang 1/2 modus (AUX)
-
Terugknop (←) 24. Spotify-modus (©)
-
Preset 1 knop (1) 25. CD-modus (CD)
-
Preset 2 knop (2)
-
Preset 3 knop (3)
Achterkant

- Algemene AAN/UIT-schakelaar
- Externe wifi-antenna-aansluiting
- AC-aansluiting
- Extra ingang 2 (3,5mm)
- Extra ingang 1 (RCA)
- Line-uitgang (RCA)
- USB-poort
- Optische poort
- LAN RJ45-aansluiting
- FM/DAB-antenne-aansluiting
Onderaanzicht

- Basreflex-opening
- Subwoofer-driver
Afstandsbediening


- Setup-knop (SETUP)
- Stand-byknop (O)
- Dempen-knop ( )
- Internetradiomodus (
- Bluetooth-modus (B)
- Optische invoer-modus (OPT)
- Knop rechts, volgende overslaan (▶II)
-
Knop volume omhoog (+)
-
Treble-knop (TREBLE)
- Slaaptimer-knop (SLAAP)
- DAB-radiomodus (DAS)
- FM-radiomodus (FM)
- CD-modus (CD)
-
Spotify-modus (●)
-
Mijn muziek-modus (y)
- Extra Ingang 1/2 modus ()
- Knop Afspelen/pauze (II), OK-knop
- Knop links, vorige overslaan (I)
- Knop volume omlaag (一)^*
- Knop equalizer instellen (EQ)
- Knop bas instellen (EQ)
- Voorkeuzenderknuppen (1-9)
- Informatieknop (INFO)
- Infraroodzender
- Batterijvak
*Navigatieknoppen (+ ,—
| Specificatie | Waarde |
| Afmetingen (B x D x H) | ong. 570 x 262 x 165 mm |
| Gewicht | ong. 9 kg |
| Display | 2.8"TFT-kleurendisplay |
| Frequentiegebied, FM | 87.50 MHz-108.00 MHz |
| DAB/DAB+ | Band III, 174.928 MHz-239.200 MHz |
| Internetradio | Meer dan 25.000 zenders wereldwijd |
| Voorkeuzezenders | 40 voor elke FM | DAB/DAB + | Internetradio, 10 voor Spotify |
| Ondersteunde CD-indelingen | CD-DA (12cm), CD-R*, CD-RW*Audio CD, MPEG 1 Layer 3 (MP3), Windows Media Audio (WMA, DRM nicht ondersteund)Sampling rate 16KHz~48KHz, bit rate max. 320kbps(* Afhankelijk van kwaliteit opname en medium) |
| USB-lader | Uitvoer: DC 5V = = 2.1A |
| USB afspelen | Compatibleit system: FAT 16, FAT 32 (niet compatibil met NTFS of andere systemen) |
| AUX-IN | Poort 1 : 3,5mm aansluiting Gevoeligheid: 300 mVPoort 2 : 3,5mm aansluiting Gevoeligheid: 1000 mV |
| Optisch in, TOSLINK | Ondersteunt lineaire PCMSample rate: 28KHz-216KHzKanaal: Stereo 16 bit, 24bit |
| Streaming | Bluetooth | Spotify | DLNA | UPnP |
| Mijn muziek ondersteuningmedia-indelingen | AAC, AAC+, MP3, WAV, WMA, FLACMax. 16 bits, 2 kanalen, samplefrequentie 48KHz |
| Netwerkondersteuning | IEEE 802.11 a/b/g/n, 2.4 & 5GHz banden, Ethernet2.412-2.472GHz / 5.18GHz - 5.32GHz / 5.50GHz-5.70GHz |
| Max. overgebracht | < 20dBm |
| Gecodeerde sleutel | WEP, WPA, WPA2 (PSK), WPS |
| Multiroom-functie | Maximaal 5 luidsprekers in een groep (4 client en 1 server) |
| Bluetooth | Versie 3.0Profiel: AVRCP v1.4, A2DP 1.2, HSP v1.22.402-2.480 GHz |
| Max. overgebracht vermogen | < 10dBm |
| Batterij | CR2032 (afstandsbediening) |
| Stand-byvermogen | < 1.0W |
| Netwerk stand-by | < 2.0W |
2.4 Goedkeuringsmarkeringen en certificaten

Bluetooth
Het Bluetooth®-woordmerk en -logo's+zijn gedeponeerde handelsmerken van Bluetooth SIG, Inc. en elk gebruik van deze merken door sonoro audio GmbH is onder licentie. Andere handelsmerken en handelsnamen�zijn eigendom van hun respectieve eigenaars.

Spotify

Dit product bevat Spotify-software die valt onder licenties van derden die hier+zijn te vinden: www.spotify.com/connect/third-party-licenses

UPnP™ is een handelsmerk van UPnP™ Forum.
3 Aandeslag
3.1 MEISTERSTÜCK uitpakken
- Haal MEISTERSTUCK uit de verpakking en contrôleer of MEISTERSTUCK of de afzonderlijke delen schade vertonen. Als dit het geval is, moet u MEISTERSTUCK Niet gebruiken. Mocht u enige schade opsporen, neem dan direct contact op met uw dealer of met de klantenservice van sonoro audio GmbH.
- Controller of de levering compleet is (zie hoofdstuk "Leveringsomvang").
- Plaats MEISTERSTÜCK op een geschikte plaats.
- Verwijder de beschermfolie van de display.
- Verwijder de beschermende kaart van de subwoofer-driver.
3.2 De batterij in de afstandsbediening plaatsen
- Open het deksel van het batterijkompartiment aan deijkenkant van de afstandsbediening door het linksom te draaien met behulp van een muntje.
- Plaats de meegeleverde batterijen (CR2032, 3 V) met het label (+) maar boven.
- Zet het deksel van het batterijcompartment terug en draai het deksel rechtsom met behulp van een muntje.

i
Blokkeer de infraroodsensor op de MEISTERSTUCK en de infraroodzender op de afstandsbediening Nietijdens het gebruik.
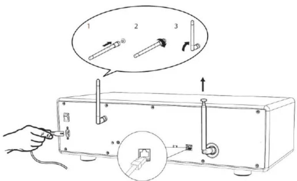
3.3 De antennes gebruiken
-
De levering omvat een kabelantenne en een staafantenne. Voor optimale radio-ontvangst要去en van de twee antennes worden gebruikt.
-
Schroef de gewenste anteenne aan de weiterijde van MEISTERSTUCK op de FM/DAB antenneneconnector.

- Als u de kabelantenne gebruikt, vouv de kabelantenne dan uit en lijn de antennne zo uit, dat u de best möglichke ontvangst hebt.

i
Voor een goede FM/DAB radio-ontvangst要去en de twee uiteinden van de kabelantenne een 'T' (dipool) vormen met de aansluitingskabel.
A: Aanbevolen uitlijning voor FM
B: Aanbevolen uitlijning voor DAB
Sluit voor een nog betere ontvangst de kabel aan op een geschikteuisantenne.
-
Als u de staafantenne gebruikt, trek de armen van de antennne dan uit elkaar en lijn de antennne zouit, dat u de best möglichke ontvangst hebt.
-
Schroef de gewenste wifi-antenna aan de weiterzijde van MEISTERSTUCK op de wifi-antenneneconnector. Til de wifi-antenne omhoog.
-
Als u MEISTERSTUCK wilt verbinden met uw network via een Ethernet-kabel, sluit dan een Ethernet-kabel van de LAN-poort op de blijkant van MEISTERSTUCK aan op uw router.

- Sluit het netsnoer aan op het stopcontact.
3.4 Initièle set-up UITvoeren
Wanneer MEISTERSTUCK voor de eerste keer worden ingeschakeld, verschijnt de "Setup wizard" op het display. Volg de onderstaande instructies voor het configureren van enkele basisinstelleningen.
- Wanner de "Setup wizard" worden weergegeven, drukt u op + of - op de afstandsbediening (of draai aan de navigatieknop) om "YES" te selecteren druk dan op OK om de set-up te beginnen.

-
Vervolgens worden u gevraagd om te selecteren:
-
Taal (te gebruiken in de weergave)
-
Tijdnotatie (12 of 24研究成果),
-
Bron van auto-update (Update van de radio, internet of geen update).
Afhankelijk van de keuze die u hebt gemaakt, volgt u de instructies op de display om de datum en tijd, de tijdzone, de zomertijd of draadloos
network in te stellen. Draai aan de navigatieknop op MEISTERSTUCK of druk op de navigatieknoppen op de afstandsbediening om selecties make en druk verwolgens op OK om te bevestigen (zie hoofdstuk "De menu's gebruiken").
Als update van internet is geseleerd, moet eerst de wifi verbinding worden gemaatk. Bij het invoeren van de code van uw draadloos network, draait u aan de navigatieknop op MEISTERSTUCK of u drukt op de navigatieknoppen op de afstandsbediening om een teken te selecteren en verrolgens drukt u op OK om te bevestigen. Selecteer [BKSP] om de LASTe invoer te verwijderen. Selecteer [CANCEL] om de code-invoer te annuleren. Selecteer [OK] om de ingevoerde code te

bevestigen.
- Wanner "Setup wizard completed" verschijnt, drukt u op OK om deinstalling af te sluiten.

- Als alternatif gebruikt u de Ethernet (LAN)-aansluiting op uw router (met automatische configuratie) en u selecteert de menuoptie [Bedraad] in het beschikbare network.
i
Ga om de set-up wizard nogmaalsuit te voeren maar [Systeeminstelingen] en selecteer [Setup wizard] (Zie hoofdstuk "Systeeminstelingen").
4 Basiswerking
| Om aan te zetten | Druk op Ⓒ MEISTERSTÜCK worden gestart van de LASTe geseleerde weergavemodus. |
| Om uit te zetten (stand-bymodus) | Druk op Ⓒ Dearend datum (indien ingesteld) worden weergegeven. MEISTERSTÜCK worden na 15 minuten automatischuitgeschakeld als er niets worden afgespeeld en bediend. |
| Om een weergavemodus te selecteren | Druk eenmaal op MENU, daarna op|| (of draai aan de navigatieknop) om een weergavemodus te selecteren en drukervolgens op OK om te bevestigen. Modusvolgorde: FM-Radio > DAB-radio >Internetradio > Spotify > Mijn muziek >Bluetooth > Aux In 1 > Aux In 2 > Optisch > CD |
| Omrechtstreeks eenweergavemodus te selecteren | druk op de toets voorrechtstreekse bediening op de afstandsbediening of het Voorpaneel omrechtstreeks overs te schaken van één bedieningsmodus maar de andere. |
| Een CD afspelen | Plaats CD-schijf in de CD-sleuf en MEISTERSTÜCKbegint met het afspelen van de CD. |
| Om het volume te regelen | drukt u op + of – op de afstandsbediening of u draait aan de volumeknop op MEISTERSTÜCK. |
| Koppelen met eenBluetooth-hoofdtelefoon | In alle gebruiksmodi met uitzondering van deBluetooth-modus houdt u de toets *op MEISTERSTÜCK of de afstandsbediening ingedrukt. Of druk eenmaal op SETUP, daarna op + of - (of draai aan de navigatieknop) om een [Bluetooth-hoofdtelefon] te selecteren. Selecteer daarna [Bluetooth koppelen] en druk verzolgens op OK om te bevestigen. Hetkleine Bluetooth-hoofdtelefoonpictogram ( Knippert om aan te Geven dat het MEISTERSTÜCK gereed is om te koppelen. Het Bluetooth-hoofdtelefoonpictogram (Stopt met knipperen als het koppelen is voltooid. De naam van het gekoppelde Bluetooth-hoofdtelefooapparaat worden tijdelijk weergegeven in het display. Opmerking: Het koppelingsproces wordt automatisch uitgevoerd tussen MEISTERSTÜCK en de Bluetooth-hoofdteleloon. Zorg ervoor dat uw Bluetooth-hoofdteleloon al in ontdekkingsmodus is en klaar is om te koppelen. Ga voor meer geevens�n uw de handleiding van uw Bluetooth-apparaat. |
| Een Bluetooth-hoofdtelefon loskoppelen | Druk eenmaal op SETUP, daarna op + of - (of draai aan de navigatieknop) om een [Bluetooth-hoofdteleloon] te selecteren. Selecteer daarna [Bluetooth ontkoppelen] en druk verzolgens op OK om te bevestigen. |
5 De menu's gebruiken
Er zijn drie soorten menu's in MEISTERSTUCK.
- Menu Setup (voor specifieke installingen in een weergavemodus, bijv. [FM Automatisch zoeken] in FM-modus)
- Systeeminstallingen (voor algemene installingen, bijv.ijd/datum, taal enz.)
- Hoofdmenu (voortoegang tot weergavemodi en slaaptimer)
| Om toegang te krijgen tot de menu's | drukt u op SETUP. De inhoud van de menu's{kunnen verschellen per weergavefuncties. |
| Om een optie te selecteren in de menu's | Draai aan de navigatieknop op MEISTERSTÜCK of druk op + of - op de afstandsbediening. |
| Om een selectie in de menu's te bevestigen | drukt u op OK. (Op MEISTERSTÜCK drukt u op de navigatieknop) |
| Om=eén niveau terug te gaan in het menu | Druk op←. |
6 Weergavepictogrammen
Raadpleeg de onderstaande tabel voor de betekenissen van de weergavepictogrammen ze op de display worden weergegeven.
| Wifi-verbinding gemaakt (met de sterkte van het signal). | |
| Wifi-verbinding is verbroken. | |
| LAN-verbinding is tot stand gebracht. | |
| LAN-verbinding is losgekoppeld. | |
| Een Bluetooth-apparaat is aangesloten. | |
| Een Bluetooth-hoofdtelefoon is aangesloten. | |
| De radiozender is in de voorkeuzelijst. | |
| FM RDS-informatie worden ontvangen. | |
| Radio-siŋaal wordt ontvangen (met de sterkte van het signal). | |
| Weergavemodus Alles herhalen is actief. | |
| Weergavemodus Herhalen is actief. | |
| Weergavemodus Map herhalen is actief. | |
| Weergavemodus Shuffle is actief. | |
| Weergavemodus Alles herhalen en Shuffle়n actief. | |
| Slaaptimer is actief. | |
| Stereo-uitzending is beschikbaar. | |
| Geluid is gedempt. | |
| Een USB-apparaat is aangesloten. | |
| Afspelen is gesauzeerd. |
7 FM-radiomodus
7.1 Bediening
| Voor toegang tot de FM-radiomodus | Druk®toets op MEISTERSTÜCK of afstandsbediening.Of druk eenmaal op MENU, daarna op IIof draai aan de navigatieknop) om de FM-radiomodus te selecteren en drukervolgens op OK om te bevestigen. |
| Om handmatig de_freqie af te stemmen | Druk op IIOf houd de navigatieknop ingedrukt om te beginnen met handmatig afstemmen. |
| Om automatisch af te stemmen op de volgende beschikbare zender | houdt u IIOf navigdrukt.Of druk op de navigatieknop om te beginnen met de automatische afstemming. |
| Voor het opslaan van een radiostation in de de voorkeuzelijst | Maximaal 40 radiozenders+konnen worden opgeslagen.1. Houd de toets FAV op MEISTERSTÜCK ingedrukt totdat de voorkeuzelijst worden weergegeven.2. Druk op + of - (of draai aan de navigatieknop) om een voorkeuzendernummer te selecteren en drukervolgens op OK om te bevestigen. |
| Voor het direct opslaan van een radiostation in de voorkeuzelijst (1-9) | Stem af op een zender en houdervolgens een voorkeuzendaerknop ingedrukt (1-9) om deze rechtstreeks op te slaan in de voorkeuzelijst. |
| Voor het terughalen van een radiostation in de de Voorkeuzelijst | 1. drukt u op FAV. 2. Druk op + of - (of draai aan de navigatieknop) om een radiozender in de voorkeuzelijst te selecteren en drukervolgens op OK om te bevestigen. Of druk op een voorkeuzenderknop (0-9) voor toegang tot een voorkeuzender (1-40). |
| Om te bladeren�de radiozenderinformatie (indien beschikbaar) | Druk herhaaldelijk op INFO. |
| Om het geluid te dempen of teherstellen | Druk op/of ▷p de knop. |
7.2 Menu Setup
Druk op SETUP in de FM modus om toegang krijgen tot het menu Setup (zie hoofdstuk "De menu's gebruiken"). De volgende opties zijn beschikbaar en de huidige instellingen (indien van toepassing) zijn gemarkeerd met een sterretje (*).
[FM Automatisch zoeken]
Voor het automatisch opslaan van alle beschikbare radiozenders in de voorkeuzelijst.*
- Alle bestaande voorkeuzegers worden gewist.
[FM Scaninstelling]
Om te bepalen of alleen stations met sterke signalen worden gescand bij het UITvoeren van het automatisch afstemmen.
[FM Ontvangstinstelling]
Om radio te luisteren in stereo of mono.
- [Bluetooth-hoofdtelefoon]
Om aan te sluiten of los te koppelen met een Bluetooth-hoofdtelefoon, die hoofdstuk "Basisbediening".
- [Systeeminstallingen]
Zie hoofdstuk "Systeeminstallingen".
- [Hoofdmenu]
Om toegang te krijgen tot andere weergavemodi of slaaptimer.
8 DAB-radiomodus
8.1 Bediening
| Voor toegang tot de DAB-radiomodus | Druk op DE toets op MEISTERSTÜCK of afstandsbediening.Of druk eenmaal op MENU, daarna opIIf >>II (of draai aan de navigatieknop) om de DAB-radiomodus te selecteren en druk cervolgens op OK om te bevestigen. |
| Om te zoekenaar DAB radiozenders, | De eerste keer dat u de DAB-modus selekteert of als de zenderlijst leeg is, za MEISTERSTÜCK automatisch een volledige scanuitvoeren en alle beschikbare zenders opslaan in de zenderlijst. |
| Om af te stemmen op een zender | Druk op IIf . >>II |
| Voor het opslaan van een radiostation in de voorkeuzelijst | Maximaal 40 radiozenders kunnen worden opgeslagen.1. Houd de toets FAV op MEISTERSTÜCK ingedrukt totdat de voorkeuzelijst worden weergegeven.2. Druk op + of - (of draai aan de navigatieknop) om een voorkeuzendernummer te selecteren en druk cervolgens op OK om te bevestigen. |
| Voor het direct opslaan van een radiostation in de voorkeuzelijst (1-9), | Stem af op een zender en houd cervolgens een voorkeuzendezirknop ingedrukt (1-9) om dezerechtstreeks op te slaan in de voorkeuzelijst. |
| Voor het ophalen van een radiostation in de voorkeuzelijst | 1. drukt u op FAV. 2. Druk op + of – (of draai aan de navigatieknop) om een radiozender in de voorkeuzelijst te selecteren en drukervolgens op OK om te bevestigen. Of druk op een voorkeuzenderknop (0-9) voor toegang tot een voorkeuzender (1-40). |
| Om te bladeren maar de radiozenderinformatie* (indien beschikbaar) | Druk herhaaldelijk op INFO. |
| Om het geluid te dempen of teherstellen | Druk op of op die knop. |
*DAB-informatie (indien beschikbaar) bevat: Zendernaam, Dynamic Label Segment (DLS), signalsterkte, programmatype (PTY), naam ensemble, frequente, signaalfoutenpercentage, bitrate en audiostatus, codec, en datum enarend.
8.2 Menu Setup
Druk op SETUP in de DAB-modus om toegang krijgen tot het menu Setup (zie hoofdstuk "De menu's gebruiken"). De volgende opties zijn beschikbaar en de huidige instellingen (indien van toepassing) zijn gemarkeerd met een sterretje (*).
- [Zenderlijst]
Alle beschikbare stations weergeven.
- [Scan]
Alle beschikbare zenders scanners en opslaan.
- [Handmatig afstemmen]
De frequently handmatig afstemmen. De lijst van beschikbare digitale radio-ensembles worden weergegeven.
- [Ongeldige zenders weghalen]
Alle onteldige stations uit de zenderlijk verwijderen.
[DRC]
Sommige DAB uitzendingen bieden dynamische bereikcompressie (DRC). Het comprimeren van het dynamische bereik van een radiosignaal kan het volume verhogen van zachte geluiden en het volume van harde geluiden verminderen. U kunt hoog, laag of uit selecteren. Hoog niveau worden aanbevolen voor een lawaaierige omgeving.
[Zendervolgorde]
Voor het definiën hoe de stations worden weergegeven tijdens het bladeren door de zenderlijkst. Opties:
[Alfanumeriek] Rangschik de zenders in alfabetische volgorde,
- [Ensemble]: Lijst van zenders die samen worden uit gezonden op hetzelfde ensemble, en
[Geldig]: Lijst van geldige zenders eerst, dan zenders die uit de lucht zich.
- [Bluetooth-hoofdtelefoon]
Om aan te sluiten of los te koppelen met een Bluetooth-hoofdtelefoon, die hoofdstuk "Basisbediening".
- [Systeeminstallingen]
Zie hoofdstuk "Systeeminstallingen".
[Hoofdmenu]
Om toegang te krijgen tot andere weergavemodi of slaaptimer.
9 Internetradiomodus
9.1 Bediening
Wifi- of Ethernet-internetverbinding moet eerst worden ingesteld om internetradio te kuren gebruiken (Zie hoofdstukken "Initièle set-upuitvoeren" en "Netwerk").
| Voor toegang tot de internetradiomodus, | Druk op de toets INTERNET op MEISTERSTÜCK of op® de afstandsbediening. Of druk eenmaal op MENU, daarna op II@f >> (of draai aan de navigatieknop) om de Internetradiomodus te selecteren en druk verzolgens op OK om te bevestigen. MEISTERSTÜCK begint te verbinden met het eerder verbonden netwerk en daarna met het�de的一员st beluisterde zender. |
| Om af te stemmen op een radiozender of podcast, | Zie hoofdstuk "Zenderlijst". |
| Voor het opslaan van een radiostation in de voorkeuzelijst | Maximaal 40 radiozenders+konnen worden opgeslagen. 1. Houd de toets FAV op MEISTERSTÜCK ingedrukt totdat de voorkeuzelijst worden weergegeven. 2. Druk op + of - (of draai aan de navigatieknop) om een voorkeuzenzendernummer te selecteren en druk verzolgens op OK om te bevestigen. |
| Voor het direct opslaan van een radiostation in de voorkeuzelijst (1-9), | Stem af op een zender en houd verzolgens een voorkeuzenzenderknop ingedrukt (1-9) om dezerechtstreeks op te slaan in de voorkeuzelijst. |
| Voor het ophalen van een radiostation in de voorkeuzelijst | 1. druk op de FAV-toets. |
| 2. Druk op + of – (of draai aan de navigatieknop) om een radiozender in de voorkeuzelijst te selecteren en drukervolgens op OK om te bevestigen. | |
| Of druk op een voorkeuzenderknop (0-9) voor toegang tot een voorkeuzender (1-40). | |
| Om te bladeren maar de zenderinformatie* (indien beschikbaar) | Druk herhaaldelijk op INFO. |
| Om het geluid te dempen of te herstellen, | Druk op de knop |
*Zenderinformatie (indien beschikbaar) bevat: Naam artiest en track, zenderbeschrijving, zendergenre en -locatie, signaalbetrouwbaarheid, codec en samplefrequentie, afspelen buffer en datum.
9.2 Menu Setup
Druk op SETUP in de internetradiomodus om toegang krijgen tot het menu Setup (zie hoofdstuk "De menu's gebruiken"). De volgende opties zijn beschikbaar en de huidige instellingen (indien van toepassing) zijn gekarkeerd met een sterretje (*).
[Laatst beluisterd]
Afstemmen op de LASTe beluisterde radiozenders.
[Zenderlijst]
Afstemmen op alle beschikbare internetradiozenders (zie hoofdstuk "Zenderlijst").
- [Bluetooth-hoofdtelefoon]
Om aan te sluiten of los te koppelen met een Bluetooth-hoofdtelefoon, die hoofdstuk "Basisbediening".
[Systeeminstallingen]
Zie hoofdstuk "Systeeminstallingen".
[Hoofdmenu]
Om toegang te krijgen tot andere weergavemodi of slaaptimer.
9.3 Zenderlijst
De volgende menu's en submenu's zijn beschikkaar in de [Zenderlijkst]:
[Mijn favorieten]
Bladerenaar en afstemmen op de internetradiozenders die u hebt toegevoegd aan"Mijn favorieten"op de webportal (zie hoofdstuk "De webportal gebruiken").
- [Lokaal (naam van uw locatie)]
Bladeren maar en afstemmen op radiozenders beschikbaar in uw regio. De zenders worden onderverdeeld in verschillende categorieën.
[Zenders]
- [Locatie]: Bladeren maar en afstemmen op radiozenders per locatie.
- [Genre]: Bladeren maar en afstemmen op radiozenders per genre.
- [Zenders Zoeken]: Zoekenaar beschikbare radiozenders met trefwoorden.
- [Populaire zenders]: Bladeren maar en afstemmen op de meest populaire internetradiozenders.
-
[Nieuwe zenders]: Bladeren maar en afstemmen op de{nieuwste internetradiozenders.
-
[Podcasts]
-
[Locatie]: Bladeren maar en afstemmen op podcasts per locatie.
- [Genre]: Bladeren maar en afstemmen op podcasts per genre.
- [Podcasts Zoeken]: Zoekenaar beschikbare podcasts met trefwoorden.
[Mijn toegevoegde zenders]
Bladerenaar en afstemmen op de radiozenders die u hebt toegevoegd aan"Mijn toegevoegde zenders"op de webportal (zie hoofdstuk "De webportal gebruiken").
[Help]
- [Toegangscode krijgen]: De toegangscode van MEISTERSTUCK verkrijgen.
[FAQ]: Hulp krijgen wanneer de internetradio Niet goed werkt.
9.4 De webportal gebruiken
In de Frontier Silicon Internet Radio portalwebsitekestuuw"Mijn favorieten"ordenen en neue internetradiozenders toevoegen op een computer. Hiervoor moet u zich eerst registrareren op de webportal.
- In de internetradiomodus drukt u op SETUP en daarna gaat u waar [Zenderliest]
[Help] > [Toegangscode krijgen]. Noteer de toegangscode.
-
Ga waar www.wifiradio-frontier.com op de webbrowser van uw computer.
-
Registreer een neue account met de toegangscode.
-
Volg de instructies in de webportal en gebruik "Mijn favorieten" en "Mijn toegevoegde zenders" om radiozenders toe te voegen.
De toegevoegde zenders in "Mijn favorieten" zijn toegankelijk zich via [Mijn favorieten] in de internetradiomodus van MEISTERSTUCK.
De toegevoegde zenders in "Mijn toegevoegde zenders" zijn toegankelijk zich via [Mijn toegevoegde zenders] in de internetradiomodus van MEISTERSTUCK.
10 Spotify-modus
i
Om muziek van "Spotify" waar te gehen,要去 u de "Spotify"-toepassing op uw mobiele telefoon installereren, een account instellen en de premium-versie (vergoeding) kopen. Ook要去 uw mobiele telefoon worden geregisteerd in hetzelfde wifi-network als deze MEISTERSTUCK.
Voor de meest recente instructies voor het instellen van Spotify: www.spotify.com/connect
10.1 Bediening
Uw mobiele telefoon met Spotify moet worden geregisteerd in hetzelfde wifi-network als MEISTERSTUCK.
| Voor toegang tot de Spotify-modus | Druk op de toets®op MEISTERSTÜCK of afstandsbediening. Of druk eenmaal op MENU, daarna op II® ►II (of draai aan de navigatieknop) om de Spotify-modus te selecteren en druk verzolgens op OK om te bevestigen. |
| Om een item (nummer, album enz.) te selecteren en afspelen in Spotify te starten | Gebruik de Spotify-toepassing op uw mobiele telefoon om te bladeren maar een item en om dit af te spelen. |
| Voor het afspelen van Spotify via MEISTERSTÜCK | Speel een nummer op Spotify en klik op '®BESCHIKBARE APPARATEN'. Kies "MEISTERSTUECK"uit de lijst met beschikbare apparaten en de muziek worden luid weergegeven. |
| Om het afspelen te pauzeren of te hervatten | Druk opII . |
| Om maar het vorige of volgende af te spelten item te.gaan | Druk opII®. ® |
| Voor het opslaan van een afgespeeld item in de voorkeuzelijst | Maximaal 10 items+kuren worden opgeslagen. 1. Druk op SETUP totdat Favoriet opslaan worden getoond en druk dan op OK om te bevestigen. 2. Druk op + of - (of draai aan de navigatieknop) om een voorkeuze-itemnummer te selecteren en drukervolgens op OK om te bevestigen. |
| Voor het direct opslaan van een item in de voorkeuzelijst (1-9) | Selecteer een aftseeltem en houdervolgens een voorkeuzenderknop ingedrukt (1-9) om hetrechtstreeks op te slaan in de voorkeuzelijst. |
| Voor het ophalen van een afgespeeld item in de voorkeuzelijst | 1. druk op de FAV-toets. 2. Druk op + of - (of draai aan de navigatieknop) om een item in de voorkeuzelijst te selecteren en drukervolgens op OK om te bevestigen. Of druk op een voorkeuzenderknop (0-9) voor directe toegang tot een aftseeltem (1-10). |
| Om te bladeren�informatie (indien beschikbaar) van het aftseeltem | Druk herhaaldelijk op INFO. |
10.2 Menu Setup
Druk op SETUP in de Spotify-modus om toegang krijgen tot het menu Setup (zie hoofdstuk
"De menu's gebruiken"). De volgende opties zijn beschikkaar en de huidige instellingen (indien van toepassing) zijn gemarkeerd met een sterretje (*).
- [Bluetooth-hoofdtelefoon]
Om aan te sluiten of los te koppelen met een Bluetooth-hoofdtelefoon, die hoofdstuk "Basisbediening".
- [Systeeminstallingen]
Zie hoofdstuk "Systeeminstallingen".
[Hoofdmenu]
Om toegang te krijgen tot andere weergavemodi of slaaptimer.
11 Mijn muziek-modus

LET OP!
Risico op beschadiging!
Onjuiste behandeling van MEISTERSTUCK kan schade veroorzaken.
- Sluit MEISTERSTÜCK nicht rechtstreeks aan op de USB-poort van een computer of andere exter opslagmiddelen zoals een externe harde schijf.
i
Mijn Muziek-modus kan audiobestanden afspelen die zijn opgeslagen op een aangesloten USB-stick of vanaf een mediaserver (UPnP) die hetzelfde wifi-network heeft als MEISTERSTUCK.
11.1 Bediening
| Voor toegang tot de Mijn muziek-modus, | Druk op de toets op de afstandsbediening. Of druk eenmaal op MENU, daarna op II (of draai aan de navigatieknop) om de Mijn muziek-modus te selecteren en drukervolgens op OK om te bevestigen. |
| Voor het afspelen van audiobestanden die zich opgeslagen op een USB-stick, | Sluit de USB-stick aan op de USB-poort van MEISTERSTUCK. Druk cervolgens op SETUP en selecteer [USB afspelen] in het menu Setup (zie hoofdstuk "Menu Setup" op volgende頁面). |
| Om het afspelen te pauzeren of te hervatten | Druk opII. |
| Om maar het vorige of volgende audiobestand te gaan | Druk opII. |
| Om snel achechteruit of vooruit te zoeken in een audiobestand, | houdijdens het afspelen ingedrukt. |
| Om een audiobestand toe te voegen aan “Mijnafspeellijst”, | Houd of de ➔ navigatieknop ingedrukt wonneer het bestand is gemarkeerd in het selectiemenu. |
| Om een weergavemodus te selecteren | Druk herhaaldelijk op FAV. • =les heralen • =en heralen • =huffle • =s heralen en shuffle |
| Om te bladeren maar informatie (indien beschikbaar) van het audiobestand | Druk herhaaldelijk op INFO. |
11.2 Menu Setup
Druk op SETUP in de Mijn muziek-modus om toegang krijgen tot het menu Setup (zie hoofdstuk "De menu's gebruiken"). De volgende opties zijn beschikbaar en de huidige instellingen (indien van toepassing) zijn gemarkeerd met een sterretje (*).
[Gedeelde media]
Naar audiobestanden zoeken op het wifi-network of het Ethernet-network.
Zodra een mediaserver is gezonden, verschijnt een keuzemenu voor selectie van audiobestanden die op MEISTERSTUCK nutzen worden afgespeeld.
[USB afspelen]
Naar audiobestanden zoeken op de aangesloten USB-stick.
Zodra een USB-stick is gezonden, verschijnt een keuzemenu voor selectie van audiobestanden die op MEISTERSTUCK konnen worden afgespeeld.
[Mijnafspeellijst]
Bladeren maar audiobestanden opgeslagen in "Mijnafspeelijst" en deze
bestanden afspelen.
- [Herhalen]
Herhaald afspelen van de huidige map/afspeelijst inschakelen of uitschakelen.
[Shuffle]
Shuffle van de huidige map/afspeellijst inschakelen of uitschakelen.
[Mijn afspeellijst wissen]
Items in "Mijn aftspeellijst" wissen.
- [Servers verwijderen]
Als deze instelling is ingesteld op "YES", worden inactieve mediaservers weggehaald. U kurz cervolgens een mediaserver selecteren en "wakker make" (WOL "wake on LAN"-functie) om audiobestanden van MEISTERSTUCK af te spelen.
- [Bluetooth-hoofdtelefoon]
Om aan te sluiten of los te koppelen met een Bluetooth-hoofdtelefoon, die hoofdstuk "Basisbediening".
- [Systeeminstallingen]
Zie hoofdstuk "Systeeminstallingen".
[Hoofdmenu]
Om toegang te krijgen tot andere weergavemodi of slaaptimer.
12 Bluetooth-modus
MEISTERSTUCK kan verbinding makes met spel er met een Bluetooth-optie (b.v. mobiele telefoon) bennen een bereik van ongeveer 10 meter (30 voet).
12.1 Koppeling
- Druk op de toets op MEISTERSTUCK of afstandsbediening. Of druk eenmaal op SETUP, daarna op + of - (of draai aan de navigatieknop) om de Bluetooth-modus te selecteren en drukervolgens op OK om te bevestigen.
HetkleineBluetooth-pictogram khippert om aan te given dat MEISTERSTUCK gereed is om te koppelen.
-
Schakel de Bluetooth-functie in op de speler met Bluetooth-optie enzoek maar beschikbare Bluetooth-apparaten.
-
Selecteer "MEISTERSTÜCK" in de lijst met beschikbare Bluetooth-apparaten om te beginnen met koppelen.
-
Het Bluetooth-pictogram stopt met knipperen als het koppelen is voltooid.
12.2 Bediening
| Voor toegang tot de Bluetooth-audiomodus, | Druk op de toets®op MEISTERSTÜCK of afstandsbediening. Of druk eenmaal op MENU, daarna op IIΦf ➔II (of draai aan de navigatieknop) om de Bluetooth-modus te selecteren en druk verzolgens op OK om te bevestigen. |
| Om te beginnen met afspelen, | Selecteer een audiobestand van uw speler met Bluetooth-optie en start het afspelen. |
| Om het afspelen te pauzeren of te hervatten | Druk opIII. |
| Om maar het vorige of volgende audiobestand te gaan | Druk op IIΦf . ➔II |
| Om snel hinteruit of vooruit te zoeken in een audiobestand, | houd tijdens het afspelen ingedrukt. |
| Om de Bluetooth-verbinding te verbreken, | • Schakel maar een andere weergavemodus of • Selecteer [BT verbinding verbreken] in het menu Setup (zie hieronder), of • Houd ingedrukt. |
| Om te bladeren� informatie (indien beschikbaar) van het audiobestand, | Druk herhaaldelijk op INFO. |
12.3 Menu Setup
Druk op SETUP in de Bluetooth-audiomodus om toegang krijgen tot het menu Setup (zie hoofdstuk "De menu's gebruiken"). De volgende opties zijn beschikbaar en de huidige instellenen (indien van toepassing) zijn gekarkeerd met een sterretje (*).
[BT verbeken]
Om de Bluetooth-verbinding te verbeken,
[Details weergeven]
- [Bluetooth-info]: Om de bestaande status van Bluetooth-verbinding te krijgen.
-
[Verbonden met apparaat]: Om de bestaande naam van het aangesloten Bluetooth-apparaat te krijgen.
-
[Systeeminstelling]
Zie hoofdstuk "Systeeminstallingen".
[Hoofdmenu]
Om toegang te krijgen tot andere weergavemodi of slaaptimer.
13 AUX In 1-modus
13.1 Bediening
Uw externe speler (bijv. een Blu-ray-speler)要去 worden aangesloten op de extra Ingang 1 van MEISTERSTUCK via een audiokabel (met RCA-aansluiting, Niet meegeleverd).
| Voor toegang tot de Aux in 1-modus | Druk op de toets MEISTERSTÜCK of afstandsbediening om te schakelenaar AUX in. 1-modus. Of druk eenmaal op MENU, daarna op II (of draai aan de navigatieknop) om de AUX in 1-modus te selecteren en druk cervolgens op OK om te bevestigen. |
| Om het afspelen te starten en te | Alle afspeelbewerkingenuitvoeren op de externe speler. |
| Om het geluid te dampen of te | Druk op/of ▷b p de knop. |
13.2 Menu Setup
Druk op SETUP in de AUX In 1-modus om toegang krijgen tot het menu Setup (zie hoofdstuk "De menu's gebruiken"). De volgende opties zijn beschikbaaren de huidige instellungen (indien van toepassing) zijn gemarkeerd met een sterretje (*).
- [Bluetooth-hoofdtelefoon]
Om aan te sluiten of los te koppelen met een Bluetooth-hoofdtelefoon, die hoofdstuk "Basisbediening".
- [Systeeminstallingen]
Zie hoofdstuk "Systeeminstallingen".
[Hoofdmenu]
Om toegang te krijgen tot andere weergavemodi of slaaptimer.
14 AUX In 2-modus
14.1 Bediening
Uw externe speler (bijv. een mp3-speler)要去 worden aangesloten op de extra Ingang 2 van MEISTERSTUCK via een audiokabel (met 3,5 mm-aansluiting, Niet meegeleverd).
| Voor toegang tot de extra ingang-2-modus, | Druk op de toets MEISTERSTÜCK of afstandsbediening om te schakelen waar AUX in. 2. Of druk eenmaal op MENU, daarna op IIof >>II (of draai aan de navigatieknop) om de AUX in 2-modus te selecteren en druk verzolgens op OK om te bevestigen. |
| Om het afspelen te starten en te | Alle afspeelbewerkingenuitvoeren op de externe speler. |
| Om het geluid te dempen of te | Druk op of >bp de knop. |
14.2 Menu Setup
Druk op SETUP in de AUX In 2-modus om toegang krijgen tot het menu Setup (zie hoofdstuk "De menu's gebruiken"). De volgende opties zijn beschikbaaren de huidige instellungen (indien van toepassing) zijn gemarkeerd met een sterretje (*).
- [Bluetooth-hoofdtelefoon]
Om aan te sluiten of los te koppelen met een Bluetooth-hoofdtelefoon, die hoofdstuk "Basisbediening".
- [Systeeminstallingen]
Zie hoofdstuk "Systeeminstallingen".
[Hoofdmenu]
Om toegang te krijgen tot andere weergavemodi of slaaptimer.
15 Optische modus
15.1 Bediening
Uw externe speler (bijv. een audioversterker)要去 worden aangesloten op de optische aansluiting van MEISTERSTUCK via een audiokabel (met optische connector, nicht meegeleverd).
| Voor toegang tot de Optische modus | Druk op de toets op de afstandsbediening. Of druk eenmaal op MENU, daarna op || (of draai aan de navigatieknop) om de Optische modus te selecteren en druk verwolgens op OK |
| Om het afspelen te starten en te besturen, | Alle afspeelbewerkingen uitvoeren op de externe speler. |
| Om het geluid te dempen of te herstellen, | Druk op/of ▲bp de knop. |
15.2 Menu Setup
Druk op SETUP in de optische ingang-modus om toegang krijgen tot het menu Setup (zie hoofdstuk "De menu's gebruiken"). De volgende opties zijn beschikbaar en de huidige instellingen (indien van toepassing) zich gemarkeerd met een sterretje (*).
- [Bluetooth-hoofdtelefoon]
Om aan te sluiten of los te koppelen met een Bluetooth-hoofdtelefoon, die hoofdstuk "Basisbediening".
- [Systeeminstallingen]
Zie hoofdstuk "Systeeminstallingen".
- [Hoofdmenu]
Om toegang te krijgen tot andere weergavemodi of slaaptimer.
i
De optische ingang biedt alleen ondersteuning voor lineaire PCM 2-kanalen 16 bit of 24 bit geluidsbron.
16 CD-modus

LET OP!
Risico op beschadiging!
Onjuiste behandeling van MEISTERSTUCK kan schade veroorzaken.
- Plaats geen mini-cd of nicht ondersteund formaat schijf in de MEISTERSTUCK.
16.1 Bediening
MEISTERSTUCK kan audiobestanden afspelen die opgeslagen zijn op een audio-CD, CD-R en CD-RW. De weergave is ook afhankelijk van de schijfkwaliteit.
| Voor toegang tot de CD-modus | Druk op de toets clop MEISTERSTÜCK of afstandsbediening. Of druk eenmaal op MENU, daarna opIIff (opIIdraai aan de navigatieknop) om de CD-modus te selecteren en druk cervolgens op OK om te bevestigen. |
| Om het afspelen te pauzeren of te hervatten | Druk opII . |
| Om het afspelen te stoppen | Druk op■ . |
| Om maar het vorige of volgende audiobestand te gaan | Druk opIIf . ▷II |
| Om snel achechteruit of vooruit te zoeken in een audiobestand | houdijdens het afspelenIIff ingdrukt. |
| Om een weergavemodus te selecteren | Druk herhaaldelijk op FAV. • =les herhalen • =én herhalen • =huffle |
| Om te bladeren maar informatie (indien beschikbaar) van het audiobestand | Druk herhaaldelijk op INFO. |
16.2 Menu Setup
Druk op SETUP in de CD-modus om toegang krijgen tot het menu Setup (zie hoofdstuk "De menu's gebruiken"). De volgende opties zijn beschikbaar en de huidige instellungen (indien van toepassing) zijn gemarkeerd met een sterretje (^*) .
- [Bluetooth-hoofdtelefoon]
Om aan te sluiten of los te koppelen met een Bluetooth-hoofdtelefoon, die hoofdstuk "Basisbediening".
- [Systeeminstallingen]
Zie hoofdstuk "Systeeminstallingen".
[Hoofdmenu]
Om toegang te krijgen tot andere weergavemodi of slaaptimer.
17 Slaaptimer
Met de slaaptimer stelt u dearend in voordat MEISTERSTUCK automatischuitgeschakeld worden.
- Druk op SETUP in een weergavemodus en verrolgens selecteert u [Hoofdmenu] en daarna [Slapen].
Of druk direct op SLEede knop om de slaaptimer in of uit te schakelen. - Druk op + of - (of draai aan de navigatieknop) om een slaaptimer te selecteren (5, 10, 15, 30, 45, 60, 90, 105 of 120 min).
- Druk op OK om de selectie te bevestigen.
Wanner de slaaptimer actief is, worden het slaaptimerpictogram (en de resterende vrij weergegeven. Om de slaaptimer te annuleren, selecteert u [Slaapstanduit].
18 Systeeminstallingen
18.1 Toegang tot de systeeminstellungen
- Druk op SETUP in een weergavemodus en selecteer dan [Systeeminstellingen].
- Raadpleeg de hoofdstukken hieronder voor details van elke instelling. De huidige instelleningen (indien van toepassing) zijn gemarkeerd met een sterretje (^*) .
- Zie hoofdstuk "De menu's gebruiken" voor bladeren maar en het makes van selecties in de systeeminstellungen.
18.2 Equalizer
Selecteer een van de geluidequalizeropties om het geluid aan te passen maar eigeng SMAAK.
[3D-geluid]
Met 3D-geluid worden het stereo-gebied uitgebrecht, waardoor de diepte van de muziekweergave worden verbeterd.
[Luidheid]
Met Luidheid ingeschakeld worden het niveau van de hoge en lage tonen aangepast aan het huidige volume, zodate subtiele geluiden nog steeds duidelijk te horen zich wonneer u rustig maar uw muziek luistert.
[Bas]
Stel de lage tonen bij om de geluidsweergave op maat te make.
[Treble]
Stel de hoge tonen bij om de geluidsweergave op maat te make.
- Selecteer een van de vooraf gedefinieree geluidsequalizeropties met inbegrip van: [Flat], [Jazz], [Rock], [Klassiek] en [Pop].
18.3 Network
- [Netwerkwizard]
Voor het makes van een netwerkverbinding.
Selecteer deze optie als uw draadloze router zowel WPS als PBC set-up-methoden ondersteunt.
De huidige netwerkinformatie bekijken.
- [WLAN-regio]
Een WLAN-regio selecteren.
- [Handmatige instellingen]
Selecteer onder de optie [Draadloos], [DHCP inschakelen] om automatisch een IP-adres toe te wijzen of [DHCP uitschakelen] om dit handmatig te doeen.
Een NetRemote PIN instellen.
- [Netwerkprofil]
Een lijst weergeven van netwerken die door MEISTERSTUCK zijn opgeslagen.
- [Netwerkinstellungen wissen]
Het network verbonden houden. Hiermee(Int) u MEISTERSTUCK uit stand-by halen met een externe app
18.4 Tijd/datum
[Tijd/datum instellen]
Instellen vanijd en datum
[Autom. bijwerken]
Een bron (radio, internetnetwork of geen update) selecteren voor een automatisch黄埔update.
Als u de tijd wilt bijwerken vanaf een bron (Radio-FM/DAB), heeft de instelling van de zomertijd geen effect.
Als u vanaf het internetnetwork bijwerkt, moet u uw tijdzone instellen.
Notatie instellen
Instellen van 12 of 24-uursnotatie.
[Tijdzone instellen]
Eentijdzone instellen.
[Zomertijd]
Inschakelen of uitschakelen van de zomertijd.
18.5 Inactieve stand-by
- Met deutsche optie stelt u dearend in voordat MEISTERSTUCK automatischuitgeschakeld worden. Opties omvatten: Uit, 2, 4, 5 en 6 uu.
18.6 Taal
- Met deze optie stelt u de menutaal in. Opties omvatten: Engels, Duits, Deens, Spaans, Frans, Italiaans, Nederlands, Noors, Pools, Portugees, Fins, Zweeds en Turks.
18.7 Fabrieksreset
- Met deze optie worden alle door de gebruiker gedefinieree instellingen gewist en verrangen door de oorspronkelijke standaardinstelleningen.
18.8 Software update
- [Automatisch controleren]
Instellen voor een periodieke controle voor een update.
- [Nu controlleren]
Direct controlleren op update.
Als neue software beschikbaar is, worden gevraagd of u wilt doorgaan met een update.
Voordat u de upgrade van software uitvoert, moet u ervoor te zorgen dat MEISTERSTUCK is aangesloten op een stabiele stroomaansluiting. Stroom verbekenijdens een software-update kan MEISTERSTUCK beschadigen.
18.9 Setup wizard
- Uitvoeren van initiièle set-up (zie hoofdstuk "Initièle set-up uitvoeren").
18.10 Info
- Dit toont de huidige softwareversie, de Spotify-versie, radio-ID en beschrijvende naam.
18.11 Achtergrundverlichting
- [Dimmer niveau]
Dehelderheid van het display selecteren. Opties omvatten: [Hoog], [Gemiddeld], [Laag] of [Auto].
Als [Auto] is geselecteerd, worden de helderheid automatisch aangepast volgens de omgevingslichtsensor aan de voorzijde van MEISTERSTUCK.
18.12 Multi-room
Uw MEISTERSTUCK kan worden gebruikt met andere compatibile producten als onderdeel van een multi-room-systeme. Producten in hetzelfde wifi netwerk en gesynchroniseerd indezelfde multiroom-groep könnendezelfde content weergeven rond uwuis. U kunt ook meerere groepen voor verschillende gebieden van hetuis of voor verschillende gebruikers aanmaken.
U kurz multiroom-groepen configureren in de systeeminstellungen met de volgende opties:
[Details weergeven]
Uw huidige multiroom-status bekijken:
- [Niet gegroepeerd]: MEISTERSTÜCK maakt geen deel UIT van een groep.
- [Server]: MEISTERSTÜCK verzendt audio-inhoud maar andere leden van de broep.
- [Client]: MEISTERSTÜCK ontvangt audio-inhoud van een ander product in de trioep.
[Nieuwe groep aanmaken]
Een neue multiroom-groep aanmaken.
- [Toevoegen aan groep]
Andere compatibile producten aan een huidige multiroom-groep toevoegen.
- [Lijst huidige clients]
De lijst weergeven met compatibile producten die audio-inhoud ontvangen van MEISTERSTUCK.
[Groep verlaten]
Compatible producten uit een multiroom-groep verwijderen.
[Groep opheffen]
Een multiroom-groep opheffen. Elk product in de groep za verwolgens afzonderlijk worden beheerd.
19 De app UNDOK™ gebruiken om MEISTERSTUCK te bedieren
MEISTERSTÜCK is compatibel met de app UNDOK™ van Frontier Silicon. De app besteht uitgebreide afstandsbedieningsfunctionaliteit voor FS gebaseerde audiomodules met een iOS of Android-smartphone.
De UNDOK™ app installeren en gebruiken:
- Download de UNDOK™-app van "App Store" of "Google play" en installeer het op uw iOS- of Android-smartphone.

- Sluit uw smartphone aan op hetzelfde wifi-network als MEISTERSTUCK.
- Start de UNDOK™ app op uw smartphone. De app Zoektaar compatibile audiosystemen. U=kunt ook tikken op "Audiosystem instellen" om te beginnen met zoekenaar audiosystemen.

- Selecteer "Meisterstück" uit de lijst met beschikbare audiosystemen.

Uw MEISTERSTUCK kan worden gebruikt met andere compatibile producten als onderdeel van een multi-room-system. U kunt de UNDOK™ app gebruiken om de multiroom-groepen te beheren. Dit.gaat als volgt:
- Tik op het bewerkingspictogram voor de groep (in de lijst met beschikbare audiosystemen.

- Voeg MEISTERSTUCK toe of verwijder het van de multiroom-groepen, verander een groepsnaam of verwijder een groep zoals vereist.

20 Problemen op losses
Storingen können optreden met alle elektrische apparatuur. Dit is nichtoodzakelijk het gevolg van een defect in MEISTERSTUCK. Controller aanom de volgende tabel om te zien of u het probleem zichkunt oplossen.
| Storing | Mogelijk oorzaak | Oplossing |
| Geen stroom | Netsnoer is Niet goed aangesloten. | Sluit het netsnoer goed aan. |
| Geen reactie van MEISTERSTÜCK | Er is een fout in MEISTERSTÜCK. | Haal de stekker uit het stopcontact en doe hem er werk in. Schakel verzolgens MEISTERSTÜCK weer in. |
| Afstandsbediening werkt nicht, of werkt slechts af en toe | Afstand tot MEISTERSTÜCK is te groot. | Verklein de afstandussen de afstandsbediening en MEISTERSTÜCK. |
| Batterij is leeg. | Vervang de batterij. | |
| Geen geluid of slecht geluid | Geluid isuitgeschakeld. | Stel het volume bij. |
| MEISTERSTÜCK is nicht ingesteld op de juiste aftspeelmodus. | Selecteer een andereafspeelmodus. | |
| Headset isaangesloten. | Haal de headset uit de aansluiting. | |
| FM/DAB of internet-ontvangst is slecht. | Verleng de FM/DAB-antenne, stel deze bij of controller de wifi-verbinding. | |
| Er is radiostoring. | Houd MEISTERSTÜCKuit de buurt van andere elektronische apparaten. | |
| Optische ingang geen geluid | Selecteer PCM alsuitgangsbron in het externe apparaat. | |
| Onvoldoende signaalsterkte van de wifi | De router is te ver ofgeblokkeerd. | Plaats MEISTERSTÜCKdichter bij de routerof pas de positie vande wifi-antenne aan. |
| Kan geen verbindingmakeen met uw wifi-network | Router is Nietingschakeld of werkntiet goed. | Zet uw router aan ofcontroler deroutersituatie. |
| Installatiemethode isonjuist. | Controler of uwrouter WPSondersteunt engebruik maakt van dejuisteinstallatiemethode(PBC of PIN). | |
| Configureer de wifi-instelingen opnieuw. | ||
| Internetradiozenderwerkt soms nicht. | Sommige zendersondersteunen slechtseen beperkt,aantalluisteraars. | Probeer het lateropnieuw. |
| Zender zendt Niet UIT. | Probeer het lateropnieuw. | |
| Sommigeinternetradiozendersverdwijnen uit dezenderlijst. | De zender wordenuitde lijst verwijderdwanneer deze stoptmet uitzenden. | Controler lateropnieuw. Als hetstation nogmaalsuitzendt,wordt hetteruggebracht maarde lijst. |
| CD-weergave startniet. | CD-formaat wordenietndersteund. | Plaats de juiste CD-formaat in de cd-sleuf. |
| CD is vuil. | Reinig de CD. | |
| CD is beschadigd. | Plaats een andere CD in de cd-sleuf. | |
| USB-apparaat werkkt Niet. | USB afspelen worden nicht ondersteund. | Controleer de bestanden en het bestandssystem op het USB-apparaat. |
| USB-apparaat laadt Niet op. | Controleer de USB-kabel. |
21 Reiniging

LET OP!
Materièle schade door onjuist reinigen!
Onjuist reinigen kan leiden tot schade aan MEISTERSTUCK of tot het uitvalen van bepaalde functies.
- Gebruik nooit schurende reinigingsmiddelen of reinigingsmiddelen met oplosmiddelen aangezien deze de oppervlakte van MEISTERSTUCK können beschadigen.
- Gebruik nooit hete lucht of perslucht om MEISTERSTUCK te drogen.
- De randen en hoeken van MEISTERSTÜCK zijn gevoelig voor druk. Bescherm deze gebieden om te voorkomen dat ze wordenblootgesteld aan overmatige druk.
Vingerafdukken en lichte verruiling
- Reinig MEISTERSTÜCK alleen van de buitenkant met een zachte, droge doek.
Zware verruiling
- Reinig MEISTERSTÜCK alleen van de buitenkant met eenlicht vochtige doek en droog het dan met een zachte, droge doek.
22 Garantie
Bij het indieren van garantieclaims, geldt het volgende zonder beperking van uw wettelijk rechten:
- Aanssprak op garantie kan alleen worden uitgeoefend binnen een termijn van max. 2aar (1aar in Noord-Amerika en Australie), berekend vanaf de datum van aankoop.
- sonoro audio GmbH zal, maar eigén goeddunker, MEISTERSTÜCK Gratis repareren of verrangen bij eventuele gebreken veroorzaakt door materiaal- of fabricagefouten binnen de garantieperiode.
- Neem in het geval van een klacht contact op met once klantenservice. U vindt contactgegevens onder "Contactgegevens" of op www.sonoro.de.
Er begint geen neue garantietermijn na reparatie of verrangin van MEISTERSTUCK. De garantiperiode van 2aar (1aar in Noord-Amerika en Australie) vanaf de datum van aankoop blijft van toepassing. - Uitgesloten van de garantie zijn batterijen, schade veroorzaakt door oneigenlijk gebruik, normale slijtage, alsmede gebreken die de waarde of bruikbaarheid van MEISTERSTUCK slechts minimaal beinvloeden. De garantie verloopt ook in geval van wijzigingen die nicht door ons geauthoriseerde servicecenter� aangebracht.
sonoro audio GmbH
Nordkanalallee 94
41464 Neuss
Germany
Telefon: +49 2131 8834-141
Fax: +49 2131 7517-599
E-mail: support@sonoro.de
SimpelGids