Prestige SO330 V3 - Radio SONORO - Gratis gebruiksaanwijzing en handleiding
Vind de handleiding van het apparaat gratis Prestige SO330 V3 SONORO in PDF-formaat.
Gebruikersvragen over Prestige SO330 V3 SONORO
0 vraag over dit apparaat. Beantwoord die u kent of stel uw eigen vraag.
Stel een nieuwe vraag over dit apparaat
Download de handleiding voor uw Radio in PDF-formaat gratis! Vind uw handleiding Prestige SO330 V3 - SONORO en neem uw elektronisch apparaat weer in handen. Op deze pagina staan alle documenten die nodig zijn voor het gebruik van uw apparaat. Prestige SO330 V3 van het merk SONORO.
GEBRUIKSAANWIJZING Prestige SO330 V3 SONORO
Bedieningshandleiding
Bedieningshandleiding
Inhoudsopgave
1. Inleiding....227
1.1 Kontaktdaten....227
1.2 Beoogd gebruik 228
2. Uw PRESTIGE leren kennen....228
2.1 Leveringsomvang....228
2.2 Bedieningselementen en poorten 229
2.3 Technische gegevens....234
2.4 Goedkeuringsmarkeringen en certificaten 235
3. Aan de slag....236
3.1 PRESTIGE uitpakken 236
3.2 De batterij in de afstandsbediening plaatsen ....236
3.3 De antennes gebruiken....237
3.4 Initiele set-up uitvoeren....238
4. Basiswerking....240
5. De m enu's gebruiken....242
6. Weergavepictogrammen....243
7. FM-r adiomodus 244
7.1 Bediening....244
7.2 Menu Setup....245
8. DAB-radiomodus....246
8.1 Bediening....246
8.2 Menu Setup....247
9. Internetradiomodus ....249
9.1 Bediening 249
9.2 Menu Setup....250
9.3 Zenderlijst....250
9.4 De webportal gebruiken....251
10. Spotify-modus....252
10.1 Bediening 252
10.2 Menu Setup....253
11. Mijn muziek-modus....254
17.1 Wekkers instellen 264
17.2 De wekkers in- en uitschakelen....265
17.3 Een afgaande wekker deactiveren 265
17.4 Sluimer....265
18. Slaaptimer....266
19. Systeeminstellingen 267
19.1 Toegang tot de systeeminstellingen....267
19.2 Equalizer....267
19.3 Netwerk....267
19.4 Tijd/datum 268
19.5 Inactieve stand-by....269
19.6 Taal 269
19.7 Fabrieksreset....269
19.8 Software update....269
19.9 Setup wizard 269
19.10 Info....269
19.11 Achtergrondverlichting....269
20. De app UNDOK ^TM gebruiken om PRESTIGE te bedienen......270
21. Problemen oplossen 272
22. Reiniging....274
23. Garantie 275
1. Inleiding
Hartelijk dank voor de aanschaf van PRESTIGE. Deze bedieningshandleiding en de veiligheidshandleiding bieden alle informatie die vereist is voor een probleemloze en veilige werking van PRESTIGE.
- Lees de bedieningshandleiding en de veiligheidshandleiding in zijn geheel alvorens PRESTIGE in gebruik te nemen.
- Bewaar de bedieningshandleiding en veiligheidshandleiding voor toekomstig gebruik.
- Als u PRESTIGE aan derden doorgeeft, geef ze dan ook de bedieningshandleiding en de veiligheidshandleiding.
- Het niet opvolgen van de bedieningshandleiding en veiligheidshandleiding kan leiden tot ernstig letsel of schade aan PRESTIGE.
- Wij aanvaarden geen aansprakelijkheid voor schade als gevolg van het niet opvolgen van de aanwijzingen in deze bedieningshandleiding en veiligheidshandleiding.
De afbeeldingen in deze bedieningshandleiding zijn bedoeld om de handelingen te illustreren die nodig zijn om PRESTIGE te bedienen.
Geniet van uw PRESTIGE!
1.1 Kontaktdaten
| Adres | sonoro audio GmbHNordkanalallee 94, 41464 Neuss, Duitsland |
| Telefoon | +49 2131 8834-141 |
| Fax | +49 2131 7517-599 |
| support@sonoro.de | |
| Internet | www.sonoro.de |
1.2 Beoogd gebruik
PRESTIGE is alleen bestemd voor eigen gebruik. Het is niet bedoeld voor commercieel gebruik. PRESTIGE is uitsluitend bedoeld voor de volgende taken:
- Het afspelen van FM/DAB+/Internetradio en Spotify-streamingservice.
- Het afspelen van audio-CD 12 cm en MP3/WMA-CD-schijf.
- Audioweergave van externe apparaten die zijn aangesloten via AUX In, USB-poort of Optische ingang.
- Audioweergave van Bluetooth-apparaten (zoals mobiele telefoons).
- Muziek streamen naar Bluetooth-hoofdtelefoonapparaten.
- Opladen van externe apparaten die via de USB-poort worden aangesloten.
Elk ander gebruik wordt beschouwd als oneigenlijk gebruik en is dus verboden. Wij aanvaarden geen aansprakelijkheid voor schade als gevolg van oneigenlijk gebruik.
2. Uw PRESTIGE leren kennen
2.1 Leveringsomvang
- Afstandsbediening
• Eén knoopcel (CR2032, 3V) - Stroomsnoer
• FM/DAB telescopische antenne - Externe wifi-antenne
• Bedieningshandleiding
• Veiligheidshandleiding - Spotify-flyer
- Handschoenen
2.2 Bedieningselementen en poorten
Vooraanzicht

text_image
1 2 3 4 5 6 7 8 9 10 sonoro 11 12 13 14 15 16 17 18 SETUP MENU FAV 3 4 Ω- Display
- Knop Afspelen/pauze (▶II)
- Stopknop (■)
- Knop links, vorige overslaan (◀◀)
- Knop rechts, volgende overslaan (▶▶)
- Preset 1 knop (1)
- Preset 2 knop (2)
- Hoofdtelefoonaansluiting (Ω)
- CD-sleuf
-
Stand-byknop ( ⏻ )
-
Setup-knop (SETUP)
- Menuknop (MENU)
- meknop, navigatieknop
OK-knop (druk op de knop)
- Favoriet-knop (FAV)
- Terugknop (←)
- Preset 4 knop (4)
- Preset 3 knop (3)
- CD uitwerpknop (▲)
Achterkant

text_image
19 sonorod® RINONE Product No: 0-1700 20 Power On COLDLINE METHNICI 43W AC AIRLINES wen AIRELINES Spotify Oxaliadonna/ AgitX 太阳能+ Catalyst Bluetooth® CE AIRELINES 22 23 24 25 26 27 28- Externe wifi-antenne-aansluiting
- Algemene AAN/UIT-schakelaar
- AC-aansluiting
- Extra ingang 1 (RCA)
- Extra ingang 2 (3,5mm)
- USB-poort
- Optische poort
- Line-uitgang (RCA)
- LAN RJ45-aansluiting
- FM/DAB-antenne-aansluiting
Onderaanzicht

text_image
29 30- Basreflex-opening
- Subwoofer-driver
Afstandsbediening

text_image
31 32 33 34 35 36 37 38 39 40 41 42 43 44 45 SETUP FM CD AUX 1-2 OK BASS TREBLE INFO 1 2 3 4 5 6 7 8 9 0 SLEEP 46 47 48 49 50 51 52 53 sonoro
*Navigatieknoppen (+,-)
| Specificatie | Waarde |
| Afmetingen (B x D x H) | ong. 450 x 258 x 153 mm |
| Gewicht | ong. 7.2 kg |
| Bedrijfstemperatuur | 0°C to +45°C |
| Display | 2.8" TFT-kleurendisplay |
| Frequentiegebied, FM | 87.50 MHz-108.00 MHz |
| DAB/DAB+ | Band III, 174.928 MHz-239.200 MHz |
| Internetradio | Meer dan 25.000 zenders wereldwijd |
| Voorkeuzezenders | 40 voor elke FM | DAB/DAB + | Internetradio, 10 voor Spotify |
| Ondersteunde CD-indelingen | CD-DA, CD-R*, CD-RW*Audio CD, MPEG 1 Layer 3 (MP3), Windows Media Audio (WMA, DRM niet ondersteund)Sampling rate 16KHz~48KHz, bit rate max. 320kbps(* Afhankelijk van kwaliteit opname en medium) |
| USB-lader | Uitvoer: DC 5V =2.1A |
| USB afspelen | Compatibiliteit systeem: FAT 16, FAT 32 (niet compatibel met NTFS of andere systemen) |
| AUX-IN | Port 1 : RCA aansluiting Gevoeligheid : 500 mVPort 2 : 3,5mm aansluiting Gevoeligheid : 300 mV |
| Optisch in, TOSLINK Ondersteunt lineaire PCMSample rate: 32KHz/44.1KHz/48KHz/96KHzKanaal: Stereo 16 bit, 24bit | |
| Streaming | Bluetooth | Spotify | DLNA | UPnP |
| Mijn muziek ondersteuning media-indelingen | AAC, AAC+, MP3, WAV, WMA, FLACMax. 16 bits, 2 kanalen, samplefrequentie 48KHz |
| Netwerkondersteuning | IEEE 802.11 a/b/g/n, 2.4 & 5GHz banden, Ethernet2.412GHz-2.472GHz / 5.18GHz - 5.32GHz / 5.50GHz-5.70GHz |
| Max. overgebracht vermogen | < 20dBm |
| Gecodeerde sleutel | WEP, WPA, WPA2 (PSK), WPS |
| Bluetooth | Versie 4.1, Profiel : AVRCP v1.5, A2DP 1.32.402GHz-2.480GHz |
| Max. overgebracht vermogen | < 4dBm |
| Batterij | CR2032 (afstandsbediening) |
| Stand-byvermogen | < 1.0W |
| Netwerk stand-by | < 2.0W |
2.4 Goedkeuringsmarkeringen en certificaten

Bluetooth®
Het Bluetooth®-woordmerk en -logo's zijn gedeponeerde handelsmerken van Bluetooth SIG, Inc. en elk gebruik van deze merken door sonoro audio GmbH is onder licentie. Andere handelsmerken en handelsnamen zijn eigendom van hun respectieve eigenaars.
NL

UPnP
Dit product bevat Spotify-software die valt onder licenties van derden die hier zijn te vinden: www.spotify.com/connect/third-party-licenses
UPnP ^TM is een handelsmerk van UPnP ^TM Forum.
3. Aan de slag
3.1 PRESTIGE uitpakken
- Haal PRESTIGE uit de verpakking en controleer of PRESTIGE of de afzonderlijke delen schade vertonen. Als dit het geval is, moet u PRESTIGE niet gebruiken. Mocht u enige schade opsporen, neem dan direct contact op met uw dealer of met de klantenservice van sonoro audio GmbH.
- Controleer of de levering compleet is (zie hoofdstuk "Leveringsomvang").
- Plaats PRESTIGE op een geschikte plaats.
- Verwijder de beschermfolie van de display.
- Verwijder de beschermende kaart van de subwoofer-driver.
3.2 De batterij in de afstandsbediening plaatsen
- Open het deksel van het batterijcompartiment aan de achterkant van de afstandsbediening door het linksom te draaien met behulp van een muntje.
- Plaats de meegeleverde batterijen (CR2032, 3 V) met het label (+) naar boven. Zet het deksel van het batterijcompartiment terug en draai het deksel rechtsom met behulp van een muntje.

Blokkeer de infraroodsensor op de PRESTIGE en de infraroodzender op de afstandsbediening niet tijdens het gebruik.
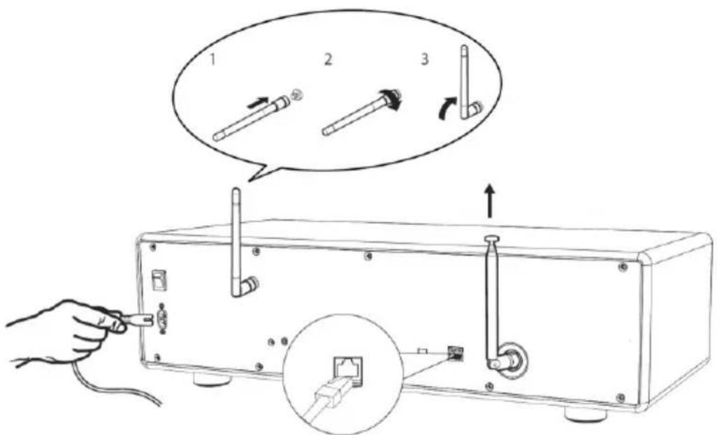
3.3 De antennes gebruiken
- Schroef de gewenste antenne aan de achterzijde van PRESTIGE op de FM/DAB antenneconnector.

- Als u de staafantenne gebruikt, trek de armen van de antenne dan uit elkaar en lijn de antenne zo uit, dat u de best mogelijke ontvangst hebt.

Sluit voor een nog betere ontvangst de kabel aan op een geschikte huisantenne.
-
Schroef de gewenste wifi-antenne aan de achterzijde van PRESTIGE op de wifi-antenneconnector. Til de wifi-antenne omhoog.
-
Als u PRESTIGE wilt verbinden met uw netwerk via een Ethernet-kabel, sluit dan een Ethernet-kabel van de LAN-poort op de achterkant van PRESTIGE aan op uw router.

- Sluit het netsnoer aan op het stopcontact.
3.4 Initiële set-up uitvoeren
Wanneer PRESTIGE voor de eerste keer wordt ingeschakeld, verschijnt de "Setup wizard" op het display. Volg de onderstaande instructies voor het configureren van enkele basisinstellingen.
- Wanneer de "Setup wizard" wordt weergegeven, drukt u op + of - op de afstandsbediening (of draai aan de navigatieknop) om "YES" te selecteren druk dan op OK om de set-up te beginnen.

- Vervolgens wordt u gevraagd om te selecteren:
• Taal (te gebruiken in de weergave)
• Tijdnotatie (12 of 24 uur),
- Bron van auto-update (Update van de radio, internet of geen update).
Afhankelijk van de keuze die u hebt gemaakt, volgt u de instructies op de display om de datum en tijd, de tijdzone, de zomertijd of draadloos netwerk in te stellen. Draai aan de navigatieknop op PRESTIGE of druk op de navigatieknoppen op de afstandsbediening om selecties maken en druk vervolgens op OK om te bevestigen (zie hoofdstuk "De menu's gebruiken").
Als update van internet is geselecteerd, moet eerst de wifi verbinding worden gemaakt. Bij het invoeren van de code van uw draadloos netwerk, draait u aan de navigatieknop op PRESTIGE of u drukt op de navigatieknoppen op de afstandsbediening om een teken te selecteren en vervolgens drukt u op OK om te bevestigen. Selecteer [BKSP] om de laatste invoer te verwijderen. Selecteer [CANCEL] om de code-invoer te annuleren. Selecteer [OK] om de ingevoerde code te bevestigen.

text_image
Key: 0 1 2 3 4 5 6 7 8 9 . _ - @ , a b c d e f g h i j k l m n o p q r s EKSP OK CANCEL- Wanneer "Setup wizard completed" verschijnt, drukt u op OK om de instelling af te sluiten.

- Als alternatief gebruikt u de Ethernet (LAN)-aansluiting op uw router (met automatische configuratie) en u selecteert de menuoptie [Bedraad] in het beschikbare netwerk.

Ga om de set-up wizard nogmaals uit te voeren naar [Systeeminstellingen] en selecteer [Setup wizard] (Zie hoofdstuk "Systeeminstelingen").
4. Basiswerking
| Om aan te zetten Druk op . ⏻PRESTIGE wordt gestart van de laatste geselecteerde weergavemodus. | |
| Om uit te zetten (stand-bymodus) | Druk op ⏻De tijd en datum (indien ingesteld) worden weergegeven.PRESTIGE wordt na 15 minuten automatisch uitgeschakeld als er niets wordt afgespeeld en bediend. |
| Om een weergavemodus te selecteren | Druk eenmaal op MENU, daarna op ||«| of »|| (of draai aan de navigatieknop) om een weergavemodus te selecteren en druk vervolgens op OK om te bevestigen.Modusvolgorde: FM-Radio > DAB-radio > Internetradio > Spotify > Mijn muziek > Bluetooth > Aux In 1 > Aux In 2 > Optisch > CD |
| Om rechtstreeks een weergavemodus te selecteren | druk op de toets voor rechtstreekse bediening op de afstandsbediening of het voorpaneel om rechtstreeks overs te schakelen van één bedieningsmodus naar de andere. |
| Een CD afspelen | Plaats CD-schijf in de CD-sleuf en PRESTIGE begint met het afspelen van de CD. |
| Om het volume te regelen | drukt u op + of - op de afstandsbediening of u draait aan de volumeknop op PRESTIGE. |
| Koppelen met een Bluetooth-hoofdtelefoon | In alle gebruiksmodi met uitzondering van de Bluetooth-modus houdt u de toets de afstandsbediening ingedrukt. Of druk eenmaal op SETUP, daarna op + of - (of draai aan de navigatieknop) om een [Bluetooth-hoofdtelefoon] te selecteren. Selecteer daarna [Bluetooth koppelen] en druk vervolgens op OK om te bevestigen.Het kleine Bluetooth-hoofdtelefoonpictogram(Ⓧ) knippert om aan te geven dat het PRESTIGE gereed is om te koppelen. Het Bluetooth-hoofdtelefoonpictogram (Ⓧstopt met knipperen als het koppelen is voltooid. De naam van het gekoppelde Bluetooth-hoofdtelefoonapparaat wordt tijdelijk weergegeven in het display.Opmerking: Het koppelingsproces wordt automatisch uitgevoerd tussen PRESTIGE en de Bluetooth-hoofdtelefoon. Zorg ervoor dat uw Bluetooth-hoofdtelefoon al in ontdekkingsmodus is en klaar is om te koppelen. Ga voor meer gegevens naar uw de handleiding van uw Bluetooth-apparaat. |
| Een Bluetooth-hoofdtelefoon loskoppelen | Druk eenmaal op SETUP, daarna op + of - (of draai aan de navigatieknop) om een [Bluetooth-hoofdtelefoon] te selecteren. Selecteer daarna [Bluetooth ontkoppelen] en druk vervolgens op OK. |
5. De menu's gebruiken
Er zijn drie soorten menu's in PRESTIGE.
- Menu Setup (voor specifieke instellingen in een weergavemodus,
• bijv. [FM Automatisch zoeken] in FM-modus) - Systeeminstellingen (voor algemene instellingen, bijv. tijd/datum, taal enz.)
- Hoofdmenu (voor toegang tot weergavemodi en slaaptimer)
| Om toegang te krijgen tot de menu's | Drukt u op SETUP.De inhoud van de menu's kunnen verschillen per weergavefuncties. |
| Om een optie te selecteren in de | Draai aan de navigatieknop op PRESTIGE of druk op + of - op de afstandsbediening. |
| Om een selectie in de menu's te bevestigen | Drukt u op OK.(Op PRESTIGE drukt u op de navigatieknop) |
| Om één niveau terug te gaan in het | Druk op ↩. |
6. Weergavepictogrammen
Raadpleeg de onderstaande tabel voor de betekenissen van de weergavepictogrammen ze op de display worden weergegeven.
![]() | Wifi-verbinding gemaakt (met de sterkte van het signaal). |
![]() | Wifi-verbinding is verbroken. |
![]() | LAN-verbinding is tot stand gebracht. |
| [KASZ] | LAN-verbinding is losgekoppeld. |
![]() | Een Bluetooth-apparaat is aangesloten. |
![]() | Een Bluetooth-hoofdtelefoon is aangesloten. |
| [BY3Z] | Wekker is geactiveerd. |
![]() | De radiozender is in de voorkeuzelijst. |
![]() | FM RDS-informatie wordt ontvangen. |
![]() | Radio-signaal wordt ontvangen (met de sterkte van het signaal). |
![]() | Weergavemodus Alles herhalen is actief. |
![]() | Weergavemodus Herhalen is actief. |
![]() | Weergavemodus Map herhalen is actief. |
![]() | Weergavemodus Shuffle is actief. |
![]() | Weergavemodus Alles herhalen en Shuffle zijn actief. |
![]() | Slaaptimer is actief. |
| [KZX6] | Stereo-uitzending is beschikbaar. |
![]() | Geluid is gedempt. |
| [WZY8] | Een USB-apparaat is aangesloten. |
![]() | Afspelen is gepauzeerd. |
7. FM-radiomodus
7.1 Bediening
| Voor toegang tot de FM-radiomodus | Druk op de toets FM op de afstandsbediening.Of druk eenmaal op MENU, daarna opll of▶ll (of draai aan de navigatieknop) om de FM-radiomodus te selecteren en druk vervolgens op OK om te bevestigen. |
| Om handmatigde frequentie af te stemmen | Druk opll . ▶□□Of houd de navigatieknop ingedrukt om te beginnen met handmatig afstemmen. |
| Om automatisch af te stemmen op de volgende beschikbare zender | houdt ull of ▶□□ ingedrukt.Of druk op de navigatieknop om te beginnen met de automatische afstemming. |
| Voor het opslaan van een radiostation in de de voorkeuzelijst | Maximaal 40 radiozenders kunnen worden opgeslagen.1. Houd de toets FAV op P RESTIGE ingedrukt totdat de voorkeuzelijst wordt weergegeven.2. Druk op + of - ( of draai aan de navigatieknop) om een voorkeuzezendernummer te selecteren en druk vervolgens op OK om te bevestigen. |
| Voor het direct opslaan van een radiostation in de voorkeuzelijst (1-9) | Stem af op een zender en houd vervolgens een voorkeuzezenderknop ingedrukt (1-9) om deze rechtstreeks op te slaan in de voorkeuzelijst. |
| Voor het terughalen van een radiostation in de de voorkeuzelijst | 1. Drukt u op FAV.2. Druk op + of - (of draai aan de navigatieknop) om een radiozender in de voorkeuzelijst te selecteren en druk vervolgens op OK om te bevestigen.Of druk op een voorkeuzezenderknop (0-9) voor toegang tot een voorkeuzezender (1-40). |
| Om te bladeren naar de radiozenderinformatie (indien beschikbaar) | Druk herhaaldelijk op INFO. |
| Om het geluid te dempen of te herstellen | Druk op √ of ▶ op de knop. |
7.2 Menu Setup
Druk op SETUP in de FM modus om toegang krijgen tot het menu Setup (zie hoofdstuk "De menu's gebruiken"). De volgende opties zijn beschikbaar en de huidige instellingen (indien van toepassing) zijn gemarkeerd met een sterretje (*).
Voor het automatisch opslaan van alle beschikbare radiozenders in de voorkeuzelijst.*
* Alle bestaande voorkeuzezenders worden gewist.
• [FM Scaninstelling]
Om te bepalen of alleen stations met sterke signalen worden gescand bij het uitvoeren van het automatisch afstemmen.
• [FM Ontvangstinstelling]
Om radio te luisteren in stereo of mono.
• [Bluetooth-hoofdtelefoon]
Om aan te sluiten of los te koppelen met een Bluetooth-hoofdtelefoon, zie hoofdstuk "Basisbediening".
• [Systeeminstellingen]
Zie hoofdstuk "Systeeminstellingen".
• [Hoofdmenu]
Voor toegang tot andere weergavefuncties, slaaptimer en wekkers.
8. DAB-radiomodus
8.1 Bediening
| Voor toegang tot de DAB-radiomodus | Druk op de toets op de afstandsbediening.Of druk eenmaal op MENU, daarna op (of draai aan de navigatieknop) om de DAB-radiomodus te selecteren en druk vervolgens op OK om te bevestigen. |
| Om te zoeken naar DAB radiozenders | De eerste keer dat u de DAB-modus selecteert of als de zenderlijst leeg is, zal PRESTIGE automatisch een volledige scan uitvoeren en alle beschikbare zenders opslaan in de zenderlijst. |
| Om af te stemmen op een zender | Druk op . |
| Voor het opslaan van een radiostation in de voorkeuzelijst | Maximaal 40 radiozenders kunnen worden opgeslagen.Houd de toets FAV op PRESTIGE ingedrukt totdat de voorkeuzelijst wordt weergegeven.Druk op + of - (of draai aan de navigatieknop) om een voorkeuzezendernummer te selecteren en druk vervolgens op OK om te bevestigen. |
| Voor het direct opslaan van een radiostation in de voorkeuzelijst (1-9) | Stem af op een zender en houd vervolgens een voorkeuzezenderknop ingedrukt (1-9) om deze rechtstreeks op te slaan in de voorkeuzelijst. |
| Voor het ophalen van een radiostation in de voorkeuzelijst | Drukt u op FAV.Druk op + of - (of draai aan de navigatieknop) om een radiozender in de voorkeuzelijst te selecteren en druk vervolgens op OK om te bevestigen.Of druk op een voorkeuzezenderknop (0-9) voor toegang tot een voorkeuzezender (1-40). |
| Om te bladeren naar de radiozenderinformatie* (indien beschikbaar) | Druk herhaaldelijk op INFO. |
| Om het geluid te dempen of te | Druk op of op de knop. |
herstellen
*DAB-informatie (indien beschikbaar) bevat: Zendernaam, Dynamic Label Segment (DLS), signaalsterkte, programmatype (PTY), naam ensemble, frequentie, signaalfoutenpercentage, bitrate en audiostatus, codec, en datum en tijd.
8.2 Menu Setup
Druk op SETUP in de DAB-modus om toegang krijgen tot het menu Setup (zie hoofdstuk "De menu's gebruiken"). De volgende opties zijn beschikbaar en de huidige instellingen (indien van toepassing) zijn gemarkeerd met een sterretje (*).
• [Zenderlijst]
Alle beschikbare stations weergeven.
- [Scan]
Alle beschikbare zenders scannen en opslaan.
• [Handmatig afstemmen]
De frequentie handmatig afstemmen. De lijst van beschikbare digitale radio- ensembles wordt weergegeven.
• [Ongeldige zenders weghalen]
Alle ongeldige stations uit de zenderlijst verwijderen.
• [DRC]
Sommige DAB uitzendingen bieden dynamische bereikcompressie (DRC). Het comprimeren van het dynamische bereik van een radiosignaal kan het volume verhogen van zachte geluiden en het volume van harde geluiden verminderen. U kunt hoog, laag of uit selecteren. Hoog niveau wordt aanbevolen voor een lawaaierige omgeving.
• [Zendervolgorde]
Voor het definiëren hoe de stations worden weergegeven tijdens het bladeren door de zenderlijst. Opties:
• [Alfanumeriek] Rangschik de zenders in alfabetische volgorde,
- [Ensemble]: Lijst van zenders die samen worden uitgezonden op hetzelfde ensemble, en
• [Geldig]: Lijst van geldige zenders eerst, dan zenders die uit de lucht zijn.
• [Bluetooth-hoofdtelefoon]
Om aan te sluiten of los te koppelen met een Bluetooth-hoofdtelefoon, zie hoofdstuk "Basisbediening".
• [Systeeminstellingen]
Zie hoofdstuk "Systeeminstellingen".
• [Hoofdmenu]
Voor toegang tot andere weergavefuncties, slaaptimer en wekkers.
9. Internetradiomodus
9.1 Bediening
Wifi- of Ethernet-internetverbinding moet eerst worden ingesteld om internetradio te kunnen gebruiken (Zie hoofdstukken "Initiële set-up uitvoeren" en "Netwerk").
| Voor toegang tot de internetradiomodus, | Druk op de toets IR op de afstandsbediening.Of druk eenmaal op MENU, daarna op II◀◀ ▶▶II(of draai aan de navigatieknop) om de Internetradiomodus te selecteren en druk vervolgens op OK om te bevestigen.PRESTIGE begint te verbinden met het eerder verbonden netwerk en daarna met het naar de laatst beluisterde zender. |
| Om af te stemmen op een radiozender of podcast, | Zie hoofdstuk "Zenderlijst". |
| Voor het opslaan van een radiostation in de voorkeuzelijst | Maximaal 40 radiozenders kunnen worden opgeslagen.1. Houd de toets FAV op PRESTIGE ingedrukt totdat de voorkeuzelijst wordt weergegeven.2. Druk op + of - (of draai aan de navigatieknop) om een voorkeuzezendernummer te selecteren en druk vervolgens op OK om te bevestigen. |
| Voor het direct opslaan van een radiostation in de voorkeuzelijst (1-9), | Stem af op een zender en houd vervolgens een voorkeuzezenderknop ingedrukt (1-9) om deze rechtstreeks op te slaan in de voorkeuzelijst. |
| Voor het ophalen van een radiostation in de voorkeuzelijst | 1. druk op de FAV-toets.2. Druk op + of - (of draai aan de navigatieknop) om een radiozender in de voorkeuzelijst te selecteren en druk vervolgens op OK om te bevestigen.Of druk op een voorkeuzezenderknop (0-9) voor toegang tot een voorkeuzezender (1-40). |
| Om te bladeren naar de zenderinformatie* | Druk herhaaldelijk op INFO. |
| (indien beschikbaar) | |
| Om het geluid te dempen of te herstellen, | Druk op de knop ⚡️ |
*Zenderinformatie (indien beschikbaar) bevat: Naam artiest en track, zenderbeschrijving, zendergenre en -locatie, signaalbetrouwbaarheid, codec en samplefrequentie, afspelen buffer en datum.
9.2 Menu Setup
Druk op SETUP in de internetradiomodus om toegang krijgen tot het menu Setup (zie hoofdstuk "De menu's gebruiken"). De volgende opties zijn beschikbaar en de huidige instellingen (indien van toepassing) zijn gemarkeerd met een sterretje (*).
• [Laatst beluisterd]
Afstemmen op de laatste beluisterde radiozenders.
• [Zenderlijst]
Afstemmen op alle beschikbare internetradiozenders (zie hoofdstuk "Zenderlijst").
• [Bluetooth-hoofdtelefoon]
Om aan te sluiten of los te koppelen met een Bluetooth-hoofdtelefoon, zie hoofdstuk "Basisbediening".
• [Systeeminstellingen]
Zie hoofdstuk "Systeeminstellingen".
• [Hoofdmenu]
Voor toegang tot andere weergavefuncties, slaaptimer en wekkers.
9.3 Zenderlijst
De volgende menu's en submenu's zijn beschikbaar in de [Zenderlijst]:
• [Mijn favorieten]
Bladeren naar en afstemmen op de internetradiozenders die u hebt toegevoegd aan "Mijn favorieten" op de webportal (zie hoofdstuk "De webportal gebruiken").
• [Lokaal (naam van uw locatie)]
Bladeren naar en afstemmen op radiozenders beschikbaar in uw regio. De
zenders worden onderverdeeld in verschillende categorieën.
• [Zenders]
- [Locatie]: Bladeren naar en afstemmen op radiozenders per locatie.
- [Genre]: Bladeren naar en afstemmen op radiozenders per genre.
• [Zenders zoeken]: Zoeken naar beschikbare radiozenders met trefwoorden. - [Populaire zenders]: Bladeren naar en afstemmen op de meest populaire internetradiozenders.
- [Nieuwe zenders]: Bladeren naar en afstemmen op de nieuwste internetradiozenders.
• [Podcasts]
- [Locatie]: Bladeren naar en afstemmen op podcasts per locatie.
- [Genre]: Bladeren naar en afstemmen op podcasts per genre.
• [Podcasts zoeken]: Zoeken naar beschikbare podcasts met trefwoorden.
• [Mijn toegevoegde zenders]
Bladeren naar en afstemmen op de radiozenders die u hebt toegevoegd aan "Mijn toegevoegde zenders" op de webportal (zie hoofdstuk "De webportal gebruiken").
• [Help]
• [Toegangscode krijgen]: De toegangscode van PRESTIGE verkrijgen.
• [FAQ]: Hulp krijgen wanneer de internetradio niet goed werkt.
9.4 De webportal gebruiken
In de Frontier Silicon Internet Radio portalwebsite kunt u uw "Mijn favorieten" ordenen en nieuwe internetradiozenders toevoegen op een computer. Hiervoor moet u zich eerst registreren op de webportal.
- In de internetradiomodus drukt u op SETUP en daarna gaat u naar [Zenderlijst]
-
[Help] > [Toegangscode krijgen]. Noteer de toegangscode.
- Ga naar www.wifiradio-frontier.com op de webbrowser van uw computer.
- Registreer een nieuwe account met de toegangscode.
- Volg de instructies in de webportal en gebruik "Mijn favorieten" en "Mijn toegevoegde zenders" om radiozenders toe te voegen.
De toegevoegde zenders in "Mijn favorieten" zijn toegankelijk zijn via [Mijn favorieten] in de internetradiomodus van PRESTIGE.
De toegevoegde zenders in "Mijn toegevoegde zenders" zijn toegankelijk zijn via [Mijn toegevoegde zenders] in de internetradiomodus van PRESTIGE.
10. Spotify-modus

Om muziek van "Spotify" weer te geven, moet u de "Spotify"-toepassing op uw mobiele telefoon installeren, een account instellen en de premium-versie (vergoeding) kopen. Ook moet uw mobiele telefoon worden geregistreerd in hetzelfde wifi-netwerk als deze PRESTIGE.
Voor de meest recente instructies voor het instellen van www.spotify.com/connect
10.1 Bediening
Uw mobiele telefoon met Spotify moet worden geregistreerd in hetzelfde wifi-netwerk als PRESTIGE.
| Voor toegang tot de Spotify-modus | Druk op de toets op de afstandsbediening.Of druk eenmaal op MENU, daarna opll off >>ll(of draai aan de navigatieknop) om de Spotify-modus te selecteren en druk vervolgens op OK om te bevestigen. |
| Om een item (nummer, album enz.) te selecteren en afspelen in Spotify te starten | Gebruik de Spotify-toepassing op uw mobiele telefoon om te bladeren naar een item en om dit af te spelen. |
| Voor het afspelen van Spotify via PRESTIGE | Speel een nummer op Spotify en klik op 'BESCHIKBARE APPARATEN'. Kies "PRESTIGE" uit de lijst met beschikbare apparaten en de muziek wordt luid weergegeven. |
| Om het afspelen te pauzeren of te hervatten | Druk op ▶II. |
| Om naar het vorige of volgende af te spelen item te gaan | Druk op ||◀▶▶▶ |
| Voor het opslaan van een afgespeeld item in de voorkeuzelijst | Maximaal 10 items kunnen worden opgeslagen.1. Druk op SETUP totdat Favoriet opslaan wordt getoond en druk dan op OK om te bevestigen.2. Druk op + of - (of draai aan de navigatieknop) om een voorkeuze-itemnummer te selecteren en druk vervolgens op OK om te bevestigen. |
| Voor het direct opslaan van een item in de voorkeuzelijst (1-9) | Selecteer een afspeelitem en houd vervolgens een voorkeuzezenderknop ingedrukt (1-9) om het rechtstreeks op te slaan in de voorkeuzelijst. |
| Voor het ophalen van een afgespeeld item in de voorkeuzelijst | 1. druk op de FAV-toets.2. Druk op + of - (of draai aan de navigatieknop) om een item in de voorkeuzelijst te selecteren en druk vervolgens op OK om te bevestigen.Of druk op een voorkeuzezenderknop (0-9) voor directe toegang tot een afspeelitem (1-10). |
| Om te bladeren naar informatie (indien beschikbaar) van het afspeelitem | Druk herhaaldelijk op INFO. |
10.2 Menu Setup
Druk op SETUP in de Spotify-modus om toegang krijgen tot het menu Setup (zie hoofdstuk "De menu's gebruiken"). De volgende opties zijn beschikbaar en de huidige instellingen (indien van toepassing) zijn gemarkeerd met een sterretje (*).
• [Bluetooth-hoofdtelefoon]
Om aan te sluiten of los te koppelen met een Bluetooth-hoofdtelefoon, zie hoofdstuk "Basisbediening".
• [Systeeminstellingen]
Zie hoofdstuk "Systeeminstellingen".
• [Hoofdmenu]
Voor toegang tot andere weergavefuncties, slaaptimer en wekkers.
11. Mijn muziek-modus

LET OP!
Risico op beschadiging!
Onjuiste behandeling van PRESTIGE kan schade veroorzaken.
Sluit PRESTIGE niet rechtstreeks aan op de USB-poort van een computer of andere externe opslagmiddelen zoals een externe harde schijf.

Mijn Muziek-modus kan audiobestanden afspelen die zijn opgeslagen op een aangesloten USB-stick of vanaf een mediaserver (UPnP) die hetzelfde wifi-netwerk heeft als PRESTIGE.
11.1 Bediening
| Voor toegang tot de Mijn muziek-modus, | Druk op de toets ∙op de afstandsbediening.Of druk eenmaal op MENU, daarna op ||◀◀ of ▶▶▶(of draai aan de navigatieknop) om de Mijn muziek-modus te selecteren en druk vervolgens op OK om te bevestigen. |
| Voor het afspelen van audiobestanden die zijn opgeslagen op een USB-stick, | Sluit de USB-stick aan op de USB-poort van PRESTIGE. Druk vervolgens op SETUP en selecteer [USB afspelen] in het menu Setup (zie hoofdstuk "Menu Setup" op volgende pagina). |
| Om het afspelen te pauzeren of te hervatten | Druk op ▶▶▶ |
| Om naar het vorige of volgende audiobestand te gaan | Druk op ||◀◀ ▶▶▶▶ |
| Om snel achteruit of vooruit te zoeken in een audiobestand, | houd tijdens het afspelen ||◀◀ of ▶▶▶▶ ingedrukt. |
| Om een audiobestand toe te voegen aan "Mijn afspeellijst", | Houd of de ▶▶▶ navigatieknop ingedrukt wanneer het bestand is gemarkeerd in het selectiemenu. |
| Om een weergavemodus te selecteren | Druk herhaaldelijk op FAV.● = Alles herhalen● = Eén herhalen● = Shuffle● = Alles herhalen en shuffle |
| Om te bladeren naar informatie (indien beschikbaar) van het audiobestand | Druk herhaaldelijk op INFO. |

11.2 Menu Setup
Druk op SETUP in de Mijn muziek-modus om toegang krijgen tot het menu Setup (zie hoofdstuk "De menu's gebruiken"). De volgende opties zijn beschikbaar en de huidige instellingen (indien van toepassing) zijn gemarkeerd met een sterretje (*).
• [Gedeelde media]
Naar audiobestanden zoeken op het wifi-netwerk of het Ethernet-netwerk.
Zodra een mediaserver is gevonden, verschijnt een keuzemenu voor selectie van audiobestanden die op PRESTIGE kunnen worden afgespeeld.
• [USB afspelen]
Naar audiobestanden zoeken op de aangesloten USB-stick.
Zodra een USB-stick is gevonden, verschijnt een keuzemenu voor selectie van audiobestanden die op PRESTIGE kunnen worden afgespeeld.
• [Mijn afspeellijst]
Bladeren naar audiobestanden opgeslagen in "Mijn afspeellijst" en deze bestanden afspelen.
• [Herhalen]
Herhaald afspelen van de huidige map/afspeellijst inschakelen of uitschakelen.
- [Shuffle]
Shuffle van de huidige map/afspeellijst inschakelen of uitschakelen.
• [Mijn afspeellijst wissen]
Items in "Mijn afspeellijst" wissen.
• [Servers verwijderen]
Als deze instelling is ingesteld op "YES", worden inactieve mediaservers weggehaald. U kunt vervolgens een mediaserver selecteren en "wakker maken" (WOL "wake on LAN"-functie) om audiobestanden van PRESTIGE af te spelen.
• [Bluetooth-hoofdtelefoon]
Om aan te sluiten of los te koppelen met een Bluetooth-hoofdtelefoon, zie hoofdstuk "Basisbediening".
• [Systeeminstellingen]
Zie hoofdstuk "Systeeminstellingen".
• [Hoofdmenu]
Voor toegang tot andere weergavefuncties, slaaptimer en wekkers.
12. Bluetooth-modus
PRESTIGE kan verbinding maken met speler met een Bluetooth-optie (b.v. mobiele telefoon) binnen een bereik van ongeveer 10 meter (30 voet).
12.1 Koppeling
- Druk op de toets op PRESTIGE of afstandsbediening. Of druk eenmaal op SETUP, daarna op + of - (of draai aan de navigatieknop) om de Bluetooth-modus te selecteren en druk vervolgens op OK om te bevestigen.
- Het kleine Bluetooth-pictogram knippert om aan te geven dat PRESTIGE gereed is om te koppelen.
- Schakel de Bluetooth-functie in op de speler met Bluetooth-optie en zoek naar beschikbare Bluetooth-apparaten.
- Selecteer "PRESTIGE" in de lijst met beschikbare Bluetooth-apparaten om te beginnen met koppelen.
- Het Bluetooth-pictogram stopt met knipperen als het koppelen is voltooid.
12.2 Bediening
| Voor toegang tot de Bluetooth-audiomodus, | Druk op de toets op de afstandsbediening.Of druk eenmaal op MENU, daarna opll of▶ll (of draai aan de navigatieknop) om de Bluetooth-modus te selecteren en druk vervolgens op OK om te bevestigen. |
| Om te beginnen met afspelen, | Selecteer een audiobestand van uw speler met Bluetooth-optie en start het afspelen. |
| Om het afspelen te pauzeren of te hervatten | Druk op▶ll |
| Om naar het vorige of volgende audiobestand te gaan | Druk opll of . ▶ll |
| Om naar het vorige of volgende audiobestand te gaan | houd tijdens het afspelen off of ingedrukt. |
| Om de Bluetooth-verbinding te verbreken, | Schakel naar een andere weergavemodus ofSelecteer [BT verbinding verbreken] in het menu Setup (zie hieronder), ofHoud ingedrukt. |
| Om te bladeren naar informatie (indien beschikbaar) van het audiobestand, | Druk herhaaldelijk op INFO. |
12.3 Menu Setup
Druk op SETUP in de Bluetooth-audiomodus om toegang krijgen tot het menu Setup (zie hoofdstuk "De menu's gebruiken"). De volgende opties zijn beschikbaar en de huidige instellingen (indien van toepassing) zijn gemarkeerd met een sterretje (*).
• [BT verbreken]
Om de Bluetooth-verbinding te verbreken,
- [Bluetooth-info]: Om de bestaande status van Bluetooth-verbinding te krijgen.
- [Verbonden met apparaat]: Om de bestaande naam van het aangesloten Bluetooth-apparaat te krijgen.
• [Systeeminstelling]
Zie hoofdstuk "Systeeminstellingen".
• [Hoofdmenu]
Voor toegang tot andere weergavefuncties, slaaptimer en wekkers.
13. AUX In 1-modus
13.1 Bediening
Uw externe speler (bijv. een Blu-ray-speler) moet worden aangesloten op de extra Ingang 1 van PRESTIGE via een audiokabel (met RCA-aansluiting, niet meegeleverd).
| Voor toegang tot de Aux in 1-modus | Druk op de toets afstandsbediening om te schakelen naar AUX in. 1-modus.Of druk eenmaal op MENU, daarna op of (of draai aan de navigatieknop) om de AUX in 1-modus te selecteren en druk vervolgens op OK om te bevestigen. |
| Om het afspelen te starten en te besturen, | Alle afspeelbewerkingen uitvoeren op de externe speler. |
| Om het geluid te dempen of te | Druk op of op de knop. |
13.2 Menu Setup
Druk op SETUP in de AUX In 1-modus om toegang krijgen tot het menu Setup (zie hoofdstuk "De menu's gebruiken"). De volgende opties zijn beschikbaar en de huidige instellingen (indien van toepassing) zijn gemarkeerd met een sterretje (*).
• [Bluetooth-hoofdtelefoon]
Om aan te sluiten of los te koppelen met een Bluetooth-hoofdtelefoon, zie hoofdstuk "Basisbediening".
• [Systeeminstelling]
Zie hoofdstuk "Systeeminstellingen".
• [Hoofdmenu]
Voor toegang tot andere weergavefuncties, slaaptimer en wekkers.
14. AUX In 2-modus
14.1 Bediening
Uw externe speler (bijv. een mp3-speler) moet worden aangesloten op de extra Ingang 2 van PRESTIGE via een audiokabel (met 3,5 mm-aansluiting, niet meegeleverd).
| Voor toegang tot de Aux in 2-modus | Druk op de toets afstandsbediening om te schakelen naar AUX in. 2-modus.Of druk eenmaal op MENU, daarna op of (of draai aan de navigatieknop) om de AUX in 2-modus te selecteren en druk vervolgens op OK om te bevestigen. |
| Om het afspelen te starten en te besturen, | Alle afspeelbewerkingen uitvoeren op de externe speler. |
| Om het geluid te dempen of te | Druk op of op de knop. |
14.2 Menu Setup
Druk op SETUP in de AUX In 2-modus om toegang krijgen tot het menu Setup (zie hoofdstuk "De menu's gebruiken"). De volgende opties zijn beschikbaar en de huidige instellingen (indien van toepassing) zijn gemarkeerd met een sterretje (*).
• [Bluetooth-hoofdtelefoon]
Om aan te sluiten of los te koppelen met een Bluetooth-hoofdtelefoon, zie hoofdstuk "Basisbediening".
• [Systeeminstelling]
Zie hoofdstuk "Systeeminstellingen".
• [Hoofdmenu]
Voor toegang tot andere weergavefuncties, slaaptimer en wekkers.
15. Optische modus
15.1 Bediening
Uw externe speler (bijv. een audioversterker) moet worden aangesloten op de optische aansluiting van PRESTIGE via een audiokabel (met optische connector, niet meegeleverd).
| Voor toegang tot de Optische modus | Druk op de toets op de afstandsbediening.Of druk eenmaal op MENU, daarna op (of draai aan de navigatieknop) om de Optische modus te selecteren en druk vervolgens op OK |
| Om het afspelen te starten en te besturen, | Alle afspeelbewerkingen uitvoeren op de externe speler. |
| Om het geluid te dempen of te herstellen, | Druk op of op de knop. |
15.2 Menu Setup
Druk op SETUP in de optische ingang-modus om toegang krijgen tot het menu Setup (zie hoofdstuk "De menu's gebruiken"). De volgende opties zijn beschikbaar en de huidige instellingen (indien van toepassing) zijn gemarkeerd met een sterretje (*).
• [Bluetooth-hoofdtelefoon]
Om aan te sluiten of los te koppelen met een Bluetooth-hoofdtelefoon, zie hoofdstuk "Basisbediening".
• [Systeeminstelling]
Zie hoofdstuk "Systeeminstellingen".
• [Hoofdmenu]
Voor toegang tot andere weergavefuncties, slaaptimer en wekkers.

De optische ingang biedt alleen ondersteuning voor lineaire PCM 2-kanalen 16 bit of 24 bit geluidsbron.
16. CD-modus

LET OP!
Risico op beschadiging!
Onjuiste behandeling van PRESTIGE kan schade veroorzaken.
Plaats geen mini-cd of niet ondersteund formaat schijf in de PRESTIGE.
16.1 Bediening
PRESTIGE kan audiobestanden afspelen die opgeslagen zijn op een audio-CD, CD-R en CD-RW. De weergave is ook afhankelijk van de schijfkwaliteit.
| Voor toegang tot de CD-modus | Druk op de toets op de afstandsbediening.Of druk eenmaal op MENU, daarna opll of▶ll (of draai aan de navigatieknop) om de CD-modus te selecteren en druk vervolgens op OK om te bevestigen. |
| Om het afspelen te pauzeren of te hervatten | Press ▶II |
| Om het afspelen te stoppen | Press ■ . |
| Om naar het vorige of volgende audiobestand te gaan | Press ||◀ . ▶▶▶ |
| Om snel achteruit of vooruit te zoeken in een audiobestand | During playback, pressand hold ||◀ or . ▶▶▶ |
| Om een weergavemodus te selecteren | Druk herhaaldelijk op FAV.= Alles herhalen=Eén herhalen= Shuffle |
| Om te bladeren naar informatie (indien beschikbaar) van het audiobestand | Druk herhaaldelijk op INFO. |
16.2 Menu Setup
Druk op SETUP in de CD-modus om toegang krijgen tot het menu Setup (zie hoofdstuk "De menu's gebruiken"). De volgende opties zijn beschikbaar en de huidige instellingen (indien van toepassing) zijn gemarkeerd met een sterretje (*).
• [Cd voortzetten]
De cd-weergave wordt vanaf het laatst gehoorde punt voorgezet, ook als u de modus heeft gewisseld of het apparaat in de stand-bymodus heeft geschakeld. Deze functie wordt beëindigd, als u de cd uit-werpt. De functie is bijvoorbeeld bestemd voor luis- terboeken.
• [Bluetooth-hoofdtelefoon]
Om aan te sluiten of los te koppelen met een Bluetooth-hoofdtelefoon, zie hoofdstuk "Basisbediening".
• [Systeeminstelling]
Zie hoofdstuk "Systeeminstellingen".
• [Hoofdmenu]
Voor toegang tot andere weergavefuncties, slaaptimer en wekkers.
17. Wekker
17.1 Wekkers instellen
U kunt wekker instellen.
- Houd ingedrukt modus wekkerinstelling te openen.
Als alternatief drukt op SETUP in een weergavemodus en vervolgens selecteert u [Hoofdmenu] en daarna [Wekkers].
U kunt de modus voor het instellen van de wekker ook openen wanneer PRESTIGE zich in de stand-by-modus (uit) bevindt. Houd hiervoor ♦ de knop ingedrukt.
-
Selecteer de wekker die u wilt instellen en druk op OK.
-
De volgende opties zijn laten zien hoe de wekker wordt ingesteld. Draai aan de navigatieknop of druk op de navigatieknoppen om de instellingen uit te voeren (zie hoofdstuk "De menu's gebruiken").
• [Inschakelen]
De frequentie van de wekker inschakelen, uitschakelen of instellen. De volgende opties zijn beschikbaar:
• [Uit]: De wekker deactiveren.
• [Dagelijks]: De wekker wordt dagelijks geactiveerd.
• [Eenmaal]: De wekker wordt maar eenmaal geactiveerd.
• [Weekenden]: De wekker wordt op zaterdag en zondag geactiveerd.
- [Weekdagen]: De wekker wordt van maandag tot en met vrijdag geactiveerd.
• [Tijd]
De wekkertijd instellen.
- [Modus]
Het wekkergeluid selecteren. De volgende opties zijn beschikbaar:
• [Zoemer]
- [Internetradio]
• [DAB]
• [FM]
• [Voorkeuze]
De laatst beluisterde zender of een voorkeuzezender selecteren als het alarmgeluid. Deze alleen wordt weergegeven wanneer internetradio, DAB of FM is geselecteerd in [modus].
• [Volume]
Het volume van het alarmgeluid instellen.
• [Opslaan]
De huidige instellingen opslaan.
Als [Opslaan] is geselecteerd, worden de alarminstellingen opgeslagen. Als een wekker is geactiveerd, wordt het bijbehorende wekkerpictogram (💡) weergegeven.
17.2 De wekkers in- en uitschakelen
- Wanneer PRESTIGE in bedrijfsmodus of stand-by staat (uit), druk dan op enkele malen om de overeenkomstige wekker in of uit te schakelen.
- Als een wekker is aangezet, wordt het bijbehorende wekkerpictogram (☐) weergegeven.
17.3 Een afgaande wekker deactiveren
• Druk op 🔊 of 🔔 om afgaande wekkers te stoppen.
17.4 Sluimer
- Om een afgaande wekker tijdelijk uit te zetten (standaard: 10 min) een alarmsignaal, druk de volumeknop of
- Druk op + of - (of draai aan de navigatieknop) om de sluimerperiode te veranderen (5, 10, 15 of 30 min).
- Tijdens de sluimerperiode, zal het alarmpictogram knipperen en wordt de resterende sluimertijd weergegeven.
- Druk op ⏻ of 🔔 om de sluimerfunctie te annuleren
18. Slaaptimer
Met de slaaptimer stelt u de tijd in voordat PRESTIGE automatisch uitgeschakeld wordt.
- Druk op SETUP in een weergavemodus en vervolgens selecteert u [Hoofdmenu] en daarna [Slapen].
- Of druk direct op SLEEP de knop om de slaaptimer in of uit te schakelen.
- Druk op + of - (of draai aan de navigatieknop) om een slaaptimer te selecteren (5, 10, 15, 30, 45, 60, 90, 105 of 120 min).
- Druk op OK om de selectie te bevestigen.
Wanneer de slaaptimer actief is, worden het slaaptimerpictogram (en de resterende tijd weergegeven. Om de slaaptimer te annuleren, selecteert u [Slaapstand uit].
19. Systeeminstellingen
19.1 Toegang tot de systeeminstellingen
- Druk op SETUP in een weergavemodus en selecteer dan [Systeeminstellingen].
- Raadpleeg de hoofdstukken hieronder voor details van elke instelling.
- De huidige instellingen (indien van toepassing) zijn gemarkeerd met een sterretje (*).
- Zie hoofdstuk "De menu's gebruiken" voor bladeren naar en het maken van selecties in de systeeminstellingen.
19.2 Equalizer
Selecteer een van de geluidsequalizeropties om het geluid aan te passen naar eigen smaak.
• [3D-geluid]
Met 3D-geluid wordt het stereo-gebied uitgebreid, waardoor de diepte van de muziekweergave wordt verbeterd.
• [Luidheid]
Met Luidheid ingeschakeld wordt het niveau van de hoge en lage tonen aangepast aan het huidige volume, zodat subtiele geluiden nog steeds duidelijk te horen zijn wanneer u rustig naar uw muziek luistert.
• [Bas]
Stel de lage tonen bij om de geluidsweergave op maat te maken.
• [Treble]
Stel de hoge tonen bij om de geluidsweergave op maat te maken.
- Selecteer een van de vooraf gedefinieerde geluidsequalizeropties met inbegrip van: [Flat], [Jazz], [Rock], [Klassiek] en [Pop].
19.3 Netwerk
• [Netwerkwizard]
Voor het maken van een netwerkverbinding.
• [WPS WLAN-instellingen]
Selecteer deze optie als uw draadloze router zowel WPS als PBC set-up-methoden ondersteunt.
• [Instellingen weergeven]
De huidige netwerkinformatie bekijken.
• [WLAN-regio]
Een WLAN-regio selecteren.
• [Handmatige instellingen]
Selecteer onder de optie [Draadloos], [DHCP inschakelen] om automatisch een IP-adres toe te wijzen of [DHCP uitschakelen] om dit handmatig te doen.
Een NetRemote PIN instellen.
• [Netwerkprofil]
Een lijst weergeven van netwerken die door PRESTIGE zijn opgeslagen.
• [Netwerkinstellingen wissen]
Alle netwerkinstellingen wissen.
• [Netwerk verbonden houden]
Het netwerk verbonden houden. Hiermee kunt u PRESTIGE uit stand-by halen met een externe app
19.4 Tijd/datum
• [Tijd/datum instellen]
Instellen van tijd en datum
• [Autom. bijwerken]
Een bron (radio, internetnetwerk of geen update) selecteren voor een automatische tijdupdate.
Als u de tijd wilt bijwerken vanaf een bron (Radio-FM/DAB), heeft de instelling van de zomertijd geen effect.
Als u vanaf het internetnetwerk bijwerkt, moet u uw tijdzone instellen.
Instellen van 12 of 24-uursnotatie.
• [Tijdzone instellen]
Een tijdzone instellen.
• [Zomertijd]
Inschakelen of uitschakelen van de zomertijd.
19.5 Inactieve stand-by
- Met deze optie stelt u de tijd in voordat PRESTIGE automatisch uitgeschakeld wordt. Opties omvatten: Uit, 2, 4, 5 en 6 uur.
19.6 Taal
- Met deze optie stelt u de menutaal in. Opties omvatten: Engels, Duits, Deens, Spaans, Frans, Italiaans, Nederlands, Noors, Pools, Portugees, Fins, Zweeds en Turks.
19.7 Fabrieksreset
- Met deze optie worden alle door de gebruiker gedefinieerde instellingen gewist en vervangen door de oorspronkelijke standaardinstellingen.
19.8 Software update
• [Automatisch controleren]
Instellen voor een periodieke controle voor een update.
• [Nu controleren]
Direct controlleren op update.
Als nieuwe software beschikbaar is, wordt gevraagd of u wilt doorgaan met een update.
Voordat u de upgrade van software uitvoert, moet u ervoor te zorgen dat PRESTIGE is aangesloten op een stabiele stroomaansluiting. Stroom verbreken tijdens een software-update kan PRESTIGE beschadigen.
19.9 Setup wizard
- Uitvoeren van initiele set-up (zie hoofdstuk "Initiele set-up uitvoeren").
19.10 Info
- Dit toont de huidige softwareversie, de Spotify-versie, radio-ID en beschrijvende naam.
19.11 Achtergrondverlichting
• [Dimmer niveau]
De helderheid van het display selecteren. Opties omvatten: [Hoog], [Gemiddeld], [Laag] of [Auto].
20. De app UNDOK ^TM gebruiken om PRESTIGE te bedienen
PRESTIGE is compatibel met de app UNDOK™ van Frontier Silicon. De app biedt uitgebreide afstandsbedieningsfunctionaliteit voor FS gebaseerde audiomodules met een iOS of Android-smartphone.
De UNDOK™ app installeren en gebruiken:
- Download de UNDOK™-app van "App Store" of "Google play" en installeer het op uw iOS- of Android-smartphone.

-
Sluit uw smartphone aan op hetzelfde wifi-netwerk als PRESTIGE.
-
Start de UNDOK™ app op uw smartphone. De app zoekt naar compatibele audiosystemen. U kunt ook tikken op "Audiosysteem instellen" om te beginnen met zoeken naar audiosystemen.

- Selecteer "PRESTIGE" uit de lijst met beschikbare audiosystemen.

text_image
PRESTIGE_261691c84 PRESTIGE 0...261691c84 CD5. Bedien PRESTIGE via de UNDOK™ app.

text_image
PRESTIG...1691c84 SOURCE NOW PLAYING BROWSE FM Radio DAB Radio Internet Radio Spotify Local Music My Music Bluetooth AUX In 1 AUX In 2 Optical input Prestige in- of uitschakelen Selecteer een geluidsbron Regel het volume21. Problemen oplossen
Storingen kunnen optreden met alle elektrische apparatuur. Dit is niet noodzakelijk het gevolg van een defect in PRESTIGE. Controleer daarom de volgende tabel om te zien of u het probleem zelf kunt oplossen.
| Storing | Mogelijke oorzaak | Oplossing |
| Geen stroom Netsnoer is | niet goed aangesloten. | Sluit het netsnoer goed aan. |
| Geen reactie van PRESTIGE | Er is een fout in PRESTIGE. | Haal de stekker uit het stopcontact en doe hem er weer in. Schakel vervolgens PRESTIGE weer in. |
| Afstandsbediening werkt niet, of werkt slechts af en toe | Afstand tot PRESTIGE is te groot. | Verklein de afstand tussen de afstandsbediening en PRESTIGE. |
| Batterij is leeg. | Vervang de batterij. | |
| Geen geluid of slecht geluid | Geluid is uitgeschakeld. | Stel het volume bij. |
| Geen geluid of slecht geluid | PRESTIGE is niet ingesteld op de juiste afspeelmodus. | Selecteer een andere afspeelmodus. |
| Headset is aangesloten. | Haal de headset uit de aansluiting. | |
| FM/DAB of internet- ontvangst is slecht. | Verleng de FM/DAB- antenne, stel deze bij of controleer de wifi- verbinding. | |
| Er is radiostoring. | Houd PRESTIGE uit de buurt van andere elektronische apparaten. | |
| Geluid is uitgeschakeld. | Stel het volume bij. | |
| Optische ingang geen geluid | Selecteer PCM als uitgangsbron in het externe apparaat. | |
| Onvoldoende signaalsterkte van de wifi | De router is te ver of geblokkeerd. | Plaats PRESTIGE dichter bij de router of pas de positie van de wifi-antenne aan. |
| Kan geen verbinding maken met uw wifi-netwerk | Router is niet ingeschakeld of werkt niet goed. | Zet uw router aan of controleer de routersituatie. |
| Installatiemethode is onjuist. | Controleer of uw router WPS ondersteunt en gebruik maakt van de juiste installatiemethode (PBC of PIN). | |
| Configureer de wifi-instellingen opnieuw. | ||
| Internetradiozender werkt soms niet. | Sommige zenders ondersteunen slechts een beperkt aantal luisteraars. | Probeer het later opnieuw. |
| Zender zendt niet uit. | Probeer het later opnieuw. | |
| Sommige internetradiozenders verdwijnen uit de zenderlijst. | De zender wordt uit de lijst verwijderd wanneer deze stopt met uitzenden. | Controleer later opnieuw. Als het station nogmaals uitzendt, wordt het |
| CD-weergave start niet. | CD-formaat wordt niet ondersteund. | Plaats de juiste CD-formaat in de cd-sleuf. |
| CD is vuil. | Reinig de CD. | |
| CD is beschadigd. Plaats een andere CD in de cd-sleuf. | ||
| USB-apparaat werkt niet. | USB afspelen wordt niet ondersteund. | Controleer de bestanden en het bestandssysteem op het USB-apparaat. |
| USB-apparaat laadt niet op. | Controleer de USB-kabel. | |
22. Reiniging

LET OP!
Materiële schade door onjuist reinigen!
Onjuist reinigen kan leiden tot schade aan PRESTIGE of tot het uitvallen van bepaalde functies.
- Gebruik nooit schurende reinigingsmiddelen of reinigingsmiddelen met oplosmiddelen aangezien deze de oppervlakte van PRESTIGE kunnen beschadigen.
- Gebruik nooit hete lucht of perslucht om PRESTIGE te drogen.
- De randen en hoeken van PRESTIGE zijn gevoelig voor druk. Bescherm deze gebieden om te voorkomen dat ze worden blootgesteld aan overmatige druk.
Vingerafdrukken en lichte vervuiling
- Reinig PRESTIGE alleen van de buitenkant met een zachte, droge doek.
Zware vervuiling
- Reinig PRESTIGE alleen van de buitenkant met een licht vochtige doek en droog het dan met een zachte, droge doek.
23. Garantie
Bij het indienen van garantieclaims, geldt het volgende zonder beperking van uw wettelijke rechten:
- Aanspraak op garantie kan alleen worden uitgeoefend binnen een termijn van max. 2 jaar (1 jaar in Noord-Amerika en Australië), berekend vanaf de datum van aankoop.
- sonoro audio GmbH zal, naar eigen goeddunken, PRESTIGE gratis repareren of vervangen bij eventuele gebreken veroorzaakt door materiaal- of fabricagefouten binnen de garantieperiode.
- Neem in het geval van een klacht contact op met onze klantenservice. U vindt contactgegevens onder "Contactgegevens" of op www.sonoro.de.
- Er begint geen nieuwe garantietermijn na reparatie of vervanging van PRESTIGE. De garantieperiode van 2 jaar (1 jaar in Noord-Amerika en Australië) vanaf de datum van aankoop blijft van toepassing.
- Uitgesloten van de garantie zijn batterijen, schade veroorzaakt door oneigenlijk gebruik, normale slijtage, alsmede gebreken die de waarde of bruikbaarheid van PRESTIGE slechts minimaal beïnvloeden. De garantie verloopt ook in geval van wijzigingen die niet door ons geautoriseerde servicecenter zijn aangebracht.
PRESTIGE
SO-330
2-VEJS ALL-IN-ONE MUSIC SYSTEM MED INTEGRERET SUBWOOFER, INTERNET RADIO, CD-PLAYER, DAB + & BLUETOOTH®

SimpelGids















