DDLE LCD 18 - Verwarming AEG - Gratis gebruiksaanwijzing en handleiding
Vind de handleiding van het apparaat gratis DDLE LCD 18 AEG in PDF-formaat.
Download de handleiding voor uw Verwarming in PDF-formaat gratis! Vind uw handleiding DDLE LCD 18 - AEG en neem uw elektronisch apparaat weer in handen. Op deze pagina staan alle documenten die nodig zijn voor het gebruik van uw apparaat. DDLE LCD 18 van het merk AEG.
GEBRUIKSAANWIJZING DDLE LCD 18 AEG
Elektronisch geregelde doorstromer
Gebruik en Installatie 45
- Algemene aanwijzingen 46
- Veiligheid 46
3.Toestelbeschrijving. 47 - Installingen 47
- Reiniging, verzorging en onderhoud 47
- Problemen verhelpen 47
INSTALLATIE
- Veiligheid 48
8.Toestelbeschrijving. 48 - Voorbereidingen 48
- Montage 49
- Ingebruikname 53
- Buitendienststellung 53
- Storingen verhelpen 53
- Onderhoud 54
GARANTIE
MILIEU EN RECYCLING
BIJZONDERE INFO
-
Het toestel kan door kinderen vanaf 8aar, alsmede door personen met verminderde fysieke, sensorische of geestelijkke vermogens of met een gebrek aan ervaring en kennis gebruikt worden, wonneer er toezicht op hen gehonden worden, of wonneer ze met betrekking tot het veilige gebruik van het toestel geinstrueerd+zijn en de bevaren die waaruit ontstaan, begrepen hebben. Kinderen mogen Niet met het toestel spelen. Kinderen mogen zonder toezicht geen reiniging of gebruikersonderhoud uitvoeren.
-
Verbrandingsgevaar: De kraan kan warmer worden dan 60^ .
-
Het toestel moet op alle polen met een afstand van minstens 3mm van de aansluiting van het net losgekoppeld+kennen worden.
- Monteer het toestel zoals beschreven in het hoofdstuk "Installatie/montage".
- Neem de maximaal toegelaten druk in acht (zie hoofdstuk "Technische gegevens/ gegevenstabel").
- Tap het toestel af zoals beschreiben in het hoofdstuk "Installatie/onderhoud/het toestel aftappen".
BEDIENING
1. Algemene aanwijzingen
De hoofdstukken "Bijzondere info" en "Bediening" zijn bedoeld voor de gebruiker van het toestel en voor de installmenter.
Het hoofdstuk "Installatie" is bestemd voor de installateur.

Info
Lees deze handleiding voor gebruik zorgvuldig door enbewaar deze op een veilige plaat.
Overhandig de handleiding in voorkomende gevallen aan een volgende gebruiker.
1.1 Veiligheidsaanwijzingen
1.1.1 Structuur veiligheidsaanwijzingen

TREFWOORD Soort gevaar
Hier staan möglichke gevolgen, wanneer de veiligheidsaanwijzing worden genedeerd.
Hier staan maatregelen om het gevaar af te wenden.
1.1.2 Symbolen, soort gevaar
| Symbool Soort | gevaar |
| ! | Letsel |
| Elektrische schok | |
| Verbranding (Verbranding, verschroeiing) |
1.1.3 Trefwoorden
| TREFWOORD | Betekenis |
| GEVAAR Aanwi | zingen die leiden tot zwaar letsel of overlijden, wanner deze nicht in acht worden genomen. |
| WAARSCHU-WING | Aanwijzingen die kuren leiden tot zwaar letsel of overlijden, wanner deze nicht in acht worden geno-men. |
| VOORZICHTIG | Aanwijzingen die kuren leiden tot middelmatig zwaar of Licht letsel, wanner deze nicht in acht wor-den-genomen. |
1.2 Andere aandachtspunten in deze documentationie

Info
Algemene aanwijzingen worden aangeduid met het symbol dat hiernaast staat.
» Lees de aanwijzingstksten grondig door.
| Symbool Betekenis | |
| ! | Materiële schade (toestel-, gevolg-, milieuschade) |
| Het toestel afdanken | |
» Dit symbol geeft aan dat uients moet doe. De vereiste handelingen worden stapsgewijs beschreven.
1.3 Maateenheden

Info
Tenzij anders worden vermeld, worden alle maten in millimeter aangegeven.
2. Veiligkeit
2.1 Voorgeschreveu gebruik
Het toestel is bestemd voor gebruik in een huishoudelijk omgeving. Het kan veilig bediend worden door personen die.daarover Niet geinstruereeerd,zijn. Het toestel kan eveneens buiten een huishouden gebruikt worden, bijv. in het Kleinbedrijf, voor zover het opdezelfde wijze gebruikt worden.
Het druktoestel is geschikt voor de opwarming van tapwater of voor de bijverwarming van water dat voorverwarmd is. Het toestel kan een of verschillende tappunten voorzien.
Elk ander gebruik geldt nicht als gebruik conform de voorschriften. Tot gebruik conform de voorschriften behoort ook het in acht nemen van deze handleiding evenals de handleidingen voor de gebruekte accessoires.
2.2 Algemene veiligheidsaanwijzingen

De temperatuur van de kraan kan bij gebruik hoger worden dan 60^
Bij uitlooptemperaturen van meer dan 43^ bestaat gevaar voor brandwonden.

Het is möglichk dat de warmwatertemperatuur afwikt van de ingestelde nominale temperatuur, wanneer de doorstromer worden gebruikt met water dat bijv. door een zonne-installatie is voorverwarmd.

WAARSCHUWING letsel
Het toestel kan door kinderen vanaf 8aar, alsmede door personen met verminderde fysieke, sensorische of geestelijkke vermogens of met een gebrek aan ervaring en kennis gebruikt worden, wanner er toezicht op hen gehonden wordt, of wanner ze met betrekking tot het verilige gebruik van het toestel geinstruerd zich en de bevaren die waaruit ontstaan, begrenpen hebben. Kinderenogen Niet met het toestel spelen. Kinderenogen zonder toezicht geen reiniging of gebruikersonderhoud uitvoeren.
Als kinderen of Personen met verminderde fysiieke, sensorische of geestelijkke vermogens het toestel gebruiken, adviseren we een permanente temperatuurbegrenzing. U kunt de begrenzing door de installmenter lately instellen.

Materielle schade
Het toestel en de kraan dienen door de gebruiker gegen vorst beschermd te worden.
2.3 CE-logo
Het CE-logoegeft aan dat het toestel voldoet aan allefundamentele vereisten:
Laagspanningsrichtlijn
- Richtlijn voor de elektromagnetische compatibiliteit De maximaal toegelaten netimpedantie staat in het hoofdstuk "Technische gegevens".
2.4 Keurmerk
Zie hetypeplaatje op het toestel.
Landspecifiekeregunningenencertificateen: Duitsland
Op basis van de lokale verordingen heeft het toestel een algemeen bouwkundig testcertificaat ontvangen om de geschiktheid op het vlak van het geluidsniveau aan te tonen.

3. Toestelbeschrijving
De elektronische geregelde doorstromer met automatische vermogensaanpassing houdt de uitlooptemperatuur tot aan de vermogensdrempel constant. Daarna worden de temperatuur via de aftapkraan ingesteld.
Verwarmingssysteme
Het blankdraadelement heeft een drukvaste kunststoffmantel. Het verwarmingssysteme is geschikt voor kalkarm en kalkhoudend water en is in grote mate oncevoelig voor verkalking. Het verwarmingssysteme zorgt voor een snelle en efficiente warmwatervoorzieening.

Info
Het toestel is uitergerust met een luchtherkenning, die beschadiging van het verwarmingssysteme verregaand voorkomt. Als erijdens de werkig luckht in het toestel komt, schakelt het toestel het verwarmingssysteme gedurende een minuutuit, zodat het verwarmingssysteme worden beschermd.
4. Installingen
Het is möglichk de warmwateruitlooptemperatuur traploos in te stellen. De geseleeteerde temperatuur wordt weergegeven. Bij temperaturen boven 43^ verandert de displaykleur van blauw in rood om verbrandingsgevaar aan te Geven.


Draai de instelknop maar de gewenste temperatuur.

Info
Als bij een volledig geopende aftapkraan en een maximale temperatuurinstelling de uitlooptemperatuur onvoldoende bereikt worden, stroomt er meer water door het toestel dan het verwamingssysteem kan opwarmen (toestel aan vermogensgrens).
» Verminder de waterhoeveelheid op de aftapkraan.
Instellingsadvies bij werkig met eenthermostaatkraan
Stel de temperatuur op het toestel in op de maximale temperatuur.
Na onderbreking van de watertoevoer

Materielle schade
Als de watervoorziening onderbroken is geweest, moet het toestel via de volgende stappen opnieuw in gebruik worden genomen, zDat het blankdraadelement Niet kapot.gaat.
» Schakel het toestel spanningsvrij door de zekeringen uit te schaken.
» Open de kraan gedurende een minuut tot het toestel en de voorgeschakelde koudwatertoevoerleiding vrij় van lucht.
» Schakel de netspanning opniew in.
5. Reiniging, verzorging en onderhoud
» Gebruik geen schurende reinigingsmiddelen of reinigingsmiddelen met oplosmiddelen. Een vochtige doek volstaat om het toestel te onderhonden en te reinigen.
Controller periodiek de kranen. Verwijder kalk op de kraanuitlopen met in de handel verkrijgbare ontkalkingsmiddelen.
6. Problemen verhelpen
| Probleem Oorzaak Oplossing | ||
| Het toestel schakelt nicht in hoewel de warmwaterkraan volledig open staat. | Er is geen spanning. | Controleer de zeke- ringen van de huisin- stallatie. |
| Het doorstroomvo- lume is te laag. De straalregelaar in de kraan of de douche-kop is verkalkt of vuil. | Reinig en/of ontkalk de straalregelaar of de douchekop. | |
| Gewenste tempera- tuur > 45 °C wordt nicht bereikt. | De watervoorziening is onderbroken. | Onlucht het toestel en de koudwatertoevoer- leiding (zie hoofdstuk "Instellenen"). |
| De koudwatertoe- voertemperatuur is > 45 °C. | Verlaag de koudwater- toevoertemperatuur. | |
Waarschuw de installmenter als u deoorzaak zich nicht kunt verhopen. Hij kan u sneller en beter的帮助下, als u hem het nummer op het typeplaatje doorgeeft (000000-0000-00000):

INSTALLATIE
7. Veiligkeit
Installatie, ingebruikname, evenals onderhoud en reparatie van het toestel mogen alleen door een gekwalificeerde installateur uitgevoerd worden.
7.1 Algemene veiligheidsaanwijzingen
Wij waarborgen de goede werkig en de bedrijfszekerheid uitsluitend bij gebruik van originele onderdelen en verwangingsonderdelen voor het toestel.

Materielle schade
Houd rekening met de maximale aanvoertemperatuur. Bij hogere temperaturen kan het toestel beschadigd raken. Door een centrale thermostat in te bouwen kunt u de maximale aanvoertemperatuur begrenzen.
72 Voorschriften, normen en bepalingen

Info
Neem alle nationale en regionale voorschriften en bepalingen in acht.
De beschemingsgraad IP 25 (straalwaterbeveiligd) is alleen gewaarborgd met vakkundig gemonteerde kabeltulle.
- De specifieke elektrische weltstand van het water mag Niet lager zich dan de waarde die aangegeven is op het typeplaatje. Bij een waterkoppelnet moet rekening gezchoolden worden met de laagste elektrische weltstand (zie hoofdstuk "Technische geveens/toepassingsgebieden/omrekeningstabel"). De specifieke elektrische weltstand of het elektrisch geleidend vermogen van het water kunt u opvragen bij uw watermaatschappij.
8. Toestelbeschrijving
8.1 Inhoud van het pakket
Bij het toestel worden het volgende geleverd:
Wandbevestiging
- Schroefbauten, schroeven en pluggen voor wandbevestiging
Montagesjabloon
2 nippels (koud water met aflsuitkraan)
Vlakke afdichtingen
Kabeltulle (elektrische toevoerkabel boven/onder)
- Schroeven/pluggen voorchterwandbevestigbing bij opbouw-wateraansluiting
8.2 Toebehoren
Kraan
ADEo 70 WD - baddrukkraan
Montagetoebehoren
Buiskit voor montage onder het aftappunt UT 104, aansluitingen: Opbouw, G 3/8 bovenaan. Wateraansluitingen met 12mm klemschroefkoppeling.
Universeeel montageframe
Montageframe met elektrische aansluitingen.
Buiskit voor toestellen onder het aftappunt
De buiskit voor montage onder het aftappunt isoodzakelijk wanner u de wateraansluitingen (G3 / 8A) boven het toestel nodig hebt.
Buiskit voor verschoven montage
De buiskit met kniestukken isoodzakelijk wanner u het toestel 90 mm loodrecht t.o.v. de wateraansluiting omlaag dient te verschuiven.
Buiskit voor verranging van de gaswaterverwarmer
De buiskit is noodlesiek wanner u een installment met bestaande aansluitingen voor een gas-waterverwarming hebt (koudwateraansluiting links en warmwateraansluiting rechts).
Lastafwerprehais (LR 1-A)
Het lastafwerprélais voor inbouw in de elektrische verdeling LAST aan voorrangsschakeling van de doorstromer toe, wanner bijvoorbeeld tegelijkkertijd elektrische boilerverwarmingstoestellen gezrukt worden.
ZTA 3/4 - centrale thermostaatkraan
Thermostatkaan voor centrale voormenging, bijvoorbeeld van een doorstromer met een zonne-installatie.
9. Voorbereidingen
9.1 Montageplaats

Materielle schade
Het toestel mag alleen in een vorstvrije ruimte gein-stalleerd worden.
» Monteer het toestel verticaal en in de buurt van het tappunt.
Het toestel is geschikt voor montage onder of boven het aftappunt.
Montage onder het aftappunt

2602021345
1 Koudwatertoevoer
2 Warmwateruitloop
Montage boven het aftappunt

26_02_02_1344
1 Koudwatertoevoer
2 Warmwateruiitloop

Info
» Monteer het toestel aan de muur. De muur要去 voldoende draagvermogen hebben.
9.2 Waterinstallatie
Een veiligheidsklep is nicht vereist.
» Spoel de waterleiding grondig door.
Controller of het debiet (zie hoofdstuk "Technische gegevens/gegevenstabel", aan) voor het inschakelen van het toestel bereikt worden. Wordt het debiet Niet bereikt, verwijder dan de doorstroomvolumebegrenzer (zie hoofdstuk "Montage/doorstroomvolumebegrenzer verwijdenen").
Verhoog de waterleidingdruk, als het benodigde debiet bij een volledig geopende aftapkraan Niet worden gehaal.
Kranen
Gebruik geschichte drukkranen. Open kranen zichn nicht toegestaan.

Info
De aflsuitklep in de koudwatertoevoer mag nicht gebruikt worden om het debiet te smoren. Deze is bestemd voor het aflsuiten van het toestel.
Toegestaan material waterleidingen
Koudwatertoevoerleiding: thermisch gegalvaniseerde stalen buis, roestvrijsta- len buis, koperbuis of kunststofbuis
Warmwateruitloopleiding: roestvrijstalen buis, koperbuis of kunststofbuis

Materielle schade
Wanneer kunststoffbuizen gebruikt worden, dient u rekening te honden met de maximale aanvoertemperaatuur en de maximaal toegelaten druk (zie hoofd-stuk "Technische gegevens/gegevenstabel").
Flexible wateraansluitleidingen
Voorkom bij de installmentie met flexibele wateraansluitleidingen dat de kniestukken met een bajonetkoppeling in het toestel verdraaien.
Bevestig de awhile onderaan met twee extra schroeven.
10. Montage
10.1 Standaardmontage
Elektrische installment bovenaan, inbouwinstallatie
Wateraansluiting inbouwinstallatie
DDLE LCD 18/21/24: Aansluitvermogen 21 kW voor af ingesteld
Zie voor meer montagemogelijkheden het hoofdstuk "Alternatieven voor montage":
Elektro-aansluiting onderbouw onder
Elektro-aansluiting opbouw
Aansluiting van een lastafwerplais
Montage onder het aftappunt wateraansluitingen - boven
Waterinstallatie opbouw
一 Werking met voorverwarmd water
- Temperatuurbegrenzing

Toestelopenen
D0000041615

» Ontgrendel de kliksluiting om het toestel te openen.

26_02_02_0762

» Scheid de weiterwand door de beiden vergrendelhaken in te drukken en het onderstuk van de achefterwand maar voren eraf te trekken.
2602020887
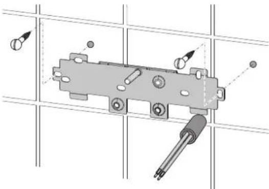
Wandbevestiging monteren
26_02_02_0972

» Teken de boorgaten af met de montagesjabloon.
Wanner het toestel gemonteerd worden met opgebouwde wateraansluitingen, dient u ook de bevestigingsgaten in het onderste gedeelte van de sjabloon af te tekenen.
Boor de gaten en bevestig de wandbevestiging met 2 schroeven en 2 pluggen (schroeven en pluggen meegeleverd).
» Monteer de meegeleverde schroefbauten.
» Monteer de wandbevestiging.

Kabeltulle monteren
26_02_02_0950
» Monteer de kabeltulle. Vergroot bij een aansluitkabel met een diameter >6mm^2 het gat in de kabeltulle.
Wateraansluiting tot stand brengen

Materielle schade
Voer alle werkzaamheden voor wateraansluiting en installmente uit conform de voorschriften.

26_02_02_0948
Dicht af en schroef de nippel erin.

Materielle schade
De afsluitklep in de koudwatertoevoer mag nicht gebruikt worden om het debiet te smoren.
Achterwand voorbereiden

Materielle schade
Als u per ongeluk een verkeerd gat doorbreekt in dechterwand, dient u een neue hinterwand te gebruiken.

D0000041893
» Breek het breukpunt voor de kabeltulle uit dechterwand. Verwijder zo nodig scherpe kanten van bra-men met een vrij.

Toestel monteren
D0000041894
Steen dechterwand over de schroefbauten en de kabeltulle. Trek de kabeltulle met behulp van een tang aan de vergrendelhaken in dechterwand tot beiden vergrendelhaken hoortaar vastklikken.
» Verwijder de transportstoppen uit de wateraansluitingen.
» Duw de hinterwand stevig aan en vergrendel de bevestigingsknevel door 90^ maar rechts te draaien.

D0000041925
» Schroef de buizen voor wateraansluiting met de vlakke afdichtingen op de nippels.

Materielle schade
Voor de werkking van het toestel moet de zeef ingebouwd�.
Controller bij verranging van het toestel of de zeef aanwezig is (zie hoofdstuk "Onderhoud").
Doorstroomvolumebegrenzer verwijderen/ verrangen

Info
Gebruikt u eenthermostaatkraan, dan mag de doorstroomvolumebegrenzer nicht verwijderd worden.

1 Kunststof vormstuk
2 Doorstroomvolumebegrenzer
» Demonteer de doorstroomvolumebegrenzer en breng het kunststof vormstuk opnieuw aan.
DDLE LCD 18/21/24: Doorstroomvolumebegrenzer verrangen
» Hebt u gekozen voor een 24kW-aansluitvermogen, verrang dan de ingebouwde doorstroomvolumebegrenzer (witte kleur) door de meegeleverde doorstroomvolumebegrenzer (oranje kleur, aan de koudwaterleiding bevestigd).
Elektriciteit aansluiten

WAARSCHUWING elektrische schok Voer alle werkzaamheden voor elektriciteitsaansluitingen en installmenteuit conform de voorschriften.

WAARSCHUWING elektrische schok De aansluiting op het stroomnet is alleen toegestaan als vaste aansluiting in combinatie met de uitneembare kabeltulle. Het toestel moet op alle polen met een afstand van minstens 3 mm van de aansluiting van het net losgekoppeld konnen worden.

WAARSCHUWING elektrische schok
Zorg ervoor dat het toestel is aangesloten op de
aardleiding.

Materiele schade
Neem de gegevens op het typeplaatje in acht. De aangegeven spanning moet overeenkomen met de netspanning.
Sluit de elektrische aansluitkabel aan op de nettaansluitklem (zie hoofdstuk "Technische gegevens/elektriciteitsschema").
DDLE LCD 18/21/24: Codeerstekker verplaatsen
Het toestel is bij levering ingesteld voor 21 kW. Als u een ander vermogen wenst, moet u de volgende stappenuitvoeren:

D0000047341
» Verplaats de codeerstekker overeenkomstig het gekozen vermogen (vermögen en zekering van het toestel zich vrij te kiezen, zich hoofdstuk "Technische gegevens/gegevenstabel").
» Markeer het geselecteerde aansluitvermogen op het typeplaatje. Doe dat met een balpen.
Onderstuk vanchterwand monteren

2602021348
» Monteer het onderstuk van dechterwand in dechterwand en klik het onderstuk van dechterwand vast.
» Lijn het gemonteerde toestel uit door de bevestigingsknevel los te make, de elektro-aansluiting en dechterwand uit te lijnen en de bevestigingsknevel weer vast te draaien. Als dechterwand van het toestel Niet goed gegen de wand komt, kutu het toestel onderaan met twee extra schroeven bevestigen.
10.2 Alternatieven voor montage
10.2.1 Elektro-aansluiting onderbouw onder

Als u per ongeluk een verkeerd gat doorbreekt in dechterwand, dient u een neue hinterwand te gebruiken.
» Breek het breukpunt voor de kabeltulle uit dechterwand. Verwijder zo nodig scherpe kanten van bra-men met een vijl.
» Verplaats de netaansluitklem in het toestel van boven maar onder.
Steek dechterwand over de schroefbauten en de kabeltulle. Trek de kabeltulle met behulp van een tang aan de vergrendelhaken in dechterwand tot beiden vergrendelhaken hoortaar vastklikken.
» Duw de hinterwand stevig aan en vergrendel de bevestigingsknevel door 90^ maar rechts te draaien.
10.2.2 Elektro-aansluiting opbouw

Info
Bij dit aansluiotype wijzigt de beschemingsgraad van het toestel.
Wijzig het typeplaatje. Streep de vermelding IP 25 door en kruis hetvakje IP 24 aan.Doe dat met een balpen.

Materielle schade
Als u per ongeluk een verkeerd gat doorbreekt in dechterwand, dient u een neue hinterwand te gebruiken.
» Snijd of breek de benodigde doorvoer in de achefterwand netjes uit (zie hoofdstuk "Technische gevevens/afmetingen en aansluitingen" voor de posities).Verwijder zo nodig scherp kanten van bramen meteen vijl.
Leid de elektrische aansluitkabel door de kabeltulle en sluit deze op de netaansluitklem aan.
10.2.3 Aansluiting van een lastafwerplais
Plaats een lastafwerpretais bij combinatie met andere elektrische toestellen, bijvoorbeeld elektrische boilerverwarmingstoestellen, in de elektrische verdeling. De lastafwerping vindt plaats bij de werking van de doorstromer.

Materielle schade
Sluit de fase die het lastafwerpretais schakelt, aan op de gerekte klem van de netaansluitklem in het toestel (zie hoofdstuk "Technische gegevens/elektriciteitsschema").
10.2.4 Montage onder het aftappunt wateraansluitingen - boven
Montage onder het aftappunt met wateraansluitingen bovenaan kan worden uitgevoerd met behulp van de bijkomende buiskit voor onderbouwtoestellen. Doorvoeropeningen in dechterwand voor de waterleidingen要去 u netjes uitbreken enervolgens de buiskit monteren.
10.2.5 Waterinstallatie opbouw

Info
Bij dit aansluitype wijzigt de beschemingsgraad van het toestel.
Wijzig het typeplaatje. Streep de vermelding IP 25 door en kruis het vakje IP 24 aan. Doe dat met een balpen.

26_02_02_0765
» Monteer waterstoppen met dichtingen om de inbouwaansluiting af te sluiten.
» Monteer een geschikte drukkraan.

26_02_02_1006
» Klik het onderstuk van dechterwand vast in het bovenstuk van dechterwand.
» Schroef de aansluitbuizen op het toestel vast.
» Bevestig de awhile onderaan met twee extra schroeven.

Materielle schade
Als u per ongeluk een verkeerd gat doorbreekt in dechterwand, dient u een neue hinterwand te gebruiken.
Breek de doorvoeren in de bovenkap er netjes uit. Verwijder zo nodig scherpe kanten van bramen met een vrijl.
» Schuif het onderstuk van dechterwand onder de aansluitbuizen van de kraan en klik het onderstuk van dechterwand erin.
» Schroef de aansluitbuizen op het toestel vast.
10.2.6 Werking met voorverwarmd water
Door een centrale thermostaatkraan in te bouwen, kunt u de maximale aanvoertemperatuur begrenzen.
10.2.7 Temperatuurbegrenzing

Bij werkig met voorverwarmd water is het mogelijk dat de ingestelde temperatuurbegrenzing of de beveiliging gegen brandwonden Niet werkt.
» Begrens dan de temperatuur op een voorgeschakelde, centralethermostaatkraan.
U kunt de temperatuurbegrenzing aan de binnenNZijde van de bovenkap op 43^ instellen.

D0000041912
»Zet de temperatuurbegrenzing op 43^ Na het activeren van de temperatuurbegrenzing is het temperatuurbereik beperktussen 30 en 43^
Open de afluitklep in de nippel of de koudwateraanvoerleiding.
11. Ingebruikname

WAARSCHUWING elektrische schok
De ingebruikname mag alleen uitgevoerd worden door een installmenter die rekening houdt met alle veiligheidsvoorschriften.
11.1 Eerste ingebruikname

D0000041981
» Open en sluit meerere keren alle aangesloten aftapkranen totdat het leidingwerk en het toestel luchtvrijহn.
» Voer een dichttheidscontrole UIT.
» Schakel de veiligheidsdrukbegrenzer in door de re-settoets stevig in te drukken (het toestel worden metuitgeschakelde veiligheidsdrukbegrenzer geleverd).
Steeke de stekker van de temperatuurinstellerkabel op de elektronica.
» Monteer de bovenkap, deze moet hoorbaar vastklikken. Controller de plaatsing van de bovenkap.
» Schakel de netspanning in.
» Controller het functioneren van het toestel.
Overdracht van het toestel
» Leg aan de gebruiker de werkking van het toestel UIT en kaak hem vertrouwd met het gebruik ervan.
» Wijs de gebruiker op möglichk gevaar, met name het gevaar van brandwonden.
» Overhandig deze handleiding.
11.2 Opniew in gebruik nemen
Ontlucht het toestel en de koudwatertoevoerleiding (zie hoofdstuk "Instellenen").
Zie hoofdstuk "Eerste ingebruikname".
» Koppel het toestel op alle polen los van het elektriciteitsnet.
» Tap het toestel af (zie hoofdstuk "Onderhoud").
13. Storingen verhelpen

WAARSCHUWING elektrische schok Om het toestel te kuren controlen, moet er spanning op het toestel staan.
Indicatiemogelijkheden diagnoselampje (LED)
| ● | rood brandt bij $toring |
| ● | geel brandt tijdens de verwarmingsfunctie |
| ○ | groen knippert: toestel met netaansluiting |

1 Diagnoselampje
D0000041794
| Storing/weergave diagnoselampje Oorzaak Oplossing | ||
| Het debiet is te gering. De zeef in het toestel is vull. Reinig de zeef. | ||
| De nominale temperatuur worden nicht bereikt. | Er ontbreekt een fase. Controller de zekering van de huisinstallatie. | |
| De verwarming schakelt Niet in. | Er worden gedetecteerd dat er lucht in het water zit en het verwarmingsvermogen worden voor korteijduitgeschakeld. | Na eén minuut gaat het toestel waar in werkung. |
| Geen warm water en geen lampindi-catie. | De zekering is geactiveerd. Controller de zekering van de huisinstallatie. | |
| De veiligheidsdrukbegrenzer is uittgeschakeld. | Verhelp de oorzaak van de fout (bijvoorbeeld een defecte drukspoelkraan). | |
| Beschem het verwarmingsystemeegen over-verhitting door een Voorwij het toestel geschakelde aflapkraan gedurende eén minuut open te zetten. Daarvoor worden de druk van het verwarmingssysteme afgevoerd en worden het verwarmingsysteme afgekoeld. | ||
| Activeer de veiligheidsdrukbegrenzer bij stromingsdruk door op de resetknop te drukken (zie hoofd-stuk "Eerste ingebruikname"). | ||
| De elektronica is defect. Controller de | ||
| elektronica en verrang indien nodig | de elektronica. | |
| Lampindicatie: groen knippert of brandt constant | De elektronica is defect. Controller de elektronica en vvang indien nodig de elektronica. | |
| geen warm water bij debiet > 2,5 l/min. | De doorstroomhoeveelheidsmeting DFE is Niet aangesloten. | Sluit de stekker van de doorstroomhoeveelheids-meting waar aan. |
| De stekker van de doorstroomhoeveelh | eidsmeting is defect. | Controller de doorstroomhoeveelheidsmeting en verrang indien nodig. |
| Lampindicatie: geeel brandt continu, groen knippert | De veiligheidstemperatuurbegrenzer is geactiveerd of onderbroken. | Controller de veiligheidstemperatuurbegrenzer en verrang deze zo nodig. |
| geen warm water bij debiet > 2,5 l/min. | Het verwarmingsysteme is defect. | Meet de watstand van het verwarmingsysteme en verrang zo nodig de watstand. |
| De elektronica is defect. Controller de | ||
| elektronica en verrang indien nodig | de elektronica. | |
| Lampindicatie: geeel brandt continu, groen knippert | De uitloopsensor is gedemonteerd of er is spreke van een leidingbreuk. | Sluit de uitloopsensor aan en verrang indien nodig. |
| Lampindicatie: rood brandt continu, groen knippert | De koudwatersensor is defect. Controller de elektronica en vvang indien nodig de elektronica. | |
| Er is geen warm water gewenste temperatuur > 45 °C worden Niet bereikt. | De koudwatertoevoertemperatuur is hoger dan 45 °C. | Verlaag de koudwatertoevoertemperatuuraar het toestel. |
| Lampindicatie: rood brandt continu, groen knippert | De uitloopsensor is defect (kortsluiting). | Controller de uitloopsensor en verrang indien nodig. |
14. Onderhoud

WAARSCHUWING elektrische schok
Scheid alle polen van het toestel van het elektriciteit-snet voor aanvang van alle werkzaamheden.
Het toestel aftappen
U kunt het toestel voor onderhoudswerkzaamheden of ter bescherming tegen vorst aftappen.

WAARSCHUWING verbranding Tijdens het aftappen van het toestel kan er heet water uitlopen.
Sluit de afsluitklep in de nippel of de koudwateraanvoerleiding.
» Open alle aftappunten.
Maak de wateraansluitingen van het toestel los.
Een gedemonteerd toestel moet vorstvrij bewaard worden, want er kan restwater in het toestel zitten dat bevriezen kan en daardoor schade veroorzaken kan.
Zeef reinigen

26 02 02 0949
Reinig bij verruiling de zeef in de koudwaterschroefaansluiting. Sluit de afsluitklep in de koudwateraanvoerleiding voordat u de zeef demonteert, reinigt en weer monteert.
14.1 Technische gegevens Afmetingen en aansluitingen


D0000017757
| b02 Doorvoer elektriciteitskabels I | ||
| c01 Koudwatertoevoer | Buitendraad | G 1/2 A |
| c06 Warmwateruitloop Buitendraad G 1/2 A |

Optionele aansluitmögelikheden
D0000019778
| b02 Doorvoer elektriciteitskabels I |
| b03 Doorvoer elektriciteitskabels II |
| b04 Doorvoer elektriciteitskabels III |
14.2 Elektriciteitsschema 3/PE 380-415 V

1 Verwarming
2 Veiligheidstemperatuurbegrenzer
3 Veiligheidsdrukbegrenzer

Lastafwerprelais LR 1-A
1 Besturingskabel voor het relais van het 2e toestel (bijv. elektrische boilerverwarming).
2 Besturingscontact gaat open als de doorstromer inschakelt.
14.3 Warmwatervermogen
Het warmwatervermögen is afhankelijk van de aanweizi ge netspanning, het aansluitvermögen van het toestel en de koudwatertoevoertemperatuur. De nominale spanning en het nominaal vermogen staan op het typeplaatje (zie hoofdstub "Probleemoplossing").
14.4 Toepassingsgebieden / omrekeningstabel
Specifieke elektrische weiterstand en specifieke elektrische geleidbaarheid (zie hoofdstuk "Gegevenstabel").
| Genormeerde waarde bij 15 °C | 20 °C | 25 °C | ||||||
| Weerstand ρ | Geleidbaar-heid ω | Weer-stand ρ | Geleidbaar-heid ω | Weer-stand ρ | Geleidbaar-heid ω | |||
| Ωcm | mS/m | μS/cm | Ωcm | mS/m | μS/cm | Ωcm | mS/m | μS/cm |
| 900 | 111 | 1111 | 800 | 125 | 1250 | 735 | 136 | 1361 |
| 1000 | 100 | 1000 | 890 | 112 | 1124 | 815 | 123 | 1227 |
| 1100 | 91 | 909 | 970 | 103 | 1031 | 895 | 112 | 1117 |
| 1200 | 83 | 833 | 1070 | 93 | 935 | 985 | 102 | 1015 |
| 1300 | 77 | 769 | 1175 | 85 | 851 | 1072 | 93 | 933 |
14.5 Drukverliezen
Kranen
| Drukverlies van de kranen bij debiet 10 l/min | ||
| Eenhendel mengkraan, ca. | MPa | 0,04 - 0,08 |
| Thermostatische kraan, ca. | MPa | 0,03 - 0,05 |
| Handdouche, ca. | MPa | 0,03 - 0,15 |
Dimensionering van het buisnet
Voor de berekening van de dimensionering van het buisnet worden voor het toestel een drukverlies van 0,1 MPa aanbevolen.
14.6 Storingen
In geval van storing kunnen in de installmentiekortstondige belastingen van maximaal 95^ bij een druk van 1,2 MPa optreden.
14.7 Gegevens over het energieverbruik
De productgeveens voldoen aan de EU-verordingen betreffende de richtlijn voor milieuvriendelijkke vormgeving van energiegerelateerde producten (ErP).
| DDLE LCD 18 DDLE LCD 18/21/24 DDLE LCD 27 | ||||
| 222392 222394 222395 | ||||
| Fabrikant AEG Haustechnik AEG Haustechnik AEG Haustechnik | ||||
| Lastprofil | S | S | S | |
| Energiendementsklasse | A | A | A | |
| Jaarliks stroomverbruik | kWh | 477 | 477 | 481 |
| Energetisch rendement | % | 39 | 39 | 39 |
| Fabrikstemperatuurinstelling | °C | 60 | 60 | 60 |
| Geluidsvermögensniveau | dB(A) | 15 | 15 | 15 |
| Bijzondere info voor efficientiemeting | Geen | Gegevens bij Pmax. | Geen | |
14.8 Gegevenstabel
| DDLE LCD 18 | DDLE LCD 18/21/24 | DDLE LCD 27 | |||||||
| 222392 | 222394 | 222395 | |||||||
| Elektrische gegevens | |||||||||
| Nominate spanning | V | 380 | 400 | 415 | 380 | 400 | 415 | 380 | 400 |
| Nominaal vermogen | kW | 16,2 | 18 | 19,4 | 16,2/19/21,7 | 18/21/24 | 19,4/22,6/25,8 | 24,4 | 27 |
| Nominate stroom | A | 24,7 | 26 | 27 | 27,6/29,5/33,3 | 29/31/35 | 30,1/32,2/36,3 | 37,1 | 39 |
| Zekering | A | 25 | 25 | 32 | 32/32/35 | 32/32/35 | 32/32/35 | 40 | 40 |
| Fasen | 3/PE | 3/PE | 3/PE | ||||||
| Frequentie | Hz | 50/60 | 50/60 | 50/- | 50/60 | 50/60 | 50/- | 50/60 | 50/60 |
| Specifieke watstand ρ15≥ (bij Økoud ≤25°C) | Ω cm | 900 | 900 | 1000 | 900 | 900 | 1000 | 900 | 900 |
| Specifieke geleidbaarheid σ15≤ (bij Økoud ≤25°C) | μS/cm | 1111 | 1111 | 1000 | 1111 | 1111 | 1000 | 1111 | 1111 |
| Specifieke watstand ρ15≥ (bij Økoud ≤45°C) | Ω cm | 1200 | 1200 | 1300 | 1200 | 1200 | 1300 | 1200 | 1200 |
| Specifieke geleidbaarheid σ15≤ (bij Økoud ≤45°C) | μS/cm | 830 | 830 | 770 | 830 | 830 | 770 | 830 | 830 |
| Max. netimpedantie bij 50Hz | Ω | 0,379 | 0,360 | 0,347 | 0,284 | 0,270 | 0,260 | 0,254 | 0,241 |
| Werkingsgebied | |||||||||
| Max. toegelaten druk | MPa | 1 | 1 | 1 | |||||
| Max. toevoertemperatuur voor bijverwarming | °C | 45 | 45 | 45 | |||||
| Waarden | |||||||||
| Max. toegelaten toevoertemperatuur | °C | 65 | 65 | 65 | |||||
| Aan | l/min | >2,5 | >2,5 | >2,5 | |||||
| Volumestroombegrenzing bij | l/min | 8 | 8 / 8 / 9 | 9 | |||||
| Warmwateraanbieding | l/min | 9,4 | 9,4/11,0/12,6 | 14,2 | |||||
| Δθ bij aanbieding | K | 26 | 26 | 26 | |||||
| Hydraulische gegevens | |||||||||
| Nominate inhoud | I | 0,4 | 0,4 | 0,4 | |||||
| Uitvoeringen | |||||||||
| Temperatuurinstelling | °C | 30-60 | 30-60 | 30-60 | |||||
| Verwarmingsystem warmtegenerator | Blanke draad | Blanke draad | Blanke draad | ||||||
| Kleur | wit | wit | wit | ||||||
| Beschermingsgraad (IP) | IP25 | IP25 | IP25 | ||||||
| Afmetingen | |||||||||
| Hoogte | mm | 485 | 485 | 485 | |||||
| Breedte | mm | 226 | 226 | 226 | |||||
| Diepte | mm | 93 | 93 | 93 | |||||
| Gewichten | |||||||||
| Gewicht | kg | 3,6 | 3,6 | 3,6 | |||||
Garantie
Voor toestellen die buiten Duitsland zijn gekocht, gelden de garantievoorwaarden van onze Duitse ondernemingen Niet. Bovendien kan in landen waar een van onze dochtermaatschappijen verantwoordelijk is voor de verkoop van onze producten, alleen garantie worden verleend door deze dochtermaatschappij. Een dergelijk garantie worden alleen verstrekt, wanneer de dochtermaatschappij eigenaaranteedoorwaarden heeft gepubliceerd. In andere situates wordt er geen garantie verleend.
Voor toestellen die in landen worden gekocht waar wij geen dochtermaatschappijen hebben die once producten verkopen, verlenen wij geen garantie. Een eventuele door de importeur verzekerde garantie blijft onverminderd van kracht.
Milieu en recycling
Wij verzoeken u ons te helpen ons milieu te beschermen. Doe de materialen na het gebruik weg overeenkomstig de nationale voorschriften.
SimpelGids