DDLE LCD 18 - Ogrzewanie AEG - Bezpłatna instrukcja obsługi
Znajdź bezpłatnie instrukcję urządzenia DDLE LCD 18 AEG w formacie PDF.
Pobierz instrukcję dla swojego Ogrzewanie w formacie PDF za darmo! Znajdź swoją instrukcję DDLE LCD 18 - AEG i weź swoje urządzenie elektroniczne z powrotem w ręce. Na tej stronie opublikowane są wszystkie dokumenty niezbędne do korzystania z urządzenia. DDLE LCD 18 marki AEG.
INSTRUKCJA OBSŁUGI DDLE LCD 18 AEG
Elektronicznie regulowany przywyowy ogrzewacz wody
Instrukcja obslugi i montazu 72
IpoToUHbI BODoHarpeBaTeIb c 3JeKTpOHHbIM ynpaBJIeHHeM
O6cnykBaHne n yctaHOBka 86
BESONDERE HINWEISE
BEDIENUNG
- Wskazówki ogolne 73
- Bezpieczenstwo 73
3.Opis urzadzenia 74 - Nastawy 74
- Czyszczenie, pielegnacja i konserwacja 74
- Usuwanie problemow 75
INSTALACJA
- Bezpieczenstwo 76
- Opis urzadzenia 76
- Przygotowanie 76
- Montaz 77
- Uruchomienie 81
- Wylaczenie z eksploatacji 82
- Usuwanie usterek 82
- Konserwacja 83
- Dane techniczne 83
GWARANCJA
OCHRONA SRODOWISKA I RECYCLING
WSKAZÓWKI SPECIAL
-
Urzadzenia są boć obstrugiwane przydzie od 8 lat, a takłe osoby z agraniczonymi zdolnosciami ruchowymi, sensorycznymi lub z agraniczoną poczytalnoscia albo przyez osoby bez doświadczenia i wiedź, jejli obstuga odbywac są bedzie pod nadzorem lub jejli uzytkownicy dostali pouczeni odność bezpiecznych korzystania z urzadzenia i zapoznali są z ewentualnymi groźacymiNiebezpieczenstwami. Urzadzenia są boć uzywane przydzie do zagawy. Czyszczenia oraz konserwacje ze strony uzytkownika są wolno powierzadczieciom bez nadzoru.
-
Niebezpiecz精神病 poparzenia: Temperatura armatury要去 przykroczyc 60^
-
Urzadzenie musi byc oddzielone od sieci elektrycznej za pomocag wielobiegunowej wyłacznika z rozwarciem styków wynoszcym min. 3 mm.
- Zamocować urzadzenia w sposob opisany w rozdziale „Instalacja / Montaz".
- Nalezy przystrzegać maksymalnégo dopuszczalnégo ciśnienia (patrz rozdziaf „Dane techniczne / Tabela danych").
- Oproznić urzadzenia w sposob opisany w rozdziale „Instalacja/Konserwacja/Oprozniaie urzadzenia".
OBSŁUGA
1. Wskazówki ogólne
Rozdzielny, Wskazówki spejalne" i,Obstuga" sa przyznaczone dla uzytkowników koncowych urzadzenia i spezialistow.
Rozdzial,Instalacja" przyznaczony jest dla SPECIALISTy.

Wskazowka
Przed przystapieniem do obstugi urzadzenia nalezy dokladnie zapoznac sie z niniejsza instrukcja i zachować ja do poźniejsego wykorzystania.
W przypadku przykazania produktu osobom trzechim niniejsza instrukcje sązenia równeć dołaczyc.
1.1 Wskazówki dotyczne bezpiecznychstwa
1.1.1 Struktura wskazówek dotyczych bezpiecznych

HASLO OSTRZEGAWCZE - rodzaj zagrozenia W tym.), okreslone potencjalne skutki nieprzestrzejania wskazówki dotyczzej bezpieczenstwa.
» W tym mistręsca są okreslone siodki zapobiegajcie zagrożeni.
1.1.2 Symbole irodzaje zagrozenia
| Symbol Rodzaj zagrożenia | |
| ! | Obrażeniacialea |
| Porażenie prȩdom elektrycznym | |
| Poparzenie(Poparzenie) | |
1.1.3 Hasla ostrzegawcze
| HASŁO OSTRZE-GAWCZE | Znaczenia |
| ZAGROZNIE Wskazówki, ktorych nieprestrzeganie prowadzi do cięzkich obrażnychciał lub smierci. | |
| OSTRZEZNIE Wskazówki, ktorych nieprestrzeganie są pro-wadzić do ciȩzkich obrażnychciał lub smierci. | |
| OSTROZNIE Wskazówki, ktorych nieprestrzeganie są pro-wadzić do srechnich lub lekkich obrażnychciał. |
1.2 Inne oznaczenia stosowane w niniejszej dokumentaci

Wskazówka
Ogólne wskazówki są oznaczone symbolem umieszczonym obok.
» Naleź dokladnie zapoznać są ztreść wskazowejk.
| Symbol Znaczenia | |
| ! | Szkody materialne (uszkidzienie urzadzenia, szkody następcze, szkody ekologiczn) |
| Utylizacja urzadzenia | |
Ten symbol informuje o koniecznosci wykonania jakiejś czynnosci. Wymagane czynnosci opisane są krok po krok.
1.3 Jednostki miar

Wskazówka
Jesli ne okreslono innych jegnestek, wszystkie wymiary podane sq w milimetrach.
2. Bezpieczenstein
2.1 Uzytkowanie zgodne z przyznaczeniem
Urzadzenie przyznaczone jest do uzytku domowego. Nieprzeszkolone osoby moga bezpiecznie z niedo korzysta. Urzadzenie maya stosowac rawnie poza domem, np. w malych przydsiembiorstwach, pod warunkiem takiego samego uzytkowania.
Urzadzenie ciñnieniowe jest przyznaczone do wody uzytkowej lub wstepnie podgrzanej. Urzadzenie要去 sluycdo zasilania co najmiej jedem punktu povoru wody.
Inne lub wykraczajace poza obwiązujace ustalenia za-.
stosowanie traktowane jest jako niedgne z przyznaczenia. Do uzytkowania zgodnego z przyznaczeniem
nalezy rowniez przyestrzeganie niniejszej instrukcji obslugi
raz instrukcji obslugi uzytego wyposañenia dodatkowe-
go.
2.2 Ogólne wskazówki dotyczę bezpieczność

OSTROZNIE poparzenie
Podczas pracy temperatura armatury moze osiagna wartosc powyzej 60°C.
W przypadku temperatur na wylocie wyzszych niz 43^ istnieje niebepeziecznstwo poparzenia.

OSTROZNIE poparzenie
Temperatura cieptej wody przy zasilaniu woda wstepnie podgrzana, np. przy bez instalacje solarna,要去 roznic sie od nastawionej temperatury zadanej.

OSTRZEZENIE obrażenia ciała
Urzadzenie moze byc obslugiwane przydzeci od 8 lat, a takze osoby z ograniczonymi zdolnosciami ruchowymi, sensoryczonymi lub z ograniczona po-czytalnoscia albo przyez osoby bez doswiadzenia i wiedzy, jestli obsluga odybac sie bedzie pod nadzorem lub jestli uzytkownicy dostali pouceni odnosnie bezpiecznego korzystania z urzadzenia i zapoznali sie z ewentualnymi grozacymi niebezpieczenstwa-mi. Urzadzenie ne moze byc uzywane przydzeci do zabawy. Czyszczenia oraz konserwacci ze stroyu uzytkownika nie wolno powierzać dziaciom bez nadzoru.
Ježeli urzadzenie bedzie obstrugiwane przyżpie lub osoby z ograniczonymi zdolnościami ruchowymi, sensorycznych lub z ograniczona poczytalnosci,azole sie zastosowanie na state ogranicznika temperatury. Natawienie ograniczenia mayna zleci specjalisce.

Szkody materialne
Obwiatzkiem uzytkownika jest zabezpieczenia urzadzenia i armatury przyd mrozem.
2.3 Oznaczenie CE
Oznaczenia CE zapewnia, ze urzadzenia spelnia wsystkie podstawowe wymagania:
Dyrektywy niskonapięciowej,
Dyrektywy w sprawie kompatybilnosci elektromagnetycznej
Maksymalna dopuszczalna impedancja sieci jest podana w rodziale „Dane techniczne".
2.4 Znak kontroli
Patrz tabliczka znamionowa na urzadzeniu.
Krajowe dopuszczenia i certyfikaty: Niemcy
Zgodnie z niemiecka ustawa budowlana dla urzadzenia zostalo wystawione ogolne swiadectwo budowlante stwierdzajce spelhianie przyez nie wymogow dotyczych emisi j halasu.

3. Opis urzadzenia
Elektronicznie regulowany przyptywowy ogrzewacz wody z automatycznym dopasowaniem mocy utrzymuje stała temperatur na wylocie do granicy mocy. Potem temperatur wybiera sie za pomocą armatury czerpalnej.
System grzewczy
System grzewczy z odkryta grzalic wyposaźony jest w odporny na ciśnienie plaszcz z tworzywa sztucznego. W systemie grzewczymość podgrzewć wode o niskiej i wysokiej zawartosci wapnia, poniewaN jest on w duzym stopniu odporny na zawapniedie. System grzewczy zapewnia szybkie i wydajne przygotawanie cieplej wody.

Wskazówka
Urzadzenie jest wyposazone w Funktionwykrywania powietrza, ktorawznacznym stopniu zapobiega uszkodzeniom systemu grzejnego. Jezeli podczas pracy do urzadzenia dostanie siegowietrze, urzadzenia wylacza moc grzewcza na jeder minute, chroniac tym samym system grzewczy.
4. Nastawy
Mozna bezstopniowo nastawiac temperature na wylocieciepiej wody. Wybrana temperatura zostanie pokazana. W przypadku temperatur powyzej 43^ kolor wskazaniazmienia sie z niebieskiego na czerwony w celu prezentacionie Niebezpieczenia stapa poparzenia.


D0000041982
» Obróci pokretlo regulacyne na zădania temperature.
Wskazówka
Ježeli przy calkowicie otwartym zaworze povoru i nastawieniu maksymalnej temperatury na wylocie nie jest osiagana wymagana temperatura, oznacza to, ze przyz urzadzenie przechywa wieksza ilosc wody niz system grzewczy moze podgrzać (urzadzenia na granicy mocy).
» Naleź zredukowej ilosc wody na zaworze po-boru.
Zalecane nastawienie przy eksploataci z armatura termostatyczna
W urzadzeniu nastawic temperature maksymalna.
W przypadku przerwania doplywu wody:
Szkody materialne
Po przywie w zasilaniu woda nalezy ponownie uruchomic urzadzenie, wykonujac ponijsze czynnosci, abyNie uszkodzic systemu grzewczygo z odkrytaj grzalka.
» Odlaczy urzadzenie od zrodla zasilania, wylaczajc bezpieczniki.
» Otorzyc armature na minute, aż urzadzenia i podłuczony przywód doprowadzajcy zimna wode zostana odpowietrzone.
» Włączyć ponownie zasilanie sieciowe.
5. Czyszczenie,pielegnacja i konserwacja
» Nie wolno uzywac srodkow czyszczacych o wsiciwosciach zracych lub zaierajczych Rozpuszczalnik. Do konserwaci i czyszczenia urzadzenia wystarczy wilgotna szmatka.
» Regularnie nalezy sprawdzać stan armatury. Kamić z wylotu armatury nalezy usuwac przy uzyciu standardowych srodków do usuwania osadows wapiennych.
6. Usuwanie problemów
| Problem Przyczyna Rozwiązanie | ||
| Urzadzenia nie są- cza są mimo calkowy- cie otwartego zagoru ciepiej wody. | Brak napięcia. | Sprawdzić bezpiecz- niki w instalacji do- mowiej. |
| Wielkość przyȩphywu jest za mala. Regu- lator strumienia w ar- maturze lub glowica natryskowa jest po- kryta kamieniem lub zanieczyszczona. | Oczyść i/lub od- wapnić regulator strumenia lub glowice natryskowa. | |
| Zadana temperatura > 45 °C nie jest osią- gana. | Zasilanie w wodę jest przerwane. | Odp战略布局 przyȩ- dzenie i przywośd doprowadzacje wody zimnej (patrz roździal „Nastawy"). |
| Temperatura zimnej | wody na wlocie wyno- si > 45 °C. | Zmiejejszość tempera- ture Wojciewiowa wody zimnej. |
Jesli nie mayna usunac przyczyny usterki, nalezy wezwać spe-cjaliste. W celu usprawnienia i przyspieszenia pomocy nalezy podac numer z tabliczki znamionowej (000000-0000-00000):

INSTALLACJA
7. BezpieczeINSTwo
Instalacja, uruchomienie, jak rownikę konserwacja i naprawa urzadzenia moga byc wykonane wymiarcznie przy bezpecialiste.
7.1 Ogólne wskazówki dotycznébezpieczeniastwa
Producent zapewnia prawidlowe dzialanie i bezpieczehstwo eksploatacji tylko w przypadku stosowania oryginalnego wyposazenia dodatkowego przyeznaczonego do tego urzadzenia oraz oryginalnych czeci zamiennych.

Szkody materialne
Nie wolno przykraczać maksymalnej wartosci temperatury na wlocie. Przy wyzszych temperaturach要去 nastić uszkodzenia urzadzenia. Poprzej montaź centralnej armatury termostatycznej要去 ograniczycmaksymalna temperature wody na wlocie.
72 Przepisy, normy i regulacje prawne

Wskazowka
Nalezy przystrzegać wszystkich krajowych i mistręscowych przypeśów oraz regulacje prawnych.
- Stopen ochrony IP 25 (ochrona strugoszczelna) jest zapewniony tylko przy prawidlowo zamontowanej tulei kablowej.
Własciwa opornosć elektryczna wody nie sąc mniejsza niz podana na tablicze znamionowej. W przypadku sieci wodociągowej daneży uwzgliednic najnizsza opornosć elektryczna wody (patrz rozdiaz „Dane technicznze / Zakresy pracy / Tabela przyli-czeniowa"). Informacja o wlasciwej opornosci elektrycznej lub elektrycznej przyzewnosci wody można uzyskać w mięscowym zak;ladyzie wodociągow.
8. Opis urzadzenia
8.1 Zakres dostawy
Do urzadzenia dolaczone sq nastepujace elementy:
Uchwyt scienny
- Sworzen gwintowany, s Ruby i kolki do uchwytu sciennego
Szablon montażowy
2 złuczki podwojne (zimna woda z zaworem odcinajycym)
Uszczelki plaskie
Tulejka przewodu (gornyego / dolnego podlączenia elektrycznégo)
S Ruby / kolki do mocowania sciany tylnej w przypadku natynk战略布局 przyłącza wody
8.2 Wyposaßenie dodatkowe
Armatura
ADEo 70 WD - armatura ciñieniowa do wanny
Wyposazenie dodatkowe do montazu
Zestaw rur do montazu ponižej punktu podoru wody, UT 104, przyłącza: natynkowe, G 3/8, góra. Przyȩcza wody z zaciskanym polączieniem srbowym 12 mm.
Uniwersalna rama montażowa
Rama montażowa z przyȩczami elektrycznych.
Zestaw rurek do urzadzen montowanych ponizej punktu podoru wody
Zestaw do montazu ponizej punktu soboru wody nie jest konieczny, gdy przyłącza wody (G % A) znajduja sie powyzej urzadzenia.
Zestaw rur do montazu z przemieszczeniem
Zestaw urz kolankami ruwymi jest wymagany, jesti planowane jest przysuniecie urzadzenia w pionie wzgludem przyłacza wody o 90 mm w do!.
Zestaw rur do przyłączenia gazowej ogrzewacza wody
Zestaw rur jest potrzebny w przypadku instalacji z dostepnymi przyłączami gazowej ogrzewacza wody (przyȩcze zimnej wody z lewiej strony, cieplej wody z prawejm strony).
Przekaznik priorytetu (LR 1-A)
Przekański priorytetu do montazu w rozdwiznicy uozliwia przyłączanie priorytetowe przypeływowegoogrzejacwa wody przy równoczesnej przy na przykiad elektrycznych pieców akumulacyjnych.
Centralna armatura termostatyczna ZTA 3/4
Armatura termostatyczna do centralnego mieszania, na przyklad przyptywowego ogrzewacza wody z instalacja solarna.
9. Przygotowanie
9.1 Miejsce montazu

Szkody materialne
Urzadzenie nalezy zainstalowac w pomieszczeniu,
w ktorymNie wystepujere rzyko zamarzniecia.
Urzejdenie nalezy zamontowac pionowo i w povlizu.punktu podoru wody.
Urzadzenia jest dostosowane do instalacji ponijej lub powyzej punktu povoru wody.
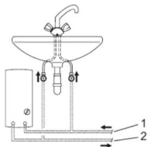
Montaż poniżej punktu podoru wody

26.02.02_1345
1 Dophyw zimnej wody
2 Wylot cieplej wody

Montaż powyzej punktu podoru wody
26 02 02 1344
1 Doplyw zimnej wody
2 Wylot cieplej wody

Wskazowska
Zamontowac urzadzenie na scianie. Sciana musi posiadac odpowiednia nosnosc.
9.2 Instalacja wodna
Zawór bezpieczewska nie jest wymagany.
» Przejukac dokladnie instalacja wodna.
» Upewnic sie, ze osiagniety zostal strumien przyplywu (patrz Rozdiazl „Dane techniczne / Tabela danych", Zal.)Niezedny do załaczenia sie urzadzenia. Jesli strumien przyplywu nie zostanie osiagniety, usunac ogranicznik natęzenia przyplywu (patrz Rozdiazl „Montaž / Uswanie ogranicznika natęzenia przyplywu").
» Zwiekszyc cisnienie w instalacji wodnej, jesti nie mayna uzyskać wymaganego strumenia przycephwu przy calkowicie otwartym zaworze poboru.
Armatury
Nalezy stosowac odpowiednie armatury cijsnieniowe. Nie wolno stosowac armatur bezcijsnieniowych.

Wskazowska
Do tflumienia przyplywu nie wolno uzywac zaworu odcinajacego w doplywie zimnej wody. Zadaniem tego zaworu jest odcinanie urzadzenia.
Dopuszczalne materialy przywodów wodociągowych
Przewod doplywowy zimnej wody:
rura stalowa ocynkowana ogniowo, rura ze stali
nierdzewnej, rura miedziana lub rura z tworzywa
sztucznego
Przewod wylotowy cieplej wody:
Rura ze stali niedzewnej, rura miedziana lub ruraz tworzywa sztucznego

Szkody materialne
Przy stosowaniururz tworzywa sztuczego nalezy przestrzegac maksymalnej temperatury zasilania i maksymalneo dopuszczalneo ciśnienia (patrz Rozdziel „Dane techniczne / Tabela danych").
Elastyczne przyȩcieniowe wody
Przy instalacji z wykorzystaniem elastycznych przywodów przyłączeniowych wody nie dopuścić do przyzekrecenia kolanek rurowych z polaczeniami bagnetowymi w urzadzeniu.
» Przymocowa scianę tylna na dole przy użyciu dodatkowych strub.
10. Montaz
10.1 Montaz standardowy
Przylacze elektryczne u góry, instalacja podtynkowa
- Przyȩcze wody, instalacja podtynkowa
DDLE LCD 18/21/24: moc przyłączeniowa 21 kW, nastawiona fabrycznie
Opis innych sposobow montazu zawiera rozdiazl "Innesposoby montazu".
Przytacja elektryczne podtynkowe dolne
Przylacze elektryczne natynkowe
- Przyȩcze przyteczna kajcie priorytetu
Montaż poniȩzej punktu podoru wody, przyłącza wody u góry
- Natynkowa instalacja wodna
Eksploatacja ze wstepnie podgrzana woda
Ograniczenie temperature

Otwieranie urzadzenia
» Otworzyć urzadzenia poprzejcz odkłowanie za-mknięcia zatrzaskowej.

» Zdjac sciane tylna, naciskajac oba haczyki blokujace i pociagajac dolna czesc scianki tylnej do przyodu.

Przygotowywanie sieciowego przyȩczeniowycho

Montaz mocowania sciennego
26_02_02_0972
» Za pomocę szablonu montażowej zaznaczyc otwory do wywiercenia. W przypadku montaź urzadzenia z przyłączami wody umieszczonymi na tynku naleź dodatkowo oznaczyc otwory mocȩ袂 w dolnej;cźeci szablonu.
» Wywiercie otwory i zamocowac uchwyt scienny za pomocaj 2 srbi 2 kolkow (srbiy i kolki nie są objete zakresem dostawy).
» Zamontowac załoczony sworzen gwintowy.
» Zamontowac uchwyt scienny.

Montaţ tulejki kabwej
26_02_02_0950
» Zamontowá tulejke przy przydwodzie przyłączeniowym >6mm^2 trzeba powiékszyć otwor w tulejce przyzewodu.
Podlaczanie wody

Szkody materialne
Wszystkie prace instalacyjne w zakresie podlaczania wody nalezy wykonywać zgodnie z przypisami.

26_02_02_0948
» Uszczelenic i wkrećić złoczke podwojna.

Szkody materialne
Do tllumenia przyphyu wie wolno uzywac zaworu odcinajacego w doplywie zimnej wody.
Przygotowanie sciany tylnej

Szkody materialne
W razie wykonania nieodpowiedniego otworu w scianie tylnej trzeba uzyc nowej sciany tylnej.

D0000041893
» W odpwiednich mistrsch siany tylnej przygotowac wylomy dla tulejki kablowej. W razie potrzeby usunac ostre krawedzie za pomocapilnika.

Montaž urzadzenia
D0000041894
» Zaloźyc sciane tylna na sworzen gwintowany i tulejke kablowa. Przy uzyciu obcegow pociąnac tulejke przyzewodu za haczyki blokujace do sciany tylnej, az haczyki zatrzasna sie w slyszalny spośob.
» Usunar zabezmieczajace zatyczki transportowe z przyłączy wody.
» Docisnac mocno sciane tylnaj zablokowac przetyczke mocujaca, obracajacj wrawo 90°.

Przykrecic rury przyaczeniowe wody z uszczelkami plaskimi do zączek podwojnych.
Szkody materialne
Przy eksploataci urzadzenia sitko musi byc zamontowane.
» W trakcie wymiany urzadzenia sprawdzić,czy dostepne jest sito (patrz rozdziel „Konserwaca".
Usuwanie / wymiana ogranicznika przyptywu
Wskazowka
W przypadku uzywania armatury termostatycznej nie wolno demontowacogranicznika przyphyuw.

1 Kražek sztaftowy z tworzywa sztuczneo
2 Ogranicznik przyephwywu
» Usunarocrnicznik przyptywu i z powrotem zamontowac krazek ksztaltowy z tworzywa sztucznego.
DDLE LCD 18/21/24: Wymiana ogranicznika\ przeplywu
» Po wybraniu mocy przyȩczeniowej 24 kW wbudowy ogranicznik przyȩpywu (kolor bialy) naleź wymiennie na dostarczony ogranicznik przyȩpywu (pomaranczowy, przyzmocowych do urki zimnej wody).
Wykonanie przyłącza elektrycznégo

OSTRZEZENIE porazenie pradem elektrycznym Wszystkie elektryczne prace przy.§czeniowe i instalacyjne nalezy wykonywać zgodnia z przypisami.

OSTRZEZENIE porazenie pradem elektrycznym Podlączenia do sieci elektrycznej jest dopuszczalne tylko w postaci przyłącza stalego w polaczeniu z wyjmowana tulejka kablowa. Urzadzenia musi byc oddzielone od sieci elektrycznej za pomocq wielobiegunowo go węlącznika z rozwarciem styków wynoszącm min. 3 mm.

OSTRZEZENIE porazenie pradem elektrycznym Urzadzenia nalewy koniecznie podlaczyc do przywo-du ochronnego.

Szkody materialne Zwrocic uwage na tresc tabliczki znamionowej. Podane napiecie musi byc zgodne z napieciem sieciowym.
» Podłaczyc elektryczny przyłączeniowy do zacisku siediociego (patrz rozdziel „Dane techniczne / Schemat polaczenia").
DDLE LCD 18/21/24: przyȩczanie wtyczki kodujacej
Urzadzenie dostarczane jest z mocą nastawioną na 21 kW. W celu przystawienia na inną moc przyłączenio-wa naleź wykonac nastepujuce czynnosci:

D0000047341
» Przelaczyc wtyczke kodujacja zgodnia z wybrana mocą przyłączeniowa (moc przyłączeniowa do wyboru i zabeepieczenie urzadzenia patrz rozdziel „Dane techniczne / Tabela danych").
» Zaznaczyc wybrana moc przyjaczeniowa na tablicze znamionowej. Uzyc do tego celu dlugopisu.
Montaž dolnej czesci sciany tylnej

2602021348
» Zamontowac dolnagcsciany tylnej w scianeg tylna izatrzasnac dolna cesc.
» Wyrōwnac zamontowane urzadzenie, zwalnajac przetyczke mocujaca, wyrōwnujac przylacze elektryczne i sciané tylna, a nastepnie z powrotem dokrecajac przetyczke mocujaca. Ježeli sciana tylna urzadzenia nie przylega plasko, urzadzenia maya przymocować u dolu przy uzyciu dwoch dodatkowych shrub.
10.2 Inne sposoby montazu
10.2.1 Przyȩcze elektryczne podtynkowe dolne

» Zamontowac tulejke przywodu.

Szkody materialne W razie wykonania niedpowedniao otworu w sci- nie tylnej trzeba uzyc nowej sciany tylnej.
» W odpwiednich mięscach sciany tylnej przygotowac wyłomy dla tulejki kablowej. W razie potrzeby usunarostre krawędzie za pomocapinilika.
» Przeloczyc sieciowy zacisk przyjaczeniowy w urzadzeniu z góry do dolu.
» Zaloźyc scianę tylną na sworzen gwintowy i tulejke kablowa. Przy uzyciu obcęgow pociąnac tulejkte przewodu za haczyki blokujace do sciany tylnej, aż haczyki zatrzasna sie w slyszalny spośob.
» Docisnac mocno sciane tylnaj zablokowac przyteczke mucujaca, obracajc ja w prawo o 90^
10.2.2 Przyjacze elektryczne natynkowe

Wskazowka Przy takim sposobie podlączenia zmienia są stopien ochrony urzadzenia.
» Zmienić tabliczek znamionowa. Skresić „IP 25" i zaznaczych pole „IP 24". Užyc do tego celu dlugopisu.

Szkody materialne W razine wykonania nieodpowiednia go otworu w scianie tylnej trzeba uzyc nowej sciany tylnej.
» Wyciac lub rowno wylama c Niezedny otwor w scianie tylnej, (pozycje patrz Rozdzial, Dane techniczn/ Wymiary i przylacza). W razie potrzeby usunac ostre krawedzie za pomocap pilnika.
» Przeciąnac elektryczny kabel przyłączeniowy przyez tulejké kabłowaj i podlaczyc go do zacisku sieciowego.
10.2.3 Przyȩcze przyekaźnika priorytetu
Przy stosowaniu innych urzadzen elektrycznych, jak np. elektryczne piece akumulacyjne, przykaźnik priorytetu naleź y zamontowac w rozdzielnicy. Odczenia odywa sie podczas pracy ogrzewacza przyptywowego.
Szkody materialne
Faze walks a ja zrae kznir prioryetu nalezy podlaczy do odpwiednio oznaczonego zacisku sieciowego w urzadzeniu (patrz rozdiaz „Dane techniczne / Schemat polaczen").
10.2.4 Montañ poniñej punktu soboru wody, przy Vacza wody u góry
Montañ urzadzenia ponizej punctu boboru wody z przyczami wody u górymostly jest przy zastosowaniu dodatkowergo zestawu rur do urzadzen montowanych ponizej punctu boboru wody. Wylamać otwory do przyprowadzenia rurek wody w scianie tylnej i zamontowac zestaw hur.
10.2.5 Natynkowa instalacja wodna
Wskazowska
Przy takim sposobie podłaczenia zmienia są stopien ochrony urzadzenia.
» Zmienić tabliczek znamionowa. Skresić „IP 25" i zaznaczyc pole „IP 24". Užyc do tego celu dlugopisu.

26_02_02_0765
» Zamontowá korki z uzeczelkami, aby zamknączyżć podtynkowe.
» Zamontowac odpowiednia armature cijsnieniowa.

26_02_02_1006
»Zatrzasnac dolna czesc sciany tylnej w gornej czesci sciany tylnej.
» Skrećic turki przyłączeniowe z urzadzeniem.
» Przymocowa sciane tylna na dole przy uzyciu dodatkowych szrub.

Szkody materialne
W razing wykonania nieodpowedniego otworu w sci- nie tylnej trzeba uzyc nowej sciany tylnej.
Röwno wylamać otwory wPokrywie urzadzenia.
W razine potrzeby usunac ostre krawedzie za pomocag pilnika.
Wsunac dolna czesc scianki tylnej pod urki przyczeniowe armatury i zaczepic ja.
» Skrekic turki przyzaczeniowe z urzadzeniem.
10.2.6 Eksploatacja ze wstepnie podgrzana woda
Poprzej montaż centralnej armatury termostatycznej można ograniczyc maksymalna temperatuń na wlocie.
10.2.7 Ogranicenie temperature

OSTROZNIE poparzenie
Przy zasilaniu woda wstepnie podgrzana nastawione ograniczenia temperatury badz zabezmieczenie przy poparzeniem moga byc nieskuteczne.
W takim przypadku ograniczyc temperature na centralnej armaturze termostatycznej wbudownej przyzed urzadzeniem.
Ograniczenia temperaturydoğan nastawic po wewnetrznej stroniePokrywy urzadzenia na 43^

D0000041912
» Prestawic ograniczenia temperatury na 43^
Po aktywacci ograniczenia temperatury mozna wybierac zuž tylko temperatury w' zakresie do 30 do 43^
10.3 Zakończenie montaqu
» Otorzyc zawó rcinajcy w zlączce podwojnej lub w przywodzie doprowadzajacym wody zimnej.
11. Uruchomienie

OSTRZEZENIE porazenie pradem elektrycznym Uruchomienie要去zostacrzeprowadzonewylacznie przy specjaliste przy przestrzeuganiu przypisow bepieczeniastwa.
11.1 Pierwsze uruchomienie




D0000041981
» Kilkakrotnie otworzyc i zamknac wszystkie podlaczone zawory povoru wody az do usuniecia calego powietrza z przywodow i urzadzenia.
» Przempowadzić kontrotle szczeliność.
» Uakywnic ogranicznik ciñnienia bezpieczěnstwa, wciskajac na state przycisk resetowania (urzadzenie dostarczane jest z wylączonym ograniczniem ciñsnienia bezpieczěnstwa).
» Podłaczyc wyczke przywodu regulatora temperatury do ukiadu elektronicznego.
» ZamontowacPokrywe urzadzenia w taki sposob,aby w slyszalny sposob zatrzasne la sie. Sprawdzić osadzenia Pokrywy urzadzenia.
Włączyc napiȩcie siediocie.
» Sprawdzić sposob pracy urzadzenia.
Przekazanie urzadzenia
» Objasić uzytkowników sposob dzialania urzadzenia i zapoznać go ze sposobem uzytkowania.
» Poinformowac uzytkownika o potencjalnych zagrozeniach, zwlaszcza o ryzyku poparzenia.
» Przekazać niniejszą instrukcję.
11.2 Ponowne uruchomienie
Odp战略布局 urzadzenia i przewod doprowadzajcy wody zimnej (patrz rozdziel „Nastawy").
Patrz Rozdziat „Pierwsze uruchomienie".
12. Wyłączenie z eksploatacji
» Odlaczy wszystkie zyly zasilania urzadzenia od przylacza sieciowego.
» Oproznic urzadzenie (patrz rozdiazl „Konserwacja").
OSTRZEZENIE porazenie pradem elektrycznym Aby mozna bylo sprawdzić urzadzenia, nalezy doprowadzić do neigo napiecie sieciowe.
Mozliwe wskazania lampki diagnostycznej (LED)
| czerwony świeci sie w razie usterek |
| źolty świeci są w trybie grzania |
| zielony pulsuje: urzadzenia podłaczone do sieci |

D0000041794
1 Wskaznik diagnostyczny
| Usterka / Wskazanie wskăznika diagnostycznégo | Przyczyna Rozwiązanie | |
| Zbyt maly przyȩphyw. Zanieczyszczone sitko w urzadzeniu. Wyczyśćc sitko. | ||
| Zadana temperatura nie jest osiagana. | Brak fazy. | Sprawdzić bezpiecznik w instalacji domowej. |
| Ogrzewanie nie sączna są. | W wodzie zostawi wykryte powietrze, co chwilowo wyłącza moc grzewcza. | Urzadzenia powraca do pracy po minucie. |
| Brak cieplej wody i brak wskazania na wskăzniku. | Zadział bezechznik. | Sprawdzić bezpiecznik w instalacji domowej. |
| Ogranicznik cijsnienia bezpiecieństwa spowodowy wymięczenia. | Usunność przyȩczne będu (na przykid Adam uszkodzony element przyplukujucy). | |
| Zabezpiecznych system(gray) przy przyegrzania, otworajć na minute zawórbior podoru znejduźcy są za urzadzeniem. Powodujie to zredukowanie cijsnienia i schlodzenia systemu grzewczyego. | ||
| Aktywować ogranicznik cijsnienia bezpiecieństwa przy cijsnieniu przyȩphywu, nagszajć przycysk resurrectiongowania (patrz rozdziel „Pierwsze uruchomienie"). | ||
| Elektronika uszkodzona. | Sprawdzić ukiad elektroniczny, a w razie potrzeby wymiemenic go. | |
| Wskazanie kontrlki: kolor zielony, mi-ganie lub swiatlo piagle | Elektronika uszkodzona. | Sprawdzić ukiad elektroniczny, a w razie potrzeby wymiemenic go. |
| Brak cieplej wody przy przyȩphywie > 2,5 l/min. | Kontrola przyȩphywu DFE nie jest podstawzone. | Z powrotem podȩczyć wymiȩczne kontroli przyȩphywu. |
| Wymiżka kontroli przyȩphywu jest uszkodzona. | Sprawdzić zespól kontroli przyȩphywu a w razie potrzeby wymiemenic go. | |
| Wskazanie kontrlki: kolor zÓty - swiatlo piagle, kolor zielony miga, brak cieplej wody przy przyȩphywie > 2,5 l/min. | Ogranicznik temperatury bezpiecieństwa zadział lub jest uszkodzony. | Sprawdzić ogranicznik temperatury bezpiecieństwa, a w razie potrzeby wymiemenic go. |
| System grzejny jest uszkodzony. | Zmierzyć opornyść systemu grzejnégo, ew. wymiemenic opornik. | |
| Elektronika uszkodzona. | Sprawdzić ukiad elektroniczny, a w razie potrzeby wymiemenic go. | |
| Wskazanie kontrlki: kolor zÓty - swiatlo piagle, kolor zielony miga | Wymiagnęty czujnik wylotowy lub uszkodzenia przyzewodu. | Wetność czujnik wylotowy, a w razie potrzeby wymiemenic. |
| Wskazanie kontrlki: kolor czerwoń - swiatlo piagle, kolor zielony miga | Uszkodzony czujnik zimnej wody. | Sprawdzić ukiad elektroniczny, a w razie potrzeby wymiemenic go. |
| Brak cieplej wody, zȩdana temperatura > 45 °C nie jest osiagini. | Temperatura dopȩwu zimnej wody jest wyźsa园区 45 °C. | Zmiejejsć temperature wody zimuji doprowadznej do urzadzenia. |
| Wskazanie kontrlki: kolor czerwoń - swiatlo piagle, kolor zielony miga | Czujnik wylotowy jest uszkodzony (zwarcie). | Sprawdzić czujnik wylotowy, a w razie potrzeby wymiemenic go. |
14. Konserwacja

OSTRZEZENIE porazenie pradem elektrycznym Przed przystapieniem do wszelkich prac nalezy odlaczyc wszystkie zyly zasilania urzadzenia od przylacza sieciowego.
Oproznianie urzadzenia
Urzadzenia möglich oproznić w celu przyprzewadzenia prac konserwacyjnych lub zabeepieczenia go przyd mrozem.

OSTRZEZENIE poparzenie Podczas oprozniania urzadzenia moze wyplynac goraca woda.
Zamknac zawor ocinajacy w zlokce podwojnej lub w przywodzie doprowadzajacym wody zimnej.
» Otorzyc wsystkie zawory povoru.
» Odkrécic wzystkie przyłącza wody do urzadzenia.
» Zdemontowane urzadzenie przechowyac w miejscu zabezmeczonym przyd mrozem, poniewaz resztki wody pozostale w urzadzeniu moga doprowadzićdojejogo zamarzniecia i uszkodzenia.

Czyszczenie sitka
26_02_02_0949
Wyczyscic sitko w srbowym przyȩczu zimnej wody. Przed demontaquem, wyczyszczeniem i ponownym montaquem sitka zamknac zawór ocinajcy w przywowodzie doprowadzajacym wody zimnej.
15. Dane techniczne

15.1 Wymiary i przyłącza

D0000017757
| b02 Przepust na przyzewody elektryczne I | ||
| c01 Dophy wimnej wody Gwint zewétrzny | G 1/2 A | |
| c06 Wylot cieplej wody Gwint zewétrzny | G 1/2 A |

Inne moziwość podłaczenia
D0000019778
| b02 | Przepust na przyzewody elektryczne I |
| b03 | Przepust na przyzewody elektryczne II |
| b04 | Przepust na przyzewody elektryczne III |
15.2 Schemat polaczen elektrycznych

3/PE 380-415V
85_02_02_0005
1 Ogrzewanie
2 Ogranicznik temperature beziepcezinstwa
3 Ogranicznik cisnienia bezpieczentwa

Przekaznik priorytetu LR 1-A
8502020003
1 Przewód sterujacy do stycznika drugiego urzadzenia (np. elektrycznégo pieca akumulacyjngo).
2 Zestyk sterujacy otwiera sie po walkseniu przephywowego ogrzewacza wody.
15.3 Wydajnosc cieptej wody
Wydajnosc cieplej wody zalezy od napiecia sieciowego, mocy przylaczeniowej urzadzenia i temperatury na wlocie zimnej wody. Napiecie znamionowe i moc znamionowa są podane na tabliczce znamionowej (patrz Rozdzial „Usuwanie problemów").
| Moc przyłączeniowa w kW Wydajnosć cieplej wody przy 38 °C w l/min | ||||||
| Napiȩcie znamionowe Temperatura dopłyjawość wody zimnej | ||||||
| 380 V | 400 V | 415 V | 5 °C | 10 °C | 15 °C | 20 °C |
| 16,2 | 7,0 | 8,3 | 10,1 | 12,9 | ||
| 16,3 | 7,1 | 8,3 | 10,1 | 12,9 | ||
| 18,0 | 7,8 | 9,2 | 11,2 | 14,3 | ||
| 19,0 | 8,2 | 9,7 | 11,8 | 15,1 | ||
| 19,4 | 8,4 | 9,9 | 12,0 | 15,4 | ||
| 21,0 | 9,1 | 10,7 | 13,0 | 16,7 | ||
| 21,7 | 9,4 | 11,1 | 13,5 | 17,2 | ||
| 22,6 | 9,8 | 11,5 | 14,0 | 17,9 | ||
| 23,5 | 10,2 | 12,0 | 14,6 | 18,7 | ||
| 24,0 | 10,4 | 12,2 | 14,9 | 19,0 | ||
| 24,4 | 10,6 | 12,4 | 15,2 | 19,4 | ||
| 25,8 | 11,2 | 13,2 | 16,0 | 20,5 | ||
| 26,0 | 11,3 | 13,3 | 16,1 | 20,6 | ||
| 27,0 | 11,7 | 13,8 | 16,8 | 21,4 | ||
15.4 Zakresy pracy / Tabela przyeliczeniowa
Oporność elektryczna w檩Wiwa i przywodnosć elektryczna w檩Wiwa (patrz Rozdziel „Tabela danych").
| Wartosć znamionowa przy 15°C | 20 °C | 25 °C | ||||||
| Opor-nosć ρ | Przewodnosćσ | Opor-nosć ρ | Przewodnosćσ | Opor-nosć ρ | Przewodnosćσ | |||
| Ωcm | mS/m | μS/cm | Ωcm | mS/m | μS/cm | Ωcm | mS/m | μS/cm |
| 900 | 111 | 1111 | 800 | 125 | 1250 | 735 | 136 | 1361 |
| 1000 | 100 | 1000 | 890 | 112 | 1124 | 815 | 123 | 1227 |
| 1100 | 91 | 909 | 970 | 103 | 1031 | 895 | 112 | 1117 |
| 1200 | 83 | 833 | 1070 | 93 | 935 | 985 | 102 | 1015 |
| 1300 | 77 | 769 | 1175 | 85 | 851 | 1072 | 93 | 933 |
15.5 Straty ciśnienia
Armatury
| Strata cijsnienia w armaturze przy strumleniu przypieplywu 10 l./min | ||
| Jednouchwytowa armatura mieszajęca, ok. | MPa 0,04 - 0,08 | |
| Armatura termostatyczna, ok. | MPa 0,03 - 0,05 | |
| Natrysk ręczny, ok. | MPa 0,03 - 0,15 | |
Wymiarowanie sieci rur
Przy wymiarowaniu sieci rur zaleca sie zastosOWANIE dla urzadzenia straty cijsenia winoszacej 0,1 MPa.
15.6 Warunki awaryjne
W razie awariw instalacji moga chwilowo wystepowac obciazenia maks. 95^ przy cijsnieniu 1,2 MPa.
15.7 Dane dotyczace zuzycia energii
Dane produktu odpowiadajra Rozporzadzeniom UE dotyczym dyrektywy ustalania wymogow dotyczych ekoprojektu dla produktów zwiazanych z energia (dyrektywa ErP).
| DDLE LCD 18 | DDLE LCD 18/21/24 | DDLE LCD 27 | ||
| 222392 | 222394 | 222395 | ||
| Producent | AEG Haustechnik | AEG Haustechnik | AEG Haustechnik | |
| Profil obciąȩne | S | S | S | |
| Klasa efektywnosci energetycznej | A | A | A | |
| Roczny Polsć prȩdu | kWh | 477 | 477 | 481 |
| Wspólczynnik sprawtość energetycznej | % | 39 | 39 | 39 |
| Fabryczne ustawienia temperatury | °C | 60 | 60 | 60 |
| Poziom mozy akustycznej | dB(A) | 15 | 15 | 15 |
| Specjalne wskazówki dotyczȩce pomiaru efek-tywnosci | Brak | Informacja o wartość Pmax. | Brak |
15.8 Tabela danych
| DDLE LCD 18 DDLE LCD 18/21/24 DDLE LCD 27 | |||||||||
| 222392 222394 222395 | |||||||||
| Dane elektryczne | |||||||||
| Napiȩcie znamionowe | V | 380 | 400 | 415 | 380 | 400 | 415 | 380 | 400 |
| Moc znamionowa | kW | 16,2 | 18 | 19,4 | 16,2/19/21,7 | 18/21/24 | 19,4/22,6/25,8 | 24,4 | 27 |
| Prȩd znamionowy | A | 24,7 | 26 | 27 | 27,6/29,5/33,3 | 29/31/35 | 30,1/32,2/36,3 | 37,1 | 39 |
| Zabweźpieczenia | A | 25 | 25 | 32 | 32/32/35 | 32/32/35 | 32/32/35 | 40 | 40 |
| Fazy | 3/PE | 3/PE | 3/PE | ||||||
| Cȩstotliwość | Hz | 50/60 | 50/60 | 50/- | 50/60 | 50/60 | 50/- | 50/60 | 50/60 |
| Opornyność wȩsciwa ρ 15 ≥ (przy odzimna ≤ 25 °C) | Ω cm | 900 | 900 | 1000 | 900 | 900 | 1000 | 900 | 900 |
| Przewodność wȩsciwa σ 15 ≤ (przy odzimna ≤ 25 °C) | μS/cm | 1111 | 1111 | 1000 | 1111 | 1111 | 1000 | 1111 | 1111 |
| Opornyość wȩsciwa ρ 15 ≥ (przy odzimna ≤ 45°C) | Ω cm | 1200 | 1200 | 1300 | 1200 | 1200 | 1300 | 1200 | 1200 |
| Przewodność wȩsciwa σ 15 ≤ (przy odzimna ≤ 45°C) | μS/cm | 830 | 830 | 770 | 830 | 830 | 770 | 830 | 830 |
| Maks. impedancja sieci przy 50 Hz | Ω | 0,379 | 0,360 | 0,347 | 0,284 | 0,270 | 0,260 | 0,254 | 0,241 |
| Zakres stosowania | |||||||||
| Maks. dopuszczalne ciasnienie | MPa | 1 | 1 | 1 | |||||
| Maks. temp. podgrzanej wody na wlocie | °C | 45 | 45 | 45 | |||||
| Parametry | |||||||||
| Maks. dopuszczalna temperatura na wlocie wody | °C | 65 | 65 | 65 | |||||
| Przeptyw walczeniowy | l/min | >2,5 | >2,5 | >2,5 | |||||
| Ograniczenia strumienia przy przeptywu przy | l/min | 8 | 8 / 8 / 9 | 9 | |||||
| Wydajność cieplej wody | l/min | 9,4 | 9,4/11,0/12,6 | 14,2 | |||||
| Δθ przy przygotowaniu cieplej wody | K | 26 | 26 | 26 | |||||
| Parametry hydrauliczne | |||||||||
| Pojemnosć znamionowa | I | 0.4 | 0.4 | 0.4 | |||||
| Wykonania | |||||||||
| Regulacja temperatury | °C | 30-60 | 30-60 | 30-60 | |||||
| System grzejny wytnicornica ciepla | Z odkryta grz空气质量 | Z odkryta grz空气质量 | Z odkryta grz空气质量 | ||||||
| Kolor | Bialy | Bialy | Bialy | ||||||
| Stopié ochrony (IP) | IP25 | IP25 | IP25 | ||||||
| Wymiary | |||||||||
| Wysokość | mm | 485 | 485 | 485 | |||||
| Szerokość | mm | 226 | 226 | 226 | |||||
| Głowobokość | mm | 93 | 93 | 93 | |||||
| Masy | |||||||||
| Masa | kg | 3,6 | 3,6 | 3,6 | |||||
Gwarancja
Urzadzen zakupionych poza granicami Niemiec nie obejmuja warunki gwarancji naszych niemieckich społek. Ponadto w krajach, w którchaddresses z naszych społek COREK jest dystryb torem naszych produktów, gwarancji要去 udzielić wylacznie ta spólka. Taka gwarancja obowiaźute tylko wówczas, gdy społka-córksa sformulowała wlasne warunki gwarancji. W innych przypadkach gwarancja nie jest udzielana.
Nie udzielamy gwarancji na urzadzenia zakupione w krajach, w ktorych zadna z naszych społek COREK nie jest dystrybutorem naszych produktów. Ewentualne gwarancje udzielone przy importera zachowuja wąznosc.
Ochronaśrodowiska i recycling
Pomóz chronicé srodowisko naturalne. Materiały po wykorztystaniu nalezy utylizowej zgodnie z krajowych przysepisiami.
CNEUANbHbIeYKA3AHN
3KCNJYATALIN
- 06uye yka3aHnra 87
- TexHnka 6e3oNaChocTn.. 87
- OnncanHe ycTpoHCTBa 88
- HacrpoKn 88
- YnCTka, yXoN nTexHnueckoe 06cnyKnBaHne...
- YcTpaHHe HEnCnPaBHOCTeI 89
MOHTAK
- TexHnka 6e3onachocTn.. 90
- OnncanHe yctpoiCTBa 90
- IodrotobntbHbIe Meponpura.. 90
- MoHTaxK 91
- BboB 3KcIpyatauio 95
- BbIbOuN3 3KcPnyataunn .95
- YcTpaHHe HEnCnPaBHOCTeI 96
- Texo6cnyxnbHne.. 97
- Texnueckne xapaKTePncTnKn 97
TAPAHTR
3AUHTA OKPYKAIOUEN CPEbI NYTUN13AUIN
CNEUJIbHbIE yKA3AHnIa
-ДeТЯМ CTAPWE 8 NeT, a TAKKHe JInuam C OrpaHnueHHbIMN Φn3nueCKnMn, CeHCOPHBIMN UymCTBeHHbIMN CnOCO6HOCTaMn, He IMeIoUIm MOnbTa n He BJaDeIOUm INΦOpMaunne o npi6ope, pa3peSeHo NcNoJIb3OBaTb npu6op ToNbKO NOd pncMOTpOM dpynx JInu NIN NOcIe COOTBeTCTByIOUeRO IHCTpykTaJka O npaBnAUX 6e3oNaChOrO NOb3OBaHNr N NOTeHcuaJIbHOJ ONaCHOtB CnUyae HecO6JIouDEHnR 3TNx Pabn. He DOnyckaTb WAnocTeN DeTeN C npu6OpOM. DeTI MOryT BblONHraTb ChCTKy npu6opaN Te BnDbI TexHnueCKOrO O6CnyXuBaHNr, KOTOpBle ObuHNo pOn3BOJrTc NOnb3OBaTeJeM, TONbKO NOd pncMOTpOM B3PocNbIX.
- Onachoctb noIyueHnOxora! ApMaTypa MoKet HArpeBaTbCra Do TempePaTypbI CbbIwe 60^
-Прибор Должень OTКлioчатьсг OT ceTN C pa3MbikaHem BCEX KOHTaKTOB He MeHee 3 MM Ha BCEX NOIIOcax. - 3akpenntb npn6op, KaK OncsaHO B rJaBe «UcTaHOBka/MoHTaX>.
- Y6eIHTbcra, yTO daBHeHne He npeBbIa-et MaKcImaJIbHO DOnycTmOro (cM. rIaBy «TexHnueckne xapaKTepncTnKn / Ta6nua napametpoB»).
-При onopoxhen np6opa cneobatb yka3aHnM rIaBbl «MoHTax/K /TexHnueckoe o6cnyKJBAHne /Onopoxhene np6opa>.
3KcπIyATAUЯ
1.ОБцyme yka3aHnЯ
Tnabbl «CneuaNbHbIe yka3aHnra» n «KcnnyaTaunra» npedHa-3haYebl dna noB3OBaTeN n CneuaNaNTa.
TnabaMohtax> npedHa3NaHea Dn r CneuNaIncTa.

yka3aHne
Ipeed Hauanom EKnnyataaun cnedyet BnMaTeNbHO npouHTaTb daHHe pyKOBOCTBO u COxpaHNT bero.
Pn Heo6xOmoCTn nepeaTb Hactouee pykoBoCTBO cneDyUcEmy NOnb3ObaTeNIO.
1.1 Yka3aHnno TEsHnke 6e3oNaChOCTu
1.1.1 Ctpyktypa yka3aHn no texHnke 6e3onacHocTn

CNTHAJIbHOE CNOBO BnD onaChocTn
3dec npuBeHb BO3MOXHbI NocnEcdTBn HecO6nIO-DeHHy yka3AHNo TExNHke 6e3OnaCHOCTn.
3Decb npBedeHbI MeponpTnNo npedotBpaueHHIO onaCHOCTN.
ProstaInstrukcja