MW417EGB - Magnetrons FAGOR - Gratis gebruiksaanwijzing en handleiding
Vind de handleiding van het apparaat gratis MW417EGB FAGOR in PDF-formaat.
Questions des utilisateurs sur MW417EGB FAGOR
0 question sur cet appareil. Repondez a celles que vous connaissez ou posez la votre.
Poser une nouvelle question sur cet appareil
Download de handleiding voor uw Magnetrons in PDF-formaat gratis! Vind uw handleiding MW417EGB - FAGOR en neem uw elektronisch apparaat weer in handen. Op deze pagina staan alle documenten die nodig zijn voor het gebruik van uw apparaat. MW417EGB van het merk FAGOR.
GEBRUIKSAANWIJZING MW417EGB FAGOR
Gebruiksaanwijzing 67
MAGYAR
Digitale magnetron 17 liter / 23 liter Instructieboekje
MW4-17EG X / MW4-23EG X
Lees aandachtig de instructies en bewaar ze om ze later te kunnen raadplegen.

Maximaal vermogen: 700W
Grill 1.000W
Functionele frequentie: 2.450MHz
EXTERNE AFMETINGEN: 485mm (Breed) x 375mm(Diep) x 296mm (Hoog)
Afmetingen inhoud oven.: 320mm (Breed) x 288mm(Diep) x 183mm (Hoog)
Netto gewicht: Ongeveer 13,5 kg
SPECIFICATIES 23 L.
Energieverbruik: 220-240V-50Hz, 1.280W
Maximaal vermogen: 800W
Grill 1.200W
Functionele frequentie: 2.450MHz
EXTERNE AFMETINGEN: 510mm (Breed) x 382mm(Diep) x 303mm (Hoog)
Afmetingen inhoud oven.: 330mm (Breed) x 330mm(Diep) x 212mm (Hoog)
Netto gewicht: Ongeveer 17,5 kg
1.- Wanneer de oven het niet doet, gaat de display niet aan of gaat uit:
a) Vergewis u ervan dat de magnetron op juiste wijze is aangesloten. Wanneer dat niet zo is, sluit hem dan af, wacht 10 seconden en sluit hem opnieuw op veilige wijze aan.
b) Vergewis u ervan dat geen van de zekeringen van het elektrische circuit gesmolten is of dat geen van de schakelaars van het hoofdcircuit eruit gesprongen is. Wanneer dat allemaal in orde lijkt te zijn, test dan het stopcontact met een ander apparaat.
2.- Wanneer de stroom van de magnetron niet functioneert:
a) Vergewis u ervan dat de timer geprogrammeerd is.
b) Vergewis u ervan dat de deur correct gesloten is, zodat de veiligheidsvergrendelingen van de deur contact maken. Wanneer dat niet het geval is zal er geen stroom door de magnetron vloeien.
WANNEER GEEN VAN DE GENOEMDE HANDELINGEN DE SITUATIE CORRIGEERT, NEEM DAN CONTACT OP MET EEN ERKENDE SERVICE-AGENT
Attentie:
Het apparaat is voor huishoudelijk gebruik om met elektromagnetische golven levensmiddelen en dranken te verhitten en dient alleen binnenshuis gebruikt te worden.
ELEKTROMAGNETISCHE STORINGEN
De magnetron kan uw radio, televisie of gelijksoortig apparaat storen. Wanneer deze storingen zich voordoen, kunnen die opgeheven of verminderd worden door de volgende aanwijzingen te volgen:
a.- Maak de deur en het sluitvlak van de oven schoon.
b.- Plaats radio, televisie, et cetera, zover mogelijk van de magnetron vandaan.
c.- Gebruik een correct geïnstalleerde antenne voor de radio, televisie, et cetera, om een zo krachtig mogelijk ontvangstsignaal te krijgen.
INSTALLATIE
1.-Vergewis u ervan dat al het verpakkingsmateriaal uit de binnenzijde verwijderd is.
2.- Inspecteer de magnetron na het uitpakken om defecten op te sporen zoals:
Deur uit het lood.
Beschadigde deur.
Deuken of gaten in het venster van de deur of van de display.
Deuken aan de binnenzijde van de magnetron.
Wanneer u een van bovengenoemde zaken constateert, GEBRUIK dan de magnetron NIET.
3.- Deze magnetron weegt 17,5 kg en dient geplaatst te worden op een horizontaal oppervlak dat sterk genoeg is om het gewicht te dragen.
4.- De magnetron dient ver van bronnen geplaatst te worden die een hoge temperatuur of stoom produceren.
5.- Plaats NIETS op de bovenzijde van de magnetron.
6.- Verwijder de aandrijfas van de draaischijf NIET.
7.- Zoals ieder ander apparaat mogen kinderen het slechts onder supervisie van volwassenen gebruiken.
1.- Het stopcontact dient zich in de buurt van de stroomkabel te bevinden.
2.- Deze magnetron heeft een stroomaansluiting van 1.3 KW nodig. Aangeraden wordt bij installatie van de magnetron contact op te nemen met de technische dienst
WAARSCHUWING: deze magnetron is intern gezekerd met een zekering van 10Amp, 250 Volt.
BELANGRIJK
De draden van de hoofdgeleider hebben kleuren die het volgende aanduiden.
Groen en geel: aarde
Blauw: neutraal
Bruin: "fase"
In het geval dat de kleuren van de hoofdgeleider van het apparaat niet overeenkomen met de kleurmerkjes die de polen aangeven in het stopcontact, volg dan de volgende aanwijzingen:
De groengele draad dient te worden aangesloten op de pool van de stekker die gemarkeerd is met de letter E of met het groengele ↓ aarde-symbool.
De draad die blauw is, dient te worden aangesloten op de pool die gemarkeerd wordt door de letter N of die zwart van kleur is.
De draad die bruin is, dient te worden aangesloten op de pool die gemarkeerd wordt door de letter L of die rood van kleur is.
BELANGRIJKE VEILIGHEIDSVOORSCHRIFTEN
- WAARSCHUWING: Wanneer het apparaat in de combifunctie werkt, mogen kinderen de magnetron alleen gebruiken onder de supervisie van een volwassene vanwege de hoge temperatuur die daarbij vrijkomt.
- WAARSCHUWING: Wanneer de deur of de sluitingen beschadigd zijn, dient men de magnetron niet te gebruiken zolang hij niet gerepareerd is door een gekwalificeerde persoon.
- WAARSCHUWING: Het is gevaarlijk voor ieder niet gekwalificeerd persoon reparaties of onderhoudswerkzaamheden uit te voeren waarbij de klep verwijderd wordt die bescherming biedt tegen blootstelling aan de energie van de microgolven.
- WAARSCHUWING: Er dienen geen levensmiddelen of vloeistoffen verwarmd te worden in gesloten behouders daar die kunnen exploderen.
- WAARSCHUWING: Het is kinderen niet toegestaan de magnetron te gebruiken zonder de supervisie van volwassenen behalve wanneer men hen de nodige instructies heeft gegeven voor een veilig gebruik van de magnetron, waarbij ook de risico's dienen te worden genoemd die incorrect gebruik met zich meebrengt.
- De magnetron dient voldoende ventilatie te hebben. Aan de achterzijde dient u 10 centimeter vrij te houden; aan de zijkanten 15 centimeter en aan de bovenzijde 30 cm. U dient niet de voetsteunen van de magnetron te verwijderen, noch de luchtuitlaten te blokkeren.
- U dient alleen keukengerei te gebruiken dat geschikt is voor magnetrons.
- Wanneer u voedingsmiddelen verhit in behouders van plastic of papier, houd dan de magnetron in de gaten vanwege het brandgevaar.
- Wanneer u rook detecteert, breng het apparaat dan tot stilstand of haal dan de stekker uit het stopcontact en houd de deur gesloten om elke mogelijke vlam te doven.
- Wanneer men dranken verhit d.m.v. microgolven, kan het zijn dat deze gaan koken nadat men de magnetron heeft uitgezet; daarom moet men voorzichtig omgaan met de behouder.
- De inhoud van potjes of zuigflessen dient te worden omgeroerd of te worden geschud en men dient de temperatuur voor gebruik te controleren om verbrandingen te voorkomen.
- Bereid geen gekookte eieren in de schaal in de magnetron toe, daar deze kunnen exploderen, zelfs nadat de opwarming d.m.v. microgolven ten einde is.
- Gebruik bij het schoonmaken van de deur, het sluitvlak van de deur of de binnenkant van de magnetron enkel zachte zeepsoorten en een spons of een zacht doekje; gebruik geen schuur- of reinigingsmiddelen.
- De magnetron moet regelmatig worden schoongemaakt en alle etensresten dienen te worden verwijderd.
- Wanneer men de magnetron niet goed schoon houdt, kan die aangetast worden, hetgeen een negatief effect hebben kan op de levensduur van het apparaat en een gevaarlijke situatie kan opleveren.
- Wanneer de stroomkabel beschadigd is, moet die, om risico's te vermijden, vervangen worden door de fabrikant, een vertegenwoordiger daarvan of door andere, net zo gekwalificeerde, personen.
VEILIGHEIDSINSTRUCTIES VOOR ALGEMEEN GEBRUIK
Hierna volgen enkele normen en maatregelen die dienen te worden gevolgd/genomen om het maximale rendement uit deze oven te halen:
1.- De glasplaat, de draaiende basis en het loopvlak dienen correct geplaatst te zijn wanneer de magnetron in werking is.
2.- Gebruik de magnetron alleen voor de bereiding van levensmiddelen; gebruik hem dus niet om kleding, papier of enig ander artikel te drogen of om te steriliseren.
3.- Zet de magnetron niet aan wanneer die leeg is. Dat zou schadelijk kunnen zijn voor de magnetron.
4.- Gebruik de magnetron niet om spullen in te bewaren, zoals papieren, kookboeken, etc.
5.- Bereid geen enkel voedingsmiddel toe dat afgesloten wordt door een vlies of schil, zoals eierdooiers, aardappels, kippenlevers, et cetera, zonder die eerst een aantal malen te hebben doorgeprikt met een vork.
6.- Stop geen enkel voorwerp in de openingen aan de buitenzijde van de magnetron.
7.- Verwijder geen enkel onderdeel van de magnetron, zoals de voetjes, aansluitingen, schroeven, etc.
8.- Bereid het eten niet direct toe op de glazen plaat. Doe het eerst in een geschikte schaal alvorens het in de magnetron te plaatsen.
9.- BELANGRIJK – SCHALEN DIE NIET GEBRUIKT DIENEN TE WORDEN IN DE MAGNETRON
Gebruik geen metalen schalen of borden met metalen handgrepen.
Gebruik niets met metalen randjes.
Gebruik geen plastic zakken met door papier beklede metalen sluitingen.
Gebruik geen borden van melamine daar die een materiaal bevatten dat de energie van de microgolven absorbeert. Dat kan er toe leiden dat er scheuren komen in de borden of dat ze verbranden en het zal de snelheid van bereiding vertragen
Gebruik geen “Centura Tableware”. Het glas is niet geschikt voor gebruik in magnetrons. De koppen “Corelle Livingware” met gesloten oren dienen niet gebruikt te worden.
Bereid niets toe in een behouder met nauwe opening zoals plastic flessen of slaolieflessen omdat die kunnen exploderen wanneer ze opgewarmd worden in een magnetron.
Gebruik geen conventionele vleesthermometers of thermometers voor bakwaren. Er bestaan thermometers die specifiek bestemd zijn voor het koken met de magnetron. Die mogen wel gebruikt worden.
10.- Er mogen alleen magnetronschalen gebruikt worden die in overeenstemming zijn met de voorschriften van de fabrikant.
11.- Probeer geen voedingsmiddelen te frituren in overdadige olie in deze magnetron.
12.- Denk eraan dat een magnetron de inhoud van een schaal meer verwarmt dan de schaal zelf. Denk er daarom bij het verwijderen van een schaal uit de magnetron aan dat, ondanks het feit dat de deksel misschien niet warm aanvoelt, het eten/de vloeistof dat/die er inzit dezelfde hoeveelheid stoom zal afgeven en/of op dezelfde wijze kan spetteren als het geval is bij conventioneel koken.
13.- Controleert u altijd zelf de temperatuur van de bereide maaltijd, vooral wanneer u eten/vloeistoffen verwarmt of bereidt voor baby's. Het is raadzaam het eten/de vloeistof niet direct uit de magnetron te consumeren, maar dat/die eerst enkele minuten te laten rusten en het eten/de vloeistof om te roeren om de warmte gelijkmatig te verdelen.
14.- Levensmiddelen die een mengsel van vet en water bevatten, bijvoorbeeld bouillon, dient men na uitschakelen van de magnetron 30 tot 60 seconden te laten staan. Dit doet m en zodat het mengsel kan bezinken en om te voorkomen dat het gaat koken wanneer men een lepel in het eten/de vloeistof steekt of wanneer men er een bouillonblokje in doet.
-
- Denk er bij bereiding/koken van etenswaren/vloeistoffen, aan dat sommige etenswaren, bijvoorbeeld puddingen, jams en klein gehakte noten heel snel warm worden. Bij het opwarmen of de bereiding van levensmiddelen met een hoog gehalte aan vet of suiker dient u geen plastic behouders te gebruiken.
16.- Het is mogelijk dat de schalen warm worden door de warmteoverdracht van het opgewarmde gerecht. Dat is vooral het geval wanneer de plastic verpakking de bovenzijde en de handgrepen van de schaal heeft bedekt. U heeft dan een paar keukenhandschoenen nodig om de schaal te hanteren.
17.- Om brandgevaar binnen in de magnetron te beperken:
a) Bereid het eten niet overmatig lang toe. Houd de magnetron vooral in de gaten wanneer u er papier, plastic of andere brandbare materialen in geplaatst heeft om de bereiding te vergemakkelijken.
b) Verwijder de metalen sluitingen van de zakjes voordat u die in de magnetron plaatst.
c) Wanneer de materialen in de oven vlam vatten, houd dan de deur van de oven gesloten, haal de stekker uit het stopcontact of onderbreek de elektrische stroom in het paneel waar zich de zekering of de automatische schakelaar bevindt.
SCHEMA

1 veiligheidssluiting deur
2 kijkglas oven
3 ventilatie oven
4 draairing
5 glazen plateau
6 bedieningspaneel
7 rooster
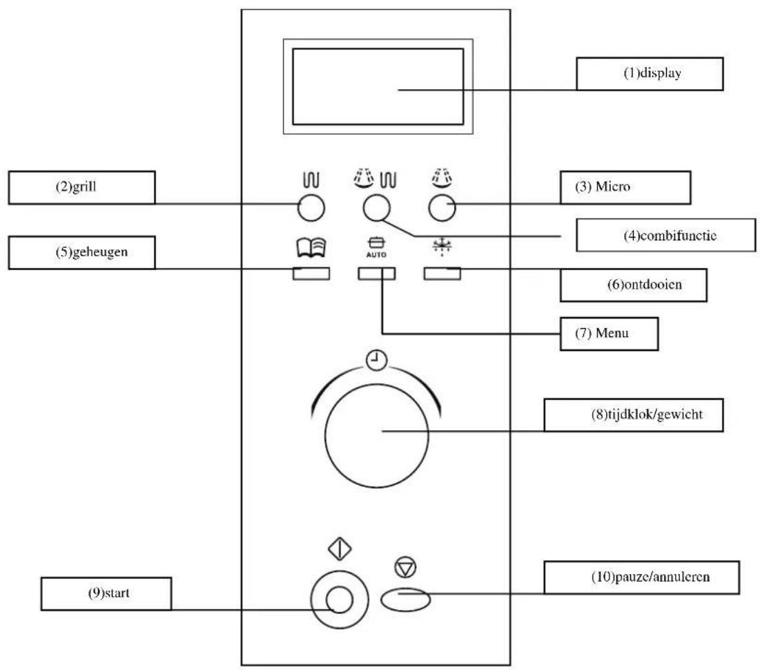
BEDIENINGSPANEEEL

flowchart
graph TD
A["(9)start"] --> B["AUTO"]
C["(2)grill"] --> B
D["(5)geheugen"] --> B
E["(1)display"] --> B
F["(3)Micro"] --> B
G["(4)combifunctie"] --> B
H["(6)ontdooien"] --> B
I["(7)Menu"] --> B
J["(8)tijdklok/gewicht"] --> B
K["(10)pauze/annuleren"] --> B
INSTRUCTIES VOOR HET FUNCTIONEREN
1.- Basisfuncties magnetron
Met een simpele druk op de knop, kunt u beginnen met koken; erg gemakkelijk en snel om bijvoorbeeld een glas water, et cetera te verwarmen.
Voorbeeld: om een glas water te verwarmen
a) Plaats het glas water op de draaischijf en sluit de deur.
b) Druk op de knop (Start) De magnetron begint te functioneren op 100% van het vermogen gedurende 1 minuut.
c) Aan het einde weerklinken 5 pieptonen.
2.-Magnetronfunctie
Deze functie heeft twee selectiemogelijkheden
1) Snelle opwarmfunctie (100% van het vermogen).
Voorbeeld: opwarmen van voedingswaren op 100% van het vermogen gedurende 5 minuten.
a) Draai de knop“Tijdklok/gewicht” totdat “5:00” verschijnt.
b) Druk(Start).
2) Functie met handmatige bediening
Voorbeeld: opwarmen van voedingswaren op 70 % van het vermogen gedurende 10 minuten.
a) Druk op de knop“Micro”, selecteer 70% van het vermogen.
b) Draai de knop“Tijdklok/gewicht” totdat “10:00” verschijnt.
c) Druk(Start).
Er zijn 5 niveaus van vermogen en de langste opwarmtijd bedraagt 60 minuten.
| Aant. keren drukken | Vermogen magnetron Display | |
| 1 | 100% | P100 |
| 2 | 70% | |
| 3 | 50% | |
| 4 | 30% | |
| 5 | 10% | |
3.- Ontdooien
Selecteer het type voedingsmiddel en gewicht en u wordt automatisch geholpen het niveau van vermogen en tijd in te stellen.
Voorbeeld: 0,5 kg bevroren vlees ontdooien
a) Druk op de knop“Ontdooien” om “d-1” te selecteren
b) Draai de knop“Tijdklok/Gewicht” om het gewicht van 0,5 kg te programmeren.
c) Druk (Start).
Het gewicht van vlees dient minder te zijn dan 2 kg.
Het gewicht van vis dient minder te zijn dan 1 kg.
Attentie: "d-1" betekent ontdooien vlees, "d-2" betekent ontdooien vis
4.- Menu-functie
U hoeft enkel het type voedingsmiddel en gewicht te selecteren en u wordt automatisch geholpen het niveau van vermogen en tijd in te stellen
Voorbeeld: menu-functie voor 0,4 kg vis
a) Druk op de knop "Menu-functie" om A-4 te selecteren.
b) Draai de knop“Tijdklok/Gewicht” om het gewicht van 0,4 kg te programmeren.
c) Druk (Start).
Deze functie heeft twee instellingen, u kunt drukken op "grill" om het volgende te selecteren: (de langste toebereidingstijd bedraagt 60 minuten).
Modus 1: 85% van het grill-vermogen, G-1 verschijnt op de display.
Modus 2: 50% van het grill-vermogen, G-2 verschijnt op de display.
Voorbeeld: grillen gedurende 20 minuten
a) Druk op "Grill" om "G-1" te selecteren.
b) Programmeer de tijd op“20:00” door de knop “Tijdklok/Gewicht te draaien.
c) Druk op de knop (Start).
Bij gebruik van de grill-functie wordt het gerecht niet opgewarmd door microgolven, maar wordt de warmte gestraald door een metalen verwarmingselement bovendien in de oven.
Wanneer men de grill-functie gebruikt, kent de toebereidingstijd twee fases: aan het einde van de eerste helft van de toebereidingstijd, zal het programma automatisch stoppen en weerklinken er twee pieptonen om aan te geven dat u de oven open kunt maken en het gerecht kunt omdraaien; na het omdraaien sluit u de deur, drukt op de "start"-knop en de oven zal verdergaan met de tweede helft. Wanneer u het gerecht niet om wilt draaien, zal de oven verder gaan na 1 minuut pauze.
6.- Combi-functie
Dit apparaat biedt de mogelijkheid te functioneren in twee verschillende combi-functies.
Optie 1: combi-functie (55% magnetron + 45% grill)
Op de display verschijnt "C-1".
Optie 2: combi-functie (30% magnetron + 70% grill).
Op de display verschijnt "C-2".
Voorbeeld: toebereiding met gebruik van optie 2 gedurende 15 minuten.
a) Druk "Combi" en selecteer"C-2".
b) Programmeer de toebereidingstijd op “15:00” door de knop“Tijdklok/Gewicht” te draaien.
c) Druk (Start).
7.- Geheugenfunctie
Deze functie dient om enkele nuttige programma's in het geheugen op te slaan, zodat opnieuw programmeren van tijd en vermogen niet nodig is.
a) Wanneer u een programma niet heeft opgeslagen, druk dan op "geheugen" en er zal een "1" verschijnen, voer het vermogen in en de toebereidingstijd, druk "geheugen" opnieuw in, het programma is opgeslagen. Wanneer u op de startknop in plaats van de geheugenknop drukt, begint de oven te functioneren en wordt het programma ook opgeslagen.
b) Wanneer het geheugen al geprogrammeerd is, verschijnt na het drukken op de knop "geheugen" op de display een "1" en zal de oven functioneren overeenkomstig het opgeslagen programma na indrukken van de knop "start".
Het programma zal uit het geheugen verdwijnen, wanneer de elektrische stroomvoorziening onderbroken wordt.
8.- KINDERSLOT
Druk driemaal op de knop“Pauze/Annuleren” om de functies van het apparaat te blokkeren.
Druk nogmaals driemaal op de knop “Pauze/Annuleren” om de functies van het apparaat weer vrij te geven.
9.- Pauze/Annuleren
a) Tijdens het functioneren van het apparaat, zal door een druk op de knop "Pauze/Annuleren" de oven stoppen.
b) Wanneer er een programma bezig is en men drukt op start, dan zullen alle geprogrammeerde functies geannuleerd worden.
ONDERHOUD VAN DE MAGNETRON
1.- Schakel de magnetron uit en haal de stekker uit het stopcontact
2.- Houd de binnenzijde van de magnetron schoon. Wanneer er zich spetters van een gerecht of gemorste vloeistoffen vastzetten aan de wanden van de magnetron, maak die dan schoon met een vochtige doek. Het gebruik van sterke reinigingsmiddelen of schuurmiddelen wordt afgeraden.
3.- De buitenzijde dient te worden gereinigd met een vochtige doek. Om schade aan functionele onderdelen aan de binnenkant van de magnetron te voorkomen, dient ervoor te worden opgepast dat er geen water in de ventilatieopeningen terecht komt.
4. Zorg ervoor dat het bedieningspaneel niet nat wordt. Maak het schoon met een zachte vochtige doek. Gebruik geen reinigingsmiddelen, reinigende schuurmiddelen of verstuivers bij het bedieningspaneel
5.- Wanneer zich wasem vastzet aan de binnen- of buitenzijde van de magnetrondeur, maak die dan schoon met een zachte doek. Dat kan gebeuren wanneer u de magnetron gebruikt in situaties met abnormaal hoge vochtigheid, maar betekent geenszins dat het apparaat niet correct functioneert.
6.- Zo nu en dan dient het glazen draaiplateau verwijderd te worden om het te reinigen. Maak het draaiplateau schoon met warm water en zeep of stop het in de afwasmachine.
7.- De draairing en de bodemplaat van de magnetron moeten regelmatig schoongemaakt worden om overmatig lawaai te voorkomen. Maak de onderzijde van de magnetron eenvoudigweg schoon met een mild schoonmaakmiddel, water of een ruitenreiniger. De draairing kan worden schoongemaakt met water en zeep of in de afwasmachine. Door herhaaldelijk gebruik zullen kookdampen zich ophopen, maar die hebben op geen enkele wijze nadelige invloed op de onderzijde of de wieltjes van de draairing.
Wanneer u de draairing uit zijn positie verwijdert om hem schoon te maken, zorg er dan voor die weer in de correcte positie terug te plaatsen.
8.- Verdrijf luchtjes uit de magnetron met een mengsel van een kopje water en het sap en de schil van een citroen in een diepe magnetronschaal; zet die gedurende vijf minuten in de magnetron. Reinig die daarna grondig en maak hem droog met een zachte doek.
9.- Wanneer het nodig is het licht in de magnetron te vervangen, neem dan contact op met uw verkooppunt.

SimpelGids