CIH 90 EGK 302C - CIH 90 EGK 302C - Afzuigkap VALBERG - Gratis gebruiksaanwijzing en handleiding
Vind de handleiding van het apparaat gratis CIH 90 EGK 302C - CIH 90 EGK 302C VALBERG in PDF-formaat.
Download de handleiding voor uw Afzuigkap in PDF-formaat gratis! Vind uw handleiding CIH 90 EGK 302C - CIH 90 EGK 302C - VALBERG en neem uw elektronisch apparaat weer in handen. Op deze pagina staan alle documenten die nodig zijn voor het gebruik van uw apparaat. CIH 90 EGK 302C - CIH 90 EGK 302C van het merk VALBERG.
GEBRUIKSAANWIJZING CIH 90 EGK 302C - CIH 90 EGK 302C VALBERG
Dit product worden gegarandeerd voor eenperiode van 2aar vanaf de aankoopdatum*, voor elkere stover die het gevolg is van een fabricageoft of het materiaal. Gebreken of schade door slechte installment, onjuist gebruik of abnormale slijtage van het product worden Niet gedekt door deze garantie.
*op vertoon van kassabon.
CONDICIONES DE GARANTÍA
GEBRUKSAANWIJZINGEN 56
INSTRUCCIONES DE USO 84
ELECTRO DEPOT
1 route de Vendeville
59155 FACHES-THUMESNIL - FRANCE



Thanks!
Proficiat met uw keuze voor een product van VALBERG. De selectie en de testen van de toestellen van VALBERG gebeuren volledig onder controle en supervisie van ELECTRO DEPOT. We staan garant voor de kwaliteit van de toestellen van VALBERG, die uitmuntein hun eenvoudig gekruik, hun betrouwbare werkinq en hun onberispelijke kwaliteit.
ELECTRO DEPOT beveelt de VALBERG toestellen aan en is ervan overtuigd dat u uiterst tevreden zal zich bij elk gebruik van het toestel. Welkom bij ELECTRO DEPOT.
Bezoek once website: www.electrodepot.be
Inhoudstafel

Overzicht van het toestel
Veiligheidsinstructies Technische kenmerke

Gebruik van het toestel
Installatie (afvoer maar buiten toe) Tips voor het installereren van de afvoerleiding Gebruik van uw dampkap

Praktische informatie
Onderhoud en reiniging
Probleemoplossing
Verpakking en milieu
Afdanken van uw oude toestel
Veiligheidsinstructies
Gelieve deze instructies aandachtigte lezen Alvorens het toestel te gaan gebruiken en bewaar ze om er later dingen in op te zoeken.
Algemene veiligheidswaarschuwingen
- Raadpleeg het juiste hoofdstuk van deze handleiding voor details over de reiniging en het onderhoud.
- Dit toestel is geschikt voor kinderen vanaf 8aar, Personen met beperkte lichamelijke, zintuiglijke of geestelijkke capaciteiten of Personen zonder ervaring of kennis op voorwaarde dat zich onder toezicht staan of instructies hebben gekregen over een veilig gebruik van het apparaat en op voorwaarde dat zich de bevaren begrijpen.
- Kinderen mogen nicht met het toestel spelen.
- De reiniging en het onderhoud mogen nicht uitgevoerd worden door kinderen wanneer zich nicht begeleid worden.
- Respecteer bij de installmentie van dit toestel de voorzorgen die in deze handleiding worden gepreciseerd.
-
De stekker en het stopcontact要去en toegankelijk blijven of er moet een schakelaar geplaatst worden op de leidingen, conform de installmentevoorschriften, zodat het toestel in om het even welke omstandigheden uitgeschakeld kan worden.
-
Raadpleeg het schema van deze handleiding om volgende punten te respecteren:
- Afmetingen van de ruimte die voorzien dient te worden voor het toestel.
- Afmetingen en plaats van de middelen om het toestel in deze ruimte te ondersteunen en vast te zetten.
- Minimumafstanden:tussen deverschillende onderdelen van het toestel en de omliggende structuur.
- Minimumafmetingen van de ventilatieoppeningen en de correcte indeling.
-
Aansluiting van het toestel op het network.
-
Indien de voedingskabel beschadigd is, dient deze verrangen te worden door de fabrikant, de klantendienst of bevoegde Personen, om elk risico uit te sluiten.
- Respecteer de aanwijzingen om het toestel op de steun te bevestigen.
- Het gebruik van tape is verboden, aangezien deze nicht als betrouwbaar bevestigingsmiddel worden beschouwd.
Specifieke veiligheidswaarschuwingen
-
Wanner het toestel de lucht uit de kamer afvoert (afzuiging met extractie), dient een gespaste ventilatie worden voorzien wanner de keukendampkap gelijktijdig worden gebruikt met toestellen die gas of een andere brandstof gebruiken.
-
Gelieve de instructies in deze handleiding over de reiniging en de frequentie ervan na te leven.
- Er is een risico op brand indien de reiniging nicht worden uitgevoerd volgens de voorschriften.
- Geen voedingsmiddelen onder de dampkap flamberen.
OPGELET:
De toegankelijke delen van dit toestel{kunnen warm worden wanneer ze gebruikt worden met kooktoestellen.
- Wanneer het toestel de lucht uit de kamer afvoert (afzuiging met extractie), mag de lucht Niet in een leidingterechtkommen die worden gebruikt om de rook af te voeren van toestellen die gas of een andere brandstof gebruiken.
- De minimumafstand tussen het steunoppervlak van de recipiën van de kookplaat en het laagste deel van de keukendampkap dient minstens 65 cm te+zijn.
OPGELET:
Wanneer de installment-instructies voor het gasvuur een grotere afstand specificeren, dient deze gespecteerd te worden.
De regelingen betreffende luchtafvoer dienen nageleefd te worden.
WAARSCHUWING :
Het Niet volgen van de instructies voor het installereren van schroeven of bevestigingsvoorzieningen kan tot gevaarlijke situatuies leiden op het vlak van elektriciteit.
Indien het toestel beschikt over een afvoersystem met aflopende stroom, zoals de inklapbare dampkappen (ook wel 'werkblad' genoemd).
OPGELET:
Dit toestel is nicht bestemd om gebruikt te worden met gaskookvuren.
- Indien het toestel over een verlichtingssystem beschikt en de lampervangen kan worden door de gebruiker, lees dan de informatatie over dezeervanging in het hoofdstuk van de gebruiksaanwijzing.
-
Indien een lamp Niet door de gebruiker mag worden verrangen, dan dient dit te worden gepreciseerd in de technische eigenschappen van het toestel, doe in dat geval beroep op de klantendienst indien het toestel defect blijkt.
-
De soorten lampen die gebrukt mogen worden, de afbeeldingen en de ILCOS D-code worden vermeld in het hoofdstuk.
- Controller of de leiding Nieteer dan 90 graden wordt geplooid, dit zou de efficientie van de dampkap schaden.
Bijkomende veiligheidswaarschuwingen
- Dit toestel is enkel geschikt voor het afvoeren van de lucht die ontstaat boven een kookplaat voor huishoudelijk gebruik en in geen geval voor commercieel of industrieel gebruik.
- Dit toestel is enkel geschickt voor huishoudelijk gebruik.
- Het is nicht geschickt voor analogoog gebruik, zoals:
- Keukenhoeken voor winkel- en kantoorpersoneel en andere professionele omgevingen.
- Boerderijen en het gebruik door klanten in hotels, motels en andere residentie omgevingen.
- Omgevingen van het type bed and breakfast.
- Horeca en gelijkaardige toepassingen, met inbegrip vankleinhandel.
- Transporteer het toestel nicht alleen.
-
Installations of aansluitingen die nicht conform de nationaal van kracht,zijnde voorschriften zich,zemiet voor rekening van de fabrikant.
-
Verwijder alle verpakking voor de installmentie.
- Indien het toestel Niet beschikt over een netstekker, mag de elektrische aansluiting enkel worden uitgevoerd door een gekwalificierd elektricien.
- Schakel de stroom voor de installmentie uit met een vaste voorziening (schakelaar verdeelbord, zekering, stroomonderbreker,...).
- De voedingskabel dient een voldoende große diameter te—hebben om het maximumvermogen van het toestel te kunnen beheren.
- Bovendien dient het kaliber van de beveiliging van het verdelijkbord (zekering) aangepast teijken.
WAARSCHUWING :
Sluit het toestel Niet aan met natte handen, om het risico op elektrocutie te vermijden.
- Het voedingsnoer dient zodanig te worden geplaatst dat dit geen enkel warm deel van de kookplaat of een ander toestel in de buurt raakt.
-
Elke intervenmie voor het reinigen en/of onderhouden van het toestel dient te worden uitgevoerd met de stekkeruit het stopcontact.
-
Demonteer of wijzig het toestel nooit.
- Bij storingen die nicht kuren worden opgelost ondanks de informatatie in denen handleiding, dient u contact op te nemen met de klantendienst.
Productfiche volgens EU-verordening N°65/2014
| Merk | Valberg | Valberg |
| Identificatie van het model | CIH 60 EGK 302C (v2) | CIH 90 EGK 302C (v2) |
| Productcode | 970127 | 970128 |
| Jaarlijs energieverbruik (kWH/jaar) | 23.1 | 23.1 |
| Energieklasse | A+ | A+ |
| Fluidodynamische doeltreffendheid | 33.9 | 33.9 |
| Fluidodynamische doeltreffendheid | A | A |
| Lichtefficiëntie (lux/W) | 22.4 | 20.5 |
| Energieklasse van het Licht | B | B |
| Vetfilteringsefficientie % | 56.4 | 56.4 |
| Vetfilteringsefficientieklasse | E | E |
| Maximaal luchtdebiet gegen minimale snelheid bij normalaal gebruik (m3/u) | 178.7 | 178.7 |
| Maximaal luchtdebiet gegen maximale snelheid bij normalaal gebruik (m3/u) (Qmax) | 523.0 | 523.0 |
| Luchtstroom bij minimale snelheid tijdens normale werkung | 44 | 44 |
| Luchtstroom bij maximale snelheid tijdens normale werkung | 62 | 62 |
| Elektriciteitsverbruik in uit-stand | 0.27 | 0.27 |
| Factor van de toename in deijd (f) | 0.8 | 0.8 |
| Energie-efficiëntie-index (EEldampkap) | 41.4 | 41.4 |
| Luchtdebiet in m3/u gameten bij het maximale rendement (Qbep) | 244.3 | 244.3 |
| Luchtdruk in Pa gameten bij het maximale rendement (Pbep) | 349 | 349 |
| Maximale luchtstroom in m3/h | 579.1 | 579.1 |
| Elektrisch vermogen bij de invoer in W gameten bij het maximale rendement (Wbep) | 69.9 | 69.9 |
| Nominaal vermogen in W van het verlichtingssysteme (WI) | 3.7 | 3.7 |
| Matige verlichting in lux van het verlichtingssysteme op het bakoppervlak (Egemiddeld) | 83 | 76 |
| Toegewezen voeding (Spanning in V, aard van de stroom & freiagentie in Hz) | 220-240 ~ 50-60 | 220-240 ~ 50-60 |
| Beschermingsklasse elektriciteit | Klasse I | Klasse I |
| Totaal toegewezen vermogen in W | 78 | 78 |
| Aantal en type verlichting | 2 x Module LED | 2 x Module LED |
| Verlichtingsvermögen in W per verlichting / in totaal | 1.5 / 3 | 1.5 / 3 |
| Verlichting die door de gebruiker verrangen kan worden | Neen | Neen |
| Totaal toegewezen vermogen in W | 81 | 81 |
| Code ILCOS D | DSR-1.5/65-S-64 | DSR-1.5/65-S-64 |
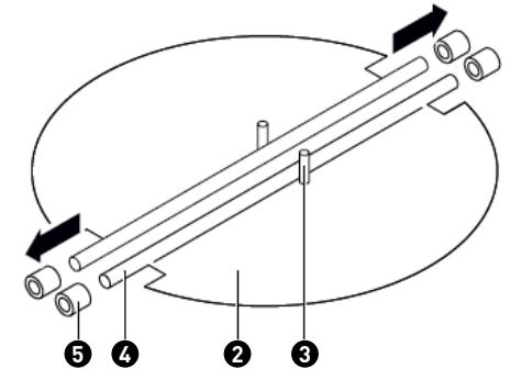
1 Terugslagklep
As
Helften
5 Openingen
Staafje
6 Behuizing
Installatie (afvoer maar buiten toe)
Monteren van de terugslagklep
Indien de dampkap Niet uitgerust is met een gemonteerde terugslagklep 1, dient u de twee helften op de dampkap te monteren. Onderstaande afbeeldingen over de montage van de terugslagklep worden enkel ter info gegeven, de afvoer kan variieren naargelang de modellen en de configurations.
Zo monteert u de terugslagklep 1:
- Monteer de twee halten ② in de behuizing ⑥ ;
- Richt het staafje ③ maar boven;
- Breng de as 4 in de openings 5 van de behuizing aan;
Herhaal alle handelingen voor de 2de helft.
Installatie
Indien u over een buitenafvoer beschikt, kutu uw dampkap aansluten zoals weergegeven op onderstaande afbeelding, met een afvoerleiding (flexible buis in aluminium, email of een ander onbrandaar materiaal, met een diameter van minder dan 150~mm

- Voordat u met de installmentie begint, dient u het toestel uit te schakelen en de stekker uit te trekken.

- Voor het Beste resultaat moet de dampkap op een afstand van 65 tot 75 cm boven het kookoppervlak worden geinstalleerd.

- Nadat u de hoogte van de dampkap hebts beslist, meet u deplaatsing van de gaten om de dampkap op te hangen, alsook de haak van de binnenste schouw. Boor 4 gaten van 8: 2 voor de haak van de binnenste schouw en 2 andere om de dampkap op te hangen, terwijl u erop toeziet dat deze LASTE waterpas hangt. De positie van de haak van de binnenste schouw komt overeen met de plaats van de schouw. Zie afbeelding 2.

Afbeelding 2
-
Schroef twee 4 × 30 mm boutein in de muur met behulp van pennen om de dampkap te bevestigen, en gebruik daarna twee 4 × 40 mm boutein om de haak van de binnenste schouw te bevestigen. Zie afbeelding 2.
-
Installeer de omvormer en de verlengbuis op de uitlaat. Bevestig de verlengbuis op de omvormer door middel van de spanning. Zie afbeelding 3.
Ter herinnering: de verlengbuis worden nicht meegeleverd.

- Installeer de haak van de buitenste schouw op de buitenste schouw met behulp van 2 ST4*8 mm bouten, en vergewis u ervan dat de binnenste schouw flexibel blijft. Zie afbeelding 4.

- Hang de dampkap aan de muur door zich positie aan te passen en bevestig deze met behulp van 2 ST4*30 mm vergilheidsschroeven.
OPMERKING: Op de weiterste behuizing bevinden zich de twee veiligheidsopeningemet een diameter van 6 mm. Zie afbeelding 5.

Afbeelding 5
- Stel de hoogte van de binnenste schouw af op de positie van de haak van de binnenste schouw en bevestig alles met 2 ST4*8 mm schroeven. Zie afbeelding 6.

Afbeelding 6
Tips voor het installereren van de afvoerleiding
Volgende regels要去en nauwgezet worden gevolgd om een optimale luchtafvoer te verkrijgen:
- Houd de afvoerleiding kort enrecht.
- Kort deze nicht in en klem de afvoerleiding nicht.
- Installer bij gebruik van een flexibele buis deze steeds zodenig dat deze goed strak zit om drukverliezen te vermijden.
- Het Niet respecteren van de basisvoorschriften schaatd de prestaties van de dampkap en zorgt voor meer lawaai.
- Alle installmentiewerken dieren worden uitgevoerd door een erkende elektricien of een andere bevoegde persoon.
- Sluit de leidingen Niet aan op een bestaand ventilationsystem dat worden gebruikt voor een ander toestel, zoals verwarmingsleidingen, gasleidingen of leidingen voor warme lucht. De buighoek van de ventilatiebuis mag Nietkleiner zich dan 120^ ; u要去 de buis horizontallyrichten. U kunt de buis ook verticaal maar boven brengen vanaf de ingang enaar een buiteenmuur leiden.
- Controller na de installmentie dat de dampkap waterpas hangt om te vermijden dat het vet zich aan een kant ophoopt.
Controller of de afvoerleiding die voor de installmentie wordt gekozen de gangbare normen respecteert en brandwerend is.

WAARSCHUWING : Gebruik om veiligheidsredenen enkel de bevestigings- of montageschroeven met de afmetingen die in deze handleiding worden aanbevolen. Wanneer het toestel Niet in overeenstemming met deze instructies worden geinstalleerd of bevestigd, bestaat er een elektrisch geleaar.
Gebruik van uw dampkap
Led-touchbediening






De led-touchbediening heeft vrij knoppen, zie afbeelding.

Verlagen

Verhogen

Lamp

Timer

Aan/uit
-
Inwerkingstelling van het toestel: Nadat de dampkap op de hoofdvoeding is aangesloten, za de achtergrondverlichting van alle knappen branden. Het leddisplay is gesloten. De dampkap werkkt Niet, ze gaat over in stand-bymodus. De achtergrondverlichting zal automatisch doven na 2 sec. van inactiviteit.
-
Knop (Aan/uit):
-
Druk op de Aan/uit-knop, waarna de afdekkap vooraan de dampkap za openen. Dechtergrondverlichting van deze knop za branden en de dampkap za op lage sleidheid beginnen te werkken. De lamp za eveneens gaan branden. Dechtergrondverlichting van de knoppen — (Verlagen), + (Verhogen) en Lamp) za gaan branden. Druk nogmaals op de Aan/uit-knop: de afdekkap van de dampkap za sluiten, dechtergrondverlichting van deze knop za doven en de
dampkap zal worden uitgeschakeld. De functieknoppen können alleen worden gezruikt wanner de afdekkap open staat.
- Knop (Lamp):
Druk op de knop (Lamp) en de weitergrondverlichting van deze knop en de lamp zullen gaan branden. Als u nogmaals op deze knop drukt, zullen de weitergrondverlichting van de knop en de lamp doven. De volgende handelingen können meermaals worden uitgevoerd.
-
- Knop (Verhogen):
-
Druk op de knop + (Verhogen): dechytergrundverlichting van de knoppen + (Verhogen), - (Verlagen) en (Aan/uit)Gaat branden. De dampkap begint op lage snelheid te werken. Op het ledscherm zal «1» worden weergegeven.
- Druk nogmauls op de knop + (Verhogen) wannier de dampkap op lage snelheid werk: Dechtergrundverlichting van de knoppen + (Verhogen), — (Verlagen) en (Aan/uit) gaat branden. De dampkap werk op gemiddelde snelheid en op het ledschem zal «2» worden weergegeven.
- Druk nogmaals op de knop + (Verhogen) wanner de dampkap op gemiddelde slelheid werkkt: dechtergrundverlichting van de knop + (Verhogen) zal doven. De knuppen - (Verlagen) en (Aan/uit) zullen blijven branden. De dampkap werkkt op hoge slelheid en op het ledscherm za «3» worden weergegeven.
-
Als u nogmaals op de knop + (Verhogen) drukt verwijl de dampkap op hoge snelheid werkt, dan za alles op hoge snelheid blijven werken.
-
Knop (Verlagen)
-
Druk op de knop - (Verlagen) zodate de dampkap een snuglid lager gaat werken, op het scherm za de huidige werkingsnelheid worden weergegeven. Als u op de knop - (Verlagen) drukt wanner de dampkap op hoge snuglend werkt, za deze op gemiddelde snuglend gaan werken. De ache tergrondverlichting van de knoppen + (Verhogen), - (Verlagen) en (Aan/uit) gaat branden. Als u op de knop - (Verlagen) drukt wanner de dampkap op gemiddelde snuglend werkt, za deze op lage snuglend gaan werken. De ache tergrondverlichting van de knoppen + (Verhogen), - (Verlagen) en (Aan/uit) gaat branden. Als u nogmaals op de knop - (Verlagen) drukt wanner de dampkap op lage snuglend werkt, za de dampkap worden uitgeschakeld, net zoals de ache tergrondverlichting van de knop - (Verlagen).
-
Knop (Timer):
-
De knop (Timer) werkkt alleen wonneer de motor is geactiveerd en de lamp brandt. De timer is ingesteld op 5 min. De timer kan worden herhaald. Nadat de vrij om is, zal de dampkap wordenuitgeschakeld en zal de lamp doven.
- Wonneer de timer is ingesteld, en als u ondtussen de snelheid aanpast, zal de ingestelde tijdsduur worden herberekend.
Onderhoud en reiniging
OPGELET:
- De dampkap要去 worden afgekoppeld van de elektrische voedingsbron vooraleer u aan een onderhoud of reiniging begint. Zorg ervoor dat de dampkap isuitgeschakeld en dat de stekker uit het stopcontact is getrokken.
- De buiten-oppervlakken vertonen gemakkelijk strepen en krassen. Volg de reinigingsinstructies om het best möglichke resultaat te garanderen zonder het toestel te beschadigen.

Algemene gegevens
Het onderhoud en in het bijzonder de reiniging要去en worden uitgevoerd wonneer het toestel is afgekoeld. Vermijd dat alkalische of zure substanties (citroensap, azijn, enz.) darüberblijven. in contact komen met de oppervlakken.
Roestvrij staal
Roestvrij staal moet regelmatig worden gereinigd (bv. een keer per week) om een lange levensduur te garanderen. Droog het af met een propere en zachte doek. U kurz
eveneens een special Reinigingsproduct voor roestvrij staal gebruiken.
OPMERKING :
- Let erop dat u het roestvrij staal goed afdroogt om te vermijden dat er lelijke strepen ontstaan.
Oppervlak van het bedieningspaneel
Het oppervlak van het bedieningspaneel kan met warm zeepwater worden gereinigd. Zorg ervoor dat de doek schoon en goed uitgewrongen is vooraleer u het begint te reinigen. Gebruik een zachte doek om het overblijvende vocht na de reiniging te verwijderen.
BELANGRIJKE INFORMATIE :
Gebruik neutrale detergens en vermijd agressieve chemische producten, krachtige huishouddetergens of producten met schurende bestanddelen, aangeziendeze het toestel zouden{kunnen beschadigen, de inkt van de afbeeldingen die op het bedieningspaneel werden gedrukt, zouden{kunnendoen oplossen en de garantie van de fabrikant zouden{kunnen annuleren.
Vetfilters
De gaasfilters können met de hand worden schoongemaakt. Dompel ze 3 minuten onder in water met ontveteignsmiddel en borstel ze daarna af met een zachte borstel. Zet Niet te veel druk om te vermijden dat u ze beschadigt. (Laat zen drogen aan de lucht enuit direct zonlicht.)
De filters mogen Niet tegelijkkertijd met de vaat en het keukengerei worden schoongemaakt. Het is aanbevolen om geen spoelmiddel te gebruiken. Raadpleeg de afbeelding hiernaast om de vetfilters te demonteren.

Installatie van de vetfilters
- Om de filters te plaatsen, dient u de volgende vier stappen te volgen.
- Kantel de filter in de opening aan deijkenkant van de dampkap.
- Druk op de knop op de handgreep van de filter.
- Laat de handgreep los wanneer de filter op+zijn plaats zit.
- Herhaal de handeling om alle filters teplaatsen.
(Niet-meegeleverde) koolstofffilter
Er kan een actieve koolstofffilter geinstalleerd worden om geuren op te vangen. Normaal gesproken要去 de actieve koolstofffilter elke 3 à 6 maanden worden verrangen, afhankelijk van uw eetgewoonten. De installmenteprocedure van de actieve koolstofffilter is de volgende:
Filterversie:
Om de dampkap om te vormen in de filterversie, dient u aan uw verkoper actieve koolstoffilters te vragen.
Installer de actieve koolstofffilter (cassette)
- Om de actieve koolstofffilter te installereren, dient u eerst de aluminiumfilter te verwijdermen.
- Open het rooster, druk op de vergrendelvoorziening en trek de filter omlaag.
- Plaats de actieve koolstofffilter in het toestel en zet deze verwolgens vast door in gegenwijzerzin te draaien.
- Plaats het rooster terug zoals voorheen.
Installer de actieve koolstofffilter (uit te knippen)
- Om de actieve koolstofffilter te installereren, dient u eerst de aluminiumfilter te verwijderen.
- Plaats de vooraf uit te knippen filter op de aluminiumfilter.
- Plaats de aluminiumfilter terug.
- Wij raden u aan de dampkap enkele Minutes voordat u begint te koken in werkig te stellen. Zo raden we ook aan de dampkap 15 minutes nadat u gestopt bent met koken uit te schakelen, om geurtjes en vieze lucht zo veel möglich te verwijderen.

OPMERKING :
- Zorg ervoor dat de filter correct is aangebracht. Anders kan deze loskomen en een gevaar vormen.
- Wanneer de actieve koolstofffilter geinstalleerd is, is de zuigkracht verminderd.

Vervanging van de lamp


BELANGRIJK :
- De lamp要去 door de fabrikant, een van zich technici of een voldoende gekwalificeerde persoon worden verrangen.
- Schakel het toestel.altijduit vooraleer u er een handeling opuitvoert. Voordat u de lamp verwijdert, dient u ervoor te zorgen dat deze volledig is afgekoeld.
- Neem lampen vast met een doek of handschoen en let erop dat zweet Niet in contact kommt met de lamp, dit zou de levensduur können aantasten
De lampervangen

De lichtbron in dit product kan alleen worden verrangen door gekwalificeerde professionals.
Neem contact op met de klantenservice als de lichtbron uityvalt.
De Lichtbron要去an het einde van de gebruiksduur van het product worden verwijderd, waar bij de sortering en recycling afzonderlijk worden uitgevoerd.
- De ILCOS D-code voor deze Lamp is: DSR-1.5/65-S-64
- Ledmodules - ronde lamp
Maximumvermogen: 2 × 1,5 W - Spanningsbereik: 12 V DC
-Afmetingen: 64mm
Probleemoplossing
| Probleem | Mogelijk oorzaken | Oplossing |
| Hetlicht brandt, maar demotor werkt nicht. | De schakelaar van deventilator staat uit. | Selecteer een positie voor de schakelaar van de ventilator. |
| De ventilator is kapot. | Contacteer de klantendienst. | |
| De motor is kapot. | Contacteer de klantendienst. | |
| Hetlicht brandt nicht en de motor werkt nicht. | De zekeringen van de woningzijn defect. | Zet de zekeringen opnieuw aan/Vervang de zekeringen. |
| De voedingskabel islosgekomen ofuitgetrokken. | Steen de voedingskabel opnieuw in hetstopcontact. Schakel het stopcontactin. | |
| Olietek | De terugslagklepenuitlaatvoorziening vertonenen dedefect in de afdichting. | Demonteer de terugslagklepen maakdicht met een afdichtmiddel. |
| Er zit eenlek ter hoogte vande aansluiting van de schouwen de afdekkap. | Demonteer de schouw en dicht het lek. | |
| Hetlicht werkt nicht. | De lampen+zijn kapot/gebbroken. | Vervang de lampen inovereenstemming met dezegebruiksaanwijzing. |
| Onvoldoende afzuiging | De afstand+tussen dedampak en het kookvuur iste groot. | Plaats de dampkap opnieuw op deduiste afstand. |
| De dampkap hangt scheef. | De bevestigingsschroevenzijn Niet voldoendeaangedraid. | Draai de ophangschoef aan doorhorizontal te aligneren. |
OPMERKING : Alle elektrische herstellungen die op dit toestel worden uitgevoerd,要去en conform uw lokale, nationale en federale wetgeving zich. Bij twijfel dient u de klantendienst te contacteren alvorens iets te ondernemen. Verwijder altijd de stekker van het toestel uit de elektrische voedingsbron als u het toestel moet openen.
Verpakking en milieu
AFDANKEN VAN DE VERPAKKINGSMATERIALEN
De verpakkingsmaterialen beschermen uw toestel gegen möglichke beschadigingijdens het transport. Deze materialen zijn milieuvriendelijk want ze können gerecycleerd worden. Door materialen te recycleren kan op grondstoffen bespaard worden en worden er minder afval geproduerd.
Afdanken van uw oude toestel
SELECTIEVE INZAMELING VAN ELEKTRISCH EN ELEKTRONISCH AFVAL

Dit toestel is voorzien van het AEEA-symbool, wat betekent dat het Niet bij het huishoudelijkke afval gegood mag worden op het einde van zich levensduur, maar dat het�eren recyclagecentrum voor elektrische en elektronische huishoudtoestellen gebracht dient te
worden. Wanner u versleten huishoudtoestellen recycleert, levert
u een aanzienlijke bijdrage tot de bescherming van ons milieu.
BESCHERMING VAN HET MILIEU - RICHTLIJN 2012/19/EU
Wanner u versleten elektrische en elektronische apparaten recycleert, levert u een aanzienlijke bijdrage tot de bescherming van ons milieu en once gezondheid. Dit dientECHTER wel te gebeuren volgens bepaalde regels en vraagt de betrokkenheid van zowel leverancier als consument.
Daarom mag uw toestel, zoals aangegeven worden door het symbol op het kenplaatje of de verpakking, in geen geval in een openbare of private vuilnisbak voor huishoudelijk afval gegood worden. De gebruiker heeft hetrecht om het toestel maar een openbaar inzamelpunt voor selectieve afvalverwerking te brengen, zodate het toestel gerecycleerd of opnieuw gebruikt kan worden voor andere toepasseningen, conform de richtlijn.
Bewaar uw oude toestellen steeds op een veilige plaats buiten uwuis waar kinderen er Niet bijkunnen.
SimpelGids