ALH 2500 - Generator ATIKA - Gratis gebruiksaanwijzing en handleiding
Vind de handleiding van het apparaat gratis ALH 2500 ATIKA in PDF-formaat.
Gebruikersvragen over ALH 2500 ATIKA
0 vraag over dit apparaat. Beantwoord die u kent of stel uw eigen vraag.
Stel een nieuwe vraag over dit apparaat
Download de handleiding voor uw Generator in PDF-formaat gratis! Vind uw handleiding ALH 2500 - ATIKA en neem uw elektronisch apparaat weer in handen. Op deze pagina staan alle documenten die nodig zijn voor het gebruik van uw apparaat. ALH 2500 van het merk ATIKA.
GEBRUIKSAANWIJZING ALH 2500 ATIKA
Geluidsarme walshakselaar
Bedieningshandleiding - Veiligheidsinstructies
Reserveonderdelen
- Neem alle delen uit de verpakking.
- Monteer de steunen telkens met twee schijven (nr. 8) en tweezfelfremmende moeren (nr. 2) met behulp van de meegeleverde moersleutel aan de behuizing.
- Monteer de wielas (nr. 3) met de twee schroeven M6 x 50 (nr. 4), schijven en moeren met behulp van de meegeleverde inbussleutel en de moersleutel aan het onderstel.
Schuit de waren (nr. 5) op de as. - Bevestig de wielafdekking (nr. 6) met een hamer in de wielas.
Beschrijving
- Trechteropening voor hakselmateriaal
- Terugzetknop / Motorveiligung
- In-/Uitschakelaar
- Draairichtingsomschakelaar
- Netstekker
- Ventilatiespleten
- Onderstel
- Uitworpopening


U mag de machine nicht gebruiken voordat u deze anwijzing heeft gelezen, alle voorschriften—heeft d en de machine als voorgeschreiben—heeft r.
Bewaar deze bedieningsaanwijzing voor alle toekomstige toepassingen.
Inhoud
| Montage | 51 |
| EG-verklaring van overeenstemming | 52 |
| Symbolen apparaat | 52 |
| Bedieningshandleiding | |
| Bedrijftstijden | 52 |
| Leveringsomvang | 52 |
| Reglementaire toepassing | 53 |
| Restrisico's | 53 |
| Veiligheidsinstructies | 53 |
| Ingebruikname | 54 |
| Werken met de tuinhakselaar | 56 |
| Instellen van het gegenmes | 57 |
| Onderhoud en verzorging | 57 |
| Storingen | 58 |
| Technische gegevens | 59 |
| Garantie | 59 |
| Reserveonderdelen | 85 |
EG-verklaring van overeenstemming
volgens de richtlijn van de raad 98/37 EG
ATIKA GmbH & Co.
verklaren,uitsluitende verantwoordelijkheid, dat het product
tuinhakselaar type AH 2500
haarop deze verklaring betrekking heeft, voldoet aan de desbetreffende veiligheids- en gezondheidseisen van de richtlijn 98/37/EG, alsmede aan de eisen van de andere desbetreffende richtlijnen
Conformiteit-beoordeling-procedures: 2000/14/EG - Aanhangsel V
Gemeten geluidsniveauu LwA 91 dB (A)
gegarandeerd geluidsniveau L_WA 92 dB (A)

Ahlen, 20.08.2007
A. Pollmeier, bedrijfsleiding
Symbolen apparatus

Lees voor de inbedrijfstelling de bedienings-handleiding en veiligheidsvoorschriften en neem deze in acht.

Schakel de motoruit voor reparatie-, onderhouds- enreinigingswerkzaamheden enhaal de netstekkeruit hetcontactdoos.

Gevaar door
wegslingerende
delen bij lopende
motor - Niet
betrokken
personen, alsook
huis- en nuttige

Let op voor roterende messen. Handen en voeten Niet in de openingen honden terwijl de machine draait.
dieren uit de gevaarszone verwijderd honden.

Oog- en geluids-bescherming dragen.

Veiligheidshand-schoenen dragen.

Elektrische toestellen behoren nicht in de huisafval. Toestellen, toebehoren en verpakking maar een milieuvriendelijk recycling brengen.
Symbolen in de gebruiksaanwijzing

Dreigend gevaar of gevaarlijke situatie. Het nicht opvolgen van deze aanwijzingen kan schade of verwondingen tot gevolg hebben.

Belangrijke aanwijzing voor het vakkundig gebruik. Het Niet opvolgen van deze aanwijzingen kan storingen aan de machine veroorzaken.

Gebruikersaanwijzingen. Deze aanwijzingen helpen u de machine optimaal te benutten.

Montage, gebruik en onderhoud. Hier wordt preciesuitgelegd wat u moet doein.
Bedrijfstijden
Houdt alstublieft voór ingebruikname van het toestel rekening met de landelijkke (regionale) voorschriften omtrent de lawaaibescherming.
Leveringsomvang

Controller na het uitpakken de inhoud van de verpakking op:
Aanwezigheid van alle onderdelen
Eventuele transportschade
Meld möglich onvolkomenheden direct aan uw leverancier. Latere reclamaties worden nicht in behandeling genomen.
1 voorgemonteerd apparaat
1 standbeen links
1 standbeen rechts
1 as
2WIelen
2 wielafdekkingen
1 verpakking moeren
1 opvangzak
1 gebruiksaanwijzing
Reglementaire toepassing
Bij het gebruik conform de voorschriften hoor het hakselen van
- allerhande takken tot max. diameter (naargelang het houtsoort en de versheid)
- verwelkte, vochtige, reeds meertere Damen opgeslagen tuinafval awisselend met de takken.
Het hakselen van glas, metaal, kunststofdelen, plastic zakken, stenen, textielafval, wortelen met aarde, afval zonder vaste consistentie (bijv. keukenafval) wordenuitdrukkelijk uitgesloten.
De tuinhakselaar is geschikt voor privé gebruik in huis- en hobbytuin.
Als hakselmachine voor de privé huis- of hobbytuin worden zulke toestellen aangezien die Niet in openbare plantsoenen, parks, recreatieplaatsen alsook in het landbouwbedrijf en de bosbouw worden ingezet.
Tot de reglementaire toepassing behoort ook het opvolgen van de gebruiks-, onderhouds- en reparatievoorschriften en het opvolgen van de veiligheidsvoorschriften van de fabrikant.
Alle verdere toepassingen gelden als onreglementair. Voor de hieruit voortvloeieende schade is de fabrikant nicht aansprakelijk - de aansprakelijkheid is alleen voor de gebruiker.
Eigenmachtige verbouwingen aan de machine sluiten een aansprakelijkheid van de fabrikant voor hieruit voortvloeieende schade van eenieder soort UIT.
Deze machine mag alleen voorbereidt, gezrukt en onderhoven worden door Personen die met de machine vertrouwd zijn en goed ingelicht�n over de risico's. Reparations mogen alleen door de fabrikant of geauthoriseerde werkplaatsen uitgevoerd worden.
Restrisico's
Ook bij het gebruik volgens de voorschriften zijn er op grond van de constructie voor de toepassing van deze machine nog een,aantal restrictions.
De restrictions können geminaliseerd worden wanner de veiligheids-, gebruiks-, gezondheid- en onderhoudsvoorschriften nauwkeurig in acht genomen worden.
Consideratie en voorzichtigheid verminderen het risico van personenetels en beschadigingen.
- Gevaar voor letsels aan vingers en handen, wanner u met de hand door een opening vrijpt en in aanraking komt met der roterende messen.
- Gevaar voor letsels aan vingers en handen, bij montage- en reinigingswerkzaamheden aan de messen.
- Verwonding door wegslingerend hakselgoed in het bereik van de trechter.
- Gevaar door stroom door het nicht juist aansluiten van de aansluitdraten.
- Het aanraken van onder spanning staande delen bij geopende elektrische delen.
- Verminding van het gezoor bij langdurig werkken zonder gezoorbescherming.
Verder kann er ondanks alle genomen maatregelen nicht zichtbare restrictions bestaan.
Veiligheidsinstructies
Lees en volg de onderstaande aanwijzingen, de voorschriften ter voorkoming van ongevallen en de algemene veiligheidsvoorschriften op, om u zich en anderen gegen verwondingen te beschermen.
Geef de veiligheidsvoorschriften aan alle personen, die met deze machine werken, door.
Bewaar deze veiligheidsvoorschriften goed.
Reparaties aan elektrische onderdelen van de machine要去en door de fabrikant of een door hem aangewezen persoon worden uitgevoerd.
Maak u voor gebruik met het apparaat vertrouwd, met behulp van de bedieningshandleiding.
- Gebruik de machine alleen waar hij voor gemaakt is (zie "Reglementaire toepassing" en "Werken met de tuinhakselaar").
Zorg voor een stabiele en uitgebalanceerde houding. Streku Niet vooruit. Ga bij het inwerpen van het hakselmateriaal opdezelfde hoogte met het toestel staan.
- Wees oplettend. Let op dat, wat u doet. Ga met verstand te werk. Gebruik het toestel Niet, wonneer u moe bent of onder de invloed van drugs, alcohol of medicamenten staat. Een moment van onoplettendheid bij het gebruik van het toestel kan tot ernstige verwondingen leiden.
- Tijdens het werknen met deze machine dieren veiligheidsbril, werkhand Schoenen en gehoortbeveiliging te worden gedragen.
Draag de juiste werkkleding.
Nauw sluitende kleding dragen.
Geen schoenen met gladde zolen dragen.
- De bedienende persoon is binnen het arbeitsbereik van de machine verantwoordelijk ten opzichte van derden.
- Kinderen enjongeren van minder dan 16aar mogen het toestel Niet bedieren.
- Kinderen dieren uit de buurt van het apparaat te worden gehonden.
- Zet het toestel nooit aan, verwijl Niet betrokken personen in de buurt zich.
Laat de machine nooit zonder toezicht. -
Zorg dat uw werkomgeving in orde is. Rommel kan ongevallen veroorzaken.
-
Neem een werkpositie in, zijdelings of darüber het apparaat. Ga nooit in het bereik van de uitwerpopening staan.
- Nooit uw hand in de vul- of uitworpopening steken.
- Blijf met uw gezicht en uw lichaam UIT de buurt van develulopening.
- Overbelast de machine nicht. U werkt beter en zeker met de juiste belasting van de machine.
- Werk alleen met alle veiligheidsvoorzieningen op de juiste wijze aangebracht.
- Verander het toerental van de motor Niet, want de regelaar regelt de veilige maximum werkslelheid en beschermt de motor en alle draaiende delen gegen schade door te hoge slelheid.
- Het apparaat mag nicht zonder de vultrechter gekruikt worden.
- Het toestel resp. delen van het toestel Niet veranderen.
- Bij het inschakelen van de motor要去 het apparaat conform de voorschriften zijn gesloten.
- Het toestel nicht met water afspatten. (Gevarenbron elektrische stroom).
-
Let op de omgevingsinvloeden.
-
Gebruik de machine nicht in een vochtige of native omgeving.
- Machine nicht in de regen latent staan of in de regen werken.
-
Werk alleen bij toereikend zich, zorg voor een goede verlichting.
-
Om letsel aan vingers te vermijden bij montage en/of reini-gen werkhandsschoenen dragen.
Schakel de machine uit en neem de steker uit het stopcontact bij: -
onderhouds- en reinigingswerkzaamheden
- bij storingen
- controle van de aansluiitledingen, of dezeverstrengeld of beschadigd zijn
- transport
- reparatiewerkzaamheden
- wisselen van de messen
-
het verlaten van de machine (ook voor een korteijd)
-
Bij verstoppen in de ingooi en uitwerp van de machine schakel de motor uit en neem de netsteker uit het stopcontact, alvorens u materiaalresten in de ingooi of uitwerp verwijdert.
-
Onderzoek de machine op eventuele beschadigingen.
-
Voordat de machine verder worden gebrukt,要去 zorgvuldig worden onderzocht of de beschermingsvoorzieningen enlicht beschadigde onderdelen fouloos en volgens de voorschriften functioneren.
- Controller of alle bewegende delen van de machine goed functioneren en nicht klemmen of beschadigd zich. Alle delen要去en juist gemonteerd zich en goed functioneren om de machine correct te latent werken.
- Beschadigde bescherminrichtingen en -delen moeten, indienoodzakelijk, door een erkende reparatiewerkplaats gerepareerd of verwisseld worden.
-
Beschadigde of onleesbare veiligheidsstickers dienen te worden verrangen.
-
Bewaar de machine in een droge en afgesloten ruimte, buiten het bereik van kinderen.

Elektrische veiligheid
- De aansluitkabel要去 volgens IEC 60245 (H 07 RN-F) zijn, met een draad doorsnede van minstens:
1,5 mm² bij een lenghte tot 25 m.
2.5 mm² bij een lenghte vanaf 25 m.
-
Lange en dunne aansluitkabels zorgen voor een spanningsverlies. De motor bereikt zijn maximaal vermogen Niet meer, de werking van het toestel worden gereduceerd.
-
Stekker en aansluitdozen aan aansluitleidingen要去en uit rubber, zacht pvc of een ander thermoplastisch materiaal van bezelfde Mechanische vastheid zijn of met dit materiaal zich gecoat.
- De stekkervoorziening van de aansluitleiding要去 gegen spatwater beveiligdijken.
- Let er bij het leggen van de aansluitkabel op dat deze nicht stoort,bekneld raakt,geknikt worden en de steekverbinding Niet nat worden.
- Wikkel bij gelebruik van een kabeltrommel de kabel geheel af.
- Gebruik de kabel Niet voor doeleinden waaroor hij nicht geschikt is. Bescherm de kabel gegen但它, olie of scherper Randen. De steker Niet met de kabel uit het stopcontact trekken.
- Controller de verlangkabel regelmatig op beschadigingen en verrang hem als hij beschadigd is.
- Gebruik geen defecte kabels.
- Gebruik alleen toegestane en gemerkte verlangkabels.
Maak geen geknutselde elektrische aansluitingen. - Veiligheidsvoorzieningen nooit overbruggen of buitenwerking stellen.
- Het apparatus via een veiligheidsschakelaar (30 mA) aansluten.

Elektrische aansluitingen of reparaties mogen alleen dooreen erkend bedrijf of een erkende reparatiewerkplaatsuitgevoerd worden. Deplaatselijke voorschriften要去npogevolgd worden.

Reparaties aan andere delen van de machine mogen alleen door de fabrikant of een door hem erkende werkplaatsuitgevoerd worden.

Alleen de originele toebehoren en onderdelen gebruiken. Bij het gebruik van Niet originele onderdelen konnen risico's voor de gebruiker ontstaan. De fabrikant kan Niet aansprakelijk gesteld worden voor ongevalten hierdoor ontstaan.
Ingebruikname
- Overtuigt u zich er van, dat het apparaat compleet en volgens voorschrift is gemonteerd.
- Plaats de hakselmachine voor het gebruik op een horizontale en stevige ondergrond (kiepgevaar).
- Plaats het apparaat Niet op een geplaveide of steengruisondergrond.
-
Gebruik het toestel alleen in open lucht. Houd afstand (minimum 2 m) van een muur of een ander onbuigzaam voorwerp.
-
Controller voor elk gebruik:
-
de aansluitkabels op beschadiging
gebruik geen beschadigde aansluitkabels. - de machine op eventuele beschadigingen (zie veiligheidsinstrumenties)
of alle schroeven goed zichn vastgedraaid
Aansluiting op het net
- Vergelijk de op het typeplaatje van de machine vermelde spanning, bv 230V met de netspanning en sluit de machine aan het desbeteffend en reglementair stopcontact aan.
- Gebruik een verlangkabel met voldoende diameter
Beveiling
| Zwitserland | UK | ||
| 2200 W | 16 A traag | 10 A traag | 13 A traag |
| 2300 W | 16 A traag | 10 A traag | 13 A traag |
| 2400 W | 16 A traag | 13 A traag | |
| 2500 W | 16 A traag | 13 A traag |
In-/uitschakelaar
Gebruik geen toestel, waar bij zich de schakelaar Niet LAST inn uitschakelen. Beschadigde schakelaars要去en onmiddelijk door de klantenservice worden gerepareerd of worden verrangen.

Inschakelen
Druk op de groene knop ①.
Uitschakelen
Druk op de rode knop ①.
Beveiling gegen opniew aanlopen bij stroomuitval
Bij stroomuitval schakelt het toestel automatischuit (overbelastingsschakelaar).
Motorveiligigkeit
De motor is uitgerust met een veiligheidsschakelaar en schakelt bij overbelasting zichstandig UIT. Druk
- terugzetknop (motorveiligheid)
- groene knop (I) om opniew in te schakelen.
Draairichtingsomschakelaar
Activeer de draairichtingsomschakelaar alleen bijuitgeschakelde hakselaar.
Positie

Het materiaal wordt door de snijwals ingetrokken en gehakseld.

Positie
Het mes werk in omgekeerde richting en ingeklemd materiaal komt vrij.
Nadat u de draairichtingsomschakelaar in de positie —heeft gebracht, houdt u de groene knop van de in-/uitschakelaar ingedrukt. De snijwals worden op de omgekeerde richting geschakeld. Wanner u de in-/uitschakelaar loslaat, blijft de hakselaar automatisch staan.
Tips
Grote voorwerpen of stukken hout worden na meermalige activering zowel in de snij- alsook in de vrijgaverichting verwijderd.
- Gebruik een stopper of een haak voor het verwijderen van geblokkeerde voorwerpen uit de trechter of deuitworpopening.
Wacht steeds tot de hakselaar stilstaat, voor u deze opnieuw inschakelt.
Netimpedantie
Bij ongunstige netconditions kan het gedurende het inschakelproces van het toestel tot korte spanningsdalingen komen die andere toestellen können belemmeren (bv knipperen van een lamp).
Er zijn geen storingen te verwachten, wanneer de maximale netimpedanties worden opgevolgd.
| Vermogensopname P1 (W) | Netimpedantie Zmax (W) |
| 2200 | 0,21 |
| 2300 | 0,21 |
| 2400 | 0,21 |
| 2500 | 0,21 |
Werken met de tuinhakselaar
- Neem een werkpositie in, zijdelings ofchter het apparaat. Ga nooit in het bereik van de uitwerpopening staan.
Langer materiaal, dat uit het toestel uitsteekt, zou terug kuren springen, wanner het door de messen worden ingetrokken! Veiligheidsafstand aanhonden! - Nooit uw hand in de vul- of uitworpopening steken.
- Blijf met uw gezicht en uw lichaam uit de buurt van develuopening.
- Breng uw handen, andere lichaamsdelen en kleding nicht in de vulbuis, het uitwerpkanaal of in de buurt van andere beweegbare delen.
- Controller voor het inschakelen van het apparaat of er geen hakselresten in de vulopening aanwezigহn.
Kantel het toestel Niet met lopende motor. - Let op bij het vullen, dat er geen metaal, stenen, flessen of andere Niet verwerkbare voorwerpen in de vultrechter komen.
- Wanner er vreeinde voorwerpen in de vultrechter komen of het apparaat buitengewone geluiden of trillingen vertoont, schakel het apparaat dan onmiddelijk uit en LAST het tot stilstand komen. Haal de stekker uit de contactdoos en voer de volgende punten uit:
- controller de schade
- verwang of reparateer beschadigde delen
- controller het apparaat, schroef losese delen vast.
U mag het apparaat nicht repareren wonneer u daartoe nicht bevoegd bent.
Wat kan ik hakselen?
Ja:
organisch afval UIT huishouden en tuin bv heg- en boomafval, verwelkte bloemen en keukenafval
Nee:
- glas, metaaldelen, kunststoffen, plastic zaken, stenen, stofaval, wortelen met aarde, voeding-, vis- en vleesresten.
Speciale aanwijzingen voor het hakselen:
Vul het te hakselen materiaal steeds vanop de rechterzijde in de vulopening van de trechter.
Maak takken, twijgen en hout vlak na het snijden Klein
- dit hakselgoed wordenijdens het uitdrogen zeer hard, de maximum te verwerken takdiameter worden hierdoor kleiner.
Verwijder zijtakken bij takken met veel twijgen.
Verwerken van zeer waterhoudende, aan elkaar plakkend tuin- en keukenafval
- dit afwisselend met houten hakselgoed Klein make n om een verstopping van het apparaat te vermiiden.
Laat het gehakselde materiaal in de zone van de uitwerpopening Niet te zeer ophopen. Dit kan tot gevolg hebben, dat reeds gehakseld materiaal het uitwerpkanaal verstopt. Dit kan leiden tot een terugslag van het materiaal door de vulopening.
Reinig de vulopening en het uitwerpkanaal wanner het toestel verstopt is. Schakel hiervoor eerst de motor UIT en haal de stekkeruit de contactdoos
Let u er op dat bij uw apparaat alleen de max te verwerkende takmiddelijn bijgehonden worden (zie blz. 59). Alaar soort en frisheid van het hout kan zich de maximaal te verweken takdoorsnede reduceren.
Het snijssystem trekt het materiaal zichstandig en dankzij de langzame beweging van de wals gelijkmatig�n binnen.
Automatische omschakeling van de draairich-ting: Bij plotseling blokkeren van het apparaat kann de draairichting van de snijwals worden veranderd en kann het te hakselen materiaal terugschuiven.
- apparaat uitschakelen
- wachten tot de snijwals stilstaat
- apparaat opniew inschakelen en eenvoudiger teverwerken materiaal gebruiken
Bij overbelasting van het apparaat schakelt de schakelaar die met een motorbeveiliging is uitgerust vanzelfuiit
- schakel de hakselmachine na ca. 5 minutes opniew aan
- wonneer het apparaat na deze wachtijd Niet kan worden ingeschakeld, dient u onder het punt „Mogelijkke storingen" na te kijken.

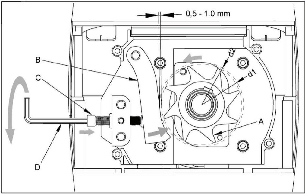
Instellen van het tegenmes
Het gegenmes B kan aan de snijwals A zonder speling worden ingesteld. Een zo Klein möglichke afstand dient voor een effectieve werkig te worden aangehouden.
Zacht materiaal of natte takken konnen splijten in plaats van te worden gesneden. Ook een meervoudige activering van een versleten gegenmes kan tot dit probleem leiden.
Instellen van de afstand.
Schakel het toestel in.
Op de rechtzerzijde van de behuizing bevindt zich een instelinrichting. Draai de instelknop (D) maar rechts om de afstand in te stellen. Door deze handeling beweegt de schroef (C) in de richting van de snijwals. Schroef zolang, tot er fijnne
aluminiumspaanders uit de uitworpopening vallen.

Onderhoud en verzorging
Voor iedere onderhoud:
- moet de motor uitgezet worden en de stekker uit het stopcontact verwijderd worden
- om een terugloop en verwondingen te voorkomen is het dragen van veiligeidshandschoenen aan te bevelen.
Het snijwerktuig staat na het uitschakelen nicht meteen stil. Wacht alvorens u met de reparatie of het onderhoud begint tot alle delen tot stilstand zijn gekomen.
Let erop, werktuig en schroefsleutels na onderhouds- of reparatiewerkzaamheden wee ter verwijderen.
-
De tuinhakselaar is over het algemeen onderhoudsvrij. In het belang van het behoud van de waarde en een lange levensduur dient met het volgende rekening te worden gezonden:
-
ventilatiegleuven open en schoon houden.
- bevestiginasschroeven controlleren (indien podig yastdraaien)
- na ieder gebruik, het apparaat van binnen en van buiten goed te reinigen.
Gebruik voor de reiniqing van uw toestel slechts een warme, vochtige doek en een zachte borstel.
Gebruik nooit reinigings- of oplosmiddelen. Zij zouden onherstelbare schade aan het toestel konnen veroorzaken. De kunststofdelen konnen door chemische producten worden aangetast.

de hakselmachine nicht met stromend water of met hogedrukreinigers reinigen.
- blanke metalen delen na ieder gebruik ter bescherming gegen corrosie met een milieuvriendelijkke, biologisch af te breken sproeilie behandelen.
- snijwals en nasijnplaat zijn aan slijtage onderhevige onderdelen. Bij normala gebruik en bijstelling volgens voorschrift gaan zich城县chter meerere jaren mee.

Voor het verhelpen van iedere storing
toestel uitschakelen
Wachten tot het apparaat stilstaat
- stroomtoevoer onderbreken
| Storing | Mogelijk oorzaak | Oplossing |
| Motor doet het nicht | - Geen netspanning - Aansluitkabel defect - Toestel overbelast (motorveiligheid werk geactiveerd) | - Zekering controleren - Laten controleren (elektromonteur) - Toestel latent afkoelen. Druk op de 1. terugzetknop (motorveiligheid) 2. groene knop① om opnieuw in te scha-kelen. |
| Motor bromt, maar doet het nicht | - Snijwals geblokkeerd - Condensator defect | - Toestel uitschakelen. Schakel de draairichtingsschakelaar in de positie. Toestel inschakelen tot de blokkering is verwijderd. Toestel waar uitschakelen. Zet de draairichtingsschakelaar terug in de positie - Apparaat ter reparatieশ de fabrikant of de door hem genoemde firma sturen. |
| Hakselmateriaaal wordt nichtশশশশশ electratrix | - De snijwals looptijkenit. Schakelaarpositie Niet correct. - Materiaal zit klem in de trechter (materialopstuwing) | - Toestel uitschakelen en draairichtings-omschakelaar omschakelen. - Toestel uitschakelen. Schakel de draairichtingsomschakelaar in de positie. Toestel inschakelen, zatat het hakselmateriaaal worden vrijgeveen,evt. verontreinigingen verwijderen. Toestel waar uitschakelen. Om verder te werken schakelt u de draairichtingsomschakelaar waar in de positie terug. - Met een tak doorschuiven en hakselen - Tegenplaat zoals bij „Instellen van de gegenplaat" is beschreiben instellen, bij sterke slijtage snijwals verrangen. |
| Materialaal wordt nicht goed doorgesnoden. | - Tegenmes Niet voldoende ingesteld. | - Tegenmes instellen. |
| Apparaat begint wel te lopen,শশশশ electratrix | Verlengingskabel te lang of te dun. Stopcontact te ver van de hoofdaansluiting verwijderd en te dunne aansluitleiding. | Verlengingskabel minstens 1,5 mm², max. 25 meter lang. Bij langere kabels doorsnede minstens 2,5 mm². |
Technische gegevens
| Type | 2200 | 2300 | 2400 | 2500 |
| Typ-naam | AHL 2500 | |||
| Motor | Wechselstrommotor 230 V~, 50 Hz, 2800 min-1 | |||
| Motorvermögen P1 S6 - 40 % | 2200 W | 2300 W | 2400 W | 2500 W |
| Toerental snijwals | 40 min-1 | |||
| Aan-/uitschakelaar met | beveiliging gegen overbelasting; snij- en weiteruit-functionie; nulspanninginitiator | |||
| Gewicht | 26 kg | |||
| Geluiddrukpegel LPA (de richtig van de raad 2000/14/EG) | 87 dB (A) | |||
| Gemeten geluids-niveau LWA (de richtig van de raad 2000/14/EG) | 91 dB (A) | |||
| Gegardeerde ge-luidsniveau LWA (de richtig van de raad 2000/14/EG) | 92 dB (A) | |||
| max. te verwerkende takmiddelijn (geldt alleen voor het snijden van vers hout) | Ø max. 35 mm | Ø max. 40 mm | Ø max. 40 mm | Ø max. 40 mm |
| Isolationsklasse | I | |||
| Veiligheidssoor | IP X4 | |||
| Netzekering | 16 A traag | 16 A traag | 16 A traag | 16 A traag |
| Zwitserland | 10 A traag | 10 A traag | -- | -- |
| UK | 13 A traag | 13 A traag | 13 A traag | 13 A traag |
Garantie
Houdt u alstublieft rekening met de ingesloten garantieverklaring.

| NL Reserveonderdelen | PL Częsci zamienne | S Reservdilar |
| Voor de reserveonderdelen zi de reserveonderdelen tekening. | Częsci zamiennie znajduja sie w listach częsci zamiennych lub na rysunkach. | Se reservdelarna på sprängskissen. |
| Reserveonderdelen bestellen: - bij de fabrikant -oodzakelijkgegevens bij de bestelling: •kleur van de het apparaat •reservedeel-nr. / benaming •gewenste aantal •model tuinhakselaar •typ tuinhakselaar | Zamawianie%C产业发展zamiennych: -CEEci zamiennie dostarcza producent lub dystrybutor - do niedzwedych informaciNJngežprzy skladaniu zamówienia: •kolor urzadzenia •nr%C产业发展zamiennesj / oznaczenia •żadana ilosć •model rozdrabniacza ogrodowego •nazwa rozdrabniacza ogrodowego | Reservdelsbeställning: -Referenskälläär tillverkaren -Erforderliga uppgifter vid beställning: •Färeg på maskinen •Reservdelsnummer / Beteckning •Önskat antal •Model av kompostkvarn •Typ |
| Voorbeeld: rood, 380032/ behuizingafdekking, 1, proViel ALH 2400, ALH 2500 | przyk Vlad: czerwona, 380032/pokrywa obudowy, 1, proViel ALH 2400, ALH 2500 | Exempel: röd, 380032/husbekländnad, 1, proViel ALH 2400, ALH 2500 |
SimpelGids