ALH 2500 - Generatore ATIKA - Manuale utente e istruzioni gratuiti
Trova gratuitamente il manuale del dispositivo ALH 2500 ATIKA in formato PDF.
Domande degli utenti su ALH 2500 ATIKA
0 domanda su questo apparecchio. Rispondi a quelle che conosci o fai la tua.
Fai una nuova domanda su questo apparecchio
Scarica le istruzioni per il tuo Generatore in formato PDF gratuitamente! Trova il tuo manuale ALH 2500 - ATIKA e riprendi in mano il tuo dispositivo elettronico. In questa pagina sono pubblicati tutti i documenti necessari per l'utilizzo del tuo dispositivo. ALH 2500 del marchio ATIKA.
MANUALE UTENTE ALH 2500 ATIKA
Trinciatrice a cilindro silenziosa
Istruzioni per l'uso - Indicazioni per la sicurezza
Pezzi di ricambio
- Estrarre tutti i pezzi dall'imballaggio.
- Montare i piedi di supporto rispettiva-mente con due rondelle (n. 8) e i dadi autobloccanti, servendosi della chiave serradadi in do-tazione, nel conteni-tore.
- Montare l'asse delle ruote (n. 3) nel carrello con le 2 viti M6 x 50 (n. 4), le rondelle e i dadi utilizzato la chiave per viti ad esagono cavo e quella serradadi, fornite in dotazione.
- Spingere le ruote (n. 5) sull'asse.
Fissare le coperture delle ruote (n. 6) nell'asse delle ruote con un martello.
Descrizione
- Apertura ad imbuto per il materiale da triturare
- Pulsante di richiamo / Salvamotore
- Interruftore on / off
- Commutatore del senso di rotazione
- Spina di alimentazione
- Fessura di ventilazione
- Telaio
- Fessura di espulsione

Indices
Montaggio 43
Dichiarazione di conformità CE 44
Simboli: apparecchio, istruzioni per l'uso 44
Tempi di esercizio 44
Standard di fornitura 44
Utilizzo conforme alla finalità d'uso 45
Rischi residui 45
Indicazioni di sicurezza 45
Messa in funzione 46
Utilizzo del trituratore da giardino 48
Cura e manutenzione 48
Regolazione della controrama 49
Dati tecnici 49
Anomalie 50
Garanzia 50
Pezzi di ricambio 85
Dichiarazione di conformità CE
secondo la direttiva 98/37/CE
ATIKA GmbH & Co. KG
Dichiara sotto la propria responsabilità che il prodotto
Trituratore da giardino mod. AH 2500
cui fa riferimento la presente dichiarazione, soddisfa i relativi requisiti minimi di sicurezza e di salute della direttiva 98/37/CE, nonché i requisiti delle altre direttive pertinenti
procedura di accertamento di conformismo: 2000/14/CE - Appendix V.
Livello di potenza acustica misurato L_WA 91 dB (A)
livello di potenza acustico garantito L_WA 92 dB (A)

Ahlen, 20.08.2007
Simboli presenti sull'apparecchio


Prima della
messa in
funzione, leggere
e applicare
quanto contentuto
nelle istruzioni
per l'uso e nelle
norme di sicurezza

Pericolo di lancio di parti con il motore in funzione - tenere lontano alla zona di pericolo persone
estranee, nonché animali domestici e da produzione.


di alimentazione.

Prima degli
interventi di
riparazione,
manutenzione e
pulizia, spegnere il
motore e
disinserire la spina
ione.
Attenzione: lame rotanti! Non tenere le mani e i piedi nelle aperture quando l'apparecchio è in funzione.

Indossare occhiali e cuffie di protezione

Indossare guanti di protezione.

Proteggere dall'umidita.

Non gettare le apparecchiature elettriche tra i rifiuti domestici. Smaltire nel modo corretto apparecchiature, accessori e imballaggio.
Simboli delle istruzioni per l'uso

Potenziale pericolò o situazione pericolosa. La mancata osservanza di questo avviso potrebbe causare lesioni o danni materiali.

Avvisi importanti per un utilizzo conforme. La mancata osservanza di questo avviso potrebbe causare guasti.

Avvisi per l'utente. Questi avvisi aiutano l'utente a sfruttare al meglio tutte le funzionalità.

Montaggio, utilizzo e manutenzione. Qui vengono spiegate in modo chiaro le operazioni da compiere.
Tempi di esercizio
Osservareanche dispositionsi regionali sulla protezione dai rumori.
Standard di fornitura

' Una volta disimballato l'apparecchio, verificare se il contentuto della scatola
ècomplete;
presente eventuali danni imputabili al trasporto.
Comunicare immediatamente al rivenditore o al costruttore eventuali contestazioni. Non verranno presi in considerazione i reclami presentati in un momento successivo.
1 unità premontata
1asta di sostegno sinistra
1asta di sostegno destra
1asse
2ruote
2 copriruota
1 confezione di viti
1sacco di raccolta
1 manuale di istruzioni per l'uso
Utilizzo conforme alla finalità d'uso
Perutilizzatoconformella finalitàd'uso si intende la triturazione di
- rami di agli tipo fino al diametro massimo (in base al tipo di legno e alla freschezza)
- rifiuti di giardinaggio secchi, umidi, vecchi di diversi giorni alternativamente con rami.
Si esclude espresmente la triturazione di vetro, metallo, pezioni e sacchetti di plastica, pietre, scarti di tessuti, radici con la terra, rifiuti sonozza consistenza solida (ad es., rifiuti di cucina).
Il trituratore da giardino è adatto esclusivamente per l'uso privato domestico e per il giardinaggio.
Sono considerati trituratori destinati al settore domestico e di giardinaggio quelli non impiegati in giardini pubblici, parchi, centri sportivi, in Campo agricolo, forestale e commerciale.
Perutilizzoconformella finalitàd'uso si intende anche l'osservanza delle condizioni di funzionamento, manutenzione e riparazione prescritte dal costruttore e il rispetto delle norme di sicurezza containute nelle istruzioni per l'uso.
Ogni utilizzato diverso è da considerarsi come non conforme alla finalità d'uso. Il costruttore declina agli responsabilità per i danni di qualsiasi genere da cui risultanti. Il rischio ricade esclusivamente sull'utente.
Il costruttore declina agli responsabilità per i dati di qualsiasi genere che dovessero risultare da modifiche al trituratore da giardino apportate in proprio dall'utente.
L'apparecchio deve essere preparato, utilizzato e sottomosto a manutenzione solo da persona che abbiano acquisito familiarità conesso e siano a conoscenza dei rischi connessi. Gli interventi di riparazione devono essere eseguiti solo dai nostri tecnici oppure dai centri di assistenza da noi consigliati.
Rischi residui

Anche in caso di utilizzo conforme e nonostante
l'osservanza di tutte le norme di sicurezza pertinenti, potrebbero comunique sussistere rischi residui dovuti alla costruzione specifica per la finalità d'uso prevista.
I rischi residui possono essere ridotti al minimo attenendosi scrupolosamente a tutte le norme di sicurezza e usingl'apparecchio in modo conforme alla finalità d'uso.
Attenzione e cautela riducono il rischio di lesions alle persone e danni alle cose.
- Pericolo di lesioni alle dita o alle mani, se si afferra un'apertura con la mano o si arrivava al gruppo lame.
- Pericolo di lesioni alle dita e alle mani durante gli interventi di montaggio e pulizia effettuati sul gruppo lame.
- Pericolo di lesions nella zona dell'imbuto a causa della proiezione di pezzi da triturare.
- Pericolo dovuto alla corrente, in caso di utilizzo di conduttori di collegamento elettrici non a norma.
- Contatto con parti sotto tensione in caso di componenti elettrici aperti.
- Danni all'udito in caso di lavori di lunga durataenza apposite protezioni.
Nonostante tutte le contromisure adottate, potrebbero comunque crearsi chiari rischi residui.
Indicazioni di sicurezza
Prima della messa in funzione di questi utensili, leggere e osservare le seguenti norme e le norme di sicurezza in vigore nei singoli paesi. In quello modo è possibile proteggere se stessi e gli altri dal rischio di contusioni.
Conseignare le(norme di sicurezza a tutte le personne chiamate ad operare con la macchina.
i Conservare le presenti norme di sicurezza in buono stato.
Le riparazioni e il disposativo per il disinseri-mente di sicurezza, devono essere eseguite dal produttore oppure da una ditta autorizzata dallo stesso.
- Prima dell'uso, acquisse familiarità con l'apparecchio facendo riferimento alle istruzioni per l'uso.
- Non utilizzato l'apparecchio per scopi diversi da quelli previsti (si veda Utilizzo conforme alla finalità d'uso e Utilizzo del trituratore da giardino).
- Garantire un supporto sicuro e mantenere in agli momento l'equilibrio. Non sporgersi in avanti. Durante l'introduzione del materiale da triturare positizonarsi alla stessa altezza dell'apparecchio.
- Agire con la massima attenzione. Prestare attentione a quanto si sta per fare. Lavorare con coscienza. Non utilizzato l'apparecchio se si è stanchi o sotto l'influsso di droghe, alcool o medicinali. Un momento di disattenzione durante l'uso dell'apparecchio potrebbe infatti causare lesioniserie.
- Durante il lavoro, indossare occhiali, quanti da lavoro e cuffie di protezione.
- Indossare indumenti di lavoro appropriati:
non indossare indumenti ampi
- scarpe antiscivolo
- L'opercatore è responsabile nei confronti di terzi nella zona di lavoro dell'apparecchio.
- L'apparecchio non deve essere utilizzato da bambini e ragazzi di età inferiore a 16 anni.
-
Tenere i bambini lontani dall'apparecchio.
Non lasciare mai l'apparecchio senza sorvegianza.
Nonutilizzaremai l'appareccchio in presenza di estranei.
Non lasciare mai l'apparecchio incustodito. -
Tenere la zona di lavoro in ordine! Il disordine potrebbe causare incidenti. Tenere la zona di lavoro in ordine! Il disordine potrebbe causare incidenti.
Assumere una posizione di lavoro corretta, overo positizonarsi lateralmente o diaetro all'apparecchio. Non sostare mai nella'area dell'apertura di espulsione.
Non afferrare mai l'aperture di riempimento o di espulsione. - Tenere il viso e il corpo lontani dall'apertura di riempimento.
- Non sovraccaricare l'apparecchio! Si lavora al meglio e nella massima sicurezza rispetto il Campo di potenza specificato.
- Mettere in funzione l'apparecchio solo con i dispositivi di protezione completi correttamente montati; sull'apparecchio non modificare nulla che possa comprometerne la sicurezza.
- Non modificare il numero di giri del motore, in quanto questo regola la velocità di lavoro massima sicura e protege il motore e tutte le sue parti rotanti da danni causati da un'ecccessiva velocità.
- Non mettere in funzione l'apparecchio perché l'imbuto di riempimento.
Non modificare l'apparecchio o parti diesso.
Collegare l'apparecchio prima di accendere il motore. - Non spruzzare acqua sull'apparecchio. (Fonte di pericolò corrente elettrica).
- Tenere in considerazione gli influssi ambientali:
non usare l'apparecchio in ambienti umidi o bagnati;
- Non lasciare l'apparecchio sotto la pioggia e non lavorare quando piove.
- lavorare esclusivamente in condizioni di visibilità sufficiente, garantire un'illuminazione adeguata.
- Per evitare il pericolò di tagli alle dita durante i lavori di montaggio o di pulizia tenere fermo l'apparato di taglio e indossare dei quanti di protezione.
-
Specnere la macchina e disinserire la spina di alimentazione alla presa nei seguenti casi:
-
Lavori di riparazione
- Eliminazione di anomalie
- Controlli dei conduttori di collegamento per accertarsi che non siano aggrovigliati o danneggiati
- Trasporto
- Intervention di riparazione
Sostituzione della lama -
Abbandono (anche per interruzioni di breve durata)
-
In caso di intasamenti nell'aperture di riempimento e di espulsione della macchina, spegnere il motore e disinserire la spina di alimentazione prima di rimuovere i residi di materiale.
-
Controllare se l'apparecchio presente)danni:
-
Prima di riutilizzare l'apparecchio, è necessario verificare attentamente se le protezioni funzionano in modo corretto e secondo le disposizioni.
- Controllare se le parti mobili funzionano in modo ottimale alla sua bloccarsi o se vi sono parti danneggiate. Per assicurare un funzionamento ottimale dell'apparechio, tutte le parti devono essere montate in modo corretto e devono soddisfare tutte le condizioni previste.
Le protezioni e le parti danneggiate devono essere riparate o sostuite a regola d'arte da parte di un'officina
specializzata autorizzata, salvo diversamente indicate nelle istruzioni per l'uso.
Sostituire le etichette di sicurezza danneggiate o illoggibili.
- Conservare i dispositivi inutilizzati in un luogo asciutto e chiuso lontano alla portata dei bambini.
Sicurezza elettrica
- Esecuzione dei conduttori di collegamento conformmente a IEC 60245 (H 07 RN-F) con una sezione dei fili di almeno
1,5 mm² nei cavi aventi una lunghezza sino a 25 m
2,5 mm² nei cavi aventi una lunghezza superiore a 25 m
- conduttori di collegamento lunghi e sottili producono una caduta di tensione. Il motore non raggiunge più la sua potenza massima e il funzionamento dell'apparecchio viene ridotto.
- Le spine e le prese volanti sui conduttori di collegamento devono essere in gomma, PVC morbido o altri materiale termoplastico della stessa consistenza meccanica o rivestite con quello materiaile.
- La presa a innesto del condutlore di collegamento devesse sere protetta da spruzzi d'acqua.
- Durante la posa dei conduttori di collegamento assicurarsi che non siano danneggiati o schiacciati e che il connetlore non sia umido.
- In caso di utilizzato di una bobina per cavi, svolgere completeness il cavo.
Non utilizzato il cavo per scopi per i quali non è adatto. Proteggere il cavo da calore, olio e bordi affiliati. Non utilizzato il cavo per disinserire la spina alla presa. - Controllare regolarmente i cavi di prolunga e sostituirli quando sono danneggiati.
Nonutilizzareconduttoridi collegamento difettosi. - All'aperto utilizzato solo cavi di prolunga appositamente omologati e contrassegnati in modo adeguato.
Nonutilizzarecollegamentielettrici provvisori. - Non cavallottare mai i dispositivi di protezione né metterli fuori servizio.
- Collegare l'apparecchio con l'interruttore di sicurezza per correnti di guasto (30 mA).
Il collegamento elettrico o le riparazioni sulle parti elettriche della macchina devono essere eseguita da un elettricista autorizzato o da uno dei nostri centri di assistenza. Attenersi alle disposizioni locali, in particolare relative alle misure di sicurezza.
Le riparazioni su altri componenti della macchina devono essere eseguite dal costruttore o da uno dei lorocentri di assistenza.
Utilizzare solo pezzi originali. L'utilizzo di pezzi di ricambio diversi potrebbe causare incidenti per l'utilizzato. Il costruttore declina agli responsabilità per i danni da cui risultanti.
Messa in funzione
- Accertarsi che l'apparecchio sia montato completeness e correttamente.
- Ai fini dell'utilizzo del trituratore, posizionarlo su una base orizzontale e solida (pericolo di ribaltamento).
Non posizionare l'apparecchio su una base lastricata o brecciata.
- Utilizzare l'apparecchio solo all'aperto. Mantenere una distanza (almeno 2 m) da una parete o da un'alto oggetto fisso.
- Prima di agli utilizzato, controllare:
- se i conduttori di collegamento presentano difetti (incrinature, tagli o simili)
nonutilizzareconduttoridifettosi
- se l'apparecchio presente danni (si veda Norme di sicurezza)
se tutte le viti sono serrate
(1) Allacciamento alla rete
- Confrontare la tensione specificata nella targhetta con la tensione di rete e collegare correttamente l'apparecchio alla presa correspondente.
Utilizzare cavi di prolunga consezione sufficiente
Protezione
| Svizerra | UK | ||
| 2200 W | 16 A inerte | 10 A inerte | 13 A inerte |
| 2300 W | 16 A inerte | 10 A inerte | 13 A inerte |
| 2400 W | 16 A inerte | 13 A inerte | |
| 2500 W | 16 A inerte | 13 A inerte |
Interruttore On/Off
Non utilizzato apparente il cui interrottore sia dificile da attivare e disattivare. Gli interruttori danneggiati devono essere immediatamente riparati o sostituiti dal servizio clienti.

Accensione Premere il pulsante verde ①
Spegnimento Premere il pulsante grosso ①
Protezione contro il riavvio in mancanza di corrente
In mancanza di corrente, l'apparecchio si spegne automaticamente (dispositivo di attivazione della tensione di sbilanciamento). Per riaccendere l'apparecchio, premere nuovamente il pulsante verde.
Salvamotore
Il motore è dotato di un interruttor di protezione e si spegne automaticamente in caso di sovraccarico. Dopà una pausa di raffreddamento (circa 5 min.), il motore può essere nuovamente acceso. Premere
- tasting di ripristino (salvamotore)
- pulsante verde I per la riaccensione (1)
Commutatore del senso di rotazione
Azionare il commutatore del senso di rotazione solo se la trinciatrice è spenta (disinserita).
Posizione

Il materiale viene trascinitato dal cilindro portalame e trinciato.

Posizione
Quando il commutatore del senso di rotazione è statoMESSO nella posizione,mantere premuto il pul-sante verde dell'interruttore on/off. Il cilindro portalame viene posizionato nella direzione opposa.Quando si rilascia l'interruttore on/off,la trituratrice rimane ferma automaticamente.
Suggerimenti
- Oggetti o peszi di legno grande, dopo diversi azionamenti vengono rimossi sua dal dispositivo di taglio che da quello di scatto.
- Per rimuovere gli oggetti rimasti bloccati, dall'imbuto di entrata o alla fessura di espulsione, utilizzato un pressino o un gancio.
Prima di reinserire la trinciatrice, attendere SEMPRE che但这a si sa fermata completeness.
Impedenza di rete
In caso di condizioni della rete sfavorevole, durante l'accensione dell'apparecchio possono verificarsi brevi cadute di tensione che possono danneggiare altri dispositivi (ad es., sfarfallo di una spia).
Per escludere guasti, osservare le impedenze di rete massime indicate nella tabella.
| Potenza assorbita P1 (W) | Impedenza di rete Zmax(Ω) |
| 2200 | 0,21 |
| 2300 | 0,21 |
| 2400 | 0,21 |
| 2500 | 0,21 |
Utilizzo del trituratore da giardino
Assumere una posizione di lavoro corretta, ovvero positizonarsi lateralmente o diaetro all'apparecchio. Non sostare mai nella'area dell'apertura di espulsione.
- I materiali più lunghi che sporgono dall'apparecchio potrebbero essere proiettati verso l'opereatore quando vengono tirati dalle lame! Mantenere una distanza di sicurezza!
Non afferrare mai l'aperture di riempimento o di espulsione.
-
Tenere il viso e il corpo lontani dall'apertura di riempimento.
-
Non portare le mani, altre parti del corpo e indumenti nel tubo di riempimento, nel canale di espulsione o in prossità di altre parti rotanti.
-
Prima di accendere l'apparecchio, verificare se sono presenti resti di materiali triturati nell'imbuto di riempimento.
Non ribaltare l'apparecchio con il motore in funzione.
-
Durante il riempimento, verificare che peszzi metallici, pietre, bottiglie o altri oggetti che non vanno triturati non finiscano nell'imbuto di riempimento.
-
Se oggetti estranei entrano nell'imbuto di riempimento o l'apparecchio inizia a emettere rumori strani o vibrazioni, spegnere immediatamente l'apparecchio e farlo fermare. Disinserire la spina ed procedere nel modo seguente:
verificare il danno
- sostituire o riparare le parti danneggiate
controllare l'apparecchio e serrare le parti allentate
Non riparare l'apparecchio se non si è autorizzati (si veda Norme di sicurezza).

Che casa si più triturare?
Si:
- rifiuti organici domestici e da giardino, come rami di siepi e di alberi, fiori appassiti, rifiuti da cucina
No:
- vetro, parti metalliche, plastica, sacchetti di plastica, pietre, scarti di tessuti, radici con la terra, resti di cibo, pesce e carne

Istruzioni particolari per la triturazione:
Inserire il materiale da triturare nell'ap-ertura per il riem-pimento dell'imbuto sempre dal lato destro.
Triturare i rami, i ramoscelli e i legni subito dopo averli tagl
- quello materiale, seccandosi, diventa molto dura; di conseguenza, il diametro massimo dei rami da sminuzzare si riduce.
Rimuovere i getti laterali in caso di rami molto ramificati.
Trattamento di rifiuti da giardino o da cucina molto acquosi e che tendono ad attaccarsi
- per evitare l'intasamento dell'apparecchio, sminuzzare quello materiale alternandolo con rifiuti legnosi.

Non fare accumulareccessivamente il materiale triturato nell'area dell'apertura di espulsione. In caso contrario, il materiale già triturato potrebbe intasare il canale di espulsione. Ciò può provocare un contraccolpo del materialeattraverso l'apertura di riempimento.
Se l'apparecchio è intasato, pulire l'apertura di riempimento e il canale di espulsione. A tal fine, specnere prima il motore e disinserire la spina di alimentazione.
Accertarsi di rispetto il diametro massimo dei rami da sminuzzare corrispondente all'apparecchio in uso (si veda网页 49). A seconda del tipo e della freschezza del legno cui po ridursi il diametro dei rami massimo da sminuzzare.
Il meccanismo per il taglio prende il materiale da sminuzzare autonomamente e除去 urti a causa della corsa lenta del cilindro da taglio.
Inversione automatica del senso di rotazione: se l'apparecchio si blocca improvvisamente si può invertire il senso di rotazione del rullo di taglio che in questo caso spinge indietro il mate-riale da sminuzzare.
disinserire l'apparecchio
- attendere che il rullo di taglio si fermi comp-etamente
- insere nuovamente l'apparecchio e insere del materiale facilemente sminuzzabile.
In caso di sovraccarico dell'apparecchio, l'interruttore dotato di salvamotore si spegne automaticamente
accendere nuovamente il trituratore dopo circa 5 min.
- se l'apparecchio non si riaccende dopo quello intervallo di tempo, consultare il paragrafo "Possibili guasti".
Cura e manutenzione
- Prima di qualiasi intervento di manutenzione
Spagnere il motore e disinserire la spina
- Indossare quanti protettivi per evitare lesioni.
L'utensile di taglio non si ferma subito dopo lo spegnimento. Prima di iniziare la riparazione o la manutenzione, attendere l'arresto di tutte le parti.
Accertarsi di rimuovere l'utensile e la chiave dopo la manutenzione o la riparazione.
-
Il trituratore da giardino non necessita di alcuna manutenzione. Per Maintainere il valore e garantire una lunga durata dell'apparecchio, osservare quanto segue:
-
lasciarelibereepulitelefessurediventilazione.
controllare le viti di fissaggio (se necessario, serrare). - dello triturazione, pulire l'apparecchio internamente ed esternamente
Per la pulizia dell'apparecchio utilizzato solo un panno umido caldo e una spazzola morbida.
Non utilizzato mai detergenti o solventi. L'utilizzo di tali prodotti potrebbe danneggiare irreparabilmente l'apparecchio. Le parti in plastica sono essere aggredite dalle sostenze chimiche.

Non pulire il trituratore con acqua corrente o idropulitrici.
- Dopo l'uso, trattare tutti i componenti metallici lucidi con olio ecologico e biologico per proteggerli alla corrosione.
Il cilindro da taglio e la lastra da taglio sono parti soggette ad usura. Tuttavia, se usate normalmente e sottoposte a regolare riaffilatura, hanno una durata di parecchi anni.
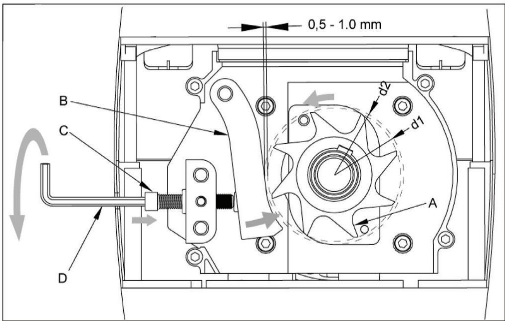
Regolazione della controlama
La controrama B può essere regolata nel cilindro portalame A alla gioco. Per un esercizio effettivo si consiglia di mantenere possibilmente una piccola distanza.
Il materiale morbido oppure i rami umidi potrebbero spaccarsi invece di venire tagliati. Anche una controrama consumata, dopo diversi azionamenti, cui可能导致 lo dilettato.
Regolazione della distanza.
Inserire l'apparecchio.
Sul lato destro del contentatore di plastica è situato un dispositivo di regolazione. Per impostare la distance ruotare la manopola di regolazione (D) verso destra, in modo che la vite (C) si muova verso il rullo di taglio. Girare finché alla
fessura di espulsione non fuiesccono dei piccoli trucioli di alluminio.

Dati tecnici
| Modello | 2200 | 2300 | 2400 | 2500 |
| Denominazione dei tipo | ALH 2500 | |||
| Motore | Motore a induzione 230 V~, 50 Hz, 2800 min-1 | |||
| Potenza dei motore P1 S6 - 40 % | 2200 W | 2300 W | 2400 W | 2500 W |
| Numero di giri cilindro portalame | 40 min-1 | |||
| Interruttore ON/OFF con: | protezione sovraccarico; funzione di taglio e di corsa inversa; interruttore di minima tensione | |||
| Peso | 26 kg | |||
| Livello di pressione acustica alizio di lavoro LPA (direttiva 2000/14/EG) | 87 dB (A) | |||
| Livello di potenza sonora misurata LWA (direttiva 2000/14/EG) | 91 dB (A) | |||
| Livello di potenza sonora garantita LWA (direttiva 2000/14/EG) | 92 dB (A) | |||
| Diametro massimo dei rami da sminuzzare (vale solo per legno verde) | ∅ max. 35 mm | ∅ max. 40 mm | ∅ max. 40 mm | ∅ max. 40 mm |
| Classe di protezione | I | |||
| Categoria di protezione | IP X4 | |||
| Protezione della rete Svizerra | 16 A inerte | 16 A inerte | 16 A inerte | 16 A inerte |
| 10 A inerte | 10 A inerte | -- | -- | |
| UK | 13 A inerte | 13 A inerte | 13 A inerte | 13 A inerte |

Prima di rimuovere qualsiasi guasto
- Spegnere l'apparecchio
- Attendere l'arresto dell'apparecchio
- Disinserire la spina di alimentazione
| Disturbo | Possibile causa | Eliminazione |
| Il motore ronza, ma non si avvia | - Manca la tensione di rete - Cavo di connessione difettoso - Apparecchio sovraccarico | - Controllare il dispositivo di sicurezza -fare controllare (da un elettricista) -Lasciare raffreddare l'apparecchio.Per il reinserimento premere il 1. pulsante di richiamo (salvamotore)2. pulsante verde① |
| Il motore ronza, ma non si avvia | - Cilindro da taglio bloccato - Condensatore difettoso | - Disinserire l'apparecchio.Mettere il commutatore del senso di rotazione nella posizione. Inserire l'apparecchio finché non è stato rimioso il bloccaggio. Inserire nuovamente l'apparecchio. Mettere il commutatore del senso di rotazione, indietro, nella posizione. Portare l'apparecchio dal produttore o alla ditta da luiindicataper la riparazione. |
| Il materiale da sminuzzare non viene afferrato | - Il cilindro portalame si muove all'indietro.La posizione dell'interruttore è sbagliata.- il materiale da sminuzzare-Materiale da sminuzzare troppo molle/bagnato- Logoramento del cilindro da taglio | - Disinserire l'apparecchio e invertire il commutatore per il senso di rotazione.- Disinserire l'apparecchio. Mettere il commutatore del senso di rotazione nella posizione. Inserire l'apparecchio, in maniera tale che il materiale triturato venga sbloccato, eventualmente rimuovere le impurità.Disinserire nuovamente l'apparecchio. Per continuare a lavorare con l'apparecchio,METTERI IL COMMUTATORDel senso di rotazione, indietro, nella posizione. -Introduire un ramo e sminuzzare.- Regolare la contropiasta come descripto nel punto "Regolazione della contropiasta", in caso di evidente usura del cilindro portalame sostituirlo. |
| Il materiale da sminuzzare noniene tagliato in modo corretto | - La controlama non è sufficientemente regolata | - Regolare la controlama |
| L'apparecchio si avvia, però si blocca al minimo carico esispagne tramite il salvamotore. | La prolunga è troppo lungo o la sua sezione è troppo piccola. La presa è troppo lontana dall'allicciamento principale e la linea elettrica ha la sezione troppo piccola. | La prolunga devese essere lunga max. 25 m, con una sezione di almeno 1,5 mm2. In caso di cavi più lunghi, la sezione devese essere di almeno 2,5 mm2 |
Garanzia
Si prega di fare riferimento alla dichiarazione di garanzia allegata.

ManualeFacile