Bravia KD55XG8577 - Televizorius SONY - Nemokama naudojimo instrukcija
Raskite įrenginio instrukciją nemokamai Bravia KD55XG8577 SONY PDF formatu.
Questions des utilisateurs sur Bravia KD55XG8577 SONY
0 question sur cet appareil. Repondez a celles que vous connaissez ou posez la votre.
Poser une nouvelle question sur cet appareil
Atsisiųskite instrukciją savo Televizorius PDF formatu nemokamai! Raskite savo instrukciją Bravia KD55XG8577 - SONY ir vėl perimkite savo elektroninį įrenginį. Šiame puslapyje skelbiami visi dokumentai, reikalingi jūsų įrenginio naudojimui. Bravia KD55XG8577 prekės ženklo SONY.
NAUDOJIMO INSTRUKCIJA Bravia KD55XG8577 SONY
Televizora montažai pie sienas izmantojiet sienas montažas kronsteinu SU-WL450.
Piezime
Gaisacirkulacija tiek bloketa.

Piezime
Ja velaties vadus vadit caur sienu, izveidojiet siena. caorum un ievietojiet vadus pirms uzstadiisanas. Lai nesaspiestu vadus, izveidojiet siena caorum nedaudz sanus no pamatnes (20) A, pamatnes adapteris 1 un starplikas (20) E, starplikas (60) K perimetra.
Skatiet televizora komplektacija ieklauto atsaues rokasgramatu.
Piezime
Kabela vilksanu cauri sienai uzticiet licencetam specialistam.
Sasaistiet savienojos kabelus, lai nepiejautu iespeju uz tiem uzkapt pirms montazas pie sienas.
5 Atvienojiet no televizora galda stativu.
- Nonemiet galda stativa puses pa vienai. Stingri turiet galda stativu ar abam rokam, kamer paligi pace! televizoru.

KD-85XG85□□

KD-75XG87□□,KD-75XG85□□
- Atkartojiet ieprieksejo daribibu un nonemiet galda stativa otrupusi.
Piezime
Lai atvienotu galdativu, nepieiesama vismaz triscilveku palidziba.
- Galda stativu nedrikst atvienot no tevizora ar parmeregiu speku, jo tadejadi tevizors var nokrist un radit traumas vai tevizora bojajumus.
- Veicot daribas ar galda stativu, ieverojiet piesardzibu, lai noverstu televizora bojumus.
Ja galda stativs nav nostiprinats, uzmanieties, celot televizoru, jo stativs var gazties un radit traumas.
- Uzmanieties, nonemot televizoram gald stativu, lai nepiejautu televizora apgansanos un virsmas, uz kuras balstas televizors, sabojasn.
KD-65/55XG87□□,
KD-65/55XG85□
1 Izskruvejiet televizora aizmugure esosas skruves.

2 Piestipriniet sienas montažas kronsteina stiprinajuma elementus. Parbaudiet stiprinajuma elementus, skatot 5. Iappuse sadalias "Detaju parbaude" nodalu "Komplektar SU-WL450".
Piezime
Skatiet televizora komplektacija ieklauto atsaues rokasgramatu.
Piezime
Kabela vilksanu cauri sienai uzticiet licencetam specialistam.
Sasaistiet savienojos kabelus, lai nepiejautu iespeju uz tiem uzkapt pirms montazas pie sienas.
4 Atvienojiet no televizora galda stativu.
Nonemiet galda stativa puses pa vienai. Stingri turiet galda stativu ar abam rokam, kamer paligi pacel televizoru.

- Atkartojiet ieprieksejo daribbu un nonemiet galda stativa otrupusi.
Piezime
Lai atvienotu galdastivu, nepiecesama vismaz triscilveku palidziba
Galdatvatnu nedrikst atvienot no televizora ar parmeregup speku,jo tadejadi televizors var nokrist un radit traumas yai televizora boiajumus.
Veicot daribas ar galdstativu, ieverojiet piesardzibu. lai noverstu televizora bojiumus.
Ja galdativs nav nostiprinats, uzmanieties, celot televizoru. Jo stativs var gazties un radit traumas.
Uzmanieties, nonemot televizoram galdativu, lai nepielautu televizora apgasanos un virmas, uz kuras balstas televizors, sabojasan.
Televizora piestiprinăšana pie sienas
KD-85/75XG85□□,KD-75XG87□□
1 Paceliet televizoru.
Lai izvietotu piekar'sanai uz pamatnes vai pamatnes adaptera paredzetos trius B, skatiet sadalas "Uzstadisanas vietas izvele" 3. darbiba mineto tabulu 7. lpp.
- Kad turat televizoru, parliecinieties, vai tā aizmugure pieskaras pamatnei vai pamatnes adapterim.
Piezime
Turiet televizoru stingri ar abam rokam un parliecinieties, vai saite un televizora apaksmala sakrit ar krasotaju limlenti.
- Nesiet televizoru lijata un lieciet, lui viena persona, kas ir televizora pireksa, vada parejos, lui pielagotu poziciju.

- leverojiet piesardzibu, kad uzstadat televizoru pie sienas, ipasi ts attiecas uz personu, kas atbalsta televizoru no apaksas -televizors var krist, izraisot smagas traumas vai pat navi.

2 Uzstadiet televizoru uz pamatnes vai pamatnes adaptera.
Uzmanigi slidini televizoru uz leju un ievietojiet televizora aizmugure piestiprinatos trius ⑧ pamatne vai pamatnes adapteri, lai tie atbilstu atveru formali.
- Pec televizora uzstadisanas pie sienes pbaraudiet, vai trisi ⑧ ir ciesi piestiprinati pamatnei vai pamatnes adapterim.
- Lenam atlaidiet rokas, lai parliecinatos, vai televizors nekrit.

- Pec televizora uzstadijanas pie sienas, nonemiet krasotaju limlenti vai citu uzmantoto materialu no sienas.

2-a

↓


↓

↓

2-b



↓

↓

↓
BRIDINAJUMS!
- Nodrosiniet, lai televizoru neşanas laikā turetu vismaz divas personas (vismaz tris personas, ja televizora ekrans ir 75 collas vai lielaks).

3 Nesasveriet televizora apakspusi.
- Satveriet saites (f) galu un ciesi piestipriniet to pie sienas.


- Izmantojiet 5 mm diametra skruvi vai lidzvertigu (nav iekjauta komplekta).
Piezime
- Izmantojiet 5 mm diametra skruvi vai lidzvertigu (nav ieklauta komplekta).
Piezime
Tvirtinimo informacija norint naudoti „Sony" prie sienos tvirtinama laikiklj (SU-WL450)
Palaikomi modeliai:
KD-85XG85□□*/75XG87□□*/75XG85□□*/65XG87□□*/ 65XG85□□*/55XG87□□*/55XG85□□*
- Faktiniu modeliu pavadinimuose „☐☐" rodo konkrečiai kiekvienam modelui priskiriamus numerius ir (arba)Ženklus.
Pirkéjams
Siekiant apsaugoti gaminj ir uztikrinti sauguma, "Sony" grietzai rekomenduoja, kad televiziori pritvirtintu, "Sony" prekybos atstovai arba licencijuoti tiekëjai. Nemëginkite ji tvirtinti patys.
"Sony" prekybos atstovams ir tiekëjams
Tvirtindami šj gaminj, atlikdami jo reguliaria priežiura ir patikrinimā, visà démesj skirkite saugumui.
Norint pritvirtinti šj gaminj, reikia tureti pakankamai kompetencijos, ypač nustatant, ar siena galès išlaikyti televizoriaus svor. Pasirupinkite, kad „Sony“ prekybos atstovai ar licencijuoti tiekëjai pritvirtintu šj gaminj prie sienos. Tvirtinant pakankamas demesys turi buti skirtas saugumui. „Sony“ néra atsakinga už jokižalā ar sužalojimus, kilusius del netinkamo pernesimo ar montavimo.
Kad saugiai ir tinkamai sumontuotumete, vadovakites prie sienos tvirtinamo laikiklio instrukcijomis, televizijos nustatymo vadovu ir sio vadovo nurodymais.
Sauga
Norint sumontuoti sigi gaminji, reikia tureti pankankamai kompetencijos. Del montavimo kreipkites j.Sony prekybos atstovus ar licencijuotus tiekjus, o montavimo metu ypatinga demesi skirkite saugai.Sony" nera atsakingua už jokia zaar suzaoljimus, kilusiudel neteisingo pernesimo ar montavimo arba montuojan kitus, nei nurodyti, gaminius.Jus teisems pagal jstatyma (jei tokiu yra) tai itakos neturi.
"Sony" prekybos atstovams
Norint sumontuoti sj gaminj, reikia tureti
pakankamai kompetencijos. Atidziai
perskaityike sia naudojimo instrukcija,
kad montavimo darbus atliktumete
saugiai. "Sony" nera atsakinga u' jokia
zala ar suzaolijmus, kilusius del
neteisingo pernesimo ar montavimo.
Baige montavimo darbus atiduokite sj
vadova pirkejui.
Sioje naudojimo instrukcijode rodoma, kaip teisingai elgtis su gaminiir pateikiamos svarbios atsargumo priemones, kurij reikia laikytis, kad butu isvengta nelaimungu atsitikimu. Atidzai perskaitykite sj vadova ir teisingai nudokite gaminj. Pasilikite sj vadova, kad galetumete jj perziureti ateitye.
"Sony" gaminial sukurti galvojan apie sauga. Jei gaminial naudojam neteisingai, gali kilti gaisras, galima patirti elektrs smugj. gaminys gali nuvirsti ar uzkristi ir taip rimtai suzaloti. Laikykites atsargumo priemoniu del saugos, kad isvengtumete tokiu nelaimingu atsitikimu.
Pagaminta Kinijoje
DÉMESIO
Tinkami gaminiali
Sis prie sienos tvirtinamas laikiklis skirtas tam tikriems TV. Noredami patikrinti, su kuriais televizoriais galima naudoti prie sienos tvirtinama laikikli, zr .Nuorodinj vadova.
Pirkéjams
JSPÉJIMAS
Nesilaikant toliau pateiktuy atsargumo
priemoniu, gali kitti gaisras, galima patirti
eletkros smugi arba gaminys gali nukristi
- del to galima rimtai susizaloti ar net
zuti.
Pasirupinkite, kad montavimo darbus atliktu licencijuoti tiekëjai, o montavimo metu neleiskite arti buti maziems vaikams.
Jei prie sienos tvirtinamas laikiklis arba TV sumontuoti netinkamai, gali jyvkti toliau nurodyti nelaimingi atsitikimai. JSitikinkite, kad montavimo darbus attieka licencijuoti tiekëjai.
TV gali nukristi ir rimtai suzaloti galite patirti sumusirmu arba luzi.
- Jeigu siena, ant kurios montuojamas prie sienos tvirtinamas laikiklis yra nestabili, nelygi ar nestatmena grindims, jrenginys gali nukristi ir suzaloti arba sugadinti turta. Siena turetu buti pakankamai tvira, kad iiakytyu bent keturis kactus didesnj svori nei TV. (Noredami suzinoti televizoriaus svorj, zr. jo Nuorodjin vadova.)
- Jeigu prie sienos tvirtinamas laikiklis bus sumontuotas nepakankamai tvirtai, jrenginys gali nukristi ir suzaloti arba sugadinti turta.
TV pernesimo ar isemimo darbus patikekite licencijuotiems tiekjams.
Jei TV transportavimo ar išemimo darbus atlkitu ne licencijuoti tiekëjai, TV gali nukristi ir suzaloti arba sugadinti turt. Užtikrinkite, kad televizoriu nestu ar ismontuotu ne maziau nei du asmenys (trys ar daugiau asmenu, jié TV komplektas yra 75 coliu ar didesnis).
Sumontave TV, neissukite sraigtu ar kt. daliu.
Jei tai padarysite, TV gali nukristi ir suzaloti arba sugadinti turt.
Nekeiskite prie sienostvirtinamo laikiklio daliu.
Jei tai padarysite, prie sienos tvirtinamas laikiklis gali nukristi ir suzaloti arba sugadinti turt.
Nemontuokite kitos jrangos, išskyrus nurodyta gaminj.
Sis prie sienos tvirtinamas laikiklis skirtas naudoti tik su nurodytu gaminiu. Jeigu montuosite kita, nei nurodyta, jranga, ji gali nukristi arba luztti, todel suzaloti arba sugadinti turt.
Prie sienos tvirtinamo laikiklio neapkraukite didesne, nei TV apkrova. Nekraty kite TV kairen / desinen arba aukstyn / zenym.
Jei tai padarysite, TV gali nukristi ir suzaleti arba sugadinti turt.
Nesilenkite ir nesikabinkite ant TV.
Nesilenkite ir nesikabinkite ant TV, nesjis gali ant jusu uzkristi ir rimtai suzaloti.
DÉMESIO
Nesilaikant toliau nurodytu atsargumo
priemoniu, galima susizaloti arba
sugadinti turt.
Valydami gaminj ar atlikdami jo technine prižiūrā, neveikite jo per didele jęga.
Nespauskite TV is virsaus per stipriai. Jei tai padarysite, TV gali nukristi ir suzaloti arba sugadinti turt.
Atsargumo priemonés
- Jei TV, sumontuota ant prie sienos tvirtinamo laikklio naudosite ilga laika, siena uz TV ar virsjo gali nublukti arba tapetai gali atskiljuoti, prikrausomai nuoi to, iš kokiu medziagu pastatyta siena.
- Nuemus prisukta prie sienos tvirtinam laikiklj, sienoje liks sraigtu padarytos skyles.
- Nenaudokite prie sienos tvirtinamo laikiklio tokiose vietose, kur ji veiktu mechanine vibracija.
Prie sienostvirtinamo laikikliomontavimas
"Sony" prekybos atstovams
JSPÉJIMAS
Toliau nurodyto instrukcijos skirtitos tik "Sony"tiekjams.Perskaitykite pirmiau pateiktas atsargumo priemones ir montuodami, eksploatuodami bei tikrindamisi gaminj ypatinga demesj skirkite saugai.
Nemontuokite priesenos tvirtinamo laikiklioant sienos tokioje vietoje,kur TV kampai arba sonaiissikištu už sienospaviršiaus.
Nemontuokite prie sienos tvirtinamo laikiklio ant kolony ar panasiuy pavirsiuy, kur TV kampai arba sonai issikiustuyuz sienos pavirsiaus. Jei asmuo ar objektas uzkliudytu issikiusuj TV kampaarsona, sis gali suzaletoi arba sugadinti turt.

Nemontuokite TV virš oro kondictionieriaus arba po juo.
Jei ant TV laša vanduo arba jj ilga laika veikia oro srautas iš oro kondictioneriaus, gali kilti gaisras, galima patirti elektros smugj arba TV gali sugesti.
Pasirupinkite, kad priesienos tvirtinamas laikiklis butu patikimai prritvirtantas prie sienos, laikantis siame vadove pateiktu instrukciju.
Jei kuris nors sraigtas atsilaisvintu ariskristu, priere sienos tvirtinamas laikiklis gali nukristi ir suzaloti arba sugadintu turt. JSitikinkite, kad naudojate sienos medziagai tinkamus sraigtus ir patikimai pritvirtinkite jrangaketurias ar daugiau 8 mm skersmens (arba atitinkamais) sraigtais.

Tiekiamus sraigtus ir
priedu dalis naudokite
tinkamai, laikydamiesi
siame vadove pateiktu
instrukciju. Jei
naudojame pakaitalus,
TV gali nukristi ir kā
nors sužaloti arba
suggesti.
Pasirupinkite, kad
laikiklis butu surinktas
tinkamai, vadovaujantis
siame vadove
pateiktomis
proceduromis.
Jei kuris nors sraigtas atsilaivintu ar i skristu, TV gali nukristi ir sugesti arba ka nors suzaaloti.
Pasirupinkite, kad sraigtai buty patikimai jsukti reikiamose vietose.
Jei to nepadarysite, TV gali nukristi ir sugesti arba kā nors sužaloti.
Bükite atsargus, kad montavimo metu TV nebūtuy sutrenktas.
Sutrenkus TV, jis gali nukristi arba perluzti. Taip galima susizaloti.
Jsitikinkite, kad TV montuosite ant statmenos ir ploksios sienos.
Jei to nepadarysite, TV gali nukristi ir suzaloti.
Teisingai sumontave TV, tinkamai pritvirtinkite laidus.
Jei zmones ar objektai jsipainios tarp kabeliu, gali buti suzaloti zmones arba sugadintas TV.
Saugokite, kad KS maitinimo laidas arba jungiamasis kabelis nebutu suspausti.
Jei KS maitinimo laidas arba jungiamasis
kabelis būtī prispaustas tarp i'renginio ir
sienos arba per jega sulenktas ar suspaustas,
gali išlsti vidiniai laidininkai, todél gali ivykti
trumpsis jungimas arba nutrūkti elektrós
tiekimas. Del to gali kilti gaisras arba galima
patirti elektrós smügi.

Sraigtai, kuriq reikia priesienos tvirtinamlaikikliui montuoti priesienos,neprideti.
Montuodami prie sienos tvirtinama laikikli, naudokite sienos medziagai tinkancius sraigtus.
Turinys
Pasiruosimas montuoti. 5
Daliu patikrinimas. 5
Montavimo vietos pasirinkimas 6
Pagrindo montavimas prie sienos 8
Pasiruosimas tvirtinti TV. 9
KD-85/75XG85□□,KD-75XG87□□
KD-65/55XG87□□,KD-65/55XG85□□.11
TV tvirtinimas prie sienos. 13
KD-85/75XG85□□,KD-75XG87□□ 13
KD-65/55XG87□□,KD-65/55XG85□□.15
Montavimo darby užbaigimo
patvirtinimas 18
Kita informacija 18
Techninai duomenys. 18
TV montavimas prie sienos
Montavimo procedura skiriasi priklausomai nuo TV.
Noredami pritvirtinti televizoriu prie sienos, naudokite prie sienos tvirtinamlaikikli SU-WL450.
Pastaba
- Issuktus sraigtus butinai laikykite saugioje, vaikams nepasiekiamoje vietoje.
Pasiruosimas montuoti
Pries montuodami pasidekite po ranka televizijos nuorodinj vadovar nustatymo vadova.
Pries montuodami jsitikinkite, kad turite sraigtams tinkama kryzminj atsuktuva.
- Patikrinkite TV montavimo vieta.
- Pasiruoskite keturis ar daugiau 8 mm skersmens sraigtus ir viena 5 mm skersmens arba atitinkamagraigta (neprideti).
Pasirinkite sienos medziagai tinkamus sraigtus.
Daliç patikrinimas
Tieklama kartu su SU-WL450
- Isitikinkite, kad yra visos dalys.
| A Pagrindas (20) (1) B Skriemulys (2) | |
| ◎ Sraigtai PSW 6x20 (4) | ◎ Sraigtas PSW 4x20 su ivore (2) |
| ◎ Tarpiklis (20) (2) F | Diržas (1) |
| ◎ Ivorè (20) (M4) (2) | ◎ Sraigtai PSW 4x20 (2) |
| ①Pagrindo adapteris (2) | ◎ Sraigtai PSW 4x10 (8) |
| ◎ Tarpiklis (60) (2) L | Sraigtai PSW 6x50 (2) |
| ◎ Ivorè (M4) (2) | ◎ Sraigtai PSW 4x50 (2) |
Montavimo vietos pasirinkimas
1 Nusprskite, kurioje vietoje montuosite.
Isitikinkite, ar ant sienos pakanka vietos televizoruii ir ar ji galès atlaikyti svorj, bent keturis kartus didesnj už televizoriaus.
Zr. toliau pateikta lentele, kur rasite informacijos apie televizoriaus tvirtinima prie sienos.
Noredami sužinoti televizoriaus svorj, Žr. jo Nuorodinj vadova.

Vienetai: mm
| Modelio pavadinimas | Rodyti matmenys | Ekrano išmatavimas iki centro | Tvirtinimo ilgis | |||
| a | b | c | d | e | ||
| Standartinis tvirtinimas | Kompaktiškas tvirtinimas | |||||
| KD-85XG85□□ | 1909 | 1097 | 251 | 803 | 142 | 100 |
| KD-75XG87□□ KD-75XG85□□ | 1673 | 963 | 107 | 595 | 116 | |
| KD-65XG87□□ KD-65XG85□□ | 1450 | 836 | 99 | 523 | 115 | |
| KD-55XG87□□ KD-55XG85□□ | 1231 | 713 | 106 | 468 | 115 | |
Pastaba
- Atsižvelgiant j montaža, lenteleje nurodyti skaičiai gali šiek tiek skirtis.
- Televizoriu pritvirtinus prie sienos, virsutinioji jo dalis siek tiek pasvyra i priekj.
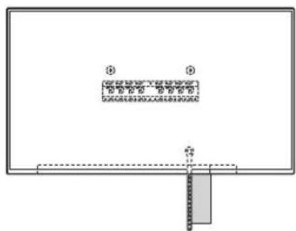
Palikite tinkama tarpa tarp TV ir lubu bei išsikišusić sienos daliu, kaip parodyta apacioje.
Vienetai: mm

Siekdami uztikrinti tinkama ventililiacija ir neleistikauptis nešvarumams arba dulkëms:
- nedekite televizoriaus ant plokstumos, netvirtinkite apversto, atbulai arba jkypai;
- nedekite televizoriaus ant lentynos, kilimélio, lovos arba j spinta;
neuzdenkite televizoriaus audiniu, pvz., uzuolaidomis, arba tokiais daiktais kaip laikrašciai ir pan;
- nemontuokite televizoriaus kaip parodyta apacioje.
Oro cirkuliacija uzblokuota.

Pastaba
- Jei norite kabelius nutiesti sienoje, padarykite sienoje anga ir pries montuodami kabelius jkiškite ja. Kad kabeliai nebutu suspausti, anga padarykite už pagrindo (20) A, pagrindo adapteris 1 ir tarpiklio (20) E, tarpiklio (60) K perimetro ribu.
2 Pasirinkite tvirtinimo prie sienos budà. Atstumā tarp TV galines pusés ir sienos reikia pasirinkti, kaip nurodyta toliau.
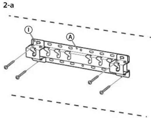
2-a Standartinis tvirtinimas
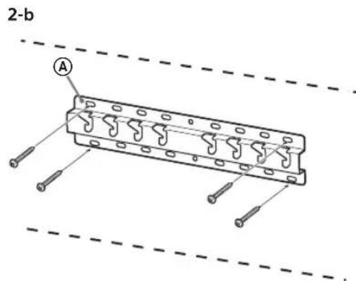
2-b Kompaktiškas tvirtinimas
Zr. j 1 veiksmo lentele.
JSPÉJIMAS
Kai pasirenkamas 2-b variantas, prieiga prie gale esanciu isvady tampa ribota.


3 Noredami sužinoti apie
pagrindo adapterio tvirtinimo
vieta, Žr. lentele toliau. Jeigu
pasirinkote 2-b budá, šj veiksma
praleiskite.
4 Nustatykite sraigtu vietas, kur montuosite pagrind (20) A.
Zr. 18 psl. pateiktus techninius duomenis.
Jei pasirinkote 2-a budq, naudokites skyliu, esanciu pagrindo adapteryje ① vietomis.
JSPÉJIMAS
Siena, ant kurios bus kabinamas TV, turetu buti pakankamai tvirta, kad išlaiktyu bent keturis kartus didesnj svorji nei TV (noredami sužinoti televizoriaus svorj, zr. jo Nuorodjin vadova.).
Nustatykite sienos, ant kurios bus kabinamas TV, tvirtuma. Jei reikia, pakankamai sutvirtinkite siena.
Pagrindo montavimas priesenos
-
Naudokite keturis ar daugiau 8 mm skersmens arba atitinkamus sraigtus (neprideti).
-
Keturis sraigtus prakiškite per pagrindo adapteryje ① esancias angas ir sujunkite su pagrindu (20) A (tik 2-a).
-
Sumontuokite pagrinda (20) ④ horizontaliai ant sienos.


Pasiruosimas tvirtinti TV
Nustatymo vadove perziurèkite, kaip montuoti stova.
KD-85/75XG85□□
KD-75XG87□□
1 Paźymekite montavimo vieta ant sienos.
- Naudokite, pvz., maskuojamajauosta (nepateikiama), televizoriaus vietai pazymeti salia pagrindo arba pagrindo adapterio. Zr. kita lentele.

Vienetai: mm
| Modelio pavadinimas | Žyméjimo ilgis | Ekrano išmatavimas iki centro | ||
| a | b | c | d | |
| KD-85XG85☐☐ | 1909 | 683 | 200 | 251 |
| KD-75XG87☐☐ | 1673 | 468 | 200 | 107 |
| KD-75XG85☐☐ | ||||
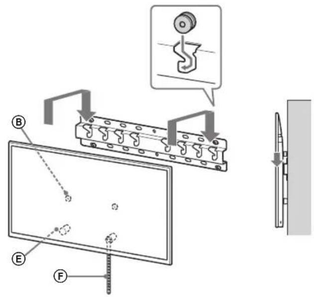
2 lssukite televizoriaus uxpakalineje dalyje esancius varztus.

3 Pritvirtinkite prie sienostvirtinamo laikiklio tvirtinimodalis.Perziurekite skyriu Daliupatikrinimas" -Tiekiama kartusu SU-WL450"5 psl.ir patikrinkite tvirtinimo dalis.
Pastaba
Sraigtais gerai prritvirtinkite papildomas dalis.
Kai naudojate elektrinj atsuktuva, sukimo momenta nustatykite iki 1,5 N·m {15 kgf·cm}.
- Panaudotas ar nepanaudotas dalis laikykite saugioje vietoje, jei ju prireiktu ateityje. Kad galetumete pasiziureti ateityje, issaugokite sj vadova.

Standartinis tvirtinimas (2-a)
Kompaktiškas tvirtinimas (2-b)
Pastaba
- Jei naudosite šj tvirtinimo budā, negalesite naudoti kai kuriu televizoriausugaréleje esanciu lizdu.


4 Prijunkite prié TV reikiama (-us) kabelj (-ius).
Kabelius prijunkite pries tvirtindami TV priesienos. Kai TV bus pritvirtantas, kabeliuprijungti nebegalésite.
Zr. kartu su televizoriumi tiekiama. Nuorodinj vadova.
Pastaba
- Kabelio tiesimā per sienā patikékite licencijuotam atstovui.
Pries montuodami jrenginj ant sienos, suriskite laidus, kad ant ju neuziaptumete.
5 Atjunkite ant stalo pastatomstov\n\n
- Ant stalo pastatoma stovanauimkite po viena dal. Tvirtai laikykite ant stalo pastatoma stovadviem rankomis, kol kiti zmones kelia televizoriu.

KD-85XG85□□

KD-75XG87□□,KD-75XG85□□
- Pakartokite anktesnj veiksmaj ir nuimkite kitaj ant stalo pastatomo stovodalj.
Pastaba
- Ant stalo pastatomam stovui nuimti reikia triju arba daugiau zmoniu.
- Nuimdami ant stalo pastatoma stovana nuotelevizoriaus nenaudokite per daug jegos,nes TV komplektas gali nukristi,ir del to gali butu suzalotaszmogus arba fiziiskai sugadantas tevizorius.
- Su ant stalo pastatoma stovu elkites atsargiai, kad nepažeistumete televizoriaus.
Bukite atsargus keldami televizoriy, kai atjungiamas ant stalo pastatomas stovas, nes ant stalo pastatomas stovas gali nuvirsti ir suzeisti zmones. - Atsargiai nuimkite ant stalo pastatoma stova nuo televizoriaus, kadjis nenuvirsti ry nasugadintu televizoriaus, kuris yra ant jo uzdetas, pavirsiaus.
KD-65/55XG87□□,
KD-65/55XG85□
1 Issukite televizoriaus užpakalineje dalyje esancius varžtus.

2 Pritvirtinkite prie sienostvirtinamo laikiklio tvirtinimodalis.Perziurekite skyriu Daliupatikrinimas" -Tiekiama kartusu SU-WL450" 5 psl. irpatikrinkite tvirtinimo dalis.
Pastaba
Sraigtais gerai prritvirtinkite papildomas dalis.
Kai naudojate elektrinj atsuktuva, sukimo momenta nustatykite iki 1,5 N·m {15 kgf·cm}.
- Panaudotas ar nepanaudotas dalis laikykite saugioje vietoje, jei ju prireiktu ateityje. Kad galétumete pasiziureti ateityje, išsaugokite sj vadova.

Standartinistvirtinimas (2-a)
Kompaktiškas tvirtinimas (2-b)
Pastaba
- Jei naudosite šj tvirtinimo budā, negalésite naudoti kai kuriu televizoriausugaréle esanciu lizdu.


3 Prijunkite prie TV reikiama (-us) kabelj (-ius).
Kabelius prijunkite pries tvirtindami TV priesienos. Kai TV bus pritvirtintas, kabeliuj prijungti nebegalèsite.
Zr. kartu su televizoriumi tiekiama Nuorodinj vadova.
Pastaba
- Kabelio tiesima per siena patikekite licencijuotam atstovui.
Pries montuodami jrengini ant sienos, suriskite laidus, kad ant ju neuziaptumete.
4 Atjunkite ant stalo pastatomstovana nuo televizoriaus.
- Ant stalo pastatomá stová nuimkite po viená dalj. Tvirtai laikykite ant stalo pastatomá stová dviem rankomis, kol kiti Žmonés kelia televizoriú.

- Pakartokite ankstesni veiksmaj ir nuimkite kitagnt stalo pastatomo stovodali.
Pastaba
Ant stalo pastatomam stovui nuimti reikia triju arba daugiau zmoniu.
Nuimdami ant stalo pastatoma stovā nuo televizoriaus nenaudokite per daug jegos,nes TV komplektas gali nukristi, ir del to gali buti suzalotas zmogus arba fiziskai sugadintas televiziorius.
Su ant stalo pastatomstovu elkites atsargiai, kad nepaazeistumete televizoriaus.
Bukite atsargus keldami televizoriu, kai atjungiamas ant stalo pastatomas stovas, nes ant stalo pastatomas stovas gali nuvirsti ir suzeisti zmones.
- Atsargiai nuimkite ant stalo pastatoma stova nuo televizoriaus, kadjis nenuvirsti ry nesugadintu televizoriaus, kuris yra ant jo uzdetas, pavirsiaus.
TV tvirtinimas prie sienos
KD-85/75XG85□□,KD-75XG87□□
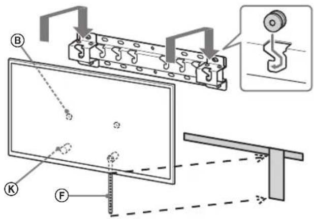
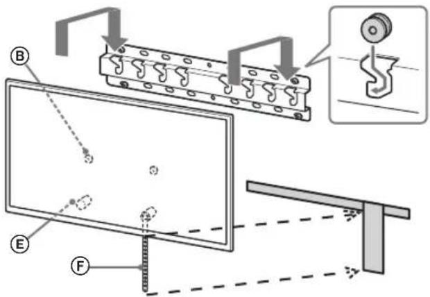
1 Televizoriaus pakelimas.
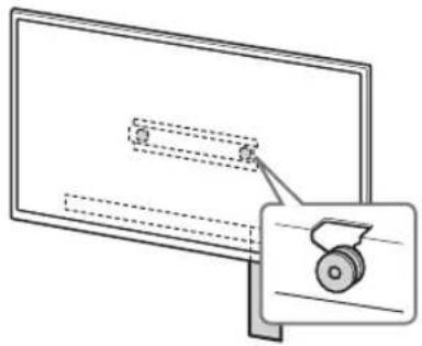
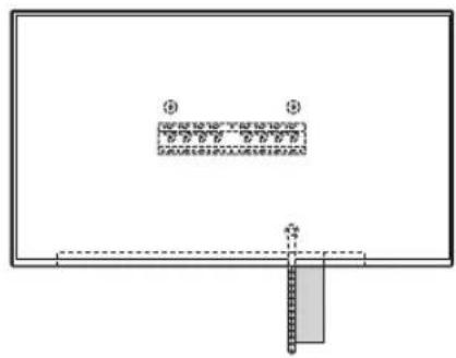
- Del skriemuliu (B), ant kuriq kabinamas pagrindas arba pagrindo adapteris, vietos zr 3 etapo lentele skyriije "Montavimo vietos pasirinkimas" (7 psl.).
Kai laikote televizoriu, jsitikinkite, kad televizoriaus nugaré liečia pagrindar paqrindo adapterji.
Pastaba
- Saugial laiky kite televizoriy abiem rankomis ir uztirkinkite, kad televizoriaus dirzas F ir apatine dalis sulvqiuota maskavimo juosta.
- Neškite televizoriu trise, ir dar reikalingas pries televizoriu einantiszmogus, kuris vadovautu kitiems ir pakorequotu padeti.

Bukite labai atsargus montuodami televizoriu ant sienos, ypa turi saugotiszmogus, kuris palaiko televizoriu is apacios, nes televizoriaus komplektas gali nukristi ir smarkiai ar net mirtinai suzeisti.

2 Televizoriaus montavimas ant pagrindo ar pagrindo adapterio.
- Atsargiai leiskite televizoriu ir prie televizoriaus nugaroles pritvirtintus skriemulius ⑧ pakabinkite ant pagrindo arba pagrindo adapterio. Kabindami jsitikinkite, kad tinkama angu forma.
- Sumontave TV ant sienos, jsitikinkite, kad skriemuliai (B) tvirtai užfiksuoti pagrinde arba ant pagrindo adapterio.
- Létai atleiskite abi rankas jsitikindami, kad televizorius nekrenta.

- Sumontave televizoriu ant sienos, nupleškite maskuojam juosta, pvz., nuo sienos.

2-a

↓


↓

↓

2-b



↓

↓

↓
JSPÉJIMAS
Uztikrinkite, kad nešama televizoriu laikytu ne maziau nei du asmenys (trys ar daugiu asmenu, jei TV komplektas yra 75 coliu ar didesnis).

3 TV apacios apsauga nuopakrypimo.
- Paimkite dirzas (F) ir tvirtai pritvirtinkite prie sienos.


- Naudokite 5 mm skersmens arba atitinkama sraigta (nepridétas).
Pastaba
Pabandykite nestipriai patraukti TV apacia tiesiaj save, kad jsitikintumete, jogjis nejuda. Jei TV nors kiek juda,jis nera teisingai prritvirtantas ir dirzas F reikia gerai prritvirtinti is naujo.
KD-65/55XG87□□
KD-65/55XG85□
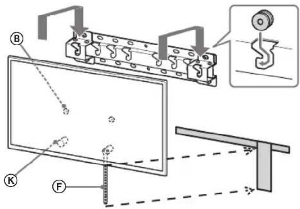
1 Televizoriaus pakëlimas.
- Del skriemuliu (B), ant kuriq kabinamas pagrindas arba pagrindo adapteris, vietos zr. 3 etapo lentele skyriije "Montavimo vietos pasirinkimas" (7 psl.).
- Kai laikote televizoriu, jsitikinkite, kad televizoriaus nugaréle liečia pagrindar pagrindo adapterj.

Pastaba
Tvirtai laiky kite televizoriy dviem rankom.
2 Televizoriaus montavimas ant pagrindo ar pagrindo adapterio.
- Atsargiai leiskite televizoriu ir prie televizoriaus nugaroles pritvirtintus skriemulius ⑥ pakabinkite ant pagrindo arba pagrindo adapterio. Kabindami jsitikinkite, kad tinkama angu forma.
- Sumontave TV ant sienos, jsitikinkite, kad skriemuliai (B) tvirtai užfiksuo ti pagrinde arba ant pagrindo adapterio.
- Létai atleiskite abi rankas jsitikindami, kad televizorius nekrenta.


2-a

2-b

↓

↓
JSPÉJIMAS
Uztikrinkite, kad nešama televizoriu laikytu ne maziau nei du asmenys (trys ar daugiu asmenu, jei TV komplektas yra 75 coliu ar didesnis).

3 TV apacios apsauga nuopakrypimo.
- Paimkite dirzas (F) ir tvirtai pritvirtinkite prie sienos.


- Naudokite 5 mm skersmens arba atitinkama sraigta (nepridétas).
Pastaba
Pabandykite nestipriai patraukti TV apacia tiesiaj save, kad jsitikintumete, jogjis nejuda. Jei TV nors kiek juda,jis nera teisingai prritvirtantas ir dirzas F reikia gerai prritvirtinti is naujo.
Montavimo darbu užbaigimopatvirtinimas
Patikrinkite toliau nurodytus dalykus.
- Skriemulaii (B) tvirtai kabo ant pagarindo arba pagarindo adaptorio.
- Ar laidai ir kabeliai nera susisuke ar suspausti.
- Ar dirzas F yra sandari, be plysiu.
JSPÉJIMAS
- Neteisingai nutiesus KS maitinimo laida ar kitus kabelius, galima patirti elektros smugj, ivykus trumpajm jungimui. Del saugumo patvirtinkite, kad montavimo darbai baigti.
Kita informacija
Nuimdami TV, anksciau aprasytaj proceduratlikite atvirkschia tvarka.

JSPÉJIMAS
Uztirkinkite, kad nuimama televizoriu laikytu ne maziau nei du asmenys (trys ar daugiau asmenu, jei TV komplektas yra 75 coliu ar didesnis).
Techninai duomenys

Matmenys: (apytiksl.) [mm]
a:400
b : 300
c:200
d:100
e:80
f:480
g : 100
h1:20(2-b atvejis)
h2:60(2-a atvejis)
Svoris (tik pagrindo): (aytiksl.) [kg]
0,8
Dizainas ir techninai duomenys gali buti keicami be jspejimo.
Navodila za uporabo nosilca za stensko montažo Sony (SU-WL450)
Podprt modeli:
KD-85XG85□□*/75XG87□□*/75XG85□□*/65XG87□□*/ 65XG85□□*/55XG87□□*/55XG85□□*
LengvasVadovas