Bravia KD55XG8577 - TV SONY - Gratis bruksanvisning och manual
Hitta enhetens manual gratis Bravia KD55XG8577 SONY i PDF-format.
Användarfrågor om Bravia KD55XG8577 SONY
0 fråga om denna apparat. Svara på dem du kan eller ställ din egen.
Ställ en ny fråga om denna apparat
Ladda ner instruktionerna för din TV i PDF-format gratis! Hitta din manual Bravia KD55XG8577 - SONY och ta tillbaka ditt elektroniska enhet i hand. På denna sida publiceras alla dokument som behövs för att använda din enhet. Bravia KD55XG8577 av märket SONY.
BRUKSANVISNING Bravia KD55XG8577 SONY
Installationsinformation for användning av Sony Väggfaste (SU-WL450)
Modeller som stöds:
KD-85XG85□□*/75XG87□□*/75XG85□□*/65XG87□□*/
65XG85□□*/55XG87□□*/55XG85□□*
^ I aktuella modellnamn anger "□□" siffror och/eller tecken som ar specifika for varje modell.
Till kunder
For att skyddaprodukten och av sakerhetsskäl rekommenderar Sony starkt att TV:n installeras av Sony-aterforsalgareller licensierade installatorer. Forsok inte att installera den sjalv.
Till Sony-Återförsäljare och installeratorer
Agnafull uppmarksamhet at sakerheten under installation, periodiskt underhall och undersokning av denna produkt.
Tillracklig expertis kravs for att installerera denna produit, speicielt for att faststalla vaggens styrka när det gäller att hälla upp TV:ns vikt. Anlita alltid en Sony-Äterförsäljare erlen licensierad installerator och ägna vederbörlig uppmärksamhet Åt sakerhet under installationen. Sony År inte ansvarsskyldiga För materiella skador erller personskador som orsakats av felaktig hantering erller felaktig installation.
För sakerhet och riktig installation, folj användarinstruktionerna für vaggfässt, TV:ns startguide och anvisiningarna ienna manual.
Om sakerhet
Tack for att du valt denna produit.
Till kunder
Installationen av denna produkt kraver att du har tillrackliga kunskaper. Se till att anlita en Sony-aterforsaljare erer en behorig montor for att utforna installationen och var särskilt noggrann med sakerheten under installationen. Sony ar inte ansvarigt for eventuella person-ller materiella skador som oraksats av felaktig hantering erer felaktig installation, erler av att annat an den specificeradeprodukten installerats. Dina eventuella lagenliga rattigheter paverkas inte.
För Sony-Äterförsäljare
Installationen avennaprodukt kraver att du har tillrackliga kunskaper.For att du skunna gora den har installationen saker maste du ta del av informationen i den har bruksanvisingen.Sony kan inte hallas ansvarigt for eventuella skador erler personskador som orsakats av felaktig anvandning ell feraktig installation.Vanligen ge den har bruksanvisingen till kunden after utford installation.
I den har bra克斯anvisingen finns instruktioner for hur Produkten anvandsamt information om sadant som du borkannà till for att undvika olyckor. Las den har guiden noga och använd produit enligt instruktionerna. Behall den har bra克斯anvisingen for framtida bruk.
Produkter fran Sony ar utformade med tanke
på sakerhet. Om produkterna emellertid
anvands felaktigt kan det leda till allvarlga
personskador till foljd av brand, elstotar uller
av att Produkten valt ullit ned.
Färebygg sadana olyckor genom att inte
asidosätta sakerheten.
SE UPP
Angivnaprodukter
Detta vaggfaste ar tillverkat for att anvandas tillsammans med passande TV-apparater. Se respektive referensguide for varje TV-apparat for att se om detta vaggfeste kan anvandas.
Till kunder
WARNING
Om foljande sakerhetsfreskrifter inte fols kan det leda till allvarlga personskador aller dodsfall som foljd av brand, elektriska stotar, attprodukten valter aller faler ner.
Överlåt installationen till behörig personal och set till att små barn inte befindner sig i narheten njr installationen utförs.
Om vaggfestet aller TV:n inte installereras pa ratt satt kan foljande olyckor ske. Se till att installationen utfors av behörig personal.
TV:n kan falla ner och orsaka allvarliga skador som skripsar erler benbrott.
- Om väggen dar väggfastet monteras inte ar stabil, jämn erller lodrät mot golvet, kan enheten lossna och orsaka skador pa person och/eller egendom. Väggen shall vara stark nog att klara en vikt pa minst fya gänger TV:ns vikt. (Mer information om vikten finns i referensguiden till TV:n.)
- Om inte installationen av vaggfistet sitter stabilt kan,enheten lossna och orsaka skador pa person och/eller egendom.
Överlåt forflyttning eller nedmontering av TV:n till behörig person.
Om obehöriga personer transporterer aller monterar ner TV:n kan den falla och orsaka allvarlga person-ller egendomsskador.Var noga med att tvä aller flera personer (tre aller filler personer for 75 tum och over TV-apparater) bar aller de-monterar TV: n.
Ta inte ur nagra skruvar etc. after att TV:n monterats.
Det kan leda till att TV:n faller ner och orsakar allvarliga person-ller egendomsskkador.
Modificera inte vaggfastets oika delar.
Da kan vaggfstet lossna och orsaka skador pa person och/eller egendom.
Montera ingen annan utrustning an den specificeradeprodukten.
Detta vaggfeste ar tillverkat enbart for
anvandning tillsammans med angiven
produkt. Om du anvander det for montering
av annan utrustning kan det lossna eller gå
sonder och orsaka skador på person eller
egendom.
Utsatt inte vaggfastet for annan belastning an den fran TV:n. Skaka inte TV:n at vänster/höger, uppät/ nedat.
Det kan leda till att TV:n faller ner och orsakar allvarliga person-ller egendomsskador.
Luta dig inte mot aller hang på TV:n.
Luta dig inte mot aller hang pa TV:n
eftersom den kan falla ner pa dig och orsaka
allvarlig skada.
SE UPP
Om du inte afterfoljer foljande sakerhetsforeskrifter finns det risk for personskador erller skador pa egendom.
Hantera encheten forsiktig\ när du rengör den ellr utfor unterhäll.
Tyng inte onodigt mycket pa TV:ns ovensida. Det kan leda till att TV:n faller ner och orsakar allvarliga person-ller egendomsskador.
- Om du anvander TV:n monterad pa vaggfastet under en langre tid, finns det risk att vaggen bakom ell er ovarian for TV:n missfargas aller att tapeten lossnar, beroende pa vaggmaterialie.
- Om du tar bort vaggfostet fran vaggen after installationen finns skruhalen kvar i vaggen.
- Använd inte vaggfäsitet på platser som ar utsatta for mekanisk vibration.
Installeravaggfustet
Till Sony- aterforsäljare
WARNING
Foljande instructuer gäller bara for Sony-äterförsäljare. Läs ovanstaende sakerhetsforeskrifter noga och slapp aldrig tanken på sakerheten, vare sig under installation, underhall eller kontroll av den harprodukten.
Installera inte vaggfastet pa en yta dar TV:ns horn ell er sidor skjuter ut fran vaggen.
Installera inte vaggfastet pa en yta, till exemplen pelare, dar TV:ns horn ell sidor skjuter ut fran vagen. Om en person erlerett foremal rakar sl emot TV:ns utskjutande delar kan det leda till allvarlig person-ller egendomsskada.

Installera inte TV:n over ullunder en luftkonditioneringsanlaggning.
Om TV:n utsats for vattenlackage erler luftstrommar fran en luftkonditioneringsanlaggnunder en langre tid kan det leda till brand, elektriska stotar ell k Funktionstörning hos TV:n.
Följ anvisingarna i den har bruksanvisingen noga sa att monteringen av vaggfustet uppfyller sakerhetskraven.
Omnagon av skruvarna sitter lost ether lossnar kan vaggfastet lossna och orsaka skador pa person ell ergerend. Se till att du anvander ratt skuvr for vaggmaterialiet och skruva fast enheten ordentligt med minst fyra skuvar pa 8 mm i diameter (eller motsvarande).

Följ anvisingarna i den har bruksanvisingen sa att de medfoljande skruvarna och monteringsdetaljerna blir anvanda pa ratt satt. Om du anvander ersättningsdetaljer kan TV:n falla ner och orsaka persorskador erler skador pa TV:n.
Se till att fästet monteras ihop korrekt enligt instruktionerna i bruksanvisningen.
Om nàgon av skruvarna sitter lõst ell er lossnat helt, kan TV:n lossna och orsaka personskador erer skador pa TV:n.
Fäst och dra Åt skruvarna på den plats)där de ar avsedda att sitta.
I annat fall kan TV:n falla ner och orsaka個人skador eller skador pa TV:n.
Utsatt inte TV:n for stotar vid installationen.
Om TV:n utsats for stotar kan den falla ner.
eller gao sonder.Detta kan orsaka
persorskador.
Installera TV:n pa en vagg som ar bade lodrat och slat.
Annars kan TV:n falla ner och orsaka個人personskador.
När TV:n installererats på rätt satt fester du kablarna ordentlich.
Om personer eller foremål trasslar in sig i kablarna kan det orsaka personskador erler skador på TV:n.
Se till att inte nätkabeln erller anslutningskabelnkommen i klam.
Om natakeln erler anslutningskabeln klams mellan encheten och vaggen, ell er bojs och vrids med vald, kan de inre ledarna i kablarna frilaggas, vilket kan leda till kortslutning eller stromavbrott. Det kan i sin tur leda till brand ell erlelektrisk stot.

Skruvarna som behövs for att skruva fast vaggfastet på väggen medfoljer ej.
Skruva fast vaggfastet med skruvar som ar avpassade after vaggmaterial et och vaggens struktur.
Innehållsförteckning
Forbereda installationen 5
Kontrollera delarna 5
Välja installationsplats. 6
Montera basen pà väggen 8
Kontrollera att installationen har slutförs.....18
Övrig information 18
Specificationer 18
Använd vaggfustet SU-WL450 for att installer a TV:n pa vaggen.
Obs!
- Var noga med att forvara de borttagna skruvarna pa en saker plats och häll dem borta frän barn.
Förbereda installationen
- Ha TV:ns referensguide och startguide till hands fore installation.
- Innan du pâborjar monteringen bör du se till att ha en Phillips-skruvmejsel som passar skruvarna.
- Kontrollera din TV:s monteringsplats.
- Forbered minst fyra skruvar med en diameter pa 8 mm och en skruv med en diameter pa 5 mm aller liknande (medfoljer ej). Valj skruvar som ar lampliga for vaggmaterialialet.
Kontrollera delarna
Medfoljer SU-WL450
- Kontrollera sa att alla delar medfoljer.
| A Bas (20) (1) B Block (2) | |
| ◎ PSW 6x20 (4)◎ P$W 4 x 20 med bussing (2) | |
| E Distans (20) (2) F | Rem (1) |
| G Bussing (20) (M4) (2) | H PSW 4x20 (2) |
| ① Basadapter (2) ② PSW 4x10 (8) | |
| K Distans (60) (2) L | PSW 6x50 (2) |
| M Bussing (M4) (2) M | PSW 4x50 (2) |
Välja installationsplats
1 Valj installationsplats.
Kontrolera att väggen ar stor nog for TV:n och att den ar stark nog for en vikt som ar fyra ganger TV:ns vikt.
Se foljande tabell betraffande att installerera TV:n pa vaggen. Se TV:ns referensguide avseende TV:ns vikt.

Enhet: mm
| Modellnamn | Bildskärmsmätt | Avständ till skärmens mittpunkt | Monteringsavständ | |||
| a | b | c | d | e | ||
| Standard- montering | Väggnära montering | |||||
| KD-85XG85☐☐ | 1909 | 1 097 | 251 | 803 | 142 | 100 |
| KD-75XG87☐☐ | 1673 | 963 | 107 | 595 | 116 | 75 |
| KD-75XG85☐☐ | ||||||
| KD-65XG87☐☐ | 1450 | 836 | 99 | 523 | 115 | 73 |
| KD-65XG85☐☐ | ||||||
| KD-55XG87☐☐ | 1231 | 713 | 106 | 468 | 115 | 73 |
| KD-55XG85☐☐ | ||||||
Obs!
Vardena i tabellen kan variera en aning beroende pa installationen.
- När TV:n monteras på väggen lutar TV:ns övre sida nagot framåt.
Se till att det finns ett tillrackigt stort mellanrum mellan TV:n och taket och utskjutande delar av vaggen enligt nedan.
Enhet: mm

- For att sakerställa lamplig ventilation och forhindra ansamling av smuts och damm:
Lagg inte TV-apparaten ner, och montera den inte upp och ned, bak och fram, eller med en kortsida uppat.
- Placerainte TV-apparaten pa en hylla, matta, sang ell er i ett skap.
Tack inte TV-apparaten med tyg, t.ex. gardiner, eller annat material som tidningar etc.
- InstallerainteTV-apparatensoomsvisanasnedan.
Luften kan inte cirkulera fritt.

Obs!
- Om du avser att dra kablarna i vagggen shaett hal for detta borras i vagggen innan installationen paborjas. Forbered ett hal i vagggen utanfor basen (20) A, basadapter 1 och distansen (20) E, distansen (60) K for att forhindra att kablarna klams.
2 Valj typ av vaggmontering. Avstandet fran TV:ns baksida till vaggen valjs enligt anvisiningarna nedan.
2-a Standardmontering 2-b Vaggnara montering
Set tabellen i steg 1.
WARNING
Nar 2-b valjs ar atkomst till uttagen pa baksidan begransad.

3 Se tabellen nedan for information om monteringsplats for basadaptern. Om 2-b valjs kan du hoppa over detta steg.
| Modellnamn Hakens placering | |
| KD-85XG85□□ | |
| KD-75XG87□□ | a |
| KD-75XG85□□ | |
| KD-65XG87□□ | |
| KD-65XG85□□ | b |
| KD-55XG87□□ | |
| KD-55XG85□□ | |

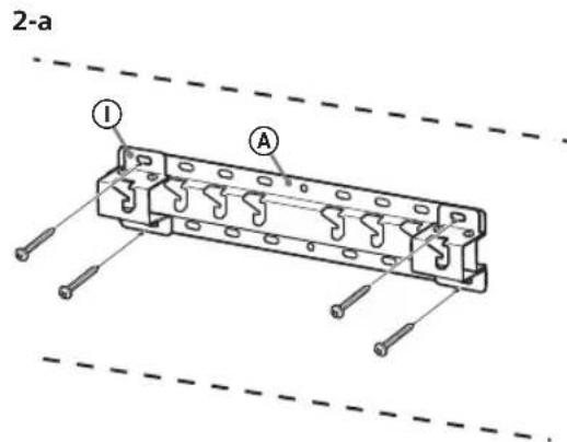
Montera basadapter ① med skruv (PSW 4x10) i bas (20) A纳税2-a valjs.

4 Avgor var skruvarna ske sitta vid montering av basen (20) A.
Se specificationserna på sidan 18.
När du valjer 2-a skå halpositionerna für basadapter ① användas.
WARNING
Den vagg som TV:n ska monteras pa maste vara stark nog attbara en vikt pa minst fyra ganger TV:ns vikt (Se din TV:s referensguide for information om dess vikt.).
Forsakra dig om att vaggen dar TV:n skall monteras ar tillrackligt stark. Forstark vaggen ordentligt om sa behovs.
Forbered minst fyra skruvar med en diameter pa 8 mm aller liknande (medfoljer ej).
Satt fyra skruvar i halen for basadapter 1 med bas (20) A (endast 2-a).
Fast basen (20) horisontellt pa vaggen.


2 Ta bort skruvarna fran TV:ns baksida.

3 Fäst monteringsdetaljerna für vaggfastet. Kontrollera monteringsdetaljerna genom att Hanvisa till "Medfoljer SU-WL450" i "Kontrolera delarna" på sidan 5.
Obs!
Fast monteringsdetaljerna ordentigt med skruvar.
- Om du anvander en elektrisk skruvdragare sca du stalla in vridmomentet pa cirka 1,5 N·m {15 kgf·cm}.
- Glöm inte att spara använda eller oanvända delar pa en saker plats for framtida användning. Sparaenna braksanvisning for framtida använding.

Standardmontering (2-a)
Väggnära montering (2-b)
Obs!
- Vissa av terminalerna på baksidan av TV:n kan inte anvandas vid detta monteringssatt.


4 Anslut nödvändiga kablar till TV:n.
Se till sa att du ansluter kablarna innan du monterar TV:n pa vaggen. Det gar inte att ansluta kablarna när TV:n ar monterad. Se referensguiden som foljde med TV:n.
Obs!
- Anlita en behörig montör für att utföra kabeldragningen i vägen.
Bunta ihop anslutningskablarna for att forhindra att de trampas pa fore vaggmontering.
5 Ta loss bordsstativet fran TV:n.
- Avlagsna en sida av bordssstativet at gangen. Hall ett fast och sakert tag om bordssstativet med bada handerna medan de andra personera lyfter upp TV:n.

KD-85XG85□□

KD-75XG87□□,KD-75XG85□□
- Upprepa foregående steg och avlågsnaden andra sidan av bordstativet.
Obs!
Treller fler personer kravs for att ta loss bordsstativet.
- Var försiktig sā att ni inte tar i med forHard kraft medan ni tar loss bordssstativet fran TV:n eftersom det kan orsaka att TV:n faller och resultera i personskada eller fysisk skada pa TV:n.
Var forsiktiga vid hantering av bordstativet for att undvika skada pa TV:n.
- Var försiktig;nar du lyfter TV:n när bordsstativet lossats, eftersom bordsstativet kan välta och orsaka personskador.
- Var försiktigningar du tar bort bordsstativ frän TV:n for atthindra den frän att ramla och skada ytan som TV:n sitter på.
KD-65/55XG87□□
KD-65/55XG85□
1 Ta bort skruvarna fran TV:ns baksida.

2 Fäst monteringsdetaljerna für vaggfastet. Kontrollera monteringsdetaljerna genom att Hanvisa till "Medfoljer SU-WL450" i "Kontrolera delarna" på sidan 5.
Obs!
Fast monteringsdetaljerna ordentligt med skruvar.
- Om du anvander en elektrisk skruvdragarecka du stalla in vridmomentet pa cirka 1,5 N-m 15kgf· cm
- Glom inte att spara anvanda eller oanvanda delar pa en saker plats for framtida använding. Sparaenna braksanvisning for framtida använding.
Standardmontering (2-a)

Väggnäramontering (2-b)
Obs!
Vissa av terminalerna pa baksidan av TV:n kan inte anvandas vid detta monteringssatt.


3 Anslut nödvändiga kablar till TV:n.
Se till sa att du ansluter kablarna innan du monterar TV:n pa vaggen.Det gär inte att ansluta kablarna när TV:n ar monterad. Se referensguiden som foljde med TV:n.
Obs!
Anlita en behörig montör für att utföra kabeldragningen i vägen.
Bunta ihop anslutningskablarna for att forhindra att de trampas pa fore vaggmontering.
4 Ta loss bordsstativet fran TV:n.
Avlagsna en sida av bordstativet at gangen. Hall ett fast och sakert tag om bordstativet med bada handerna medan de andra personera lyfter upp TV:n.

Upprepa foregående steg och avlagsna den andra sidan av bordstativet.
Obs!
Trellerfepersonerkravsforattalossbordsstativet.
Var forsiktig sa att ni inte tar i med for hard kraft medan ni tar loss bordssstativet fran TV:n eftersom det kan orsaka att TV:n faller och resultanta i personskada eller fysisk skada pa TV:n.
Var forsiktiga vid hantering av bordstativet for att undvika skada pa TV:n.
I Var forsiktig nar du lyfter TV:n nar bordstativet lossats, eftersom bordstativet kan valta och orsaka personskador.
Var forsiktig nar du tar bort bordsstativ fran TV:n for att hindra den fran att ramla och skada ytan som TV:n sitter pa.
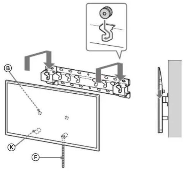
Information om var blocken (ska hänga på basen eller basadaptern finns i tabellen under steg 3 i avsnittet "Välja installationsplats" på sidan 7.
- Se till att baksidan av TV: n berör basen-ller basadaptern nr du häller TV: n.
Obs!
- Hall TV:n sakert med bada handerna och tillse att remmen och basen pa TV:n justeras till maskeringsteipen.
- Bar TV:n med tre personer och personen framfor TV:n guidar de andra for att justera laget.

-Ta stor omsorg när du installerar TV: N pa vaggena särskilt for den person som stoder TV underifran, TV-apparaten kan valta och orsaka allvariga personskador erler.t.o.m.doden.

2 Montera TV:n pa basen ellr adaptern.
Forsiktigt lát TV:n glida ner och hang block ⑧ fasta till baksidan pa TV:n till basen eller basadaptern, och tillse att formen pa halen bekraftas.
När TV:n har monterats på väggen skam man kontrollera att blocken ⑧ ar ordentlich fasta i basen eller basadaptern.
- Frigör bada händerna sakta für att sakerställa att TV:n inte faller ner.

- After montering av TV:n pa vaggen, ta bort maskeringstejpen mm. fran vaggen.

2-a

↓


↓

↓

2-b



↓

↓

↓
WARNING
- Var noga med att två eller flera personer (tre eller fler personer for 75 tum och over TV-apparater) häller TV:n nar den börs.

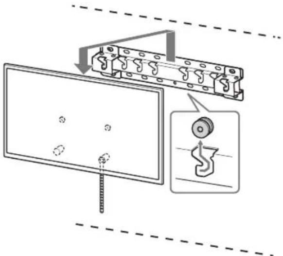
3 Forhindra att TV:ns nedre del flyttar sig.
- Spann at remmen (F) och fasp den ordentligt i vagggen.


- Använd en skruv på 5 mm i diameter aller liknande (medfoljer ej).
Obs!
- Forsok dra TV:ns nedre del mot dig for att se till att den inte rör sig. Om TV:n rör sig sitter den inte fast som den sk och remmen F maste dras at ytterligare.
KD-65/55XG87□□
KD-65/55XG85□
1 Lyft TV:n.
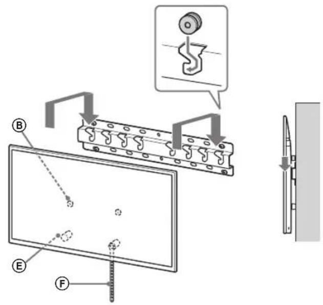
Information om var blocken (B) skahänga pa basen erler basadaptern finns itabellen under steg 3 i avsnittet Valjainstancesplats" pa sedan 7.
- Se till att baksidan av TV: n berör basen-ller basadaptern nrd du hällen TV: n.

Obs!
Forsiktigt lát TV:n glida ner och hang block ⑧ fasta till baksidan pa TV:n till basen eller basadaptern, och tillse att formen pa halen bekraftas.
När TV:n har monterats på väggen skam man kontrollera att blocken (B) ar ordentligt fasta i basen eller basadaptern.
- Frigör bada händerna sakta für att sakerställa att TV:n inte faller ner.


2-a

2-b

↓

↓
WARNING
- Var noga med att två eller flera personer (tre eller fler personer for 75 tum och over TV-apparater) häller TV:n nar den börs.

3 Forhindra att TV:ns nedre del flyttar sig.
- Spann at remmen (F) och fasp den ordentligt i vagggen.


- Använd en skruv på 5 mm i diameter aller liknande (medfoljer ej).
Obs!
Forsok dra TV:ns nedre del mot dig for att se till att den inte ror sig. Om TV:n ror sig sitter den inte fast som den ske och remmen F maste dras at ytterligare.
Kontrollera att installationen har slutförs
- Att blocken (B) hänger ordentlich på basen eller basadaptern.
- Sladden och kabeln inte har vridits eller kommit i klam.
- Remmen F ar atdragen och inte hanger slappt.
WARNING
- Felaktig placering av natakeln etc. leda till brand ellerelektriska stotar till foljd av en kortslutning.Asvakerhetsskal ar det viktigt att du konntrollerar attinstallationen har slUTForts.
Övrig information
Ta bort TV:n genom att utfora installationsforfarandet i omvänd ordning.

WARNING
- Var noga med att två eller flera personer (tre eller fler personer for 75 tum och över TV-apparater) häller TV:n nr den tas bort.
Specificationer

Matt: (cirka.) [mm]
a:400
b : 300
c : 200
d : 100
e:80
f:480
g : 100
h1:20 (fall 2-b)
h2:60 (fall 2-a)
Vikt (endast bas): (cirka.) [kg]
0,8
Design och specifikationer kan andras utan foregående meddelande.
EnkelManual