S 3004 - Padella TRUMA - Manuale utente e istruzioni gratuiti
Trova gratuitamente il manuale del dispositivo S 3004 TRUMA in formato PDF.
Domande degli utenti su S 3004 TRUMA
0 domanda su questo apparecchio. Rispondi a quelle che conosci o fai la tua.
Fai una nuova domanda su questo apparecchio
Scarica le istruzioni per il tuo Padella in formato PDF gratuitamente! Trova il tuo manuale S 3004 - TRUMA e riprendi in mano il tuo dispositivo elettronico. In questa pagina sono pubblicati tutti i documenti necessari per l'utilizzo del tuo dispositivo. S 3004 del marchio TRUMA.
MANUALE UTENTE S 3004 TRUMA
Istruzioni per l'uso
Pages 2
Da tenerelveicolo!
Indice
Simboliutilizzati 2
Scopo d'impiego 2
Truma S 3004 2
Truma S 5004 2
Avvertenze di sicurezza 3
Istruzioni per l'uso
Struttura 6
Truma S 3004 6
Truma S 5004 6
Messa in funzione 6
Accensionedelbruciatore 6
Comando del ventilatore 7
Illuminazione 7
Termostato ambiente 7
Spegnimento 7
Manutenzione 7
Pulizia del riscaldamento 7
Rimozione del pannello 7
Posizionamento del pannello 8
Sostituzione della batteria dell'acceditore automatico .... 8
Indicazioni speciali 8
Smaltimento 8
Specifiche tecniche 8
Dimensioni 9
Dichiarazione di garanzia del fabbricante
(Unione Europea) 10
Simboliutilizzati

Il simbolo indica possibili pericoli.

Pericolo di ustione! Superficie molto calda.

Indossare guanti di protezione per prevenire possibili lesioni meccaniche.

Rispettare lenorme ESD!

Nota con informazioni e raccomandazioni.
Prima di utilizzato l'apparecchio, leggere attendamente e seguire le avventenze di sicurezza e le istruzioni per l'uso.
Scopo d'impiego
Truma S 3004
Uso conforme
L'apparecchio è omologato esclusivamente per l'installazione e il funzionamento in «caravan» e «caravan per cantieri», della categoria di veicoli O, in camper (autocaravan) della categoria di veicoli M1 e in «case mobili», se l'installazione dell'impianto del gas è stata eseguita secondo la norma EN 1949. Osservare le disposizioni e regolamenti nazionali per la messa in funzione e le prove di impianti del gas (in Germania ad es. il protocollo di lavoro DVGW G 607).
Utilizzare l'apparecchio esclusivamente per riscaldare l'abitacolo del veicolo.
Per il funzionamento dell'apparecchio durante la marcia devono essere installati dispositivi che impediscano la fuoriuscita incontrolata di gas liquido in caso di distacco in seguito a incidente (secondo il regolamento UN/ECE 122).
In caso di utilizzo commerciale dell'apparecchio, il gestore è tenuto a rispetto le disposizioni di legge e di diritto assicurativo specifiche in vigore nel rispetto voaese di destinazione.
Uso non conforme
Qualsiasi uso diverso da quando indica nel paragrafo «Uso conforme» è da considerarsi non conforme e quindi non consentito. Cio si applica ad es. all'infallazione e il funzionamento in:
- autobus delle categorie di veicoli M2 e M3
- veicoli commerciali della categoria di veicoli N
- imbarcazioni e altri natanti
- baite/capanni da caccia, case vacanza o verande
É viétata l'installazione in rimorchi e veicoli adibi et al. transporte di merci pericolose.
Nonutilizzareapparecchi difettosi.
Non adoperare apparecchi installati o utilizzati contrariamente alle istruzioni per l'uso e di montaggio.
Truma S 5004
Uso conforme
L'apparecchio è omologato esclusivamente per l'installazione e il funzionamento in «caravan» e «caravan per cantieri», della categoria di veicoli O e in «case mobili», se l'installazione dell'impianto del gas è stata eseguita secondo la norma EN 1949. Osservare le disposizioni e i regolamenti nazionali per la messa in funzione è le prove di impianti del gas (in Germania ad es. il protocollo di lavoro DVGW G 607).
Utilizzato l'apparecchio escludamente per riscaldare l'abitacolo del veicolo.
Per il funzionamento dell'apparecchio durante la marcia devono essere installati dispositivi che impediscano la fuoriuscita incontrolata di gas liquido in caso di distacco in seguito a incidente (secondo il regolamento UN/ECE 122).
In caso di utilizzo commerciale dell'apparecchio, il gestore è tenuto a rispetto le disposizioni di legge e di diritto assicurativo specifiche in vigore nel rispetto paese di destinazione.
Uso non conforme
Qualsiasi uso diverso da quando indica nel paragrafo «Uso conforme» è da considerarsi non conforme e quando non consentito. Ciò si applica ad es. all'infallazione e il funzionamento in:
- «camper» della categoria di veicoli M1
- autobus delle categorie di veicoli M2 e M3
- veicoli commerciali della categoria di veicoli N
- imbarcazioni e altri natanti
baite/capanni da caccia, case vacanza o verande
É vietata l'installatione in rimorchi e veicoli adibiti al trasporto di merci pericolose.
Nonutilizzare appearecchi difettosi.
Non adoperare apparente installati o utilizzati contrariamente alle istruzioni per l'uso e di montaggio.
Avvertenze di sicurezza
Il prodotto Truma deve essere installato, riparato e sottomosto a prova di funzionamento solamente da personale qualificato nel rispetto delle istruzioni per l'uso e di montaggio e delle regole della tecnia attualmente riconosciute. Con personale qualificato s'intendono persone che, sulla base della formazione professionale, delle conoscenze e delle esperenze acquise con i prodotti Truma e le norme pertinenti, sono in grado di eseguire correttamente i lavori necessari e di individuare possibili pericoli.
Per un uso sicuro e conforme, leggere attendamente e osservare le istruzioni per l'uso e l'ulteriore documentazione fornita insieme al prodotto e conservarle per un successivo riutilizzo. Osservare le norme, le diret tive e le leggi di volta in volta in vigore.
L'inosservanza delle regole continue nelle istruzioni per l'uso e di montaggio più provocare gravi danni materiali e mettere seriamente in pericolo la salute o la vita delle persone. Dei danni derivanti risponde unicamente il gestore o l'utilizzatore dell'apparecchio.
Per poter utilizzato regolatori, appearec- chi e/o impiani a gas, è obbligatorio. utilizzato bombole del gas verticali, dalle quali il gas viene prelevato allo stato gassoso. Non è consentito l'uso di bombole del gas dalle quali il gas viene prelevato allo stato liquido (ad es.per carrelli elevatori), perché l'impianto del gas potrebbe danneggiarsi durante il funzionamento.
Cosafare se si avverte odore di gas?
-
Evitare sorgenti di innesco, ad es. spegnere tutte le fiamme libere, non azionare interruttori elettrici, ne'utilizzare Telefoni cellulari o l'autoradio, non accendere il motore del veicolo, non mettere in funzione apparecchi, non fumare
-
Aprire porte e finestre
- Allontanare tutti dal veicolo
- Chiudere le bombole del gas e/o chiudere l'adduzione del gas dall'esterno
- Far controllare e riparare l'intero impianto del gas da personale qualificato
- Rimettere in funzione l'impianto del gas solo\ dopo che è stato controllato e riparato
Pericolo di intossicazione da fumi! In locali chiusi o peu ventilati (come ad es. garage, officine), i fumi del riscaldamento sono provocare intossicazioni.
Se si parcheggia il veicolo ricreazionale in locali chiusi:
- chiudere l'alimentazione del combustibile al riscaldamento
- specnere il riscaldamento dall'unità di un'ecommando
Lasciando un oblo a fatto / un fatto a soffietto aperto intorno al camino di scarico fumi, si corre il rischio che i fumi penetrino all'interno del veicolo. Utilizzato il riscaldamento solo se l'oblò a fatto / il fatto a soffietto è chiuso.
Pericolo di incendio / esplosione durante il rifornimento! Non utilizzato l'apparecchio durante il rifornimento:
- del veicolo
- del veicolo di traino del caravan o
- di altri apparecchi
Spagnere l'apparecchio a gas liquido dall'unità di commande. Chiudere l'alimentazione del gas all'apparecchio a gas liquido. Assicurarsi che l'apparecchio a gas liquido non possa essere riaccesso in nessun caso.
Possible dann a cose / personne dovuti all'utilizzo del riscaldamento alla pannello. Essendo le superfici dello scambiatore di calore molto calde, utilizzato il riscaldamento solo con il pannello montato.
Pericolo di esplosione per riparazioni scorrette o modifiche all'impianto del gas. Far esquire quosti lavori solo da personale qualificato.
Far riparare il riscaldamento solamente da un techniciane qualificato. Far esquire lavori sugli ugelli del bruciatore solo da personale qualificato.
Montare un nuovo o-ring agli volte che si smonta lo scarico fumi!
La pressione d'esercizio dell'alimentazione del gas (30 mbar) deve coincidere con la pressione d'esercizio dell'apparecchio (v. targa dati).
Far controllare l'apparecchio, I'impianto del gas e I'impianto di scarico dei prodotti della combustione da un perito riconosciuto secondo le norme nazionali (in Germania ad es. secondo il protocollo di lavoro DVGW G 607) o, in assenza di dispositions in tal senso, almeno agli due anni.
-
Se l'impianto a gas liquido viene modificato, far eseguire una prova di tenuta da un perito riconosciuto.
-
Il propriétario del veicolo ha la responsabilità di far eseguire la suddetta prova.
Alla prima messa in funzione di un apparecchio nuovo di fabbrica perché svilupparsi del fumo o si può avvertire odore per un breve lasso di tempo. Quando si rimette in funzione l'apparecchio dopo un periodo di inattività particolarmente lungo, perché svilupparsi del fumo o si può avvertire odore per un breve lasso di tempo dovuto a polvere o sporco. Si raccomanda quindi diMETTERE in funzione l'apparecchio alla massima potenza per quale minuto in modo che possa autopulirsi, ventilando bene l'ambiente.
Un rumore anomalo del bruciatore o un aumento della fiamma indica un malfunzionamento del regolatore, che deve quindi essere controllato.
Non collocare in nessun caso oggetti (ad es. bombolette spray) o materiali / liquidi infiammabili nel vano di montaggio dell'apparecchio o nell'apparecchio stesso poiché la temperatura all'interno degli stessi cui diventare piuttosto elevata.
Per l'impiano del gas, in Germania utilizzare solamente regolatori di pressione conformi alla norma DIN EN 16129 (nei veicoli) con pressione fissa in uscita di 30 mbar. La portata del regolatore di pressione deve soddisfare almeno il consumo massimo di tutti gli apparecchi installati.
Per i veicoli raccomandiamo ilsystemadi regolazione della pressione del gas MonoControl CS e, per impianti a due bombole, il systema di regolazione della pressione del gas DuoControl CS.
Con temperature inferiori e prossime a 0^ , il sistema di regolazione della pressione del gas e/o la valvola di commutazione dovranno funzionare con il riscaldatore per regolatori EisEx.
Utilizzato esclusivamente tubi flessibili di raccordo per i regolatori conformi ai requisiti in vigore nel paese di destinazione. Controllare regolarmente i tubi flessibili per escludere rotture.
Sostituire i regolatori di pressione e i tubi flessibili entro 10 anni alla data di fabbricazione (8 anni se in veicoli commerciali). Il gestore dell'impianto è responsabile di far eseguire tale sostituzione.
Possible pericolo di incendio! Nei pressi dell'aspirazione dell'aria di combustione non devono trovarsi materiali facilemente inflammabili (ad es. fieno, fogliame, tessuti).
Tenere sempre libera da impurità (fanghiglia di neve, ghiaccio, fogliame ecc.) l'aspirazione dell'aria di combustione tutto il pianale del veicolo e il camino di scarico fumi.
Durante il funzionamento del riscaldamento, il camino di scarico fumi deve essere libero e tirare bene. Strutture sul fatto possono promiettere il funzionamento del riscaldamento.
i Prima di mettere in funzione il riscaldamento in inverno, rimuovere la neve dal camino. Per il campeggio invernale o stanziale, consigliamo la prolunga camino SKV (3× 15cm) da avvitare sullo scarico.
Qualora il riscaldamento dovesse ripetu-tamente spegnersi se utilizzato in localita soggette a condizioni di vento estreme o durante I'inverno, consigliamo di usare una prolunga camino AKV (15 cm) eanche il tiraggio T-2 o T-3.
Se si utilizzato 2 o 3 prolonghe da 15cm e necessario rimuoverle prima di partire per evitare che si stacchino (pericolo di incidente). Se si lascia una prolunga, avvitarla saldamente e fissarla con una vite.
Se sul caravan è montata una tettoia, far passare il camino di scarico fumi attraverso diessa utilizzando la bussola passante per camino UEK.
Far controllare regolarmente lo scambiatore di calore, il tubo di scarico fumi e tutti i collegamenti da un techniciane qualificato e in某一 caso in seguito a «esplosioni» (mancate accensioni).
Il tubo di scarico fumi deve:
- essere collegato a tenuta stagna e saldamente al riscaldamento e al camino
- essere costituito da un unico pezzo (senza giunzioni)
- essere posato perché restringimenti di sezione e in direzione ascendente per tutte la lunghezza
- essere montato fisso con il tubo di protezione (tubo UR) con più fascette
Non posare oggetti sul tubo di scarico fumi; in caso contrario, potrebbero verificarsi danneggiamenti.
Non utilizzato in nessun caso riscaldamenti con tubo di scarico fumi montato erroneamente o danneggiato oppure con scambiatore di calore danneggiato!
Non ostruire in nessun caso l'uscita dell'aria calda del riscaldamento per evitare il surriscaldamento e il seguente pericolo di incendio. Pertanto non appendere in nessun caso panni o simili ad asciugare davanti o sopra al riscaldamento. Tale impiego non previsto provoca un surriscaldamento che potrebbe danneggiare seriamente sua il riscaldamento, che i tessuti. Non avvincare oggetti infiammabili al riscaldamento!
Per via del tipo di costruzione, il pannello del riscaldamento tende a scaldarsi durante il funzionamento. Ciò può essere pericoloso soprattutto per bambini e persone con ridotte capacità fisiche, sensoriali o mentali e provocare uszioni. L'obbligo di diligenza e di sorveglianza nei confronti di terzi spetta al gestore. Il gestore deve avvisare dei possibili pesricoli (ad es. pericololo di uszione, pericolo di incendio) nei confronti di terzi. Soprattutto bambini di età inferiore a 8 anni devono essere sorvegliati costamente e tenuti lontano dall'apparecchio quando questo è in funzione.
Questo apparecchio既可以 essere utilizzato da bambini a partire da 16 anni d'età persone con capacità fisiche, sensoriali o psichiche limitate o ricerca esperienza né conoscenze dietro sorveglianza e se sono state istruite su come utilizzato l'apparechio in sicurezza e se comprendono i pericoli che sono derivarne.
I bambini non devono giocare con I'apparecchio.
L'installatore o il proprietario del veicolo è tenuto a posizionare gli adesivi forniti insieme all'apparecchio in prossimità del risscaldamento e in un punto del veicolo ben visibile a tutti gli utilizzatori! Gli eventuali adesivi mancanti possono essere richiesti a Truma.
Uso del riscaldamento durante la marcia
Per il riscaldamento durante la marcia, il regolamento UN ECE 122 prescive l'installazione di un dispositivo di intercettazione di sicurezza per impedire la fuoriuscita incontrata di gas in caso di incidente. Il systemà di regolazione della pressione del gas MonoControl CS soddisfa quello requisito.
Rispettare le norme e i regolamenti nazionali.
Se non è montato alcun dispositivo di intercettazione di sicurezza (ad es. MonoControl CS), durante la marcia la bombola del gas deve essere chiusa e occorre apporre targhette di avvertenza secondo le direttive in vigore.
Struttura
Truma S 3004

Figura 1
1 = manopola di lavoro (termostato)
2 = coperchio cieco
3 = unità di lavoro integrata per un ventilatore TEB-3
4 = superficie sensore per accendere l'illuminazione (opzionale)
5 = scambiatore di calore
6 = finestra per osservare la fiamma
7 = piastra inferiore
8 = sensore termico
9 = collegamento fumi (bocchettone di scarico, piastra di pressione, o-ring)
10 = accenditore automatico con vano batterie
11 = targa dati
12 = tubo di scarico fumi
13 = uscita aria calda / pannello
La figura在哪una un montaggio destro. Nel montaggio sinistro, alcuni componenti sono montati sull'alto lato (speculari).
Truma S 5004

Figura 2
1 = manopola di lavoro (termostato)
2 = unità di lavoro integrata per un ventilatore TEB-3 Truma
3 = unità di lavoro integrata per un secondo ventilatore TEB-3 Truma
4 = coperchio cieco
5 = superficie sensore per accendere l'illuminazione (opzionale)
6 = finestra per osservare la fiamma
7 = scambiatore di calorie
8 = piastra inferiore
9 = sensore termico
10 = collegamento fumi (bocchettone di scarico, piastra di pressione, o-ring)
11 = accenditore automatico con vano batterie
12 = targa dati
13 = tubo di scarico fumi
14 = uscita aria calda / pannello
La figura在哪una un montaggio destro. Nel montaggio sinistro, alcuni componenti sono montati sull'alto lato (speculari).
Messa in funzione
Accensione del bruciatore
Prima di metterlo in funzione, assicurarsi che nell'acciditore automatico sia inserita una batteria nuova sufficientemente carica.
Possible pericolo di esplsoione! Ridotta freuenza di accensione dovuta a batteria vecchia oppure quasi sca-rica nell'acceditore automatico.
-
Si devono sentire almeno due scintille di accensione al secondo.
-
In caso contrario, sostituire la batteria nell'acceditore automatico (v. «Sostituzione della batteria dell'acceditore automatico»).
-
Aprire la bombola del gas e la valvola a chiusura rapida nel tubo di alimentazione del gas.
- Ruotare la manopola di lavoro (fig. 3-1) nella posizione del termostato 1-5 e premere fino all'arresto (max. 30 secondi). In quest'arco di tempo, le scintille udibili accendono automaticamente il bruciatore.

- Controllare il processo di accensione alla finestra (fig. 1-6 oppure 2-6). Se l'accensione è riuscita, si vede una fiamma.
- Tenere premuta la manopola di lavoro per altri 10 secondi dopo l'accensione in modo che il dispositorio di sicurezza contro la fuoriuscita di gas incombusto intervenga in modo affidabile.
Possible pericolo di esplosione!
- In caso di guasti o mancata accensione, attendere almeno tre minuti prima di fare un nuovo tentativo di accensione.
- Dopo tre tentativi di accensione falliti, contattare il servizio di assistenza.
Se la fiamma dovesse spegnersi durante il funzionamento, viene eseguito un tentativo di riaccensione automatica immediato entro il tempo di chiusura del disposito di sicurezza contro la fuoriuscita di gas incombusto (circa 30 secondi).
Nel caso in cui, nonostante il tentativo di riaccensione, l'accensione non vada a buon fine (ad es. perché la bombola del gas è vuota), l'acceditore automatico continua a funzionare finché si ruota la manopola di lavoro (fig. 3-1) su «0».
Per ottener una distribuzione uniforme e rapida dell'aria calda, nonché una riduzione della temperatura delle superfici sulla griglia di uscita dell'aria calda, consiglio di utilizzato il riscaldamento con un sistema di distribuzione dell'aria calda Truma in funzione.
Comando del ventilatore

Figura 4
a = manopola /Scala per la velocità del ventilatore (1-5)
b = interruptore rotativo / Scala per le modalità di funzionamento
A Automatico
-La centralina elettronica regola la velocita del ventilatore necessaria limitando il numero di giri al valore impostato sulla manopola.
0 SPENTO
- Spegnere il ventilatore.
M Manuale
- Impostare la velocità del ventilatore.
Velocita Booster
- Impostare la velocità del ventilatore al massimo (per la massima porta d'aria).
Illuminazione
L'illuminazione (opzionale) per gli elementi di lavoro si attivatramite un interruttor di prossimita. Per attivarla, toccare il centro del coperchio. In quello modo, l'illuminazione si accende per circa 20 secondi.

Figura 5
Ogni volta che viene applicata l'alimentazione di tensione a 12 V, l'electronica del sensore dell'illuminazione si calibra. Ciò più richiedere alcuni secondi. Non toccare il copercchio durante la calibrazione.
Termostato ambiente
É possibile raggiungere una temperature ambiente media di ca. 22^ alla ventilatore impostando il termostato sul 3 circa. Consigliamo di utilizzato il ventilatore e di impostare il termostato su circa 4 per ottenere una distribuzione confortevole dell'aria calda e per ridurre la formazione di condensa sulle superfici fredde.
L'esatta impostazione del termostato deve essere determinata in base al tipo di costruzione del veicolo e al fabbisogno personale di calore.
Il sensore termico si trova sotto il riscaldamento. Tenere presente che gli spifferi d'aria fredda derivanti alla ventilazione del frigorifero, spiragli di una porta socchiusa ecc. o un tappeto aello lungo possono influire negativamente sul termostato. Tali fonti di disturbo devono essere eliminare assolutamente, altrimenti non puo essere garantita una regolazione soddisfacente della temperatura.
Spegnimento
Posicionare la manopola di lavoro del riscaldamento su «0» (contemporaneamente si spegne l'acceditore automatico).
Spagnere il ventilatore (posizionando l'interrottore rotativo su «O»).
Se l'apparecchio rimane inutilizzato per un lungo periodo, chiudere la valvola a chiusura rapida del tubo di alimentazione del gas e la bombola del gas.
Manutenzione

Possible pericolo di usioni per contatto con il riscaldamento rovente! Pulire il riscaldamento solo da spento e do si è raffreddato.

Nonostante la produzione accurata, il riscaldamento può contentere parti a spigoli vivi. Utilizzare quindi sempre ai di protezione durante i lavori di manutenzione e pulizia!

Una carica elettrastatica cui cause la distruzione dell'la centralina elettronica! Prima di toccare la centralina conica, creare il collegamento equipotenziale.
Pulizia del riscaldamento
Rimuovere la polvere accumulata sullo scambiatore di calorie, sulla piatra inferiore e sulla ventola delsystema di distribuzione dell'aria calda Truma almeno una volta all'anno. Pulire con cura la ventola con un pennello o una piccola spazzola.
- Dopo un fermo prolongato, controllare che lo scambiatore di calore non sua sporco ed eventualmente pulirlo.

É vietato utilizzare prodotti contenti cloro sull'apparecchio.
Rimozione del pannello

Possible pericolodi ustioni per contatto con il riscaldamento rovente! Togliere il pannello solo a riscaldamento o e freddo.
Per sbloccare il pannello, premere contemporaneamente le due leve di chiusura (1) verso l'esterno. Ora è possibile rimuoverlo ruotandolo verso l'esterno e sollevandolo dai supporti inferiori.

Figura 6
Posizionamento del pannello
Agganciare il pannello nei supporti inferiori (1) e ruotarlo versuso l'interno (2) finché si blocca in posizione con uno scatto. Controllare che il pannello sia fissato correttamente provando a tirarlo.

Figura 7
Sostituzione della batteria dell'accenditore automatico
-
Se, durante la messa in funzione, non si sentono scoccare le scintille oppure si sentono meno di due scintille al secondo, sostituire la batteria.
-
Prima dell'inizio della stagione fredda, inseire una batteria nuova.

Utilizzare solo batterie mignon da 1,5 V resistenti alle alte temperature (+70^) e sigillate (tiplo LR 6,AA,AM3)
(n° art. 30030-99200). Batterie di altri tipo possono causare malfunzionamenti!

Possible pericolo di usioni per contatto con il riscaldamento rovente. Sostituire la batteria solo con il riscaldato spento e freddo.
Rimuovere il pannello.
- Far scorrere il coperchio del vano batterie verso l'alto e sostuire la batteria. Fare attenzione alla polarità!
- Richiudere il vano batterie.
Ripositionareil pannello.

Figura 8
Smaltimento della batteria

Non smaltire la batteria nei rifiuti domestici, bensi portarla in un'isola ecologica perché sia differenziata. Cosi facendo contribuirete al riutilizzo e il riciclaggio dei materiali.
Indicazioni speciali
Nel caso in cui al pianale del veicolo sia applicata una protezione sottoscocca, tutte le parti del riscaldamento poste nelle veicolo devono essere coperte per evitare che la nebbia generata dagli spruzzi provochi malfunzionamenti dell'impianto di riscaldamento. A lavoro eseguito, togliere di nuovo le protezioni.
Smaltimento
Smaltire separamente l'apparecchio e la batteria nell'acceditatore automatico nel rispetto delle disposizioni amministrative del rispettivo paese d'utilizzo. Rispettare le leggi e le normative nazionali (in Germania, ad esempio, la legge sulla rottamazione di veicoli usati).
Negli altri paesi, osservare le rispettive disposizioni in vigore.
Specifiche tecniche
(rilevate secondo la norma EN 624 o le condizioni di prova Truma)
S 3004 / S 5004
Tipodi gas
Gas liquido (propano / butano)
Pressione di esercizio
30 mbar (v. targa dati)
Potenza termica nominale
S 3004:3500W
S 5004:6000W
Consumo di gas
S 3004:30-280 g/h
S 5004:60-480 g/h
Dati supplementari secondo la norma EN 624
S 3004: _p = 4.0 kW (Hs) ; 290 g/h; C51
S 5004: Q_n^* = 6,8kW (Hs); 490 g/h; C51
Categoria degli apparecchi Paesi d'uso
AT, BE, BG, CH, CY, CZ, DE, DK, EE, ES, FI
FR,GB,GR,HR,HU,IE,IS,IT,LI,LT,LU
Tensione di esercizio
1,5 V (accenditore automatico alimentato a batteria)
Corrente assorbita
225 mW (accensione)
Peso
S 3004: ca. 10,3 kg (senza ventilatore)
S 5004: ca. 17,5 kg (senza ventilatore)

0085
S 3004:

S 5004:

Salvo modifiche tecniche!
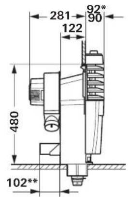
Dimensioni

S 3004

Figura 9
S 5004
Figura 10

Con listello ornamentale cromato
* Truma Ultraheat (opzionale)
Tutte le misure sono espresse in mm con tolleranza di +2mm / - 1mm Salvo modifiche tecniche!
Dichiarazione di garanzia del fabbricante (Unione Europea)
1. Ambito di validità della garanzia del fabbricante
Truma, in quanto fabbricante dell'apparecchio, concede al consumatore una garanzia a copertura di eventuali vizi del materiale e/o di fabbricazione.
Questa garanzia vale negli stati membri dell'Unione Europea nonché in Islanda, Norvegia, Svizzera e Turchia. Il consumatore è la persona fisica, che per prima ha acquistato l'apparecchio dal fabbricante, OEM o rivenditore specializzato, e che non lo rivende nell'ambito di un'attività commerciale o professionale autonoma né lo installa presso terzi.
La garanzia del fabbricante si applica ai vizi summenzionati, che si manifestano entro 24 mesi alla conclusione del contratto di acquisto tra il venditore e il consumatore. Il fabbricante o un partner di assistenza autorizzato provvedera all'eliminazione di tali vizi mediante adempimento successivo, ovvero mediating riparazione o sostituzione a propria discrezione. Le parti difettò diventeranno di proprietà del fabbricante o del partner di assistenza autorizzato. Qualora al momento della denunciation del vizio l'apparecchio risultì fuori produzione, in caso di fornitura sostitutiva il fabbricante potra fornireanche un prodotto simile.
Nel caso in cui il fabbricante decide di prestare garanzia, il periodo di garanzia relativo ai pezzi riparati o sostituiti non decorrerà ex-novo, ma terminerà in base al vecchio periodo di garanzia. Sono autorizzati a svolgere i lavori in garanzia escludamente il fabbricante o un partner di assistenza autorizzato. I costi derivanti alla garanzia saranno conteggiati direttamente tra il partner di assistenza autorizzato e il fabbricante. Ulterioriosti derivanti da condizioni di smontaggio e montaggio dell'apparecchio più gravose (ad es.smontaggio di parti di mobili o carrozzaeria) nonché le spese di trasferta del partner di assistenza autorizzato o del fabbricante non possono essere riconosciuti in garanzia.
Si escludono ulteriori pretese, in particolare richieste di risarcimento dei anni da parte del consumatore o di terzi. Restano salve le disposizioni della legge sulla responsabilità per danno da prodotti (Produkthaftungsgesetz).
Con la garanzia volontaria del fabbricante restano comunque invariati i diritti di legge del consumatore derivanti dai vizi della casa vigenti nei confronti del venditore nel paese di acquisto. In singoli paesi possono sussistere garanzie che vengono rilasciate dai rivenditori specializzati (rivenditori autorizzati, Truma Partner). Il consumatore può avvalersene diretamentetramite il rivendatore specializzato presso il quale ha acquistato l'apparecchio. Si applicano le condizioni di garanzia del paese in cui il consumatore ha effettuato il primo acquisto dell'apparecchio.
2. Esclusione della garanzia
La garanzia è escluda:
- in seguito a un utilizzo dell'apparecchio scorretto, inadeguato, errato, negligente o non conforme
- in seguito a installmente, montaggio o messa in fun
zione scorretti non conformi alle istruzioni per l'uso e di montaggio - in seguito a funzionamento o uso scorretto non conforme alle istruzioni per l'uso e di montaggio, in particolare in caso di inosservanza delle istruzioni di manutenzione e cura e delle avventenze
- se installazioni, riparazioni o interventi vengono effettuali da partner non autorizzati
- per materiali di consumo, componenti soggetti a usura e naturale logoramento
- se l'apparecchio viene dotato di ricambi, parti integrative o accessori non originali del produttore o non autorizzati dal fabbricante. Cio vale in particolare nel caso di un controllo in rete dell'apparecchio, se i dispositivi di controllo e i software non sono stati autorizzati da Truma o se I'unità
di commande Truma (ad es. Truma CP plus, Truma iNet Box) non viene utilizzata esclusivamente per il controllo di apparecchi Truma o appearecchi autorizzati da Truma - in seguito a+danni dovuti a sostenze estranee (ad es. oli, plastificanti nel gas), influssi chimici o elettrochimici nell'acqua o se l'appareccchio entra altrimenti in contatto con sostenze inappropriate (ad es. prodotti chimici, sostenze inflammabili, detergenti inappropriati)
- in seguito a danni dovuti a condizioni ambientali anomale o in caso di condizioni operative inappropriate
- in seguito a danni dovuti a forza maggiore o catastrofi naturali, nonché ad altre cause non imputabili a Truma
- in seguito a danni riconducibili al trasporto scorretto
- in seguito a modifiche all'apparecchio, ivi incluse quale a ricambi, parti integrative o accessori e la loro installmente, in particolare allo scarico fumi o al camino da parte del cliente finale o di terzi.
3. Esercizio del diritto di garanzia
Il diritto di garanzia deve essere esercizzato presso un partner di assistenza autorizzato o il centro di assistenza Truma. Tutti gli indirizzi e i numeroi di Telefono sono disponibili sul sito www.truma.com nella sezione «Service».
L'indirizzo del fabbricante è il seguente:
Per consentire lo svolgimento regolare, si prega di tenere a portata di mano le seguenti informazioni prima di contattare l'assistenza:
--descrizione dettagliata del difetto
- numero di matricola dell'apparecchio
data d'acquisto
Il partner di assistenza autorizzato o il centro di assistenza Truma stabiliranno le ulteriori modalità di procedura. Per evitare eventuali danni dovuti al trasporto, l'apparecchio in questione può essere inviato solo previo accordo con il partner di assistenza autorizzato o il centro di assistenza Truma.
Se la garanziaiene accettata dal fabbricante, questi si fara carico dei costi di trasporto. Qualora il caso non sia coperto alla garanzia, il consumatore ne sare informato e iosti di riparazione e di trasporto saranno a sua carico. Si prega di astenersi dall'effettuare spedizioni prima di aver preso i relativi accordi.
In caso di guasti rivolgersi al centro di assistenza Truma o a un nostro partner di assistenza autorizzato (consultare il site www.truma.com).
Affinché la richiesta possa essere elaborata rapidamente, tenere a portata di mano il modello dell'apparecchio e il numero di matricola (vedere targa dati).
Truma S 3004 / S 5004

ManualeFacile