S 3004 - Cocina TRUMA - Manual de uso y guía de instrucciones gratis
Encuentra gratis el manual del aparato S 3004 TRUMA en formato PDF.
Preguntas de los usuarios sobre S 3004 TRUMA
0 pregunta sobre este aparato. Responde a las que conoces o haz la tuya.
Hacer una nueva pregunta sobre este aparato
Descarga las instrucciones para tu Cocina en formato PDF gratis! Encuentra tus instrucciones S 3004 - TRUMA y toma tu dispositivo electrónico nuevamente en la mano. En esta página están publicados todos los documentos necesarios para el uso de su dispositivo. S 3004 de la marca TRUMA.
MANUAL DE USUARIO S 3004 TRUMA
ES Instrucciones de uso
Llevelas en el vehiculo
Páginaa 02
Indices
1.1 Revisiones 2
1.2Validez 2
1.3 Grupo destinativo 2
1.4 Documentos vigentes 2
1.5 Simblos y recursos de representation 2
1.6 Indicaciones de advertencia 3
1.7 Abreviaturas y glosario 3
2 Fines de uso 3
2.1 Uso previsto 3
2.2 Uso no previsto 3
2.3permiso deutilizacion 4
2.4 Montaje, desmontaje y modificacion 4
3 Indicaciones de seguidad 4
3.1 Obligación del usuario gestionador / propietario del vehúculo 4
3.2Funcionamento seguro 4
3.3 Comportamento en caso de anomalias 6
3.4 Montaje, desmontaje y modificacion 6
4 Descripción del producto 6
4.1Funcion 6
4.2 Estructura 7
4.3 Ventilador 7
4.4 Illuminacion de la unidad de mando 7
4.5 Indicación remota de encendido 8
4.6 Ultraheat 8
4.7 Prolongación de chimenea 8
5 Funcionamento 8
5.1 Conectar la calefacion 8
5.2 Ajustar la temperatura ambiente 9
5.3 Desconexión 9
5.4 La calefaction no se va a usar durante un periodo prolongado 9
6 Fallos 9
7 Limpieza y cuidado 10
7.1 Limpieza de la calefacion 10
7.2 Retirar el revestimiento 10
7.3Instalar el revestimiento 10
8Mantenimiento y entrenimiento 11
8.1 Cambio de pila en el encendido automatico. 11
8.2 Indicaciones especiales 11
9 Eliminacion de residuos y reciclaje 11
10 Datos技术和 11
10.1 Medidas 12
10.2 Garantía 12
Estas instrucciones son parte del producto.
Las instrucciones de uso debenelligencearse siempre en el vehiculo.
- Permitir que lasindicaciones deseguidadsean accesibles también paraotherspecialos.
1.1 Revisiones
El número de documento de estas instrucciones figura en cada páginá interior en el pie de página y en el dorso.
El número de documento consta de
- Nível de articulo (10 dígitos)
- Estado de revision (2 digitos)
- Fecha de publicación (mes/año)
1.2 Validez
Este manual de instrucciones corresponde a las calefacaciones a gas Truma S 3004 y Truma S 5004. Las piezas.optionales del producto se encontraran descritas en manuales de instruccionesAparte.
1.3 Grupo destinativo
Estas instrucciones estan dirigidas al usuario.
① Para poder la lecture, se ha renunciado a una distincion especialica de genero. Los关键时刻 correspondientes se aplican a todos los sexuals en el sentido de igualdad de trato.
1.4 Documentos vigentes
ninguno
1.5 Símbolos yOOKs de representation
(Fig. 3-1) Ver figura 3 - número 1
| Simbolo Significado | |
| ! | Advertencia depeligospara las personas |
| Personal的技术ico | |
| i | Informaciones adiconiales |
| Simbolo de un paso de actuacion.Debe realizarse unaccion en este punto. De habervarias medidas, respete elorden de secuencia. | |
| * | Piezasoptionales |
1.6 Indicaciones de advertencia
Lasindicaciones de advertencia seutilizan en este manual para advertir sobre daños materiales y lesiones físicas.
Leay observe siempre lasindicaciones de advertencia.
Respete todas las medidas que estén marcadas con el símbolo y la palabra de advertencia.
| Palabra de advertencia | Significado |
| PELIGRO | Peligos para las personas. El incumplimiento tendrá como resultado la muerte o lesiones graves. |
| ADVERTENCIA | Peligos para las personas. El incumplimiento puede tener como resultado la muerte o lesio- nes graves. |
| PRECAUCIÁN | Peligos para las personas. El incumplimientoULDesoterceno resultado lesiones leves. |
| AVISO | Información para Severityarnas materiales, para la comprensión o para la optimización de los pro- cesos de trabajo. |
1.7 Abreviaturas y glosario
| Abreviatura Significado | |
| ESD | (inglés: Electro Static Device) Componentes electrónicos sensibles a cargas estáticas. |
| LED | (inglés: Light Emitting Diode) Diodo luminoso, luz indicadora |
| Corriente de tierra | Corriente que es suministrada alvehicleclo desde el exterior. Por lo general, se create unaNECTION desde una toma de alimentación en el camping por medio de un cable de prolongación a la toma exterior delvehicleclo. |
| Boost | (inglés: Aumento, impulso) Fase de potencia:maxima |
2 Fines de uso
2.1 Uso previsto
S 3004: El aparato solo está homologado para su montaje y funciona en «caravanas» y «tráilers» de la clase de vehículos O, «autocaravanas» de la clase de vehículos M1, siempre que la instalación de gas se haya realizado según la norma EN 1949.
S 5004: El aparato solo está homologado para su montaje y funciona en «caravanas» y «tráilers» de la hora de vehiculo O, siempre que la instalación de gas se haya realizado según la norma EN 1949.
Se deben Respectar las normativas y regulaciones ná- cionales para el funciona y las comprobaciones de instalaciones de gas (en Alemania, p. ej., la hora de trabajo DVGW (Asociación alemana de expertos en gas y agua) G 607).
El aparato soloDebe'utilarse para calentar el habitacu-lo del vehiculo.
Para el funciona del aparato durante la conducccion, debe disponible de dispositivos que eviten fugas incontroladas de gas licuado debidas a una desconexion accidental (según el Reglamento 122 de la CEPE/ONU).
Si el aparato se usa commercialmente, el usuario gestionador debe asegurar de que se cumplan las normativas legales y de seguros del País de uso correspondiente.
2.2 Uso no previsto
Todoosdemasusosno incluidos enla lista de usos previstos se consideran inadmisiblesy,por lo tanto, estan prohibidos. Este es asi,p.ej.,para el montaje yfuncionamento en:
S 3004:
- autocares de la clase de vehiculo M2 y M3,
- vehículos industriales de la clase de vehículos N,
- embarcaciones yotiros vehículos para navegación,
- cabanas de caza / forestales, casas de fin deSEA n a o marquesinas.
- remolques y vehículos realizados por guardierías en el bosque
- Casas móvil
S 5004:
Autocaravanas de la clase de vehiculo M1
- autocares de la clase de vehiculo M2 y M3,
- vehículos industriales de la clase de vehístico N,
- embarcaciones yotiros vehículos para navegación,
- cabanas de caza / forestales, casas de fin de semana o marquesinas.
- remolques y vehículos realizados por guarduerías en el bosque
- Casas móvil
Queda prohibido el montaje en remolques y vehículos para el transporte de mercancías peligrosas.
Los aparatos defectuosos no deben utiliser.
No deben utilizar aparatos que se instalen o usen de forma contrajar a las instrucciones de uso e instalacion.
Las siguientes circunstancias conducen a la anulacion del permiso de uso de aplicato:
- Cambios en el aparato, incluyendo los accesorios.
- Utilización de otheras piezas de recambio o accesos distinctos a los originales de Truma.
- Incumplimiento de la información de estas instrucciones de uso.
En algunos Países, estas circunstancias también invalidan el permiso de uso del vehiculo.
2.4 Montaje, desmontaje y modificacion

Solo las personas@cualificadas y facultadas (personal的技术o) estan autorizadas a realizar el montaje, la reparacion y la comprobacion funcional del producto Truma, restranto las instrucciones de montaje y uso y
las normas tíncicas vigentes en ese momento. El personalístico está compuesto por personas que,debido a su formación e instruccion especializada, sus conocimientos y experiencia con los productos Truma y las normas pertinentes, son capaces de realizar los problemas necessarios de una forma adecuada y reconocer los首位is peligros.
El personal no的技术ico no debe:
Montar el aparato ni instalarlo en otros lugares ni vehículos.
Desmontar el aparato, modificarlo ni repararlo por*cuenta propia.
Loseworks de montaje, desmontaje o modificacion solo可以更好 ser realizados por personal technician可能导致.
3 Indicaciones de seguridad
Leer y seguir estRICTamente lasindicaciones de segu-ridad para evitarpeligos ydañosalaspersonas y a la propidad.
Leer atentamente las instrucciones de uso del aparato y todos los documents aplicables relativos al suministro de gas (deposito de gas, tuberías de gas) y al vehístico; tenerlos en cuenta y conservarlos para futuras consultas.
- Observar las leyes, directivas y normas vigentes localmente para el uso y funciona bajo el aparato.
El incumplimiento de las regulaciones contentsas en las instrucciones de uso y montaje puede occasionar daños materiales graves y un peligro serio para la salute o la vida de las personas.
3.1 Obligación del usuario gestionador / propietario del vehúculo
Asegurar de que el aparato pueda utilizar y manejarse correctamente en todas las fases de funciona bajo.
Cerciorarse de que los adhesivos amarillos con advertencias deben colocarse en un punto delvehicleo que sea bien visibles para todos los usuario (p. ej., en la puerta del armario ropero).
caso de que falten las etiquetas adhesivas, Solicielas a Truma.
- Disponer la inspeccion de la instalacion de gas de acuerdo con la respectiva normativa nacional y los intervalos de inspeccion prescritos.
Debido al Diseño, el revestimiento de la calefaction se calienta durante el funcionaimiento. Esto pueda ser peligioso especialmente para niños y personas con capacidades fisicas, sensoriales o mentales reduidas y pueda provocar quemadas. Eldeer de vigilencia y supervision frete authereros incumbe al usuario gestionador.El usuario gestionador informara authereros sobre posiblespeligos (p.ej.pelicrodequemadas,PEGIO de incendio).
En particular, los niños meores de 8 años deben ser supervisados constantemente y debenmantener alejados del aparato durante el funcionaimiento.
Este aparato pueda ser utilisé por niños a partir de 16 años, asi como por personas con capacities fibrasicas, sensoriales y mentales reduidas o con falta de experiencia y conocimientos siempre que Sean supervisados y hayan sido instruidos en el uso seguro del aparato yentaendan los peligros resultantes.
Los niños no deben hacer con el aparato.
Respete los intervalos indicados en el capitulo «Mantenimiento» y «Reparación» para la sustitución de piezas de desgaste y otros componentes.
3.2 Funcionamento seguro
Pelicog de intoxicacion por gases de escape!
Un tragaluz / techo telescópico abierto en la zona que rodea la chimenea de techo alberga el peligro de entrada de gases de escape en el interior del vehiculo.
La calefacción solo debe funciona con el tragaluz / techo telescópico cerrado.
Al aparear en espacios cerrados (garajes, talleres, marquesinas, etc.) con la calefacción encendida, es possible queenetren en el habitaculo del vehiculo gases de escape. Este peut provocar intoxicacion y asfixia.
Apagar la calefacion al entrada en espacios cerrados.
Un encendido defectuoso pueda provocar una deflagración. Illo puede darlar la calefaction y anular su estanqueidad. Los gases de escape peuvent penetrar en el habitáculo.
- Después de una deflagración no se debe volver aponer en marcha la calefacción.
Encargar a personal的技术ico la comprobacion de la calefacion y de la calidad de gas de escape.
Pelicro de explosión durante el repostaje!
jPeligro de incendio / explosión al repostar! La calefaction no debe utilizes cuando se está repostado:
▶Apagar la calefacción.
- Bloquear la entrada de gas a la calefacción.
Asegurar de que la calefaction no pueda connectarse en ningún caso.
iPeligro de incendio a causa de materiales alto-mente inflamables!
La calefaction actua como un ventilador y aspira aire de debajo del vehiculo para la combustion. Peligro de incendio a causa de materiales altoamente inflamables (p. ej., heno, hojarasca, textiles) que pueda ser aspirados.
- Mantener la zona de la aspiración del aire de combustión despejada de materiales alto en inflamables.
; Peligro de incendio por temperatas elevadas!
En el espacio de montaje de la calefacción, en la calefaction en si misma y en la chimenea de gases de escape puede generate altas temperatas durante el funciona. Los objetos que se.Encuentren en estas areas también se calientan.
No almacenar objetivos sensibles al calor (p. ej., botes de spray, velas) ni materiales / liquidos inflamables en el espacio de montaje del aparato ni dentro del aparatoismo.
No se deben colocar objetivos sobre / en el tubo del gas de escape.
Debido al sobrecalentimiento y al peligro de incendio, la calidad de aire caliente de la calefacción no debe ser obstruida bajo ninguna circunstancia. Por ese, no deben colgarse productos textiles o similares para su SACado delante o sobre la calefacción. Este mal usoocañana seriamente su calefacción y los productostextiles debido al sobrecalentamento generado.
La salute de aire caliente de la calefaction debe estar libre.
La aspiración de aire de circulación de la calefaction debe mantenerse libre de cualquier obstáculo.
Pelicro de quemaduras por superficies calientes!
Posibles danos personales y materiales por el funciona miento de la calefacion sin revestimiento. Peligro de quemaduras por superficies calientes en el intercambiador de calor!
Utilice la calefaction solo con el revestimiento instalado.
La zona de la calidad de aire caliente del revestimiento suece calentarse mucho.
No toque la zona de la calidad de aire caliente del re-vestimiento durante el funcionaimiento.
3.2.1 Instalación de gas
iPeligro de explosión por suministro de gas no permitted!
No está permitido el funciona con botellas de gas desdelascualesseextraigagas enfaseliquida (p.ejparacarretillasapiladoras),ya queprovocaran daños en la instalacionde gas.
Utilice exclusivamente botellas de gas en posicion vertical desde las que se extrae gas en la fase gaseosa.
La presión de servicios de la calefacción es de 30 mbar.
Cerciorese de que la presion de service del suministro de gas (30 mbar) y del aparato (vease la placadecaracteristicas) coinciden.
3.2.2 Chimenea
Debe procurarse en todo momento que los gases de escape de chimenea PODan salir libremente. Paraarlo, la chimenea de techo debe salir libremente hacla corriente de aire durante el funcionaamento de la calefaction. Las superestructuras del techo poden perjudicar el funcionaamento de la calefaction.
Nieve,arro,hielo,hojarasca yothers típos de suciedadcoulden obstaculizar la conducccion de gases de escapey la alimentacion de aire de combustion.
La chimenea y el suministro de aire de combustion debe mantenerse libre de sociedad.
En invierno, deben retirarse la nieve de la chimenea y de la entrada de aire de combustión que hay debajo el vehiculo antes de la puesta en servicios de la calefaction.
jPeligro de accidente acause de la prolongacion de chimenea!
Se pueda montar un máximo de 3 unidades de prolongacion de chimenea de 15cm cada una. Si se utilizes 2 o 3 prolongaciones de 15cm ,estas deben retirarse antes de起初 la conducccion con el fin de no perdidas (peligro de accidente).
La prolongación solo puede dejarse en caso de que esté firmamente enroscada y asegurada con un tornillo.
En caso de que se monte un sobretero en el vehiculo, la chimenea de techo debe atravesar necessitiesamente este techo. Para ello es必需ario utiliser el paso de chimenea UEK.
Cables de corriente expuestos y dañados!
En caso de danos en el cable de conexión de red de la calefaction (UltraHeat, ventilador TN):
- Desconecte el aparato o desconectelo de la tension.
Asegürese de que el cable de conexión de red sea sustituido por el fabricante, el service de atencion al cliente o personal的技术ico.
3.2.3 Funcionamento durante la conducccion
Incendio / peligro de explosión a causa de fuga de gas debido en caso de accidente
Para la calefaction durante la conducccion, el Reglamento 122 de la CEPE/ONU prescribe un dispositivo de bloqueo de seguridad para evitar una calidad incontrolada de gas en caso de accidente.
En las instalaciones de gas sin dispositivo de bloqueo de seguidad:
Cierre la botella de gas antes de iniciar un viaje y mantengala cerrada durante el mesmo.
Tenga en cuenta los carteles de avis del armario de botellas como de cerca de la unidad de mando.
Las normativas y reglamentos nationales deben respetarse.
Consejo practico: Los sistemas de regulacion de presion Truma MonoControl CS y DuoControl CS cumplen las exigencias necessarias para el functiOnamento durante la conducccion.
3.3 Comportamento en caso de anomalías
Encargue la subsanación de los fallos inmediata y exclusivamente por personal的技术ico especialista.
Solo deben subsanarse los fallos cuya subsanación está descripción en el capitulo «Fallos» de de estas instrucciones de uso.
3.3.1 Que hacer en caso de olor a gas?
Evite las fuentes de ignicación.
Apague todas las llamas de estufas o cocinas de gas.
No aggiione interruptores (movil, radio, etc.) en el interiord del vehiculo.
No ponga en marcha el motor del vehiculo.
No ponga utilisengún aparato.
No fume.
Abra las ventanas y las puertas del vehiculo.
Evacuar a todas las personas del vehiculo.
Cerrar las botellas de gas y bloquear la entrada de gas desdefuera.
Encargue la la comprobacion y reparacion de toda la instalacion de gas (aparato, suministro de gas, botellas de gas) por parte de personal的技术ico.
El aparato y la instalación de gas solo deben ponserde nuevo en marcha afterwards de la comprobación y reparación.
3.3.2 ¿Qué hacer en caso de detectar ruidos y olores extraños?
Cierre el suministro de gas y la calefacción.
Encargar a personal的技术ico la comprobacion de la calefacion y de la calidad de gas de escape.
3.4 Montaje, desmontaje y modificacion
Peligro de explosión debido a reparaciones o modificaciones inadequadas de la instalación de gas.
Solo el personalrial significado y facultado (personal tecnico) está autorizzato a realizar el montaje, la reparacion y la comprobacion funcional del producto Truma, respetando las instrucciones de montaje y uso y las normas tecnicas vigentes en ese momento. El personal tecnico está compuesto por personas que, bajo a su formacion e instruccion especializada, sus conocimientos y experiencia con los productos Truma y las normas pertinentes, son capaces de realizar los problemas necessarios de una forma adecuada y reconocer los posiblespeligros.
Montar el aparato, ni instalarlo en algunos lugares ni tampoco enOthers vehículos.
Desmontar el aparato, modificarlo ni repararlo por cuenta propia.
4 Descripción del producto
4.1 Función
La funciona de la calefaction es calendar el area de vivienda de un vehiculo. Paraarlo, en el interior de la calefaction arde una llama de gas que calienta un intercambiador de calor.
El combustible (propano/butano) de la botella de gas del regulator de presión para seres de una tuberia de gas (incl.istema de regulación de gas, valvulas de cierre rápido) que va hacer la valvula guardallamas de la calefacción. El aire de combustión necessario es suministrado a travers de una escotadura en el sueño del vehúculo. La mezcla de gas y aire es encendida mediante una bjujía ubicada en el quemador y de un encendido automatico que funciona con bateria (11). Gracias a la mirilla (7) se pueda controlar si la llama de gas está ardiendo.
Los gases calientes de escape de combustión fluyen a工程技术 del intercambiador de calor (6) y salen a工程技术 del tubo de gas de escape (13) y la chimenea de techo. El intercambiador de calor (6) calienta el aire ambiental directo en la carcaja de la calefacción. Este sale a工程技术 del altagas del revestimiento hacía afuera en el habitáculo o, en caso necessario, a工程技术 del ventilador (optional) y distribuidido en la caravan.
En la empañadura de mando (1) se puedaaabstar la temperatura de forma gradual. Estecciona la valvula guardallamas a trovés de la barra de la unidad de mando. Una vez se alcanza la temperatura ambiente
deseada, un sensor termostálico (9) regula el suministro de gas al quemador y ajusta la llama. El ventilador es controlado mediante un segundo botón de giro (5).
Si no se usa ningún ventilador, aire frío fluirá por defecto de la convisión desdela placabase hasta el intercambiadorde calor,onde se calentaraydesdondevoltara salir de la calidad de aire caliente.
Al usar un ventilador, el aire del habitáculo para por las aberturas y es aspirado en el revestimiento, calentado mediante un intercambiador de calor y reintroducido en el habitáculo a工程技术 del la distribución de aire caliente.

4.2 Estructura
Fig.1
1 Unidad de mando para el ventilador*
2 Tapa ciega / unidad de mando parasegundo ventilador (solo S5004)
3 Superficie de sensor de la iluminacion*
4 Tapa ciega / unidad de mando parangenudo ventilador (solo S5004)
5 Empuñadura de mando (termostato)
6 Intercambiador de calor
7 Mirilla
8 Placa base
9 Sensor termostálico
10 Conexión de gas de escape
11 Encendido automatico
12 Placa de charactrificas
13 Tubo de gas de escape
14 Salida de aire caliente / Revestimiento
ilustración muestra un montaje a la derecha. En caso de montaje a la izquierda,algunas piezas esta-rán dispuestos en el除外ado (reflejado).
4.2.1 Elementos de mando de la calefacción
Con la empañadura de mando (Fig. 2-1) se enciende la calefacción y se ajusta la temperatura. Una escalamuestra el ajuste de temperatura de 1 a 5.

Fig. 2
Al girar y aplicar presión simultaneamente a la empanada de mando, la valvula de gas se abre y se enciende el encendido automatico. Eso hace que se enciende una llama de gas en el quemador que calienta el intercambiador de calor del interior de la calefaction. La llama pueda verse por la mirilla.
Si se alcanza la temperatura ambiente ajustada, la calefaction se apagará automatistically. Al mesmo tiempo, seguirá ardiendo una petite llama piloto. Si la temperatura ambiente descende, la calefaction se volverá a encender automatistically hasta que alcance la temperatura deseada.
4.3 Ventilador*
De forma optional se pueda equipar la calefaction con uno o con dos (solo S5004) ventilador(es). Unidad deMANDO del ventilador (Fig. 3). El ventilador aspira el aire caliente de la calefaction y lo distribuya a travers de los tubos de aire caliente y los difusores por el habitaculo.
Consulte las instrucciones de uso correspondentes


Fig. 3
4.4 Iluminación de launidad de mando
De forma optional se可以选择 equipar la calefaction con iluminacion de la unidad de mando (Fig. 4). La iluminacion de la unidad de mando se activa mediante un sensor de proximidad y se apaga automatamente pasados 20segundos.
Consulte las instrucciones de uso correspondentes

Fig. 4
4.5 Indicción remota de encendido*
De forma optional se pueda equipar la calefacción con una indicación remota de encendido (Fig. 5).Esta utilizesa luz roja intermitente para indicar que el encendido automatico está activo.
Consulte las instrucciones de uso correspondentes

Fig. 5
4.6 Ultraheat*
De forma optional se可以选择 equipar la calefaction con una calefaction electrica auxiliar Ultraheat.Esta se utilizes con 230V y dispone de las fases de potencia 500 W, 1000 W o 2000 W. Iluminacion de la unidad deMANDO externa Ultraheat y la tapa ciega en la calefaction (Fig.6).
Consulte las instrucciones de uso correspondentes


Fig. 6
4.7 Prolongación de chimenea*
De forma optional se pueda equipar la calefacción con una prolongacion de chimenea (Fig. 7).
Consejo practico: Para campings de invierno o permanentes se recomienda la prolongacion de chimenea SKV (3 x 15 cm) atornillable a la propia chimenea.
En caso de que la calefaction se apague repetidamente en localizaciones con conditiones de viento extremas o en caso de uso en invierno, se recomienda la utilizacion de una prolongacion de chimenea AKV (15 cm) y ademas la tapa cobertora de chimenea T-2 o T-3.
- Consulte las instrucciones de uso correspondentes

Fig. 7
5 Funcionamento
5.1 Conectar la calefacción

PRECAUCION
Deflagración a causa de encendidos descontrolados.
Frecuencia de encendido reducida bajo a una pila vieja odebil en el encendido automatico.
Erciórese de que se producen al menos dos chispas de encendido porundo. En caso contrario, sustituya la pila del encendido automatico. (Véase «Cambio de pilas»).
i Consejo practico: Durante la primera puesta en marcha de un aparato nuevo de fabrica se pueda Presentedar una formacion de homo y olores por corto tiempo. Durante la puesta en marcha afterwards de un tiempo de inactividad especialmente prolongado se pueda Presentar una ligera formacion de homo y olores por corto tiempo a causa del polvo o la或多dad. Es conveniente estar que el aparato funcione durante algunos instantos en la fase de potencia mas alta para que se realice la autolimpieza y para procurrar una buena ventilacion del habitaculo.
Abrir la botella de gas y la valvula de cierre rápido en la tuberia de alimentación de gas.
Gire la empunadura de mando (Fig. 8-1) en ajuste de temperatura del 1 a 5, presione hasta el tope y mantengala pulsada como máximo 30 seguidos.
El encendido en caso de que能把 oirse las chispas de encendido se producirá automatistically durante este periodo.
Si hay instalada una indicación remota de encidido*, ahora tambiénoulda verse un indicatoróptico.

Fig. 8
Controle el proceso de encendido a工程技术 de la mirilla (Fig. 1-7).
Si el encendido tiene exito, podra verse una llama.
- Mantenga pulsada la empañadura de mando cuando del encendido exitoso de 10 a 20segundos para que el guardallamas reccione de modo fiable. Entones, suelte la empañadura de mando.
PRECAUCION Detragracion acause de encendidos descontrolados.
Los procesos de encendido fallidos peuvent haber producido la acumulación de una mezcla inflamable de gas y aire en la calefacción.
En caso de anomalias o de encendido fallido,esperar al menos tres Minutes antes de un nuevo intento de encendido.
Despues de tresintentosdeencendido sin exito,pongase encontacto conel Servicio posventa.
Si la llama se apagase durante el funciona, se producirá un intento de reencendido automatico e inmediato en el intervalo del tiempo de ciderre del guardallamas (aprox. 30 segundos). En el caso de que no se produzca un encendido a pesar de un intento de reencendido (p. ej. bajo a que la botella de gas está vacia), el encendido automatico seguirá的功能ando hasta que la empañadura de mando se situe en «0».
5.2 Ajustar la temperatura ambiente
Gonsoje practico: Para encontrar una distribución del aire caliente rápida y homogenea, como una bajada de las temperatas superficiales en la rejilla de salute del aire caliente, se recomienda usar la calefaction con el ventilador* en funcionaimiento. Eso también reduce el peligro de condensation en superficies frias.
5.2.1 Ajustar la temperatura
Siga girando la empunadura de mando (Fig. 8-1) a la derecha / izquierda paraacular / disminuir la temperatura.
El ajuste exacto del termostato debe determinarse en funcion del tipo de construccion del vehiculo y segun la necessities de calor individual.
El sensor termostálico se incluye en la parte inferior de la calefacción. La corriente de aire fría a工程技术 de las rejillas de ventilación del frigorífico, las rendijas de las puertas, etc. o una moqueta deleo长大o pueda influir negativamente en el termostato. Estas fuertes de interferencia deben eliminarse en cualquier caso, ya que de lo contrario no podra garantizarse una regulación de temperatura satisfactoria.
Asegurar de que el aire ambiente pueda pagar sin problemas por la hendidura de la chapa de fondo y el borde inferior del revestimiento yninger al interior de la calefacion.
5.3 Desconexión
5.3.1 Desconectar la calefacción
Coloque la empañadura de mando (Fig. 8-1) de la calefaction a «0».
El suministro de gas sera interrupido y la llama se apagará.
5.4 La calefaction no se va a usar durante un periodo prolongado
Si la calefaction no va a usarse durante un periodo de tiempo prolongado, p. ej., por una ausencia larga del camping, traslado o deposito del vehiculo en un almacén de invierno, etc., se recomienda seguir los siguientes pasos:
Cerrar la valvula de la botella.
Cierre la valvula de cierre rápido en la tuberia de alimentación de gas.
6 Fallos
A continuación, se presentan medidas para la solución de fallos. Si las medidas no conducen al exito, ponser en contacto con el Servicio postventa Truma.
Después de una deflagración o de que se hayan producido daños en la calefacción o en el suministro de gas, apagar inmediamente la calefacción, interruptir el suministro de gas al aparato y ponerse en contacto con el servicios posventa de Truma.
El encendido automatico no funciona
Comprobar las baterias y, en caso necessario, sustituirlas
Comprobar posicón de montaje (polaridad) de la bateria.
En caso de que estén oxidados, limpiar los contactos de las baterias.
no hay llama
El encendido automatico funciona, pero no se produce llama. Fallo en el suministro de gas.
Comprobar el nivel de llenado de las botellas de gas.
Comprobar y, en caso necessario,Abrir valvula de las botellas de gas.
Si se dispone de el, comprobar el seguro antirrotura y, en caso necessario, restablecerlo.
Comprobar que el filtro de gas (si se dispone de el) no presente restos de aceite y, en caso necessario, sustituir los cartuchos de filtró.
Si se dispone de el, comprobar o abrir el sensor de colisión.
Comprobar o partir la valvula del aparato (bloque de valvulas en el vehiculo).
Occasionalmente nolega gas (a temperatas exteriores por debajo de +10^ )
Dutano no esADECUCADO para la calefacion a temperatas por debajo de 10^
Utilizar propano y encender la calefacion del regulator EisEx (si se dispone de ella), y, en caso necasario, reequipar.
La calefacción ya no calienta correctamente
Comprobar que la abertura de chimenea no este taponada (p. ej., por la nieve).En caso necessario, requipar la prolongacion de chimenea.
Retirar la alfombra o cualquier othera fuente de interfe- rencia de la calefacion.
7 Limpieza y cuidado
PRECAUCION
Pigo ro de quemaduras por partes del aparato.
a limpieza solo debe realizarse con la calefacion apagada y fria.
PRECAUCION Pteas puntiaguoc
Pese a la esmerada fabricacion, la calefacion可以使 contener piezas de canto vivo que pueeden provocar lesiones por corte.
Utilizar guantes protectores durante los trabajo de limpieza!
7.1 Limpieza de la calefaction
El polvo acumulado en el intercambiador de calor, la placata base y la rueda del ventilador de la instalacion del ventilador debe eliminarse por lo menos una vez al anio.
Retirar el revestimiento Véase el capitulo «Retirar el revestimiento»
- Impiar cuidadosamente la rueda del ventilador con un pincel, un cepillo(PC)queño o un aspirador.
Comprobar que el intercambiador de calor no tenga sociedad y, en caso necessario, limpiarlo con un aspirador.
AVISO
Los produits con contenido de cloro能把 darar las superficies.
Noutilizar productos con contenido de cloro.
Instalar el revestimiento. Véase el capítulo «Instalar el revestimiento»
7.2 Retirar el revestimiento
PRECAUCION
gro de quemaduras por piezas del aparato.
El revestimiento solo debe retirarse con la calefaction apagada y fría.
El revestimiento se desbloquea presionando al mismo tiempo las dos palancas de cierre (Fig. 9-1) hacía fuera. El revestimiento puede Pivotarse hacía fuera y elevarse desde los soportes inferiores.

7.3 Instalar el revestimiento
- Enganchar el revestimiento en los soportes inferiores a derecha e izquierda (Fig. 10-1) y girarlo hacía adentro (Fig. 10-2) hasta que el bloqueo encaje de forma audible. Comprobar que el revestimiento está bien sujeto tirando de él.

Fig. 10
8 Mantenimiento y entretenimiento
8.1 Cambio de pila en el encendido automático
Si no se escuchan chispas de encendido durante la puesta en marcha o se producen menos de dos chispas de encendido porsegundo,deferabastiftuirse la pila.
Sejo practico: Colocar una pila nuevo antes del inicio de cada temporada de calefaction!
AVISO
Fallo de funciona por uso de bacterias inapropiadas
Utilizar solo pilas Mignon de 1,5 V (como LR 6, AA, AM 3) a prueba de fugas y resistentes al calor (70^) (n.° de art. 30030-99200).
PRECAUCION
Btro de quemaduras por piezas del aparato.
La pila solo debe cambiarse con la calefacacion apagada y fría.
Retirar el revestimiento.
Levantar la tapa del compartmento de pila y cambiar la pila. Prestar atencion a la posicion del polo positivo y negativo.
Cerrar de nuevo el compartmento de pila.
Colocar de nuevo el revestimiento.
- Eliminar la bateria (vease el capitulo «Eliminacion y reciclaje»)

Fig. 11
8.2 Indicaciones especiales
Si se aplicá protección de los bajos al sueño del vehículos, deben cubrirse todas las piezas de la calefaction situadas bajo del vehcimiento para que la niebla del pulverizado originada no cause fallos de funciona elthemodela de calefaction. Una vez conclusidos los problemas, quitar de nuevo las cubiertas.
9 Eliminación de residuos y reciclaje
Desear, y la pila del encendido automatico por分开, segun los relogantos administrativos del correspondiente Pais deutilization. Deben respetarse la normativa y las leyes naciales (en Alemania es, p.ej., el decreto de vehiculos al final de su vida utl).
La pila no debe eliminarse a trovés de la basura domestica, sino que debe ser destinada a su reciclaje através de un punto de recogida. De este modo, contribuira usted a la reutilizacion y al reciclaje. En otheros paises debe respetarse la correspondiente normativa vigente.
10 Datos技术和
(determinados según la EN 624 o conditiones de prueba Truma)
| Tamaño Valor | |
| Tipo de gas Gas licoado (propano / butano) | |
| Presión de servicios | 30 mbar |
| Potencia tírmica nominal | S 3004: 3500 W S 5004: 6000 W |
| Consumo de gas | S 3004: 30 - 280 g/h S 5004: 60 - 480 g/h |
| Carga tírmica nominal | S 3004: Qn=4,0 kW (Hs); 290 g/h; C51 S 5004: Qn=6,8 kW (Hs); 490 g/h; C51 |
| Tensión de funcionaimiento | 1,5 V (bateria LR6 / Mignon) |
| Consumo de potencia | 225 mW (encendido) |
| Peso sin ventilador | S 3004: aprox. 10,3 kg S 5004: aprox. 17,5 kg |
| Categoría de aparato | Países de destino |
| I3B/P(30) | AT, BE, BG, CH, CY, CZ, DE, DK, EE, ES, FI, FR, GB, GR, HR, HU, IE, IS, IT, LT, LU, LV, MT, NL, NO, PL, PT, RO, SE, SI, SK, TR |

CE 0085
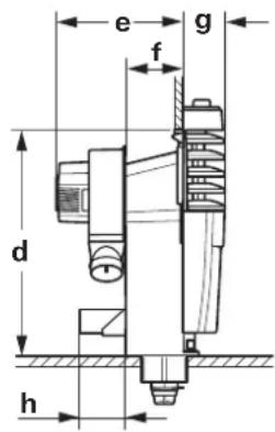
10.1 Medidas


Fig. 12
Dimensiones S 3004 S 5004
a con unidades de mando 545 568
| b sin unidades de mando 528 550 | ||
| c sin listón de adorno | 500 | 530 |
| cromado | 533 | |
| con listón de adorno | 503 | |
| cromado | ||
| d 480 501 | ||
| e | 281 374 | |
| f | 122 217 | |
| g sin listón de adorno | 90 | 120 |
| cromado | 122 | |
| con listón de adorno | 92 | |
| cromado | ||
| h Truma Ultraheat * | 102 | 102 |
Medidas en mm con tolerancia +2mm / - 1mm
10.2 Garantía
Declaración de garantía del fabricante (Unión Europea)
10.2.1 Cobertura de la garantía del fabricante
Como fabricante del aparato, Truma offre al consumidor una garantia que cubre posibles daños de material y/o de fabricación del aparato.
Esta garantía tiene vigencia en los Estados miembros de la Unión Europea, como en Islandia, Noruega, Suiza y Turquía. El consumidor es la prima personaística que adquiere el aparato del fabricante, fabricante de equipuesto original o distribuidor y no lo vende ni instalata ateringos en el marco de una activités profesional autónoma o comercial.
La garantía del fabricante es valida para los defectos anteriorsmente indicados que se produzcan en un plazo de 24 días desde la celebración del contrato de compraventa entre el vendedor y el consumidor final. El fabricante o un socio de servicios autorizzato subsanára tales defectos por cumplimiento posterior, pudiendo
elegantamente entre la reparación o la sustitución. Las piezas defectuosas pasan a ser propidad del fabricante o del socio de servicios autorizzato. Si el aparato ya no se fabraca en el momento en el que se comuna el defecto, en caso de que sea necessario sustituir el producto, el fabricante pueda suministrar también un producto similar.
Si el fabricante hace efectiva la garantía, para las piezas reparadas o sustituidas no se reinciaria el plazo de dicha garantía, sino que seguirá corriendo el antiguo. So-lo el fabricante o un socio de servicios autorizzato está autorizados a realizar loseworkos contemplados en la garantía. Los costes que se generate en caso de hacer uso de la garantía se liquidan entre el socio de servicios autorizzato y el fabricante. Los costes adiconales por conditiones dificultosas de desmontaje y montaje del aparato (como desmontaje de muebles o piezas de carrocería), asi comoastos de desplazamente del socio de serviceo autorizzato o del fabricante no pueda incluirse en las prestaciones de garantía.
Se excluye cualquier tipo de pretension, en particular las reclamaciones por daños y perjuicios por parte del consumidor o de cerceros. Todoarlo se entiende sin perjuicio de las normas de la Ley alemana de responsabilidad por productos defectuosos (Produkthaftungsgesetz).
La garantía voluntaria del fabricante no afecta de ninguna forma a las pretensiones legales vigentes del consumidor a reclamar por defectos materiales freme al vendedor en el pais de compra. En algunos países pueda existir garantías otorgadas por los distribuidores correspondientes (distribuidor oficial, Truma Partner). Estas garantías las能把tramitar el consumidor directamente a través del distribuidor al que ha comprado el aparato. Se aplican las conditiones de garantía del pais en el que el consumidor haya adquirido el aparato por primera vez.
10.2.2 Exclusion de la garantía
No existe correcho de garantia:
- si se ha hecho un uso inadequado, indebido, erroneo, negligente o impropio del aparato,
- si la instalacion, montaje o puesta en marcha se realizan de forma inadequada, sin tener en cuenta las instrucciones de uso y montaje,
- en caso de manejo u operation inadequados que dificieran de las instrucciones de uso y montaje, especially en caso de inobservancia de lasindicaciones deostenimiento,seedado y advertencia,
- en caso de instalaciones, reparaciones o intervenciones realizadas por@socios no autorizados,
- para los materiales consumibles, las piezas sometidas a desgaste ni por el deterioro natural debido al uso,
-
si el aparato cuenta con piezas accesorias, de sustitución o ampliación que no son piezas originales del fabricante o no han sido autorizadas porél.
-
Este se aplica en particular en caso de control en red del aparato cuando los aparatos de control y el software no han sido autorizados por Truma o cuando el aparato de control de Truma (p. ej., Truma CP plus, Truma iNet Box) no es utilizado exclusivamente para el control de aparatos de Truma o aparatos autorizados por Truma,
- en caso de daños occasionados por sustancias extrñas (p.ej. aceite, ablandantes en el gas), influencias químicas o electroquímicas en el agua o si el aparato haentrado en contacto conorasustancias no adecuadas (p.ej. productos químicos, sustancias inflamables, productos de limpieza inadecuados),
- en caso de danos por conditiones de service desfavorables o condidiones ambientales anormales,
- en caso de danos por fuerza mayor o catastrophes naturales, asi como除外as influencias que no son responsabilidad de Truma,
- en caso de danos resultantes de un transporte inadequado,
- en caso de modificaciones en el aparato incl. piezas accesoras, de sustitución o ampliación y su instalación, sobre todo de la calidad del gas de escape o en la chimenea(LLVadas a cabo por el cliente final o por cerceros.
10.2.3 Ejercimiento del derecho de la garantía
La garantía debe reclamarse ante un Service Partner autorizzato o en la Central de Servicio de Truma. Encontrará todas las direcciones y númeroos de téléphone en www.truma.com en elApartado «Servicio».
La direccion del fabricante es:
85640 Putzbrunn (Alemania)
Para poder el trámite, cuando se ponga en contacto, le rogamos queonga a mano lasuma informacion:
- Descripción detallada del defecto
-Numero de série del aparato - Fecha de compra
El Service Partner autorizo o la Central de Servicio de Truma determinan como se procedera a continuacion. Paraatarpiblesdañosde transporte,el aparato afectado solocouldeenviarsetrashaberconsultado al ServicePartner autorizo o a la Central de Servicio Truma.
Si el fabricante accepts el caso de garantía, el fabricante asumirá los gastos de transporte. Si el caso no está considerado en la garantía, se informará al consumidor y este技术支持 que asumir los costes de transporte y reparación. No envie el aparato sin haberlo consultado previamente.
ES En caso de avería, dirijase a la Central de Servicio Truma o a algunos servicios专业技术 autorizado (visite www.truma.com).
Para unatramitaciónrápida,tenga preparado el tipo de aparato y el número de série (vease la placacdecharacteristicas).
Typenschild
ManualFácil