FITvigo BPM 1600 - Misuratore di pressione ADE - Manuale utente e istruzioni gratuiti
Trova gratuitamente il manuale del dispositivo FITvigo BPM 1600 ADE in formato PDF.
Domande degli utenti su FITvigo BPM 1600 ADE
0 domanda su questo apparecchio. Rispondi a quelle che conosci o fai la tua.
Fai una nuova domanda su questo apparecchio
Scarica le istruzioni per il tuo Misuratore di pressione in formato PDF gratuitamente! Trova il tuo manuale FITvigo BPM 1600 - ADE e riprendi in mano il tuo dispositivo elettronico. In questa pagina sono pubblicati tutti i documenti necessari per l'utilizzo del tuo dispositivo. FITvigo BPM 1600 del marchio ADE.
MANUALE UTENTE FITvigo BPM 1600 ADE
Dimensiones del tensiometro: Peso: aprox. 110 g
Dimensiones: 80 × 73 × 13 ~mm
Modo de funciona: Funcionamente continuo
La ringraziamo per aver optato per l'acquisto di un prodotto del programma FITvigo di ADE: i rilevatori dell'attività fisica, le bilance per analisi corporea e i misuratori della pressione sanguigna sono dotati di una funzione Bluetooth® per la trasmissione di tutti i dati all'app FITvigo. L'app gratuite FITvigo,或者其他 offrire un monitoraggio chiaramente comprensibile, èanche fonte di motivazione e incentivi per il raggiungimento del benessere personale. L'alta qualità dei prodotti e dell'app è garantita alla pluriennale esperienza del marchio ADE.
Ci auguriamo che il nostro prodotto FITvigo soddisfi le Sue aspettative.
II Suo team ADE
Informazioni generali
Informazioni sulle presenti istruzioni per l'uso

Queste istruzioni per l'uso descrivono l'utilizzo sicuro e la cura del prodotto. Conservare queste istruzioni per l'uso per eventuali consulzioni future.
In caso di cessione del prodotto a terzi, consignareanche le presenti istruzioni per l'uso.
La mancata osservanza delle istruzioni per l'uso più causare lesioni alle persone o danni al prodotto.
Legenda nelle istruzioni per l'uso
In questo manuale possono apparire i seguenti symboli:

Questo symbolo accompagnato alla parola PERICOLO mette in guardia contro il rischio di gravi lesioni.

Questo symbolo accompagnato alla parola AVVERTENZA indica il rischio di lesioni di lieve o media entità.

Qesto symbolo accompagnato alla parola ATTENZIONE indica il rischio di danni alle cose.

Questo symbolo indica ulteriori informazioni oindicazioni generali.

Osservare le istruzioni per l'uso

Il prodotto è conforme alla Direttiva 93/42/CEE sui dispositivi medici (si veda il capitolo "Dichiarazione di conformità").

Produttore

Data di fabbricazione
SN
Numero di série

Adatto solo per uso interno

Parte applicativa tipo BF

Contiene un trasmettitore RF

Dispositivo di classe di protezione II

Corrente continua

Smaltimento in conformità alla direttiva CE sui rifiuti di apparecchiature elettriche ed elettroniche RAEE
Indice dei contenuti
Informazioni generali 82
Destinazione d'uso. 85
Sicurezza 85
Funzionalità dello misuratore della pressione sanguigna 87
Ambito della fornitura 87
Descrizione 88
Letturesuldisplay 89
Messa in funzione 90
Misurazione della pressione sanguigna 91
Trasferimento dei dati / Uso dell'app FITvigo 93
Utilizzare i valori misurati memorizzati sul dispositivo 94
Informazioni generali sulla pressione sanguigna. 95
Pulizia 97
Conservazione 97
Risoluzione dei problemi 98
Caratteristiche tecniche 99
Dichiarazione di conformità 100
Garanzia 100
Smaltimento 101
Destinazione d'uso
Questo dispositivo serve alla misurazione della pressione sanguigna/delle pulsazioni sul polso di uomini.
Il disposativo è destinato ad uso privato e non è idoneo per uso commerciale in studi medici, cliniche ecc.
L'aspettativa di vita utile dello misuratore della pressione sanguigna è di fino a 3 anni se utilizzato come previsto.
Sicurezza
- I bambini non devono giocare con il disposativo.
- Il dispositorio contiene una batteriaagli ioni di litio. Questa non deve essere smontata,gettata nel fuoco o messa in cortocircuito.Pericolo di esplosion! Proteggere la batteria integrata dal calore eccessivo.La batteria è saldamente installata nel dispositorio e non può essere né sostituita né rimossa.La rimozione impropriaria della batteria può causare un'esplosion.Se la batteria è difettosa,contattare il centro di assistenza o una officina specializzata.
- Accendere l'unità solo quando il bracciale è fissato al polso. In caso contrario, il bracciale si danneggia.
PERICOLO per i bambini
- Tenere lontano alla portata dei bambini il materiale di imballaggio. In caso di ingestione sussiste il pericolo di soffocamento. Prestare attenzione affinché i bambini non infilino la testa nel sacchetto di plastica.
ATTENZIONE a danni materiali
- Proteggere lo misuratore della pressione sanguigna da urti forti, vibrazioni, luce solare diretta, sporco e umidità.
- Non apportare nessuna modifica al disposativo. Le riparazioni devono essere eseguite solo dal nostro centro di assistenza o da un'officina specializzata. Riparazioni non eseguite correttamente possono essere causa di seri pericoli per l'utente.
ATTENZIONE alle restrizioni sanitarie
- Nei seguenti casi"This什么意思?"
- Nei seguenti casa"This什么意思?"
- Nei seguenti casa"This什么意思?"
- Nei seguenti casa"This什么意思?"
- Nei seguenti casa"This什么意思?"
- Nei seguenti casa"This什么意思?"
- Nei seguenti casa"This什么意思?"
- Nei seguenti casa"This什么意思?"
- Nei seguenti casa"This什么意思?"
- Nei seguenti casa"This什么意思?"
-
Nei seguenti casaThis有意思.
-
misurazioni successive troppo frequenti,
-
Applicare e gonfiare il bracciale sul polso su cui si trovato Shunt AV.
- Gonfiare il bracciale sul lato del polso dove è stata eseguita una mastectomy.
Non mettere il bracciale su una ferita, in quanto ciò può causare ulteriori lesioni.
- L'uso frequente in un breve periodo di tempo potrebbe promiettere la circolazione sanguigna.
- Le personne sensibili, come le donne in gravidanza, i pazienti con gestosi tardiva, con impianti medici elettronici, i pazienti con fibrillazione atriale (AF), extrasistole ventricolari o con patologie vascolari periferiche, devono consultare il proprio medico prima di utilizzato il dispositivo.
Possibili interferenze a causa di campi elettrici
Nelle vicinanze di forti campi elettrici le misurazioni possono essere alterate.
Pertanto, non effettuare misurazioni vicino a fili di alta tensione, forn i microonde, TV e Telefoni cellulari.
Informazioni importanti sul tema "Misurazione"
- I valori misurati da parte dell'utente servono come informazione e non sostituiscono le visite mediche.
- Non intraprendere azioni terapeutiche in base all'automisurazione.
- Sulla base di una misurazione non modificare il dosaggio di un farmaco prescritto dal medico e discutere i valori misurati con il medico.
- Misurare la pressione sanguigna 3 volte al giorno per una settimana e prima di assumere farmaci per garantire una comparabilità dei valori.
- Rilassarsi per circa 5 minuti prima di agli misurazione. É inoltre necessario attendere 5 minuti tra 2 misurazioni.
- Inizialmente prendi almeno una misura su ciascun braccio e confronta i valori. Utilizzare il braccio con i risultati di misurazione più elevati per tutte le misurazioni future.
- Nel caso di limitazioni del flusso sanguigno ad un braccio a causa di patologie vascolari croniche o acute (ad es. vasocostrizioni), l'accuratezza della misurazione è limitata.
-
Possono verificarsi misurazioni errate in caso di:
-
patologie del sistema cardiovascolare,
- pressione sanguigna molto bassa,
disturbi della circolazione e del ritmo cardiaco.
In questi casi, consultare il proprio medico prima di utilizzato lo misuratore della pressione sanguigna.
Funzionalità dello misuratore della pressione sanguigna
- Memoria utente per 60 misurazioni nel dispositivo, gestione illimitata di tutti i risultati delle misurazioni nell'app
- Trasferimento di dati sull'app FITvigo tramitluethooth
- Misurazione dei dati della pressione sanguigna (valore sistolico e diastolico) sul polso
- Misurazione della frequenza del polso
- Visualizzazione delle anomalie del battito cardiaco (avviso di aritmia)
- Misurazione durante il gonfiaggio del bracciale
- Misurazione con il metodolo oscillometrico, ovvero in base al rilievo delle oscillazioni pulsatoriie.
- Classificazione dei valori di misurazione secondo valori preimpostati determinati dall'OMS*
- Visualizzazione della data e dell'ora
- Spegnimento automatico
-
Indicazione dello stato di carica della batteria
-
si veda anche il capitolo "Classificazione pressione sanguigna standard" più avanti in quello manuale
Ambito della fornitura
- Misuratore della pressione sanguigna
Cavo di collegamento USB
Istruzioni per l'uso

- L'app "FITvigo" può essere scaricata gratuiteamente da Internet, si veda "Installazione App".
Rimuovere la pellicola protettiva dal display.


1 Alloggiamo
2 Display
3 Bracciale
4 Tasto START, STOP eBluetooth®
5 Tasto /SET per impostazioni e per diminuire i valori
6 Tasto MEM per salvare e per augmentare i valori
7 Connettore USB
Senza illustrazione: Cavo di collegamento USB
Rimuovere la pellicola protettiva dal display.

Simbolo Funzione Descrizione
IHB
Indicatore IHB (aritmia)
Monitor della frequenza cardiaca per battito cardiaco irregolare

Simbolo Bluetooth®
Connessione Bluetooth® con successo

Batteria scarica La batteria e scarica è deve essere ricaricata
ERROR
Errore Si è verificato un erre

Rilevamento del battito Mostra il battito cardiaco, quando è rilevato
MEMORY REVIEW
Memoria dati Dati salvati con successo
SYS. mmHg
Pressione sanguignasistolica
Valore pressione sanguigna massimo con unità di misura
DIA. mmHg
Pressione sanguignadiastolica
Valore pressione sanguigna minimo con unità di misura
Pul min
Battito Pulsazione/minute
8:88 PM 18/38/88
Ora e data Ora/Minuto (Mese/Giorno/Anno)
Carica della batteria

- Tenere premuti brevamente i due pulsanti grigi MEM e SET finché il display non viene attivato.
- Collegare il cavo USB fornito al connettore USB sullo misuratore della pressione sanguigna e alla porta USB di un computer (PC, tablet, notebook) o un caricabatterie USB.

Osservare i contatti della porta USB e il symbolo di carica sul display.
Nonutilizzareildispositivomentein carica.
Quando il symbolo della batteria non lampeggia più sul display, la batteria è completamente carica e lo misuratore della pressione sanguigna è primo per l'uso.
Impostare ora e data
- Tenere premuto il tasting, fino a quando sul display non lampeggia l'indicazione delle ore.
- Impostare l'ora attuale con il pulsante /MEM. L'impostazione del tempo avviene nel sistema 12 ore. Le ore pomeridiane vengono visualizzate con "PM".
- Premere il tasting / SET, per salvare l'ora impostata.
- Procedure come descripto per impostare i valori seguenti: Ore > Minuti > Mese > Giorno > Anno.
- Infine, premere /SET.
Quando sul display appeare "done", la procedura è terminata.
Dopo ca. 60 sec. il dispositivo si spegne. Lasciarlo spegnere.
Installazione dell'app
- Assicurarsi che lo smartphone sia collegato a Internet.
- Scaricare l'App "FITvigo" nell'Apple App Store (iOS) o Google Play Store (Android).

- A seconda delle impostazioni dello smartphone, sono applicabiliosti aggiuntivi per la connessione a Internet o iltrasferimento di dati.
- Si consiglia di effettuare il download mediante una rete WLAN.
- É possibile utilizzato lo misuratore della pressione sanguigna con tutte le funzioni sulla l'app.
Collegamento del dispositivo con l'App (abbinamento)
- Attivare il Bluetooth® sul proprioo smartphone.
- Avviare l'App e seguire le istruzioni. Osservare le informazioni e gli avvisi. Dop o peu è possibile collegare lo misuratore della pressione sanguigna con l'App FITvigo.
Misurazione della pressione sanguigna
Prima della misurazione
Per ottenere valori significativi e risultati corretti di misurazione, tenere presente i seguenti punti:
- Misurare la pressione sanguigna più volte al giorno, preferibilmente allo stesso orario.
- Effettuare sempre le misurazioni nelle stesse condizioni, sempre utilizzando lo stesso braccio.
- Misurare in condizioni di rilassamento e cercare di rilassarsi per 5 minuti prima di effettuare la misurazione.
-
Evitare l'attività fisica circa un'ora prima della misurazione.
-
Non fumare o bere alcool prima di misurare la pressione sanguigna.
-
Misurare la pressione sanguigna in condizioni normali di temperatura corporea.
- Se il risultato di una misurazione devia fortemente dai risultati di misurazione usuali, eseguire una seconda misurazione. Tuttavia, attendere circa cinque minuti prima di ripetere la misurazione.
- Non gonfiare il bracciale nell'è stesso braccio in cui è GISato applicato un'alto dispositivo medico, in quanto ciò potrebbe causare un malfunzionamentotemporaneo di quello dispositivo.
- Fare riferimentoanche alla sezione "Informazioni generali sulla pressione sanguigna".
Applicare lo misuratore della pressione sanguigna
- Se il tuo medico ha diagnosticato una debole circolazione del sangue in uno dei loro polsi, usa l'altro polso.
- Liberare il polso dove si desidera applicare lo misuratore della pressione sanguigna. Rimuovere orologi, braccialetti ecc.
- Inserire la manoattraverso il bracciale aperto in modo che lo misuratore della pressione sanguigna mostri il lato interno della mano aperta (verso l'alto).

- Porre il bordo del bracciale 1-2 cm除去 il bordo della mano, come molto sul bracciale.
- Fissare il bracciale per polso con la mano aperta intorno al polso in modo che non visia ulteriore spazio tra il bracciale e la pelle.
Se il bracciale non è abbastanza stretto, i risultati di misurazione saranno imprecisi.
Mantenere la postura

La misurazioneiene effettuata da seduti.
Durante la misurazione:
- Sedersi comodi per la misurazione della pressione. Appoggiare schiena e braccia.
- Tenere i piedi poggiati sul pavimento.
- Piegare il braccio con il misuratore della pressione sanguigna fino a quando il bracciale è a livello del cuore.
Non muoversi e non parlare.
In anni caso, assicurarsi che il bracciale sia a livello del cuore.
Iniziare la misurazione

L'inflazione del bracciale provoca un breve restringimento del polso. Ciò può essere fastidioso, ma generalmente è assolutamente sicuro. La procedura di misurazione richiede solo un breve periodo di tempo.
- Premere il pulsante START/STOP per avviare la misurazione.

Il bracciale si riempie di aria; poco dopo viene visualizzato il battito del cuore.

Il risultato della misurazione viene visualizzato quale secondo dopo.
Se l'utente ha associato lo misuratore della pressione sanguigna con l'app, i dati misurati vengono poi trasferiti all'applicazione FITvigo tramiteBluetooth® si veda il capitolo successivo.
- Rimuovere il bracciale quando viene automaticamente sgonfiato.
- Premere il pulsante START/STOP per spegnere lo misuratore della pressione sanguigna. In caso contrario, l'unità si spegne automaticamente dopo un minuto.

Le informazioni sui risultati possono essere trovate nel capitolo "Informazioni generali sulla pressione sanguigna".
Trasferimento dei dati / Uso dell'app FITvigo
Se lo misuratore della pressione sanguigna è collegato correttamente allo smartphone, i dati di misurazione vengono automaticamente trasmessi all'app tramite Bluetooth®.
Osservare i symboli visualizzati:

ERROR
lampeggia: Trasmissione dei dati
Indicazione fissa + "done": Trasferimento dati effettuato con successo
Trasferimento dati non riuscito. I dati di misurazione correnti vengono memorizzati temporaneamente nell'isuratore della pressione sanguigna e trasferiti allo smartphone insieme alla misurazione successiva.
Osservare quanto segue per evitare problemi durante la trasmissione dei dati:
- La distanza tra lo misuratore della pressione sanguigna e lo smartphone non deve superare i 10 m.
- Tra lo misuratore della pressione sanguigna e lo smartphone non deve esserci alcun ostacolo.
- Altri dispositivi elettronici (soprattutto quelli con trasmissione o ricezione Bluetooth®) devono trovarsi ad almeno un metro di distance dallo misuratore della pressione sanguigna.
- Accertarsi che la funzionBluetooth® dello smartphone sia stata attivata.
Utilizzare i valori misurati memorizzati sul disposativo
Richiamare i valori di misurazione salvati
Nel disposivo vengono salvati massimo 60 valori. La capacité di memorizzazione nell'app è in teoria illimitata.

- Con il disposativo spento premere il tasto /MEM. Il display在哪il risultato dell'ultima misurazione.

- Utilizzare i tasti MEM o /SEv per scorrere in avanti o indietro i dati memorizzati.

Viene molto sempre prima l'ultima registrazione.
- Ogni nuova misurazione è preceduta alla misurazioneprecedente e memorizzata nella posizione di memoria n. 1. Se tutte le positioni di memoria sono occupate, l'ultimo valore con il numero 60 viene eliminato automaticamente.
Cancellazione dei valori memorizzati
- Richiamare le misurazioni memorizzate (modalità MEMORY REVIEW
- Premere contemporaneamente i tasti /MEM e SET, sino a quando sul display non appeare "dEL" e "done".
Tutti i valori misurati memorizzati nel dispositivo vengono eliminati.

Per annullare l'eliminazione e uscire nella modalità MEMORY REVIEW il pulsante START/STOP
Informazioni generali sulla pressione sanguigna
Pressione sanguigna sistolica e diastolica
La pressione sanguigna è generalmente intesa come la pressione sanguigna sistemica. Questa è la pressione che il muscolo cardiaco produce e che viene esercitata dal sangue contro le pareti arteriose.
La pressione sanguigna è individata come una coppia e si compone di
- pressione sanguigna sistolica e
- pressione sanguigna diastolica.
Infatti, il risultato di una misurazione della pressione sanguigna dovrebbe quindi essere ad es. "120 e 80".

Il primo numero (120) è la pressione sanguigna sistolica. Questo è il valore più alto e viene prodotto quando il sangue viene pompatoattraverso il muscolo cardiaco nelle arterie. Questa è la fase di tensione e di espulsione del cuore.
- Il secondo numero (80) rappresenta la pressione arteriosa diastolica. Questo è il valore più basso e viene创建工作 durante la pausa tra due pompate, la cosiddetta fase di rilassamento e riempimento del cuore.
Vantaggi dell'automisurazione
Soprattutto nel caso di persona ansiose, la vista di un medico può causare una pressione sanguigna più alta. Éanche difficoltà trarre conclusioni mediche da una singola misurazione della pressione sanguigna.
Può dunque essere utile effettuare le misurazioni a casa e registrarare le misurazioni per un lungo periodo di tempo. Ciò da l'idea della propria pressione sanguigna reale.
I valori misurati da parte dell'utente servono come informazione e non sostituiscono le visite mediche.
Non intraprendere azioni terapeutiche in base all'automisurazione.
Sulla base di una misurazione non modificare il dosaggio di un farmaco prescritto dal medico e discutere i valori misurati con il medico.
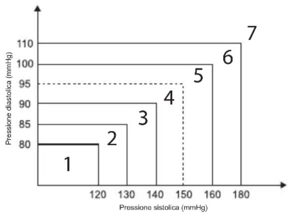
Classificazione pressione sanguigna standard

La classificazione della pressione sanguigna pubblicata dall'Organizzazione Mondiale della Sanità (OMS) e alla Società Internazionale per la pressione sanguigna (ISH) 1999 è molto但她 seguito.
1 = Pressione sanguigna ottimale
2 = Pressione sanguigna normale
3 = Pressione sanguigna alta/normale
4 = Linea limite (tratteggiata)
±b5 = Pressione leggermente alta I (grado 1)
±b6 = Pressione moderatamente alta (grades 2)
7 = Pressione gravamente alta (grado 3)
| Pressione sanguigna in mmHG | Bassa | Normale | Alta normale | Pressione leggermente alta | Pressione moderatamente alta | Pressione gravamente alta |
| SYS < 1 | 00 101 - | 129 130 - 1 | 39 140 - 15 | 9 160 - 179 ≥ 180 | ||
| DIA < 6 | 0 61 - 84 | 85 - 89 90 - | - 99 100 - 1 | 09 ≥ 110 |
Battito cardiaco regolare
Questo misuratore della pressione sanguigna è dotato di un IHB (Irregular Heart-Beat Detector) intelligente per rilevare il battito cardiaco irregolare. Per agli misurazione, l'IHB registra gli intervalli di battito cardiaco e determina la deviazione standard.
Se il valore calculato è maggiore o pari a 15, il symbolo IHB iHb viene visualizzato insieme al risultato della misurazione sul display.
Osservare:
- Il symbolo IHB indica che durante la misurazione è stata rilevata un'irregolarità di impulso associata a un battito cardiaco irregolare.
- Si consiglia di consultare un medico. Tenere presente che l'apparecchio non sostituisce il systema cardiaco, ma cui rilevare irregularità dell'impulso in una fase precoce.
Pulizia

ATTENZIONE a eventuali danni al prodotto
- Non immergere l'apparecchio in acqua o altri liquidi.
-
Non pulire il dispositivo con prodotti aggressivi o abrasivi, in quanto potrebbero graffiarne la superficie.
-
Se necessario, pulire lo misuratore della pressione sanguigna e gli accessori con un panno morbido leggermente inumidito.
- Disinfettare il bracciale di tanto in tanto con quale disinfettante (disponibile in commercio).
Conservazione
- Possibilmente conservare l'apparecchio e gli accessori nella confezione originale.
- In nessun caso porre oggetti pesanti sull'apparecchio e/o gli accessori.
Risoluzione dei problemi
| Problema Possibile causa | |
| Il dispositivo non funziona. | · Batteria completamente caricata? |
| Lo misuratore della pressione sanguigna在哪樣resultati di misurazione apparentemente falsi. | · Ripetere la misurazione dopo cinque minuti. |
| Indicazione "E1". | · Il bracciale non è fermo. Fissare il bracciale e ripetere la misurazione. |
| Indicazione "E2". | · Il bracciale è troppo stretto. Fissare il bracciale nuovamente e ripetere la misurazione. |
| Indicazione "E3". | · Rilassarsi un momento e ripetere la misurazione. |
| Indicazione "E10" o "E11". | · I movimenti possono influenzare la misurazione. Rilassarsi un momento, ripetere la misurazione. |
| Indicazione "E20". | · Liberare completely il polso e ripetere la misurazione. |
| Indicazione "E21". | · Misurazione apparentemente errata. Ripetere la misurazione. |
| Indicazione "Eexx". | · Si è verificato un erre di calibrazione. Ripetere la misurazione. Se l'errese si verifica nuovamente, rivolgersi al rivenditore presso il quale è stato acquistato il disposativo. |
| Sul display apparere + "Lo". | · La batteria è scarica e deve essere ricaricata, videere "Ricarica della batteria". |
| Sul display apparirà "ERRORLa trasmissione dei dati non è andata a buon fine. | · La funzionBluetooth® dello smartphone è stata attivata?· L'app FITvigo è stata attivata?· La distanza tra misuratore della pressione sanguigna e smartphone è troppo grande?Distanza massima: 10 metri. |

Per maggiori informazioni sull'app FITvigo, visitare il site www.fitvigo.de
Avete bisogno di aiuto o avete domande?
Inviateci una email all'indirizzo: support@fitvigo.de
Modello: Misuratore della pressione sanguigna/Polso BPM 1600
Versione software: V01
Batteria ricaricabile: Batteria agli ioni di litio 3,7V / 420mAh
Ricarica mediante interfaccia USB
Corrente nominale: ≤ 400mA
Modalità di misurazione: Methodo di analisi oscillografico
Portata: Pressione sanguigna: 0-40 kpa (0~300 mmHg)
Frequenza cardiaca: (40-199) Pulsazioni al minuto
Pressione sanguigna esatta: A 5^ - 40^ : entro ± 0,4kPa (3 mm Hg)
A 0^ - 45^ (ma al di fuori di 5^ - 40^ ):
entro ± 0,7 kPa (5 mm Hg); frequenza cardiaca: ± 5%
Condizioni di esercizio: Temperatura: 5^ - 40^
Umidità relativa: ≤ 85%
Pressione atmosferica: 86 - 106 kPa
Condizioni di conservazione Temperatura: -20^ + 60^
e transporte: Umidità relativa: 10 - 93%
Pressione atmosferica: 50 - 106 kPa
Dimensioni dello misuratore Peso: ca. 110 g
della pressione sanguigna:
Dimensioni: ca. 80 × 73 × 13 ~mm
Modalità di funzionamento: Funzionamento continuo
Grado di protezione: Parte applicativa del tipo BF
Classificazione IP IP 22
Protetto da corpi estranei ≥ 12mm
e alla caduta verticale di gocce d'acqua.
Classificazione dispositivi: Funzionamento a batteria: Dispositivo ME con
alimentazione interna mediante collegamento USB
Bluetooth®:Numero di modulo Bluetooth®:AW2540MV1
Frequenza: Da 2402 MHz a 2480 MHz
Potenza di trasmissione massima trasmessa: -1 dBm
Tensione di alimentazione: 2 V-3,6 V
Portata: 10 metro
Il marchio e i loghi Bluetooth® sono marchi registrati di Bluetooth® SIG, Inc. L'uso di quosti marchi è concesso in licenza a ADE GmbH & Co. KG.
Android, Google Play e il logo Google Play sono marchi di Google Inc.

ADE (GmbH & Co. KG)
Hammer Steindamm 27-29
22089 Amburgo, Germania
I nostri prodotti sono costamente sviluppati e perfezionati.
Pertanto, modifiche tecniche e nel design sono possibili in qualsiasi momento.
Dichiarazione di conformità
Con la presente la società ADE (GmbH & Co. KG) sotto la propria responsabilità dichiara che lo misuratore della pressione sanguigna BPM 1600 è stato fabbricato in conformità alle norme europee armonizzate ed è conforme alle Direttive UE 93/42/CEE, 2014/30/UE, 2014/35/UE e 2014/53/UE secondo le loro versioni vigenti.
Il testo completo della dichiarazione di conformità UE è disponibile al segunte indirizzo Internet: www.fitvigo.de/support/DoC
La presente dichiarazione perde agli sua validità qualora al dispositivo vengano apporte modifiche sulla notre autorizzazione.
Hamburg, luglio 2018
ADE (GmbH & Co. KG)
Hammer Steindamm 27-29
22089 Amburgo, Germania
C∈0044
La marcatura CE attesta la conformità ai requisiti essenziali della direttiva 93/42/CEE per i dispositivi medici.
Garanzia
La ditta ADE (GmbH & Co. KG) garantisce la riparazione o la sostituzione gratuite dell'unità per un periodo di 2 anni a partire alla data di acquisito, nel caso di difetti di materiale o fabbricazione del prodotto.
A tale scopo, consegnare al rivenditore il prodotto e la prova di acquisto (citando i motivi del reclamo).
Smaltimento dell'imballaggio

Smaltire l'imballaggio nella raccolta differenziata. Conferire il cartone nella raccolta della carta e la pellicola in quella del materiale riciclabile.
Smaltimento del prodotto
Smaltire il prodotto secondo le norme vigenti nel proprioio paese.

Il dispositivo non deve essere smaltito con i normali rifiuti domestici
Al termine della sua vita utile, l'apparecchio deve essere smaltito in modo appropriato. In tal modo si rende possibile il riutilizzo del materiale riciclabile contentuto nell'apparecchio limitando I'impatto sull'ambiente. Smaltire l'apparecchio usato presso un centro di raccolta per rifiuti elettrici o un centro di riciclaggio.
Per ulteriori informazioni rivolgersi alla ditta di smaltimento locale o alla propria amministrazione comunale.

Le batterie e gli accumulatori non devono essere smaltiti con i rifiuti domestici
Le batterie e gli accumulatori devono essere consegnati presso un centro di raccolta comunale o di quartiere, oppure presso il proprio rivenditore, al fine di garantire il loro smaltimento in modo rispetto dell'ambiente.
Attenzione:
Questo dispositivo contiene una batteria installata in modo permanente per motivi di sicurezza e non può essere rimossa perché struggere l'alloggiamo. La rimozione impropriaria comporta rischi per la sicurezza. Pertanto, si dovrebbe portare il dispositivo chiuso presso un centro di raccolta e smaltire il dispositivo e la batteria correttamente. Le informazioni sui punti di raccolta, che ricevono miglioramente le apparecchiature vecchie, sono sono essere ottenute presso le autorità locali o l'amministrazione comunale.
ManualeFacile