TS 142L - Trattore da giardino HUSQVARNA - Manuale utente e istruzioni gratuiti
Trova gratuitamente il manuale del dispositivo TS 142L HUSQVARNA in formato PDF.
| Caratteristiche | Dettagli |
|---|---|
| Tipo di prodotto | Trattore da giardino |
| Motorizzazione | Motore Husqvarna, 500 cc |
| Potenza | 15,5 kW a 3 600 giri/min |
| Trasmissione | Trasmissione automatica |
| Larghezza di taglio | 107 cm |
| Altezza di taglio | 25 a 75 mm, regolabile |
| Capacità del serbatoio | 6,5 litri |
| Pneumatici anteriori | 15 x 6 pollici |
| Pneumatici posteriori | 20 x 8 pollici |
| Peso | 220 kg |
| Utilizzo | Ideale per la manutenzione di prati e giardini di medie e grandi dimensioni |
| Manutenzione | Controllo regolare dei livelli di olio e carburante, pulizia del piatto di taglio |
| Sicurezza | Equipaggiamento di sicurezza raccomandato: occhiali, guanti, scarpe antinfortunistiche |
| Garanzia | 2 anni, condizioni di garanzia da verificare al momento dell'acquisto |
Domande frequenti - TS 142L HUSQVARNA
Domande degli utenti su TS 142L HUSQVARNA
0 domanda su questo apparecchio. Rispondi a quelle che conosci o fai la tua.
Fai una nuova domanda su questo apparecchio
Scarica le istruzioni per il tuo Trattore da giardino in formato PDF gratuitamente! Trova il tuo manuale TS 142L - HUSQVARNA e riprendi in mano il tuo dispositivo elettronico. In questa pagina sono pubblicati tutti i documenti necessari per l'utilizzo del tuo dispositivo. TS 142L del marchio HUSQVARNA.
MANUALE UTENTE TS 142L HUSQVARNA
IT Manuale dell'operatore 127-168
| Introduzione | 127 |
| Sicurezza | 131 |
| Montaggio | 136 |
| Utilizzo | 139 |
| Manutenzione | 144 |
| Risoluzione dei problemi | 158 |
| Trasporto, stoccaggio e smaltimento | 163 |
| Archiviazione | 163 |
| Smaltimento | 164 |
| Dati tecnici | 164 |
| Assistenza | 166 |
| Dichiarazione di conformità | 167 |
| Appendice | 256 |
Introduzione
Ispezione di preconsegna e numeri di prodotto
una copia firmata del documento di ispezione preconsegna dal rivenditore.
Nota: Un'ispezione di preconsegna è stata effettuata per questo prodotto. Assicurarsi di ricevere
| Informazioni di contatto del-l'officina: | |
| Il presente manuale operatore si riferisce al prodotto con codice/numero di serie: | |
| / | |
| Motore: | |
| Trasmissione: | |
Descrizione del prodotto
Trattore da giardino con piatto di taglio installato tra l'asse anteriore e l'asse posteriore. Dotato di motore a quattro tempi a benzina.
Accessori opzionali:
- Raccoglierba
• Tappo di pacciamatura
Uso previsto
Questo prodotto è destinato esclusivamente al taglio dell'erba in giardini privati e su pendenze non superiori a 15° all'interno dei giardini privati. Non deve essere utilizzato in parchi pubblici e campi sportivi, nel settore agricolo o nella silvicoltura. Utilizzare il prodotto solo con gli accessori approvati dal produttore.
Un diverso utilizzo del prodotto rappresenta un uso improprio. Questo invaliderà la garanzia e il produttore non si assumerà alcuna responsabilità per eventuali danni causati a terzi dall'utilizzatore.
Fare riferimento alle direttive locali per l'utilizzo dei rasaerba.
Supporto / Aiuto
Per ricevere assistenza o porre domande relative all'applicazione, al funzionamento, alla manutenzione o alle parti di ricambio del prodotto:
- visitare il nostro sito: www.husqvarna.com
• Chiamare il numero verde: 1-800-487-5951

- Interruttore luci
- Comando dell'acceleratore
- Contatore
- Comando di innesto frizione
- Interruttore di accensione
- Leva del freno di stazionamento
- Pedale del freno/frizione
- Leva di comando movimento
- Leva di sollevamento dell'accessorio
- Leva della ruota libera
Simboli riportati sul prodotto

Avvertenza! Prestare attenzione e utilizzare il prodotto correttamente. Il
prodotto può causare gravi lesioni o morte dell'operatore o altre persone.

ATTENZIONE: Un uso errato può causare danni al prodotto o lesioni personali.

Leggere attentamente il Manuale dell'operatore e accertarsi di aver compreso le istruzioni prima di utilizzare questo prodotto.

Retromarcia.

Folle.

Alta.

Bassa.

Posizione di avviamento per clima freddo.

Veloce.

Lento.

Comando dell'aria.

Interruttore di accensione.

Arrestare il motore.

Avviamento del motore.

Accensione del motore.

Pedale del freno/frizione.


Freno di stazionamento.

Freno di stazionamento inserito.

Freno di stazionamento disinserito.

Altezza di taglio.

Sollevamento del piatto di taglio.

Sistema per operazioni in retromarcia (ROS).

Retromarcia.

Marcia avanti.

Luci accese.

Carburante.

Pressione dell'olio.

Batteria.

Protezione acustica consigliata.

Le lame sono disinserite.

Le lame sono inserite.

Rischio di avvelenamento da monossido di carbonio.

Prestare attenzione agli oggetti lanciati.

Tenere lontano persone e animali dalla zona di lavoro.

Il simbolo del fuoco indica un rischio che, se ignorato, potrebbe causare morte, gravi lesioni e/o danni.

Livello potenza acustica.

Il prodotto è conforme alle direttive CE vigenti.

Il presente prodotto è conforme alle direttive del Regno Unito vigenti.

Tenere le mani e i piedi lontani da quest'area.

Non utilizzare il prodotto su pendenze superiori a 15°.

Superfici calde. Non toccare.

Quando si utilizza il prodotto, sul piatto di taglio deve essere installato il deflettore.

Quando si utilizza il prodotto, deve essere installato il raccoglierba.

Intrappolamento della mano.

Carico del gancio.

Ruota libera (solo modelli automatici).
Contatore
Il contaore mostra il numero di ore di funzionamento del motore. Fare riferimento a Panoramica del prodotto alla pagina 128 per la posizione del contaore.
Ogni 50 ore un simbolo del livello dell'olio viene visualizzato per 2 ore. Fare riferimento a Programma di lubrificazione alla pagina 146.
Per azzerare manualmente il contaore, ruotare la chiave di accensione in posizione ON, quindi in posizione "STOP" per 5 volte.
Nota: Il contaore si arresta solo quando la chiave di accensione è in posizione "STOP". Assicurarsi che la chiave di accensione rimanga in posizione "STOP" quando il motore si è arrestato.
Responsabilità del prodotto
Come indicato nelle leggi vigenti in materia di responsabilità obbligatoria sul prodotto, non siamo responsabili per eventuali danni causati dal nostro prodotto se:
- Il prodotto viene riparato in modo errato.
- Il prodotto viene riparato con parti che non provengono o non sono omologate dal produttore.
- Il prodotto contiene un accessorio che non proviene o non è omologato dal produttore.
- Il prodotto non viene riparato presso un centro di assistenza autorizzato o presso un'autorità competente.

AVVERTENZA: La manomissione del motore rende nulla l'omologazione UE del prodotto.
Sicurezza
Definizioni di sicurezza
Le avvertenze, le precauzioni e le note sono utilizzate per evidenziare le parti importanti del manuale.

AVVERTENZA: Utilizzato se è presente un rischio di lesioni o morte dell'operatore o di passanti nel caso in cui le istruzioni del manuale non vengano rispettate.

ATTENZIONE: Utilizzato se è presente un rischio di danni al prodotto, ad altri materiali oppure alla zona adiacente nel caso in cui le istruzioni del manuale non vengano rispettate.
Nota: Utilizzato per fornire ulteriori informazioni necessarie in una determinata situazione.
Norme di sicurezza per i trattori rasaerba

AVVERTENZA: Il prodotto ha una potenza sufficiente per amputare mani o piedi e scagliare violentemente gli oggetti. La mancata osservanza delle seguenti norme di sicurezza può essere causa di lesioni gravi o addirittura mortali.

AVVERTENZA: Scollegare sempre il cavo candela e collocarlo dove non possa venire a contatto con quest'ultima per non provocare inavvertitamente l'accensione durante la preparazione, il trasporto, la regolazione o la riparazione.

AVVERTENZA: Non percorrere tratti in discesa in folle, perché si potrebbe perdere il controllo del trattore.

AVVERTENZA: Trainare solo accessori consigliati dal costruttore del trattore e conformi alle specifiche. Durante il traino, usare buon senso.
Azionare solo alla velocità più bassa possibile su una pendenza. Su una pendenza, un carico troppo pesante è pericoloso. Gli pneumatici possono perdere trazione col terreno e causare la perdita di controllo del trattore.

AVVERTENZA: I gas di scarico, alcuni loro componenti e determinati componenti del veicolo contengono o emettono sostanze chimiche ritenute dallo Stato della California causa di cancro, difetti congeniti o altri danni al sistema riproduttivo.
I. BAMBINI

AVVERTENZA: QUESTA APPARECCHIATURA PUÒ CAUSARE LESIONI AI BAMBINI. L'American Academy of Pediatrics raccomanda che i bambini abbiano un'età minima di 12 anni prima di azionare un rasaerba con operatore a piedi e un minimo di 16 anni prima di azionare un rasaerba con operatore seduto.

AVVERTENZA: QUESTA APPARECCHIATURA PUÒ CAUSARE GRAVI LESIONI, ANCHE MORTALI, AI BAMBINI. Leggere attentamente e osservare tutte le istruzioni di sicurezza indicate di seguito.
La mancata attenzione a bambini nelle vicinanze della macchina da parte dell'operatore può provocare tragici incidenti. I bambini sono spesso attratti dalla macchina e dalle attività di taglio. Non presumere mai che i bambini resteranno nel punto in cui sono stati visti l'ultima volta.
- Tenere i bambini lontani dall'area di taglio e farli sorvegliare da un adulto responsabile che non sia l'operatore.
- Prestare attenzione e spegnere la macchina se nell'area di lavoro entrano bambini.
- Prima e durante la retromarcia, guardare indietro e in basso accertandosi che non vi siano bambini piccoli.
• Non trasportare mai bambini, nemmeno con le lame disinserite. Potrebbero cadere e subire gravi lesioni oppure impedire una manovra sicura
della macchina. I bambini che sono stati fatti salire sulla macchina in precedenza possono comparire improvvisamente nell'area di taglio per ripetere l'esperienza e possono essere travolti in marcia avanti o retromarcia.
- Non permettere che la macchina sia utilizzata da bambini.
- Prestare particolare attenzione nelle vicinanze di angoli ciechi, cespugli, alberi o altri oggetti che potrebbero limitare la visibilità in presenza di bambini.
- Leggere, comprendere e seguire tutte le istruzioni riportate sulla macchina e nel presente manuale prima di avviare la macchina.
- Non infilare mani o piedi nelle parti rotanti o sotto la macchina. Restare sempre lontani dall'apertura di scarico.
- La macchina deve essere utilizzata esclusivamente da adulti responsabili che abbiano dimestichezza con le istruzioni.
- Eliminare dall'area oggetti quali pietre, giocattoli, fili ecc. che potrebbero essere raccolti e scagliati dalle lame.
- Accertarsi che non vi sia nessuno nell'area di lavoro prima di avviare la macchina. Fermare la macchina se entra qualcuno nell'area di lavoro.
• Non trasportare mai passeggeri. - Non tagliare in retromarcia a meno che non sia assolutamente necessario. Durante le manovre in retromarcia, controllare sempre l'area sottostante e circostante la macchina.
- Non dirigere lo scarico verso altre persone. Evitare di scaricare il materiale contro un muro o un'ostruzione. Il materiale può rimbalzare nella direzione dell'operatore. Fermare le lame prima di attraversare superfici ghiaiate.
- Non azionare la macchina se il raccoglitore per l'erba, il deflettore di scarico o gli altri dispositivi di sicurezza non sono installati e funzionanti.
• Rallentare prima di svoltare. - Non lasciare mai incustodita una macchina accesa. Fermare sempre le lame, applicare il freno di stazionamento e spegnere il motore prima di lasciare la macchina incustodita.
- Fermare le lame quando non si taglia. Spegnere il motore a attendere che tutte le parti si siano completamente fermate prima di pulire la macchina, rimuovere il raccoglierba o stasare lo scivolo di scarico.
- Azionare la macchina solo nelle ore diurne o in buone condizioni di illuminazione artificiale.
- Non utilizzare la macchina sotto l'effetto di farmaci o alcolici.
- Prestare attenzione agli utenti della strada quando si procede accanto a una strada o la si attraversa.
-
In sede di carico e scarico della macchina su un rimorchio o camion, procedere con la massima cautela.
-
Indossare sempre occhiali protettivi durante l'uso della macchina.
- Per evitare danni all'udito, utilizzare sempre cuffie protettive.
- Le statistiche indicano che gli operatori di età pari o superiore a 60 anni sono i più soggetti a infortuni associati all'uso di rasaerba. Questi operatori devono valutare le proprie capacità di utilizzare il rasaerba in modo sufficientemente sicuro per proteggere se stessi e gli altri da gravi lesioni.
- Rispettare le raccomandazioni del produttore relativamente a pesi delle ruote o contrappesi.
- Tenere la macchina pulita da depositi di erba, foglie o altri detriti che al contatto con componenti caldi del condotto di scarico o del motore potrebbero incendiarsi. Non lasciare che il coprilama trascini foglie o altri detriti formando accumuli. Rimuovere l'eventuale olio o carburante fuoriuscito prima di utilizzare la macchina o del suo rimessaggio. Lasciare raffreddare la macchina prima del rimessaggio.
Istruzioni di sicurezza per il funzionamento
Abbigliamento protettivo personale

AVVERTENZA: Leggere le seguenti avvertenze prima di utilizzare il prodotto.
- Usare sempre abbigliamento protettivo personale omologato quando si utilizza il prodotto. L'uso di abbigliamento protettivo personale non elimina il rischio di lesioni, ma ne riduce la gravità in caso di incidente. Farsi consigliare dal rivenditore per la scelta dell'attrezzatura adatta.
- Usare sempre cuffie protettive omologate. Una lunga esposizione al rumore può comportare lesioni permanenti all'udito.
- Indossare sempre scarpe o stivali protettivi. Si raccomanda l'uso di punte in acciaio. Non utilizzare il prodotto a piedi nudi.


- Indossare i guanti quando è necessario, per esempio durante il collegamento, l'ispezione o la pulizia dell'attrezzatura di taglio.
- Non indossare abbigliamento non aderente, gioielli o altri oggetti che potrebbero impigliarsi nelle parti in movimento.
- Tenere a portata di mano il kit di primo soccorso o un estintore.
Dispositivi di sicurezza sul prodotto

AVVERTENZA: Leggere le seguenti avvertenze prima di utilizzare il prodotto.
• Non utilizzare un prodotto con dispositivi di sicurezza difettosi. Effettuare un controllo dei dispositivi di sicurezza con regolarità. Se i dispositivi di sicurezza sono difettosi, rivolgersi alla propria officina Husqvarna.
• Non apportare modifiche ai dispositivi di sicurezza. Non utilizzare il prodotto se le piastre di protezione, le coperture, gli interruttori di sicurezza o altri dispositivi di protezione non sono collegati o sono difettosi.
Verifica del controllo presenza operatore (OPC)

AVVERTENZA: Non azionare il prodotto se il controllo presenza operatore (OPC) è difettoso. Se l'OPC è difettoso, ripararlo immediatamente. Contattare un'officina autorizzata.
- Assicurarsi che il motore non si avvii se non quando il pedale del freno è completamente premuto e il piatto di taglio è disinnestato.
• Assicurarsi che il motore si arresti quando l'operatore si alza dal sedile con il freno di stazionamento disinserito. - Assicurarsi che il motore si arresti quando l'operatore si alza dal sedile con il piatto di taglio innestato.
- Assicurarsi che il comando della frizione del piatto di taglio non sia in funzione quando l'operatore è lontano dal sedile di guida.
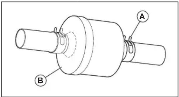
Verifica del sistema per operazioni in retromarcia (ROS)
Se il sistema per operazioni in retromarcia non funziona correttamente, riparare immediatamente il prodotto. Contattare un'officina autorizzata.
- Avviare il prodotto. Fare riferimento a Avviamento dell'unità alla pagina 140.
-
Innestare il piatto di taglio. Fare riferimento a Innesto e disinnesto del piatto di taglio alla pagina 143.
-
Verificare che il motore si arresti quando si tenta di eseguire la retromarcia con la chiave di accensione in posizione ON (A).

text_image
A B- Avviare il prodotto e innestare nuovamente il piatto di taglio.
- Portare l'interruttore di accensione in posizione ROS ON (B).
- Assicurarsi che il motore si arresti quando si esegue la retromarcia con la chiave di accensione in posizione ROS ON.
Controllo del freno

AVVERTENZA: La manutenzione del freno è necessaria quando il prodotto ha bisogno di oltre 1,5 metri (5 piedi) per l'arresto alla velocità massima nella marcia più alta su una superficie piana e asciutta.
- Parcheggiare il prodotto su una superficie piana e asciutta in cemento o pavimentata. Premere a fondo il pedale del freno e inserire il freno di stazionamento.
- Portare il comando della ruota libera nella posizione di "trasmissione disinnestata" per disinnestare la trasmissione.
- Quando si tenta di spingere manualmente in avanti il prodotto, le ruote posteriori devono bloccarsi e slittare. Se le ruote posteriori ruotano, è necessario eseguire la manutenzione del freno.
- Rivolgersi a un centro assistenza autorizzato.
Freno di stazionamento

AVVERTENZA: Se il freno di stazionamento non funziona, il prodotto può iniziare a muoversi e causare lesioni o danni. Assicurarsi che il freno di stazionamento venga controllato e regolato periodicamente.
Fare riferimento a Controllo del freno alla pagina 133.
Marmitta
La marmitta assicura il minimo livello acustico e allontana i fumi di scarico dall'operatore.
Non utilizzare il prodotto se la marmitta è mancante o difettosa. Una marmitta difettosa aumenta il livello acustico e il rischio di incendio.

AVVERTENZA: La marmitta si surriscalda durante e dopo l'uso e quando il motore funziona al regime minimo. Prestare attenzione in prossimità di materiali infiammabili e/o fumi per evitare incendi.
Controllo della marmitta
- Esaminare la marmitta periodicamente per assicurarsi che sia collegata correttamente e che non sia danneggiata.
Taglio dell'erba in pendenza

AVVERTENZA: Leggere le seguenti avvertenze prima di utilizzare il prodotto.
- La falciatura dell'erba su terreni in pendenza aumenta il rischio di perdita di controllo e di ribaltamento del prodotto. Ciò può causare lesioni anche mortali. È necessario falciare l'erba con cautela su qualsiasi terreno in pendenza. Se non è possibile effettuare la retromarcia su un terreno in pendenza o se ci si sente insicuri, non effettuare la falciatura.
- Rimuovere pietre, rami o altri ostacoli.
- Eseguire il taglio guidando parallelamente alla direzione di inclinazione del piano, non lateralmente.
- Non spostarsi su un pendio con il piatto di taglio sollevato.
- Non azionare il prodotto su terreni con pendenze superiori a 15°.

- Non avviare o arrestare il prodotto su terreni in pendenza.
- Spostarsi gradualmente e lentamente su terreni in pendenza.
-
Non effettuare bruschi cambiamenti di velocità o di direzione di marcia.
• Non effettuare più svolte del necessario. Girare lentamente e gradualmente quando ci si sposta su un pendio. Viaggiare a bassa velocità. Girare la ruota con cautela. -
Evitare di attraversare solchi, buche e dossi. Vi è un rischio più elevato che il prodotto si ribalti su un terreno non piano. L'erba alta può nascondere eventuali ostacoli.
- Non tagliare in prossimità di bordi, fossi o argini. Il prodotto può ribaltarsi improvvisamente se una ruota si muove oltre il bordo di una pendenza ripida o un fosso, o se un bordo cede.
• Non tagliare l'erba bagnata. È scivolosa e gli pneumatici possono perdere aderenza facendo slittare il prodotto. - Non appoggiare il piede a terra per tentare di rendere il prodotto più stabile.
- Spostarsi con molta attenzione nel caso in cui un accessorio o un qualsiasi altro oggetto si sia impigliato, rendendo il prodotto meno stabile.
Sicurezza nell'uso del carburante

AVVERTENZA: Leggere le seguenti avvertenze prima di utilizzare il prodotto.
- Il carburante è infiammabile e i vapori sono esplosivi. Prestare attenzione al carburante per evitare lesioni, incendi ed esplosioni.
- Non respirare i vapori del carburante. I vapori del carburante sono velenosi e possono causare lesioni. Accertarsi che ci sia un sufficiente flusso di aria.
- Non rimuovere il tappo del carburante, né rabboccare il serbatoio del carburante a motore acceso.
- Lasciare che il motore si raffreddi prima di effettuare il rifornimento.
- Non rifornire il carburante in locali interni. Un flusso d'aria insufficiente può causare lesioni o la morte dovute ad asfissia o al monossido di carbonio.
- Non fumare in prossimità del carburante o del motore.
- Non posizionare oggetti caldi in prossimità del carburante o del motore.
- Non effettuare il rifornimento di carburante in prossimità di scintille o fiamme.
- Prima di effettuare il rifornimento, aprire lentamente il tappo del serbatoio del carburante e rilasciare la pressione con cautela.
- Il carburante sulla pelle può causare lesioni. In caso di contatto del carburante con il corpo, rimuoverlo con acqua e sapone.
- In caso di perdite di carburante sugli indumenti, cambiarsi immediatamente.
- Non riempire completamente il serbatoio del carburante. Il calore provoca l'espansione del carburante. Lasciare dello spazio nella parte superiore del serbatoio del carburante.
-
Stringere completamente il tappo del serbatoio del carburante. Se il tappo del serbatoio carburante non è serrato, vi è il rischio di incendio.
-
Prima di avviare il prodotto, spostarlo a minimo 3 m/10 ft dal punto di rifornimento.
- Non avviare il prodotto nel caso in cui vi sia carburante o olio motore su di esso. Rimuovere il carburante e l'olio motore indesiderati e lasciare asciugare il prodotto prima di avviare il motore.
- Esaminare regolarmente il motore per verificare la presenza di eventuali perdite. In caso di perdite del sistema di alimentazione, non avviare il motore fino a quando le perdite non sono state riparate.
- Non usare le dita per verificare se il motore presenta eventuali perdite.
- Conservare il carburante solo in contenitori omologati.
- Quando il prodotto e il carburante sono in magazzino, assicurarsi che il carburante e i vapori del carburante non possano causare danni.
- Versare il carburante in un contenitore omologato, all'aperto e lontano da scintille e fiamme libere.
Sicurezza batterie

AVVERTENZA: Una batteria danneggiata può esplodere e causare lesioni. Se la batteria presenta una deformazione o è danneggiata, rivolgersi a un'officina autorizzata Husqvarna.

AVVERTENZA: Leggere le seguenti avvertenze prima di utilizzare il prodotto.
- Utilizzare occhiali protettivi quando si è in prossimità delle batterie.
- Non indossare orologi, gioielli o altri oggetti metallici nelle vicinanze della batteria.
- Tenere la batteria fuori dalla portata dei bambini.
- Caricare la batteria in un luogo con buon ricambio d'aria.
- Tenere i materiali infiammabili a una distanza minima di 1 m quando si carica la batteria.
- Smaltire le batterie sostituite. Vedere Smaltimento alla pagina 164.
- Gas esplosivi possono fuoriuscire dalla batteria. Non fumare in prossimità della batteria. Tenere la batteria lontano da fiamme libere e scintille.
Sicurezza per il trasporto
- Utilizzare un veicolo omologato per il trasporto del prodotto.
- Le normative nazionali o locali di un mercato possono prevedere limitazioni per il trasporto del prodotto.
- L'operatore del veicolo di trasporto è responsabile del fissaggio sicuro del prodotto durante il trasporto. Fare riferimento a Trasporto alla pagina 163.
Istruzioni di sicurezza per la manutenzione

AVVERTENZA: Il prodotto ha un peso elevato e può causare lesioni o danni alle cose o alla zona adiacente. Non eseguire la manutenzione del motore o del piatto di taglio senza che queste condizioni vengano soddisfatte:
- Il motore è spento.
- Il prodotto è parcheggiato su una superficie piana.
- Il freno di stazionamento è azionato.
- La chiave di accensione è stata rimossa.
- Il piatto di taglio è disinserito.
- I cavi di accensione sono stati rimossi dalle candele.

AVVERTENZA: I fumi di scarico del motore contengono monossido di carbonio, un gas inodore, velenoso ed estremamente pericoloso. Non utilizzare il prodotto in spazi chiusi o senza un flusso d'aria sufficiente.

AVVERTENZA: Leggere le avvertenze seguenti prima di eseguire la manutenzione del prodotto.
- Per garantire le migliori prestazioni e la sicurezza, effettuare la manutenzione del prodotto a intervalli regolari come indicato nel programma di manutenzione. Fare riferimento a Programma di manutenzione alla pagina 145.
- Le scosse elettriche possono provocare lesioni. Non toccare i cavi quando il motore è acceso. Non effettuare una prova di funzionamento dell'impianto di accensione con le dita.
- Non avviare il motore se i coperchi protettivi sono stati rimossi. Vi è un alto rischio di lesioni provocate da parti calde o in movimento.
- Attendere che il prodotto si raffreddi prima di eseguire la manutenzione vicino al motore.
- Le lame sono affiliate e possono causare tagli. Posizionare paraventi attorno alle lame o usare guanti protettivi quando si lavora su di esse.
- Mettere sempre il piatto di taglio in posizione di manutenzione per pulirlo. Non parcheggiare il prodotto vicino al bordo di un fosso o in pendenza per accedere al piatto di taglio.

ATTENZIONE: Leggere le seguenti istruzioni prima di utilizzare il prodotto.
- Non ribaltare il motore se la candela o il cavo di accensione è stato rimosso.
• Assicurarsi che tutti i dadi e i bulloni siano serrati correttamente e che l'attrezzatura sia in buone condizioni.
- Non modificare la regolazione dei limitatori. Se il regime del motore è troppo alto, i componenti del prodotto possono danneggiarsi.
- Il prodotto è testato e approvato solo con l'attrezzatura in dotazione o raccomandata dal produttore.
Montaggio
Introduzione

AVVERTENZA: Leggere e comprendere il capitolo sulla sicurezza prima di montare il prodotto.
Per rimuovere il prodotto dalla confezione
- Rimuovere le parti sfuse incluse con il prodotto.
- Rimuovere i pannelli terminali.
- Rimuovere i pannelli laterali e posizionarli su una superficie piana.
- Rimuovere tutto il materiale da imballaggio.
- Rimuovere il prodotto dalla confezione e assicurarsi che non vi siano lasciate parti sfuse.
Utensili di montaggio
• Chiave da 1/2"
• Chiavi da 7/16" (2 pezzi)
• Manometro per pneumatici
• Coltello
- Pinze
- Set di chiavi a brugola (opzionale)
Componenti non montati che necessitano di montaggio
Il prodotto non è completamente montato. I seguenti componenti sono sfusi al momento dell'acquisto del prodotto.

Chiave, 2 pz

Foglio delle pendenze, 1 pz

Bullone a testa esagonale, 2 pz

Dadi, 2 pz

Presa d'aria per cofano, 1 pz

Prolunga di scarico dell'olio, 1 pz

Volante, 1 pz

Copertura centrale per volante, 1 pz

Copertura dell'albero sterzo, 1 pz

Bullone esagonale per il volante, 1 pz

Adattatore del volante, 1 pz

Prolunga dell'albero sterzo, 1 pz

Rondella piatta per volante, 1 pz

Rondella di sicurezza per volante, 1 pz

Sedile, 1 pz

Bullone esagonale per sedile, 2 pz

Rondella piatta per sedile, 2 pz
Assemblaggio del volante
- Installare la prolunga dell'albero sterzo (A) sull'albero sterzo (B).

- Installare la copertura dell'albero (C). Assicurarsi che le linguette di guida nella copertura dell'albero siano nelle posizioni corrette.
- Rimuovere l'adattatore del volante (D) dal volante (E).
- Posizionare l'adattatore del volante sulla prolunga dell'albero sterzo.
- Posizionare il volante sulla prolunga dell'albero sterzo.
- Assicurarsi che le ruote anteriori e il volante siano allineati in avanti.
- Installare la rondella piatta grande (F), la rondella di fissaggio (G) e il bullone (H). Serrare saldamente il bullone.
- Fissare la copertura centrale (I) al volante. La copertura centrale è fissata con chiusure a scatto.
Montaggio del sedile
- Rimuovere, ma non gettare, la bulloneria che fissa il sedile all'imballaggio di cartone.
- Rimuovere e smaltire l'imballaggio di cartone.
Nota: Non rimuovere il nastro dall'impugnatura di regolazione fino a quando il sedile non è fissato correttamente al prodotto.
- Collegare il connettore del cavo all'interruttore di sicurezza (A) sul sedile.

- Posizionare il sedile sulla piastra del sedile (B) e inserire il pezzo di plastica centrale (C) nel foro di montaggio della scanalatura centrale (D).
- Spingere il sedile all'indietro fino a quando i 2 pezzi di plastica anteriori (E) non sono allineati con i fori di montaggio delle scanalature anteriori. Spingere verso il basso il sedile per agganciare i pezzi di plastica nelle scanalature. Spingere il sedile all'indietro.

- Piegare il sedile in avanti e installare i 2 bulloni (F) e le 2 rondelle (G).

Nota: Assicurarsi che i 2 pezzi di plastica anteriori (H) siano completamente inseriti nella piastra del sedile.
Nota: Assicurarsi che le frecce sulle 2 rondelle siano rivolte verso l'alto.
-
Rimuovere il nastro dalla leva di regolazione (I) ed eliminare il nastro.
-
Verificare il controllo presenza operatore. Fare riferimento a Verifica del controllo presenza operatore (OPC) alla pagina 133.

AVVERTENZA: Non azionare il prodotto se il controllo presenza operatore è difettoso.
Installazione dell'elemento per il cofano
- Allineare la linguetta anteriore sull'elemento per il cofano con la fessura nel cofano.

- Allineare le linguette posteriori sull'elemento per il cofano con le fessure nel cofano.

- Spingere l'elemento per il cofano verso il basso sul cofano.

Regolazione del sedile
- Sedersi sul sedile.
- Sollevare la leva di regolazione del sedile (A).

text_image
A- Spostare il sedile fino a una posizione in cui è possibile premere i pedali del freno e della frizione.
- Rilasciare la leva di regolazione del sedile (A) per bloccare il sedile in posizione.
Collegamento della batteria

AVVERTENZA: Rischio di scossa elettrica e ustioni. Non utilizzare bracciali o altri accessori in metallo. Gli oggetti metallici che toccano i terminali della batteria possono causare ustioni, scosse elettriche e il cortocircuito della batteria.
Nota: Se sono passati l'anno e il mese riportati sull'etichetta della batteria, caricare la batteria. Caricare la batteria per almeno 1 ora a 6-10 A.
- Individuare la posizione della batteria al di sotto del sedile o del cofano.
- Portare la piastra del sedile o il cofano in posizione sollevata.
- Rimuovere i 2 cappucci di protezione dei morsetti (A) e gettarli via.

text_image
A PS N3N- Collegare il cavo della batteria rosso al morsetto positivo (+) e serrare il bullone e il dado come mostrato in figura. Spostare il coperchio del morsetto sul morsetto.

AVVERTENZA: Pericolo di scintille. Il cavo rosso della batteria deve essere collegato al morsetto positivo prima che il cavo nero della batteria sia collegato al morsetto negativo. In questo modo si evitano scintille e la messa a terra accidentale.
- Collegare il cavo nero al morsetto negativo (-) e stringere il bullone e il dado completamente.
- Applicare vaselina sui cavi della batteria per evitare la corrosione.
- Abbassare la piastra del sedile o il cofano.
Rimozione del prodotto dalla piastra di scorrimento
- Sollevare il piatto di taglio nella posizione più alta. Utilizzare la leva di sollevamento.
- Spingere verso il basso il pedale del freno/della frizione per disinserire il freno di stazionamento.
- Portare il comando della ruota libera nella posizione di "trasmissione disinnestata", far riferimento a Trasporto, stoccaggio e smaltimento alla pagina 163.
- Spingere in avanti il prodotto per rimuoverlo dalla piastra di scorrimento.
- Rimuovere la cinghia che trattiene la protezione del deflettore contro il prodotto.
Controllo dopo il montaggio
- Assicurarsi che tutte le istruzioni di montaggio siano state completate.
- Assicurarsi che nell'imballaggio non siano rimasti componenti.
- Accertarsi che la batteria sia preparata e caricata correttamente.
- Assicurarsi che i bulloni del sedile siano serrati e che il sedile sia regolato correttamente.
- Assicurarsi che gli pneumatici siano correttamente gonfiati.
- Per ottenere risultati di taglio ottimali, verificare il corretto bilanciamento laterale e anteriore/posteriore del piatto di taglio. Assicurarsi che gli pneumatici siano gonfiati correttamente per garantire un piatto di taglio bilanciato.
- Controllare il piatto di taglio e le cinghie di trasmissione. Assicurarsi che le cinghie di trasmissione siano installate correttamente intorno alle pulegge e alla parte interna di tutti gli appositi fermi.
- Controllare i cavi elettrici. Assicurarsi che tutti i cavi e i collegamenti siano al sicuro.
- Assicurarsi che il comando della ruota libera sia nella posizione di "Trasmissione innestata". Fare riferimento a Trasporto alla pagina 163.
- Assicurarsi che l'olio motore sia al livello corretto.
- Assicurarsi che il serbatoio sia riempito con il tipo di carburante corretto.
- Assicurarsi di conoscere la posizione e la funzione di tutti i comandi.
- Assicurarsi che il sistema frenante sia in condizioni operative sicure.
- Assicurarsi che il controllo presenza operatore (OPC) e il sistema per operazioni in retromarcia (ROS) funzionino correttamente. Fare riferimento a Verifica del controllo presenza operatore (OPC) alla pagina 133 e Verifica del sistema per operazioni in retromarcia (ROS) alla pagina 133.
- Rimuovere l'aria dalla trasmissione prima del primo utilizzo. Fare riferimento a Rimozione dell'aria dalla trasmissione alla pagina 157.
Utilizzo
Introduzione

AVVERTENZA: Leggere e comprendere il capitolo sulla sicurezza prima di utilizzare la macchina.
Per il rifornimento del carburante

AVVERTENZA: La benzina è altamente infiammabile. Prestare attenzione e fare rifornimento all'aperto. Fare riferimento a Sicurezza nell'uso del carburante alla pagina 134.

ATTENZIONE: Utilizzare sempre il tipo di carburante corretto. Un tipo di carburante errato può danneggiare il prodotto.
- Utilizzare benzina del tipo corretto. Fare riferimento a Dati tecnici alla pagina 164. Per ulteriori informazioni sul carburante, fare riferimento al manuale del motore fornito dal relativo produttore.
- Controllare il livello di carburante prima di ogni uso ed effettuare un rifornimento, se necessario.
- Non riempire completamente il serbatoio del carburante. Lasciare uno spazio di almeno 2,5 cm.
Avviamento dell'unità
Cosa fare prima di accendere il prodotto

AVVERTENZA: Prima di utilizzare il prodotto, leggere attentamente e assicurarsi di aver compreso le istruzioni di sicurezza e di funzionamento.
- Effettuare un controllo del livello dell'olio motore. Fare riferimento a Controllo del livello dell'olio motore alla pagina 155.
- Rabboccare il serbatoio del carburante con carburante. Fare riferimento a Per il rifornimento del carburante alla pagina 139.
- Disinserire la modalità ruota libera. Fare riferimento a Modalità ruota libera del prodotto alla pagina 144.
- Sedersi sul sedile in posizione operativa.
- Inserire il freno di stazionamento. Fare riferimento a Inserimento e disinserimento del freno di stazionamento alla pagina 142.
- Assicurarsi che il piatto di taglio sia disinnestato. Fare riferimento a Innesto e disinnesto del piatto di taglio alla pagina 143.
Avviamento di un motore caldo

- Sedere sul sedile.
- Assicurarsi che il piatto di taglio sia disinnestato. Fare riferimento a Innesto e disinnesto del piatto di taglio alla pagina 143.
- Mettere il piatto di taglio in posizione di trasporto. Fare riferimento a Impostazione del piatto di taglio in posizione di trasporto o di taglio alla pagina 141.
- Portare la leva di azionamento in posizione folle.
- Portare il comando dell'acceleratore nella posizione "veloce".
- Spingere completamente verso il basso il pedale del freno e tenerlo premuto.
- Inserire la chiave di accensione nell'interruttore.
- Ruotare la chiave di accensione in posizione "START" e rilasciarla all'avviamento del motore.

ATTENZIONE: Non far funzionare ininterrottamente il motorino di avviamento per più di 15 secondi al minuto.
- Se la temperatura è bassa, lasciare riscaldare il motore prima di iniziare a tagliare l'erba.
Avviamento del motore a freddo

- Sedere sul sedile.
- Assicurarsi che il piatto di taglio sia disinnestato. Fare riferimento a Innesto e disinnesto del piatto di taglio alla pagina 143.
- Mettere il piatto di taglio in posizione di trasporto. Fare riferimento a Impostazione del piatto di taglio in posizione di trasporto o di taglio alla pagina 141.
- Portare la leva di azionamento in posizione folle.
- Spostare il comando della valvola dell'aria nella posizione di starter.
- Spingere completamente verso il basso il pedale del freno e tenerlo premuto.
- Inserire la chiave di accensione nell'interruttore.
- Ruotare la chiave di accensione in posizione "START" e rilasciarla all'avviamento del motore.

ATTENZIONE: Non far funzionare ininterrottamente il motorino di avviamento per più di 15 secondi al minuto.
- Quando il motore si avvia, portare il comando dell'acceleratore nella posizione "veloce" (D) per riscaldare il motore. Se la temperatura è bassa, sono necessari alcuni minuti affinché il motore si riscaldi.

ATTENZIONE: Se la temperatura ambiente è inferiore a 4 °C (40 °F), è necessario lasciare il motore al regime minimo per 1 minuto prima di azionare il prodotto. Ciò consente il riscaldamento della trasmissione. Assicurarsi che la leva di azionamento sia in folle e che il pedale del freno sia completamente rilasciato.
Avviamento del motore con batteria scarica

AVVERTENZA: Le batterie a piombo-acido possono generare gas esplosivi. Tenere le batterie lontane da scintille, fiamme libere e materiali che emettono fumo. Indossare sempre una protezione per gli occhi in prossimità delle batterie.
Se la batteria è troppo scarica per avviare il motore, deve essere caricata.
Se si utilizzano dei cavi per l'avviamento di emergenza, procedere come segue:

text_image
A B C D- Collegare un'estremità del cavo ROSSO al morsetto POSITIVO (+) di ciascuna batteria (B-C).

ATTENZIONE: Prestare attenzione affinché non si verifichi un cortocircuito sul telaio del prodotto.
- Collegare un'estremità del cavo NERO al morsetto NEGATIVO (-) (D) di una batteria completamente carica.
- Collegare l'altra estremità del cavo NERO (A) a un buon punto di massa del telaio, a distanza dal serbatoio del carburante e dalla batteria.
- Rimuovere il cavo NERO dal telaio quando la batteria scarica risulta completamente carica.
- Rimuovere il cavo NERO dalla batteria completamente carica.
- Rimuovere il cavo ROSSO dalle due batterie.
Per rimuovere i cavi di avviamento
Nota: Rimuovere i cavi di avviamento nella sequenza opposta rispetto alla modalità di collegamento.
- Rimuovere il cavo NERO dal telaio.
- Rimuovere il cavo NERO dalla batteria completamente carica.
- Rimuovere il cavo ROSSO dalle 2 batterie.
Impostazione del piatto di taglio in posizione di trasporto o di taglio
Il piatto di taglio deve essere in posizione di trasporto durante il trasporto.
- Per impostare il prodotto in posizione di trasporto, tirare la leva dell'altezza di taglio nella direzione del sedile e posizionarla all'altezza di taglio più alta.
- Per impostare il prodotto in posizione di taglio, impostare l'altezza di taglio corretta. Fare riferimento a Impostazione dell'altezza di taglio alla pagina 141.
Impostazione dell'altezza di taglio

- Tirare la leva di sollevamento nella direzione del sedile e metterla in 1 delle scalanature per la corretta altezza di taglio.
Marcia avanti e retromarcia
La direzione e la velocità di movimento sono controllate dalla leva di azionamento.
- Avviare il motore.
- Disinserire il freno di stazionamento. Fare riferimento a Inserimento e disinserimento del freno di stazionamento alla pagina 142.
- Per avviare il movimento, spostare lentamente la leva di azionamento (A) in avanti (B) o indietro (C).

text_image
A B C D- Spostare la leva di azionamento più avanti o indietro per aumentare la velocità.
- Portare la leva di azionamento in folle (D) durante il parcheggio e l'arresto del prodotto.
Inserimento e disinserimento del freno di stazionamento
- Per inserire il freno di stazionamento, spingere completamente verso il basso il pedale del freno (A) nella posizione più bassa.

text_image
A B- Con il pedale del freno spinto verso il basso, tirare verso l'alto la leva del freno di stazionamento (B).
- Rilasciare il pedale del freno.
- Rilasciare la leva del freno di stazionamento.
Nota: Assicurarsi che il freno di stazionamento mantenga fermo il prodotto in modo sicuro.
- Per rilasciare il freno di stazionamento, spingere il pedale del freno verso il basso.
Arresto del prodotto

AVVERTENZA: Arrestare sempre il prodotto, innestare il freno di stazionamento e rimuovere la chiave di accensione prima di allontanarsi.

ATTENZIONE: I gas di scarico provenienti dal motore caldo possono danneggiare l'erba bruciandola. Per assicurarsi che questo non avvenga, spegnere sempre il motore quando si arresta il prodotto su aree erbose.
- Premere a fondo il pedale del freno (A) fino all'arresto completo del prodotto.

- Portare la leva di azionamento in posizione folle. Fare riferimento a Marcia avanti e retromarcia alla pagina 141.
- Disinnestare il piatto di taglio. Fare riferimento a Innesto e disinnesto del piatto di taglio alla pagina 143.
- Portare il comando dell'acceleratore nella posizione lenta e lasciare che il motore funzioni al regime minimo per alcuni minuti.
- Portare il piatto di taglio in posizione di trasporto. Fare riferimento a Impostazione del piatto di taglio in posizione di trasporto o di taglio alla pagina 141.
- Ruotare la chiave di accensione sulla posizione "STOP" e rimuoverla dall'accensione.

Utilizzo del comando dell'acceleratore
Il comando dell'acceleratore regola il regime motore e la velocità delle lame nel piatto di taglio.

- Quando si avvia un motore freddo, portare il comando dell'acceleratore in posizione di starter (A). Fare riferimento a Avviamento del motore a freddo alla pagina 140.
- Portare il comando dell'acceleratore in posizione veloce (B) per far funzionare il motore al regime massimo. Quando si taglia l'erba, il comando dell'acceleratore deve sempre essere in posizione veloce.
- Portare il comando dell'acceleratore in posizione lenta (B) per far funzionare il motore al regime minimo.
Utilizzo del faro anteriore
- Portare l'interruttore di corrente in posizione (A) per accendere il faro anteriore.

text_image
B A- Portare l'interruttore di corrente in posizione (B) per spegnere il faro anteriore.
Innesto e disinnesto del piatto di taglio

AVVERTENZA: Non azionare il piatto di taglio senza un deflettore o un raccoglierba installato sullo scarico dell'erba.
Il prodotto è dotato di un controllo presenza operatore (OPC). Quando ci si alza dal sedile con il motore acceso e il piatto di taglio innestato, il motore si arresta.
Rimanere completamente seduti al centro del sedile per assicurarsi che il motore funzioni correttamente e non si arresti su terreni accidentati o in pendenza.
- Impostare l'altezza di taglio corretta. Fare riferimento a Impostazione dell'altezza di taglio alla pagina 141.
- Spostare il comando di innesto frizione.

a) Spostare il comando di innesto frizione in avanti per innestare il piatto di taglio.
b) Spostare il comando di innesto frizione all'indietro per disinnestare il piatto di taglio.
Utilizzo del sistema per operazioni in retromarcia (ROS)
Nota: Se si tenta di spostarsi all'indietro con il prodotto quando il piatto di taglio è innestato, il motore si arresta immediatamente. Inserire il ROS per muoversi all'indietro con il prodotto quando il piatto di taglio è innestato.

AVVERTENZA: Per la sicurezza delle altre persone, prima e durante l'utilizzo del prodotto in retromarcia, guardare in basso e dietro al prodotto.
- Portare la leva di azionamento in posizione folle.

text_image
A STOP B STOP- Ruotare la chiave di accensione in senso antiorario nella posizione di ROS ON (A) per inserire il ROS.
- Portare lentamente la leva di azionamento in posizione di retromarcia per mettere in movimento il trattore.
- Ruotare la chiave di accensione in senso orario nella posizione ON (B) del motore per disinnestare il ROS.
Per ottenere un buon risultato di taglio
- Per garantire le migliori prestazioni, effettuare la manutenzione del prodotto a intervalli regolari come indicato nel programma di manutenzione. Fare riferimento a Programma di manutenzione alla pagina 145.
- Non tagliare il prato bagnato. L'erba bagnata può dare un cattivo risultato di taglio.
- Non utilizzare catene per pneumatici quando il piatto di taglio viene fissato al prodotto.
- Assicurarsi che il piatto di taglio sia a livello. Fare riferimento a Per regolare il parallelismo del piatto di taglio alla pagina 152.
-
Se l'erba è alta, iniziare con un'altezza di taglio elevata e ridurla gradualmente.
-
Spostare il prodotto in avanti a bassa velocità se l'erba è alta e folta.
- Utilizzare l'acceleratore al massimo quando si taglia l'erba.
- Tagliare l'erba seguendo un pattern irregolare.
- Utilizzare il lato sinistro del piatto di taglio quando si taglia in prossimità di alberi, cespugli o sentieri. La lama taglia circa 15 mm dal lato del piatto di taglio.
- Quando si tagliano aree di grandi dimensioni, spostare il prodotto verso destra mentre si gira 1 o 2 volte intorno all'area di lavoro. Questa procedura consente di mantenere lo scarico dell'erba lontano da arbusti, recinzioni e vialetti. Dopo circa 2 giri intorno all'area di lavoro, tagliare nella direzione opposta.

flowchart
graph TD
A["Vehicle"] --> B{Traffic Flow}
B --> C["Path 1"]
B --> D["Path 2"]
B --> E["Path 3"]
B --> F["Path 4"]
B --> G["Path 5"]
B --> H["Path 6"]
B --> I["Path 7"]
B --> J["Path 8"]
B --> K["Path 9"]
B --> L["Path 10"]
style A fill:#f9f,stroke:#333
style B fill:#ccf,stroke:#333
- Per ottenere i migliori risultati di taglio, tagliare l'erba frequentemente.
Modalità ruota libera del prodotto
Se occorre spostare o trainare il prodotto senza l'ausilio del motore, è necessario impostare il prodotto in modalità ruota libera.

AVVERTENZA: Non portare il prodotto in modalità ruota libera su una pendenza.
- Spingere la leva di comando della ruota libera (A) per portare il prodotto in modalità ruota libera.

- Estrarre la leva di comando della ruota libera per azionare il prodotto con il motore.
Installazione del tappo per mulching (accessorio)
Il prodotto può essere utilizzato con un tappo per mulching.
- Portare il piatto di taglio in posizione di trasporto. Fare riferimento a Impostazione del piatto di taglio in posizione di trasporto o di taglio alla pagina 141.
- Rimuovere il raccoglierba o il deflettore di scarico posteriore (accessorio), se installato.
- Inserire il tappo per mulching attraverso la piastra posteriore e nell'adattatore del deflettore per il piatto di taglio.
- Collegare le 2 cinghie ai fori sui bracci di supporto del raccoglierba.
- Installare il raccoglierba o il deflettore di scarico posteriore.
- Rimuovere il tappo per mulching seguendo la procedura in ordine inverso.
Manutenzione
Introduzione

AVVERTENZA: Leggere attentamente il capitolo sulla sicurezza
prima di eseguire la manutenzione del prodotto.
Programma di manutenzione
| Programma di manutenzione Prima | di ogni utilizzo | Ogni 8 ore | Ogni 25 ore | Ogni 50 ore | Ogni 100 ore | Ogni stagione | Prima del rimesaggio | |
| Prodotto | Verificare il funziona-mento del freno. | X | X | |||||
| Controllare la pressione degli pneumatici. | X | X | ||||||
| Verificare il controllo presenza operatore (OPC). | X | |||||||
| Verificare il sistema di funzionamento in retro-marcia (ROS). | X | |||||||
| Controllare eventuali dispositivi di fissaggio al-lentati. | X X X | |||||||
| Esaminare le lame per verificare la presenza di usura e danni. | X^2 | |||||||
| Lubrificare il prodotto. Fare riferimento a Pro-gramma di lubrificazione alla pagina 146. | X | X | ||||||
| Verificare il livello di ca-rica della batteria. | X | |||||||
| Pulire la batteria e i morsetti. | X | X | ||||||
| Rimuovere i detriti dalla piastra dello sterzo. Fa-re riferimento a Pulizia del prodotto alla pagina 147. | X | |||||||
| Controllare la ventola di raffreddamento del cambio differenziale. | X | |||||||
| Assicurarsi che il piatto di taglio sia a livello. | X | |||||||
| Controllare le cinghietrapezoidali. | X | |||||||
| Motore E | fettuare un controllo del livello dell'olio moto-re. | X | X | |||||
| Cambiare l'olio motore (modelli con filtro dell'o-lio). | X^1 | X | ||||||
| Cambiare l'olio motore (modelli senza filtro del-l'olio). | X^1 | X | ||||||
| Pulire il filtro dell'aria. X | 3 | |||||||
| Pulire la griglia dell'aria. X | 3 | |||||||
| Ispezionare la marmitta e il parascintille. | X | |||||||
| Sostituire il filtro dell'olio (se equipaggiato). | X^1 | X | ||||||
| Pulire le alette di raffreddamento del moto-re. | X^3 | |||||||
| Sostituire la candela. X X | ||||||||
| Sostituire la cartuccia di carta del filtro dell'aria. | X^3 | |||||||
| Sostituire il filtro del car-burante | X | |||||||
| Controllare la marmitta. Fare riferimento a Controllo della marmitta alla pagina 134. | X | |||||||
Programma di lubrificazione
utilizzare solo una piccola quantità di lubrificante del tipo a secco.

ATTENZIONE: Non lubrificare i punti di articolazione dotati di speciali cuscinetti in nylon. I lubrificanti appiccicosi possono far attaccare lo sporco. La sporcizia riduce la durata degli speciali cuscinetti in nylon. Se occorre lubrificare i cuscinetti in nylon,

A. Lubrificazione generale. Lubrificare il collegamento di ingrassaggio dell'alberino, il cuscinetto della ruota anteriore, i denti degli ingranaggi dello sterzo.
B. Lubrificazione del motore. Far riferimento a Lubrificazione del motore alla pagina 155 nella sezione Manutenzione.
Trattore
Pulizia del prodotto
Non utilizzare un tubo da giardino o un dispositivo di lavaggio a pressione per pulire la superficie, ad eccezione dell'apertura di lavaggio. Evitare che il motore e la trasmissione entrino in contatto con l'acqua. La presenza d'acqua all'interno del motore o della trasmissione può ridurre la durata del prodotto. Per rimuovere erba, foglie e rifiuti, utilizzare aria compressa o un soffiatore per foglie.
- Rimuovere tutto il materiale indesiderato dal motore, dalla batteria, dal sedile e dagli altri componenti del prodotto.
- Rimuovere sporcizia e detriti dalla piastra dello sterzo. Questi limitano il movimento dell'asse del pedale del freno/frizione, causano l'allentamento della cinghia e riducono il movimento di avanzamento.

ATTENZIONE: Evitare tutti i punti di rischio e le parti mobili.
- Mantenere le superfici e le ruote prive di benzina, olio, ecc.
- Utilizzare della cera per automobili per evitare di danneggiare le superfici.
Utilizzo dell'apertura di lavaggio del piatto
Il piatto di taglio è dotato di un'apertura di lavaggio del piatto che fa parte del sistema di pulizia del piatto di taglio.

AVVERTENZA: Non utilizzare il prodotto se l'apertura di lavaggio del piatto è rotta o mancante. Sussiste il rischio del lancio di oggetti. Sostituire immediatamente un'apertura di lavaggio del piatto rotta o mancante.
Nota: Per i modelli con protezioni, l'apertura di lavaggio del piatto è installata sulla protezione del lato sinistro di fronte allo pneumatico posteriore.
- Parcheggiare il prodotto in un'area libera sul prato, vicino a una fonte d'acqua con un tubo da giardino.

ATTENZIONE: Non dirigere lo scivolo di scarico del prodotto verso edifici o veicoli.
- Assicurarsi che il piatto di taglio sia disinnestato. Fare riferimento a Innesto e disinnesto del piatto di taglio alla pagina 143.
- Ruotare la chiave di accensione in posizione STOP per arrestare il motore.
- Inserire il freno di stazionamento.
- Rimuovere lo scivolo raccoglierba o il tappo per mulching, se installato.
- Inserire l'adattatore portagomma sull'estremità del tubo da giardino (A). Assicurarsi che il tubo da giardino sia collegato completamente all'adattatore portagomma.

- Tirare indietro il collare di bloccaggio dell'adattatore portagomma e spingere quest'ultimo sull'apertura di lavaggio del piatto (B).
- Tirare con cautela il tubo da giardino per assicurarsi che sia completamente collegato.
- Rilasciare il collare di blocco in modo da bloccare l'adattatore sull'apertura di lavaggio del piatto.
- Avviare l'impianto idrico domestico.
- Sedersi sul sedile e avviare il motore.

ATTENZIONE: Esaminare nuovamente l'area per assicurarsi che sia libera.
- Portare il comando dell'acceleratore nella posizione "veloce". Fare riferimento a Utilizzo del comando dell'acceleratore alla pagina 142.
- Innestare il piatto di taglio e lasciarlo in funzione fino alla completa pulizia. Fare riferimento a Innesto e disinnesto del piatto di taglio alla pagina 143.
- Disinnestare il piatto di taglio. Fare riferimento a Innesto e disinnesto del piatto di taglio alla pagina 143.
- Ruotare la chiave di accensione in posizione STOP per arrestare il motore.
- Interrompere l'erogazione dell'acqua.
- Tirare indietro il collare di bloccaggio dell'adattatore portagomma e scollegare quest'ultimo dall'apertura di lavaggio del piatto.
- Spostare il prodotto in un luogo asciutto.
- Innestare il piatto di taglio e lasciarlo in funzione fino alla completa asciugatura.
Regolazione del cavo di comando dell'acceleratore
Il comando dell'acceleratore è impostato in fabbrica e non dovrebbe essere necessaria alcuna regolazione. Nel caso in cui fosse necessaria la regolazione, consultare il manuale del motore.
Controllo di interblocchi e relè
Nota: Cavi allentati o danneggiati possono compromettere il funzionamento del prodotto, causarne l'arresto o impedirne l'avviamento.
- Esaminare i cavi.
Sostituzione di una lampadina dei fari anteriori
- Aprire il cofano motore.
- Ruotate leggermente il portalampada in senso antiorario ed estrarlo dal supporto dietro alla griglia.
- Sostituire la lampadina nel portalampada.
- Spingere il portalampada nel supporto dietro alla griglia.
- Ruotare il portalampada leggermente in senso orario per installarlo.
- Chiudere il cofano.
Controllo degli pneumatici
Nota: Per sigillare gli pneumatici forati e per evitare che si sgonfino a causa di lievi perdite, acquistare del sigillante presso il proprio rivenditore di ricambi locale. Il sigillante per pneumatici impedisce inoltre la screpolatura, la perdita di elasticità e la corrosione degli pneumatici.
• Assicurarsi che la pressione dell'aria di tutti gli pneumatici sia corretta (vedere la pressione corretta indicata sui fianchi degli pneumatici).
- Evitare che gli pneumatici entrino in contatto con benzina, olio o sostanze chimiche repellenti per insetti che potrebbero danneggiare la gomma.
- Mantenere gli pneumatici a distanza da ceppi, pietre, radici, fossi, oggetti appuntiti e altri oggetti pericolosi che potrebbero danneggiare gli pneumatici.
Riparazione degli pneumatici
- Sollevare l'asse anteriore e sostenerlo in modo sicuro.

ATTENZIONE: Sollevare e sostenere un asse alla volta.
- Rimuovere il parapolvere (A), l'E-clip (B), la rondella (C) e la chiavetta quadrata (D).

Nota: Sono presenti chiavi quadrate solo sulle ruote posteriori.
- Rimuovere la ruota dall'assale.
- Rimuovere lo pneumatico dalla ruota.
- Riparare lo pneumatico.
Nota: Utilizzare sigillante per pneumatici per sigillare i fori nello pneumatico. Il sigillante per pneumatici impedisce inoltre la screpolatura, la perdita di elasticità e la corrosione degli pneumatici.
- Installare lo pneumatico sulla ruota.
- Installare la ruota, la rondella, la chiave quadrata e l'E-clip sull'assale. Assicurarsi che l'E-clip sia installata correttamente nella scanalatura sull'assale.
- Installare il parapolvere.
Controllo delle cinghie trapezoidali
Le cinghie non sono regolabili.
- Esaminare le cinghie trapezoidali per verificare che non siano deteriorate e usurate ogni 100 ore di funzionamento.
- Sostituire le cinghie trapezoidali se iniziano a muoversi perché eccessivamente usurate.
Manutenzione della ventola di raffreddamento del cambio differenziale

ATTENZIONE: Non pulire la ventola o la trasmissione quando il motore è in funzione o con trasmissione calda.

ATTENZIONE: Non utilizzare una lancia ad alta pressione o a vapore. L'acqua può entrare nei cuscinetti e nei collegamenti elettrici e causare una corrosione che può danneggiare il prodotto.
Per mantenere fredda la trasmissione, tenere pulite la relativa ventola e le alette di raffreddamento.
- Prima di pulire con acqua, pulire con una spazzola. Rimuovere l'erba tagliata e lo sporco sopra e intorno alla ventola e alle alette di raffreddamento del cambio differenziale.
- Controllare la ventola di raffreddamento per assicurarsi che le pale della ventola siano pulite e non danneggiate.
Controllo del fluido della pompa del cambio differenziale
• Assicurarsi che non vi siano perdite del fluido della pompa del cambio differenziale.
- In caso di perdite del fluido della pompa del cambio differenziale, rivolgersi al più vicino centro assistenza o reparto specializzato autorizzato.
Regolazione della convergenza e della campanatura delle ruote anteriori
La convergenza e la campanatura delle ruote anteriori sono impostate correttamente in fabbrica. La convergenza e la campanatura delle ruote anteriori non sono regolabili.
- In caso di problemi, rivolgersi a un centro assistenza autorizzato per ripristinare la convergenza e la campanatura delle ruote anteriori impostate in fabbrica.
Sostituzione del fusibile
Questo prodotto è dotato di un fusibile di tipo automobilistico. Il portafusibili è posizionato dietro al cruscotto.
- Tenere fermo il portafusibili ed estrarre il fusibile bruciato.
- Inserire un nuovo fusibile nel portafusibili.
Rimuovere e installare il cofano e il gruppo griglia

- Sollevare il cofano motore.
- Scollegare il connettore del cavo del faro anteriore (A).
- Rimanere davanti al trattore. Tenere il cofano sui lati. Inclinare il cofano nella direzione del motore e sollevarlo per rimuoverlo dal prodotto.
- Montare, seguendo i passaggi nell'ordine inverso.
Sostituzione della cinghia di trasmissione
-
Parcheggiare il prodotto su una superficie piana e inserire il freno di stazionamento. Fare riferimento a Arresto del prodotto alla pagina 142.
-
Rimuovere il piatto di taglio. Fare riferimento a Rimozione e installazione del piatto di taglio alla pagina 151.
-
Rimuovere la cinghia di trasmissione dalla puleggia (A) e dalla puleggia della frizione (B).

text_image
C B A E D- Rimuovere la cinghia di trasmissione dalla puleggia del motore (C) sull'albero motore.
- Rimuovere la cinghia di trasmissione dalla puleggia dell'assale posteriore (D) e dalla puleggia tendicinghia (E).
- Rimuovere la cinghia di trasmissione dal prodotto.
- Installare una nuova cinghia di trasmissione seguendo la procedura contraria.
Regolazione della leva di azionamento
La leva di azionamento è regolata correttamente di fabbrica. Regolare la leva di azionamento solamente se il prodotto si muove quando essa è in posizione folle.
- Allentare il bullone di regolazione (A) e stringerlo leggermente.

- Avviare il motore.
- Spostare la leva di azionamento (B) in avanti o all'indietro fino a quando il prodotto non si muove. Mantenere la leva di azionamento in questa posizione e arrestare il motore.
- Allentare i bulloni di regolazione.
- Spostare la leva di azionamento in posizione folle (C).
- Stringere saldamente il bullone di regolazione.
Batteria
Pulizia della batteria e dei morsetti
Corrosione e sporcizia su batteria e morsetti possono ridurre la potenza della batteria.
- Rimuovere la protezione del morsetto.
- Scollegare il cavo della batteria NERO.
- Scollegare il cavo della batteria ROSSO e rimuovere la batteria dal prodotto.
- Spruzzare acqua sulla batteria e lasciare asciugare.
- Pulire i morsetti e le estremità dei cavi della batteria con una spazzola metallica.
- Lubrificare i morsetti con grasso o simili.
- Installare la batteria. Fare riferimento a Sostituzione della batteria alla pagina 150.
Sostituzione della batteria
La batteria è installata al di sotto del sedile.

AVVERTENZA: Rischio di scossa elettrica e ustioni. Non utilizzare bracciali o altri accessori in metallo. Gli oggetti metallici che toccano i terminali della batteria possono causare ustioni, scosse elettriche e il cortocircuito della batteria.
- Arrestare il prodotto. Fare riferimento a Arresto del prodotto alla pagina 142.
-
Ripiegare il sedile in avanti.
-
Rimuovere le coperture dei morsetti (A).

text_image
A POS NEG- Rimuovere il bullone e il dado per scollegare il cavo nero (negativo) della batteria dal terminale negativo (-).

AVVERTENZA: Rischio di scossa elettrica e ustioni. Il cavo nero (negativo) della batteria deve essere scollegato prima di scollegare il cavo rosso (positivo) della batteria.
- Rimuovere il bullone e il dado per scollegare il cavo rosso (positivo) della batteria dal morsetto positivo (+).
- Rimuovere con cautela la batteria dal prodotto.
- Montare una batteria nuova.
- Collegare il cavo della batteria rosso (positivo) al morsetto positivo (+) e serrare il bullone e il dado.

AVVERTENZA: Rischio di scossa elettrica e ustioni. Il cavo rosso (positivo) della batteria deve essere collegato al morsetto positivo (+) prima che il cavo nero (negativo) della batteria sia collegato al morsetto negativo (-) per evitare lesioni e la messa a terra accidentale.
-
Collegare il cavo nero (negativo) della batteria al morsetto negativo (-) e serrare il bullone e il dado.
-
Installare le coperture dei terminali.
-
Ripiegare il sedile all'indietro.
Per collegare i cavi di avviamento

AVVERTENZA: Rischio di esplosione a causa di gas esplosivo che fuoriesce dalla batteria. Non collegare il morsetto negativo della batteria carica al morsetto negativo della batteria scarica o in prossimità di quest'ultimo.

ATTENZIONE: Non utilizzare la batteria del prodotto per avviare altri veicoli.
- Collegare un'estremità del cavo rosso al morsetto POSITIVO (+) (A) della batteria alla batteria scarica.

- Collegare l'altra estremità del cavo rosso al morsetto POSITIVO (+) (B) della batteria alla batteria carica.

AVVERTENZA: Evitare il contatto delle estremità del cavo rosso della batteria con il telaio. Ciò può causare un cortocircuito.
- Collegare un'estremità del cavo nero al morsetto NEGATIVO (-) (C) della batteria alla batteria carica.
- Collegare l'altra estremità del cavo nero a un PUNTO DI MASSA SUL TELAIO (D), lontano dal serbatoio del carburante e dalla batteria.
Per rimuovere i cavi di avviamento
Nota: Rimuovere i cavi di avviamento nella sequenza opposta rispetto alla modalità di collegamento.
- Rimuovere il cavo NERO dal telaio.
- Rimuovere il cavo NERO dalla batteria completamente carica.
- Rimuovere il cavo ROSSO dalle 2 batterie.
Piatto di taglio
Rimozione e installazione del piatto di taglio
Nota: Se occorre utilizzare un accessorio diverso dal piatto di taglio, l'articolazione anteriore e le articolazioni di sollevamento posteriori devono essere rimosse dal prodotto. Inoltre, la molla del cavo della frizione deve essere inserita nella guida del cavo sul bordo anteriore del cruscotto inferiore.
- Disinnestare il piatto di taglio. Fare riferimento a Innesto e disinnesto del piatto di taglio alla pagina 143.
- Arrestare il prodotto. Fare riferimento a Arresto del prodotto alla pagina 142.
- Abbassare il piatto di taglio nella posizione più bassa.
- Rimuovere la cinghia di trasmissione dalla puleggia della frizione (A).

- Rimuovere il cavo della frizione (B), spingere la linguetta (C) e spostare il cavo della frizione al di fuori della staffa.
- Rimuovere con cautela la molla del cavo della frizione (D) dal braccio del galoppino (E).
- Scollegare l'articolazione anteriore (F) dal piatto di taglio e rimuovere la molla di ritegno e la rondella.
- Rimuovere i fermi (G) e scollegare i bracci delle sospensioni (H) dai perni del telaio.
- Scollegare le articolazioni di sollevamento posteriori (i) dalle staffe del piatto di taglio posteriori (J) su ciascun lato del piatto di taglio.
- Rimuovere il piatto di taglio dal prodotto.
- Installare il piatto di taglio seguendo la procedura inversa. Accertarsi che il lato di scarico si trovi sul lato destro del prodotto.
Nota: I bracci delle sospensioni devono essere in posizione avanzata prima di spostare il piatto di taglio al di sotto del prodotto.
Per regolare il parallelismo del piatto di taglio
Regolazione visiva laterale del piatto di taglio
Se l'altezza di taglio non è la stessa sul lato destro e sinistro del prodotto, è possibile regolare l'altezza di taglio. Regolare l'altezza di taglio sul lato del piatto di taglio con l'altezza di taglio minore.
- Assicurarsi che gli pneumatici siano completamente gonfiati.
- Parcheggiare il prodotto su una superficie piana.
- Mettersi sul lato del piatto di taglio con l'altezza di taglio minore.
Nota: Alcuni modelli presentano la regolazione solo sul lato sinistro.
- Regolare l'altezza di taglio con una chiave da 3/4".

Nota: Ogni giro completo del dado di regolazione del sollevamento modifica l'altezza del piatto di taglio di 4,7 mm (3/16 di pollice).
a) Ruotare verso sinistra il dado di regolazione del sollevamento (A) per abbassare il piatto di taglio.
b) Ruotare verso destra il dado di regolazione del sollevamento (A) per sollevare il piatto di taglio.
- Tagliare dell'erba ed esaminare i risultati. Regolare se necessario.
Regolazione laterale di precisione del piatto di taglio
- Assicurarsi che gli pneumatici siano completamente gonfiati.
- Parcheggiare il prodotto su una superficie piana.
- Portare il piatto di taglio in posizione di trasporto. Fare riferimento a Impostazione del piatto di taglio in posizione di trasporto o di taglio alla pagina 141.
- Girare tutte le punte delle lame esterne per allinearle lateralmente al piatto di taglio.

AVVERTENZA: Le lame sul piatto di taglio sono affiliate e possono causare lesioni. Usare guanti protettivi.
- Misurare la distanza (B) tra il bordo inferiore della lama e il suolo sul lato destro e sinistro.

text_image
B BNota: La distanza deve essere uguale su entrambi i lati.
- Regolare l'altezza di taglio con una chiave da 3/4".
Nota: Ogni giro completo del dado di regolazione di sollevamento modifica l'altezza di taglio di 4,7 mm (3/16 di pollice).
a) Ruotare verso sinistra il dado di regolazione del sollevamento (A) per abbassare il piatto di taglio.

b) Ruotare verso destra il dado di regolazione del sollevamento (A) per sollevare il piatto di taglio.
- Misurare di nuovo la distanza. Regolare fino a quando i 2 lati non sono uguali.
- Tagliare dell'erba ed esaminare i risultati. Regolare se necessario.
Regolazione anteriore/posteriore del piatto di taglio
Il piatto di taglio deve essere a livello da lato a lato prima di eseguire una regolazione anteriore/posteriore. Fare riferimento a Regolazione visiva laterale del piatto di taglio alla pagina 152.
- Assicurarsi che gli pneumatici siano completamente gonfiati.
- Parcheggiare il prodotto su una superficie piana.
- Mettere il piatto di taglio in posizione di trasporto. Fare riferimento a Impostazione del piatto di taglio in posizione di trasporto o di taglio alla pagina 141.
- Ruotare le lame fino a quando non puntano in avanti.

AVVERTENZA: Le lame sul piatto di taglio sono affiliate e possono causare lesioni. Usare guanti protettivi.
- Misurare la distanza da terra in corrispondenza dell'estremità posteriore (A) e anteriore (B) della lama.

Nota: Per ottenere i migliori risultati di taglio, le lame di taglio devono essere regolate fino a quando l'estremità anteriore non è di 3,1-12,7 mm (1/8"-1/2") più in basso rispetto all'estremità posteriore quando il piatto di taglio si trova nella sua posizione più alta.
- Spostarsi verso la parte anteriore del prodotto per effettuare una regolazione.
- Servendosi di una chiave da 11/16", allentare il controdado (C) per liberare il dado di regolazione di sollevamento (D).

- Regolare l'altezza del piatto di taglio con una chiave da 3/4".
Nota: Ogni giro completo del dado di regolazione di sollevamento modifica l'altezza del piatto di taglio di 3,1 mm (1/8 di pollice).
a) Ruotare il dado di regolazione del sollevamento in senso antiorario per abbassare il piatto di taglio.
b) Ruotare il dado di regolazione del sollevamento in senso orario per sollevare il piatto di taglio.
- Misurare nuovamente la distanza anteriore e posteriore.
- Regolare fino a quando l'estremità anteriore della lama non è 3,1-12,7 mm (1/8-1/2") più bassa dell'estremità posteriore.
- Tenere il dado di regolazione di sollevamento in posizione con la chiave e stringere il controdado.
Sostituzione delle lame
Per ottenere risultati ottimali, mantenere affiliate le lame di taglio. Sostituire le lame piegate o danneggiate.

ATTENZIONE: Utilizzare
esclusivamente lame di ricambio approvate dal produttore. È estremamente pericoloso utilizzare una lama non approvata dal produttore. Questa può causare danni al prodotto e invalidare la garanzia.
- Mettere il piatto di taglio in posizione di trasporto. Fare riferimento a Impostazione del piatto di taglio in posizione di trasporto o di taglio alla pagina 141.
- Rimuovere il bullone (A) ruotandolo in senso antiorario e rimuovere la lama (B).

AVVERTENZA: Le lame sul
piatto di taglio sono affiliate e possono causare lesioni. Usare guanti protettivi.
- Montare la lama nuova o affilata e il bullone.

ATTENZIONE: Il foro centrale
(C) nella lama deve essere allineato alla stella (D) sul gruppo del mozzo porta lama (E).
- Serrare il bullone a 62-75 Nm (45-55 ft-lb).
Rimozione della cinghia di trasmissione per piatto di taglio
- Parcheggiare il prodotto su una superficie piana e inserire il freno di stazionamento. Fare riferimento a Arresto del prodotto alla pagina 142.
- Portare il piatto di taglio nella posizione più bassa. Fare riferimento a Impostazione dell'altezza di taglio alla pagina 141.
-
Rimuovere sporcizia ed erba dai mozzi porta lama e dalla superficie superiore del piatto di taglio.
-
Rimuovere la cinghia di trasmissione (A) dalla puleggia della frizione (B) sull'albero motore.

- Rimuovere la cinghia di trasmissione dalle pulegge del mozzo porta lama (C) e dalle pulegge del galoppino (D).
Installazione della cinghia di trasmissione per piatto di taglio
- Installare la cinghia di trasmissione (A) intorno alle pulegge del mozzo porta lama (B).

ATTENZIONE: Inserire correttamente la cinghia di trasmissione in tutte le scanalature sulle pulegge del piatto di taglio. La cinghia di trasmissione può danneggiarsi se non è installata correttamente.
- Installare la cinghia di trasmissione intorno alle pulegge del galoppino (C).
- Installare la cinghia di trasmissione intorno alla puleggia della frizione (D) sull'albero motore.
- Mettere il piatto di taglio in posizione di trasporto. Fare riferimento a Impostazione del piatto di taglio in posizione di trasporto o di taglio alla pagina 141.
Regolazione dei rulli antirasatura
I rulli antirasatura mantengono il piatto di taglio nella posizione corretta sul terreno e impediscono la rasatura del prato sulla maggior parte dei terreni. I rulli antirasatura sono regolati correttamente quando sono leggermente sollevati dal terreno con il piatto di taglio all'altezza di taglio necessaria.
- Parcheggiare il prodotto su una superficie piana e arrestare il motore.
- Regolare il prodotto all'altezza di taglio necessaria. Fare riferimento a Impostazione dell'altezza di taglio alla pagina 141.
- Rimuovere il dado, il bullone, la rondella e il rullo antirasatura.

- Installare il rullo antirasatura, il bullone, la rondella e il dado nella posizione corretta.
- Regolare tutti i rulli antirasatura e installarli seguendo la stessa procedura.
Motore
Lubrificazione del motore
Utilizzare esclusivamente olio detergente di alta qualità con classificazione API SJ-SN. Il grado di viscosità SAE dell'olio si riferisce alla temperatura operativa corretta.

text_image
5W-30 SAE 30 F -20 0 30 40 32 60 80 100 C -30 -20 0 -10 10 20 30 40Nota: Gli oli multigrado (5W30, 10W30, ecc.) facilitano l'avviamento del motore a basse temperature, ma determinano un aumento del consumo di olio se utilizzati a temperature superiori a 0 °C / 32 °F. Controllare spesso il livello dell'olio motore per evitare possibili danni al motore causati da un livello dell'olio insufficiente.
- Cambiare l'olio ogni 50 ore di funzionamento. Se il prodotto non viene utilizzato per 50 ore in un anno, cambiare l'olio almeno 1 volta l'anno.
- Controllare il livello dell'olio nel carter motore prima di avviare il motore e ogni otto (8) ore di funzionamento.
- Stringere il tappo di rifornimento dell'olio con l'asta di livello ogni volta che si esegue il controllo del livello dell'olio.
Controllo del livello dell'olio motore
Il motore nel prodotto è riempito di olio motore per temperature ambiente superiori a 0 °C (32 °F). Per il funzionamento a temperature ambiente inferiori a 0 °C (32 °F), utilizzare l'olio motore corretto per facilitare l'avviamento del prodotto. Fare riferimento a Dati tecnici alla pagina 164.
- Parcheggiare il prodotto su un terreno piano.
- Rimuovere il tappo di rifornimento dell'olio e l'asta di livello e pulirli con panno.
- Inserire l'asta di livello nel tubo di rifornimento dell'olio. Non ruotare il tappo di rifornimento dell'olio sul tubo di rifornimento dell'olio.
- Rimuovere l'asta di livello. Utilizzare il misuratore sull'asta di livello per controllare il livello dell'olio motore. Se necessario, rabboccare l'olio motore fino a raggiungere il segno "FULL" (pieno) sull'asta di livello. Non riempire eccessivamente con l'olio motore.
- Inserire l'asta di livello nel tubo di rifornimento dell'olio. Assicurarsi che il tappo di rifornimento dell'olio sia stretto saldamente.
Nota: Per cambiare l'olio motore, fare riferimento a Cambio dell'olio motore alla pagina 155.
Cambio dell'olio motore
Se il motore è freddo, avviare il motore per 1-2 minuti prima di scaricare l'olio motore. Ciò comporta il riscaldamento dell'olio motore, velocizzando lo scarico.

AVVERTENZA: Non avviare il motore per più di 1-2 minuti prima di scaricare l'olio motore. L'olio motore diventa molto caldo e può causare ustioni. Lasciare che il motore si raffreddi prima di scaricare l'olio motore.

AVVERTENZA: Usare guanti protettivi. In caso di sversamento accidentale dell'olio motore sul corpo, lavare con acqua e sapone.
- Posizionare il prodotto su una superficie piana e arrestarlo. Fare riferimento a Arresto del prodotto alla pagina 142.
- Rimuovere tutta la sporcizia intorno al tappo del serbatoio dell'olio.
-
Rimuovere il tappo del serbatoio dell'olio e l'asta di livello.
-
Posizionare la prolunga di scarico dell'olio (a) sul telaio, sotto il tappo di scarico dell'olio (B).

-
Collocare un contenitore sotto la prolunga di scarico dell'olio.
-
Rimuovere il tappo di scarico dell'olio con una chiave a brugola.
-
Fare scorrere l'olio motore nel contenitore.
-
Togliere la prolunga di scarico dell'olio.
-
Montare il tappo di drenaggio dell'olio. Serrare il tappo di scarico dell'olio a 17 Nm (13 lb-ft).

ATTENZIONE: Non serrare eccessivamente il tappo di scarico dell'olio.
-
Riempire con nuovo olio e verificare il livello dell'olio motore. Fare riferimento a Controllo del livello dell'olio motore alla pagina 155.
-
Montare il tappo del serbatoio dell'olio e l'asta di livello.
Nota: Per lo smaltimento sicuro dell'olio motore esausto, fare riferimento a Smaltimento alla pagina 164.
Sostituzione del filtro dell'olio motore

AVVERTENZA: Usare guanti protettivi. In caso di sversamento accidentale dell'olio motore sul corpo, lavare con acqua e sapone.
-
Scaricare l'olio motore dal serbatoio dell'olio. Fare riferimento a Cambio dell'olio motore alla pagina 155.
-
Ruotare il filtro dell'olio motore in senso antiorario per rimuoverlo.
-
Lubrificare leggermente la guarnizione in gomma sul nuovo filtro dell'olio con olio motore nuovo.
-
Per installare il nuovo filtro dell'olio, girarlo in senso orario fino a quando la guarnizione in gomma non sta correttamente in sede e stringere di un altro mezzo giro.
-
Rabboccare il serbatoio dell'olio con nuovo olio motore. Fare riferimento a Cambio dell'olio motore alla pagina 155.
-
Avviare il motore e lasciarlo girare al regime minimo per 3 minuti.
-
Arrestare il motore e assicurarsi che non vi siano perdite dal filtro dell'olio.
Nota: In caso di perdite d'olio, serrare nuovamente il filtro dell'olio.
- Riempire il serbatoio dell'olio con più olio motore per sostituire quello assorbito dal nuovo filtro dell'olio.
Pulizia del filtro dell'aria
Il motore non funziona correttamente con un filtro dell'aria sporco. Pulire il filtro dell'aria con maggiore frequenza in caso di utilizzo in ambienti polverosi.
Pulizia della griglia dell'aria
Nota: La griglia dell'aria deve essere tenuta pulita per evitare danni al motore a causa del surriscaldamento.
- Pulire la griglia dell'aria con una spazzola metallica o con aria compressa per rimuovere lo sporco.
Manutenzione del sistema di raffreddamento del motore
Nota: Filtro dell'erba bloccato, alette di raffreddamento sporche od ostruite e/o alloggiamento del soffiatore rimosso, ecc. possono far surriscaldare il motore e causare danni al motore.
- Assicurarsi che il filtro dell'erba, le alette di raffreddamento e le altre superfici esterne del motore siano sempre puliti.
- Ogni 100 ore di funzionamento (o più spesso in ambienti estremamente polverosi e sporchi), rimuovere l'alloggiamento del soffiatore e altri componenti del sistema di raffreddamento del motore. Pulire le alette di raffreddamento e le superfici esterne, se necessario. Assicurarsi che i componenti del sistema di raffreddamento del motore siano installati correttamente.
Sostituzione delle candele
Il tipo di candela e il relativo gioco (impostazione della distanza) sono indicati in Dati tecnici alla pagina 164.
- Sostituire le candele all'inizio di ogni stagione di taglio oppure ogni 100 ore di funzionamento.
Sostituzione del filtro del carburante in linea
Nota: Sostituire il filtro del carburante in linea almeno una volta l'anno.
Sostituire il filtro in linea se è ostruito e interrompe il flusso di carburante al carburatore.
- Lasciar raffreddare il motore.
- Rimuovere il filtro del carburante in linea (B) e sigillare le sezioni della tubazione del carburante con dei tappi.
- Inserire in posizione il nuovo filtro del carburante in linea nella tubazione del carburante, con la freccia rivolta verso il carburatore.
- Assicurarsi che la tubazione del carburante non presenti perdite e che le fascette (A) siano nella posizione corretta.
- Se si versa del carburante, pulire immediatamente il prodotto.

Rimozione dell'aria dalla trasmissione

ATTENZIONE: Non innestare o disinnestare la leva della ruota libera a motore acceso.
Per mantenere prestazioni elevate, rimuovere l'aria presente nella trasmissione prima di utilizzare il prodotto per la prima volta.
In caso di sostituzione della trasmissione, rimuovere l'aria dalla nuova trasmissione prima dell'uso.
- Posizionare il prodotto in modo sicuro su una superficie piana, pulita e aperta, con il motore spento e il freno di stazionamento inserito.
- Portare il comando della ruota libera nella posizione disinserita per disinnestare la trasmissione. (Vedere Trasporto alla pagina 163).
- Sedersi sul sedile del trattore e avviare il motore. Dopo che il motore è entrato in funzione, spostare il comando dell'acceleratore in posizione "lento" e disinserire il freno di stazionamento.
- Premere a fondo il pedale di marcia avanti nella posizione di avanzamento, tenerlo premuto per cinque (5) secondi, quindi rilasciarlo. Premere a fondo il pedale di retromarcia nella posizione di retromarcia, tenerlo premuto per cinque (5) secondi, quindi rilasciarlo. Ripetere questa procedura tre (3) volte.
Nota: Durante questa procedura, può verificarsi un movimento delle ruote motrici.
- Arrestare il motore e inserire il freno di stazionamento.
- Portare il comando della ruota libera nella posizione inserita per innestare la trasmissione. (Vedere Trasporto alla pagina 163 in questa sezione del manuale).
- Sedersi sul sedile del trattore e avviare il motore. Dopo che il motore è entrato in funzione, spostare il comando dell'acceleratore a mezza (1/2) velocità. Disinserire il freno di stazionamento.
- Utilizzare il prodotto in marcia avanti per circa 1,5 metri (5 piedi), quindi in retromarcia per 1,5 metri (5 piedi). Ripetere questa procedura tre volte.
Risoluzione dei problemi
| Problema Causa Azione | ||
| Il motore non si avvia. Non è presente carburante nel ser-batoio. | Riempire il serbatoio del carburante. | |
| Il motore gira in maniera irregola-re. | La candela è difettosa. Sostituire la | candela. |
| Il carburatore non è regolato correttamente. | Contattare un'officina autorizzata. | |
| Il filtro dell'aria è sporco. Pulire o sostituire il filtro dell'aria. | ||
| La valvola di ritegno sul tappo del serbatoio del carburante è difetto-sa. | Sostituire il tappo del serbatoio carburante. | |
| Il serbatoio del carburante è quasi vuoto. | Rabboccare il serbatoio del carbu-rante con carburante. | |
| Presenza di acqua nel carburante. | Svuotare completamente il serba-toio del carburante e il carburatore. Riempire il serbatoio del carburan-te con carburante nuovo e sostitui-re il filtro del carburante. | |
| Il comando dell'aria è innestato e il motore è caldo. | Disinserire il comando dell'aria. | |
| La miscela o il tipo di carburante non sono corretti. | Svuotare completamente il serba-toio del carburante e il carburatore. Riempire il serbatoio del carburan-te con la miscela o il tipo di carbu-rante corretti. | |
| Il filtro del carburante è intasato Sostituire il filtro del carburante. | ||
| La candela è difettosa. Sostituire la | candela. | |
| È presente dello sporco nel carbu-ratore o nel tubo del carburante. | Pulire il carburatore e le tubazioni del carburante. | |
| Il motore si è surriscaldato. Vi è un sovraccarico nel motore. Ridurre il carico di lavoro. | ||
| Vi è una perdita di potenza. Il prodotto funziona a un regime troppo elevato in avanti o in retro-marcia quando si taglia l'erba. | Utilizzare la velocità minima. | |
| Il comando dell'acceleratore è in posizione di avviamento. | ||
| Sotto al piatto di taglio si è verifi-cato un accumulo di erba, foglie o materiale indesiderato. | ||
| Il filtro dell'aria è sporco. Pulire o sostituire il filtro dell'aria. | ||
| Il livello dell'olio motore è insuffi-ciente. | ||
| L'olio motore è sporco. Cambiare l'olio motore. | ||
| La candela è difettosa. Sostituire la candela. | ||
| Il filtro del carburante è sporco. Sostituire il filtro del carburante. | ||
| Il carburante nel serbatoio è difet-toso. | ||
| Presenza di acqua nel carburante. $vuotare completamente il serba-toio del carburante e il carburatore. Riempire il serbatoio del carburan-te con carburante nuovo e sostitui-re il filtro del carburante. | ||
| Il cavo candela è allentato. Collegare e serrare il cavo candela. | ||
| L'ingresso dell'aria o le alette di raffreddamento sul motore sono bloccati. | ||
| La marmitta è intasata o danneg-giata. | ||
| Vi sono cavi allentati o danneggia-ti. | ||
| Le valvole del motore non sono re-golate correttamente. | ||
| Si verificano vibrazioni nel prodotto. | Le lame sono allentate. Serrare i bulloni sulle lame. | |
| Una o più lame sono danneggiate o non bilanciate. | Bilanciare le lame o sostituirle. | |
| Il motore è allentato. Serrare i bulloni del motore. | ||
| La batteria non si ricarica. Il fusibile | principale è difettoso. Sostituire il fusibile principale. | |
| La batteria è difettosa. Sostituire la batteria. | ||
| Il cavo di ricarica è scollegato. Collegare il cavo di ricarica. | ||
| Il collegamento in corrispondenza dei connettori del cavo sui morsetti della batteria è difettoso. | Controllare i collegamenti della batteria. | |
| Quando l'operatore si alza dal sedile, con piatto di taglio innestato, il motore funziona. Il controllo presenza | operatore(OPC) è difettoso. | Controllare cavi, interruttori e collegamenti. Se il problema persiste, rivolgersi a un addetto all'assistenza autorizzato. Non utilizzare il prodotto se il controllo presenza operatore è difettoso. |
| Le lame non possono girare. È presente | un blocco nel meccanismo della frizione. | Rimuovere l'ostruzione. |
| La cinghia di trasmissione per il piatto di taglio è usurata o danneggiata. | Sostituire la cinghia di trasmissione per il piatto di taglio. | |
| Una puleggia del galoppino è congelata. | Sostituire la puleggia del galoppino. | |
| Un mozzo porta lama è congelato. | Sostituire il mozzo porta lama. | |
| Scarico dell'erba difettoso. Il regime | motore è troppo basso. Portare il comando dell'acceleratore nella posizione veloce. | |
| Il prodotto funziona a un regime troppo elevato in avanti o in retro-marcia. | Utilizzare la velocità minima. | |
| L'erba è bagnata. Lasciar asciugare | l'erba prima di tagliarla. | |
| Il piatto di taglio non è parallelo. Regolare il parallelismo del piatto di taglio. Fare riferimento a Per regolare il parallelismo del piatto di taglio alla pagina 152. | ||
| La pressione degli pneumatici non è corretta. | Effettuare un controllo della pressione degli pneumatici. Regolare la pressione degli pneumatici, se necessario. | |
| Le lame sono usurate, danneggiate o allentate. | Sostituire le lame o stringere i buloni sulle lame. | |
| Accumulo di erba o sporco al di sotto del piatto di taglio. | Pulire il piatto di taglio. | |
| La cinghia di trasmissione per il piatto di taglio è usurata o danneggiate. | Sostituire la cinghia di trasmissione per il piatto di taglio. | |
| Le lame non sono installate correttamente. | Installare le lame con il bordo affilato rivolto verso il basso. | |
| Sono in uso lame non corrette. Sostituire le lame con quelle corrette nel manuale delle parti di ricambio. | ||
| Fori d'aria del piatto di taglio ostruiti dall'accumulo di erba e sporcizia intorno a mozzi porta lama. | Pulire l'area intorno ai mozzi porta lama per aprire i fori per l'aria. | |
| Il faro anteriore non funziona. L'interruttore del faro anteriore è in posizione OFF". | Portare l'interruttore del faro anteriore in posizione ON. | |
| La lampadina è difettosa. Sostituire la lampadina. | ||
| L'interruttore di corrente del faro anteriore è difettoso. | Sostituire l'interruttore di corrente del faro anteriore. | |
| Il cavo del faro anteriore non è collegato. | Controllare cavi e collegamenti. | |
| È presente un cortocircuito nel cavo del faro anteriore. | Contattare un'officina autorizzata. | |
| Il prodotto si muove lentamente, a velocità irregolare o non si muove affatto. | Il prodotto è in modalità ruota libera. | Estrarre la leva di comando della ruota libera. Fare riferimento a Modalità ruota libera del prodotto alla pagina 144. |
| Il freno di stazionamento è inserito. | Disinserire il freno di stazionamento. | |
| La cinghia di trasmissione è allen-tata o danneggiata. | Sostituire la cinghia di trasmissio-ne. | |
| È presente aria nella trasmissione. | Rimuovere l'aria dalla trasmissio-ne. Fare riferimento a Rimozione dell'aria dalla trasmissione alla pa-gina 157. | |
| Sulla piastra dello sterzo sono pre-senti materiali indesiderati (se la piastra dello sterzo è installata). | Pulire il prodotto. | |
| Manca la chiave quadrata sull'as-sale. | Installare la chiave quadrata. Fa-re riferimento a Riparazione degli pneumatici alla pagina 148. | |
| Il risultato del taglio è insoddisfa-cente. | Le lame sono smussate o danneg-giate. | Affilare le lame o sostituirle. |
| Il piatto di taglio non è parallelo. Regolare il parallelismo del piatto di taglio. Fare riferimento a Per regolare il parallelismo del piatto di taglio alla pagina 152. | ||
| L'erba è bagnata. Lasciar asciugare | l'erba prima di tagliarla. | |
| L'erba è alta. Iniziare con un'altezza di taglio ele-vata e ridurla gradualmente. | ||
| La pressione degli pneumatici non è corretta. | Effettuare un controllo della pres-sione degli pneumatici. Regolare la pressione degli pneumatici, se necessario. | |
| Il prodotto funziona a un regime troppo elevato in avanti o in retro-marcia. | Utilizzare la velocità minima. | |
| La cinghia di trasmissione per il piatto di taglio è usurata o danneg-giata. | Sostituire la cinghia di trasmissio-ne per il piatto di taglio. | |
| Il motore ha un ritorno di fiamma quando si arresta. | Il comando dell'acceleratore non è nella posizione lenta. | Fare riferimento a Arresto del prodotto alla pagina 142. |
| Il motore si arresta quando si tenta di eseguire la retromarcia. | Il sistema per operazioni in retro-marcia (ROS) non è inserito. | Innestare il sistema per operazioni in retromarcia (ROS). Fare riferimento a Utilizzo del sistema per operazioni in retromarcia (ROS) alla pagina 143. |
Trasporto, stoccaggio e smaltimento
Trasporto
Nota: Chiudere e fissare il cofano al prodotto durante il trasporto per evitare danni. Collegare il cofano al prodotto con gli strumenti corretti (corda, filo, ecc.).
Quando si sposta il prodotto, portare il comando della ruota libera in posizione di innesto della ruota libera per disinnestare la trasmissione. Il comando della ruota libera si trova sulla barra di trazione posteriore del prodotto.

-
Sollevare l'accessorio nella posizione più alta tramite il comando di sollevamento dell'accessorio.
-
Tirare il comando della ruota libera, inserirlo nella fessura e rilasciarlo per mantenerlo nella posizione disinnestata.
- Non spostare il prodotto a velocità superiore a 3,2 km/h (2 mph).
- Per innestare di nuovo la trasmissione, procedere in ordine inverso.
Sicurezza per il traino
- Utilizzare esclusivamente attrezzature di traino approvate da Husqvarna.
- Utilizzare la barra di traino per fissare l'attrezzatura.
• Non trainare attrezzature più pesanti del peso massimo consentito. - Accertarsi che non vi siano persone nelle vicinanze del prodotto quando si traina l'attrezzatura.
• Non trainare l'attrezzatura su terreni in pendenza o accidentati. - Azionare il prodotto a bassa velocità quando si traina l'attrezzatura.
Archiviazione
Preparare il prodotto per il rimessaggio al termine della stagione e in caso di inutilizzo per un periodo superiore a 30 giorni. Se si lascia il carburante all'interno del serbatoio del carburante per 30 giorni o più, le particelle appiccicose possono creare intasamenti nel carburatore. Ciò ha un effetto negativo sul funzionamento del motore.
Per evitare la formazione di particelle appiccicose durante il rimessaggio, aggiungere uno stabilizzatore. Se si utilizza benzina alchilata, lo stabilizzatore non è necessario. Se si utilizza benzina standard, non passare alla benzina alchilata. Ciò può causare l'indurimento dei componenti sensibili di gomma. Aggiungere lo
stabilizzatore alla benzina nel serbatoio o nel contenitore utilizzato per lo stoccaggio. Utilizzare sempre i rapporti di miscelazione indicati dal produttore. Far girare il motore per almeno 10 minuti dopo aver aggiunto lo stabilizzatore fino a quando non scorre nel carburatore.

AVVERTENZA: Non conservare il prodotto con del carburante nel serbatoio in un luogo chiuso o in luoghi con scarsa circolazione d'aria. Se i vapori tossici entrano a contatto con fiamme, scintille o fiamme pilota, come ad esempio in caldaie, serbatoi d'acqua
calda e asciugatrici, sussiste il rischio di incendio.

AVVERTENZA: Rimuovere l'erba, le foglie e altri materiali infiammabili dal prodotto per ridurre il rischio di incendio. Lasciare che il prodotto si raffreddi prima del rimessaggio.
- Pulire il prodotto, vedere Pulizia del prodotto alla pagina 147. Ritoccare la vernice danneggiata per evitare la corrosione.
- Esaminare il prodotto per verificare la presenza di parti usurate o danneggiate e serrare le viti e i dadi allentati.
-
Rimuovere la batteria. Pulirla, caricarla e conservarla in un luogo fresco durante il rimessaggio.
-
Cambiare l'olio motore e smaltire l'olio di scarico.
- Svuotare il serbatoio del carburante. Avviare il motore e farlo girare fino a quando non si esaurisce tutto il carburante nel carburatore.
Nota: Non svuotare il serbatoio del carburante e il carburatore se si è aggiunto lo stabilizzatore.
- Rimuovere i tappi e versare circa un cucchiaio di olio motore in ogni cilindro. Ruotare manualmente l'albero motore per applicare uniformemente l'olio e riavvitare i tappi.
- Lubrificare tutti gli ingrassatori, i giunti e gli assali.
- Conservare il prodotto in un'area pulita e asciutta e coprirlo per una maggiore protezione.
- Un coperchio per proteggere il prodotto durante lo stoccaggio o il trasporto è disponibile presso il proprio rivenditore.
Smaltimento
- Le sostanze chimiche possono essere pericolose e non devono essere disperse nel suolo. Smaltire sempre le sostanze chimiche utilizzate presso un centro di assistenza o un centro di smaltimento autorizzato.
-
Quando il prodotto è usurato, inviarlo al rivenditore o a un centro di riciclaggio autorizzato.
-
Olio, filtri dell'olio, carburante e batteria possono contaminare l'ambiente. Rispettare le norme locali sul riciclaggio e le normative vigenti.
- Non smaltire la batteria come un rifiuto domestico.
- Inviare la batteria a un'officina Husqvarna o smaltirla in un centro specializzato nello smaltimento delle batterie usate.
Dati tecnici
| TS142L | |
| Motore | |
| Marchio del motore LCC | |
| Modello del motore LC1P92F | |
| Potenza nominale motore, kW / hp ^13 | 8,9 / 11,9 |
| Massimo regime del motore, giri/min 2.600 ± 100 | |
| Regime minimo del motore, giri/min 1.750 | |
| Velocità di avanzamento massima, mph / km/h 4,2 / 6,7 | |
| Velocità in retromarcia massima, mph / km/h 4,2 / 6,7 | |
| Combustibile, numero di ottano minimo, senza piombo, max 10% di etanolo e max 15% di MTBE, AKI / RON | 87 / 91 |
| Volume serbatoio carburante, galloni / l 1,5 / 5,67 | |
| Tipo di olio superiore a 32 °F / 0 °C (API: SJ-SN): SAE | 30 |
| Tipo di olio inferiore a 32 °F / 0 °C (API: SJ-SN): SAE | 5W30 |
| Volume dell'olio con filtro dell'olio, galloni / l 0,37 / 1,4 | |
| Volume dell'olio senza filtro dell'olio, galloni / l 0,34 / 1,3 | |
| Sistema di lubrificazione Pressione con filtro dell'olio | |
| Sistema di raffreddamento Raffreddato ad aria | |
| Filtro dell'aria 5907973101 | |
| Alternatore, V amp a 3.600 giri/min 12 V 15 amp a 3.600 giri/min | |
| Motorino di avviamento Avviamento elettrico 12 V | |
| Peso | |
| Peso, con serbatoi vuoti, lb / kg 440 / 200 | |
| Piatto di taglio | |
| Numero di lame 2 | |
| Lunghezza lama, pollici / cm 21 / 53 | |
| Larghezza di taglio, pollici / cm 42,13 / 107 | |
| Altezza di taglio, pollici / cm 1,5-4,0 / 3,8-10,2 | |
| Pneumatici | |
| Pressione degli pneumatici, posteriore - anteriore, kPa / PSI / bar | 103 / 15 / 1 |
| Pneumatici anteriori, pollici 15 x 6-6 | |
| Pneumatici posteriori, pneumatici per terreno erboso, pollici | 18 x 9,5-8 |
| Freni Freno di stazionamento meccanico | |
| Impianto elettrico | |
| Tipo 12 V | |
| Batteria | 28 A |
| Candela | XC12YC |
| Distanza tra gli elettrodi, pollici/mm 0,030 / 0,76 | |
| Coppia della candela, lb-ft / Nm | 14,75 / 20 |
| Emissioni di rumore ^14 | |
| Livello potenza acustica, misurato dB(A) | 99 |
| Livello di potenza acustica, garantito LWA dB(A) | 100 |
| Livelli di rumorosità ^15 | |
| Livello di pressione sonora all'orecchio dell'operatore, dB(A) | 85 |
| Livelli di vibrazioni ^16 | |
| Livello di vibrazioni sul volante, m/s ^2 | 2,78 |
| Livello di vibrazioni sul sedile, m/s ^2 | 0,37 |
Assistenza
Assistenza
Eseguire un controllo annuale presso un centro di assistenza autorizzato per assicurarsi che il prodotto funzioni in modo sicuro e al meglio durante l'alta stagione. Il momento migliore per eseguire la manutenzione o la revisione del prodotto è la bassa stagione.
Quando si ordinano i ricambi, fornire le informazioni sull'anno di acquisto, il modello, il tipo e il numero di serie.
Utilizzare sempre ricambi originali.
Dichiarazione di conformità
Dichiarazione di conformità UE
Husqvarna AB, SE 561 82 Huskvarna, SVEZIA, dichiara sotto la propria esclusiva responsabilità che il prodotto indicato:
| Descrizione Trattorino rasaerba con | motore a combustione e operatore seduto |
| Marchio | Husqvarna |
| Piattaforma / Tipo / Modello | TS142L |
| Lotto A partire dal numero di serie e | successivi |
È pienamente conforme alle seguenti norme e direttive UE:
| Direttiva/norma Descrizione | |
| 2006/42/CE "relativa alle macchine" | |
| 2011/65/UE "restrizione dell'uso di determinate sostanze pericolose" | |
| 2014/30/UE "sulla compatibilità elettromagnetica" | |
| 2000/14/CE, 2005/88/CE "sul rumore esterno" |
Le norme armonizzate e/o specifiche tecniche applicate sono le seguenti: EN ISO 12100:2010, EN ISO 14982:2009, EN ISO 5395-1 e 3:2013, EN ISO 3744:2010, EN ISO 11094:1991, EN 1032:2009, EN IEC 63000:2018.
In conformità alla direttiva 2000/14/CE, Allegato VIII, i valori per i livelli sonori dichiarati sono riportati nella sezione Dati tecnici del presente manuale e nel documento firmato Dichiarazione di conformità UE.
Il trattorino rasaerba con motore a combustione e operatore seduto è conforme agli esemplari sottoposti a omologazione.
Per conto di Husqvarna AB, SE 561 82 Huskvarna, Svezia, 2021-06-07
$$ \Delta \cdot 2 m $$
Claes Losdal
Responsabile della documentazione tecnica

Contenido
Istruzioni originali
ManualeFacile