RU400BT - Autoradio ROADSTAR - Manuale utente e istruzioni gratuiti
Trova gratuitamente il manuale del dispositivo RU400BT ROADSTAR in formato PDF.
Domande degli utenti su RU400BT ROADSTAR
0 domanda su questo apparecchio. Rispondi a quelle che conosci o fai la tua.
Fai una nuova domanda su questo apparecchio
Scarica le istruzioni per il tuo Autoradio in formato PDF gratuitamente! Trova il tuo manuale RU400BT - ROADSTAR e riprendi in mano il tuo dispositivo elettronico. In questa pagina sono pubblicati tutti i documenti necessari per l'utilizzo del tuo dispositivo. RU400BT del marchio ROADSTAR.
MANUALE UTENTE RU400BT ROADSTAR
Questo prodotto soddisfa i requisiti minimi previsti nella dirittiva 89/336/CEE ed o stato costruito in conformità alle norme EN50013, EN50020.
Manuale d'istruzioni
Ilvostruonuapparecchio isialo prodotto ed assemblato sotto lo stretto controli di qualita ROADSTAR.
Vi ringraziamo di aver acquistato un nuovo prodotto per il vosto piacere d'ascollo.
Prima di procede allutilizzo dell'apparechio, leggete attentamente il manuale d'istruzioni e tenetelo sempre a portata di mano per futuri riferimenti.
Il punto di esclamazione all'interno di un triangolo averto l'utente che il librettod'istruzioni contiene delle importanti istruzioni per l'uso e la manutenzione.
Il simbolo del fulmine al'interno di un triangolo avertte l'ultente della presenza di una pericolosa tensione all'interno dell'apparechio.
Per ridurre i rischi di scosse elettriche, non après l'appareccchio. L'appareccchio non contiene parti riparabili dall'ute. In caso di guasto fare appello a tecnici qualificati per le riparazioni.
Radiazioni laser invisibili sono potono foruriciare add apparenchio aperto on in caso di quasto del dispositivo di sicurezza. Evitare l'esposizione diretta ai raggi laser. L'uso di comandi, regolazioni o procedure non specificare in quello manuale sono possono causare pericolose esposizioni alle radiazioni laser.
Non esporre l'apparecchio alla pioggia o all'umidita.
Posizionare I'apparecchio in un luogo sufficientemente ventilato.
Non esporre I'apparecchio alla luce diretta del sole o a fonti di calore.
Noi, Roadstar Italia Spa
Viale Matteotti 39
I-22012 Cernobblo (Como)
Dichiariamo:
Che il numero Autoradio FM Stereo Digitale PLL, Sistema Radio Data System con PTY, Letto MP3, Pannello Frontale Totalamente Estrabile RU-400BT della Roadstar
e prodotto in conformità al D.M. no. 548 datiato 28/08/95 (G.U. no. 301 datiata 28/12/95)
e, in particolare, e in conformità alle prescrizioni dell'articolo 2 comma 1

Corretto smaltimento del prodotto - (rifiuti elettrici ed elettronici) Il marchio riportato sul prodotto e sulla sua documentazione indica che il prodotto non deve essere smalitto con altri rifiuti domestici al termine del ciclo di vita. Per evitare eventuali danni all'ambiente o alla salute causati dall'inopportuno smaltimento dei rifiuti, si invita l'utente a separare quello prodotto da altre tipi di rifiuti e di riciclarto in maniera responsable per favore il riutilizzo sostinibile delle risorse materiali.
Italianolta
RU-400BT
Autoradio Digitale AM / FM Stereo RDS conlettore di MP3 da USB / SD / MMC
Sistema Radio Data System con PTY, Bluetooth e Pannello Frontale Estrabile.
MANUALEISTRUZIONI
Raccomandiamo lalettura accurata diquesto manuale per potervi familiarizzare con la vostra nuova Autoradio prima diutilizzarlo per la prima volta. Raccomandiamo di conservare那一quostomanuale per futuri riferimenti.
INDICE
- Localizzazione dei controlli
- Caratteristiche
- Installazione
- Precazioni e Manutenzione
- Connessioni
- Istruzioni
- Funzione playback MP3 da UDB / SD / MMC
- Specifiche
Questa autoradio a frontale estralble FM Stereo conlettore MP3 DA USB/SD/MMC ha le seguente caratteristiche:
- Controllo elettronico Volume, Acuti, Bassi, Bilanciamento, Fader.
Sintonia elettronica di precisione con circuito PLL.
18 stazioni memorizzabili (6FM 1/6FM2/6FM3) - Funzione Bluetooth con A2DP
- Contrllo Loudness
- Intermuttore Accensione / Spegnimento Illuminato
Controllo Sintonia Manuale SU/ GIU
Controllo Sintonia Automatica SEEK SU/GIU - Selettore Banda (BAND) per la selezione della banda richiesta (FM, FM2, FM3)
Controllo Display (Frequenza, Nome stazione, Tipo programma) - Funzione orologio in RDS
- Funzione ripetizione brani USB/SD/MMC
- FunzionelettoreUSB/SD/MMC e MP3 di brani registrati
- Uscita preamplificata
Pannello frontale estraiabile come机体 anti-furto. - Sistema di illuminazione
- Funzioni RDS: PI (Identificazione Programma)
TA (Annuncio Trafficco)
PS (Servizio Nome Programma)
AF (Lista Frenqueze Alternative)
TP (Programma traffic)
PTY (TipodiProgramma)
Italianoitali
INSTALLAZIONE
PRECAZIONI
- Scegliere la posizione di montaggio conattenzione in modo che l'apparecchio non interferisce con le normali funzioni di quida del conducente.
- Evitare di installare l'appareccchio ove sarebbe esesto adalte temperature, come la luce diretta del sole o l'aria calda dell'impianto di riscaldamento, o esesto a polvere, sporiccia o vibrazioneccessiva.
- Usare soltanto gli attrezzi di montaggio forniti per una installmente sicura.
- Assicurarsi di aver rimioso il pannello frontale prima di installare l'appareccchio.
Regolazione dell'angolo di montaggio
Regolare I'angolo di montaggio a meno di 20^
ESEMPPIO DIMONTAGGIO
Installazione nel cruscotto




Note: Tenere la chiave di sbloccaggio in un luogo sicuro potreste averne necessità per rimuovere l'apparecchio dall'auto.
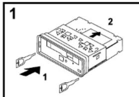
COME ABBASSAREESTACCCAREILFRONTALINO
Prima di staccare il frontallino, assicurati di averere premuto il pulsante PWR-OFF (1) (spento),\ quindi premere il pulsante RILASCIO FRONTALINO (14) e far abbassare il pannello in a posizione orizzontale. Staccare il pannello tirando verso di voi come illustrato in figura.
Nota:
Fare attenzione a non lasciar cadere il pannello nel momento in cui viene staccato dall'apparecchio.

INSERIMENTO DEL FRONTALINO
Applicare la parte sinistra del frontalino all'unità (in A) facendo combaciere e spingendo la parte destra sino a che sentiretè un "CLIC".
Fate attenuationa non esercitare alcuna pressione sul display o sui tasti.

Note:
Assicurarasi che il frontalino sia nella corretta posizione quando viene ricollegato all'apparecchio, in modo che non venga applicato a rovescio.
- Quando portate con voi il frontalino, riponetelo nell'apposto astuccio.
Non presente fortre o esercitate troppa pressione sul display del frontalino quando lo ri-applicate all'appareccchio.
Italianolitali
CONNETTORE ISO

Presa Line Out RCA (Posteriore)
- Griglo: Rosso (destro)
Bianco (sinistro)
CONNETTOREA
- 3
- GIALLO: MEMORIA + 12V PERMANENTE
- BLU:USCITAANTENNAAUTOMATICA
- ROSSO: +12V (alla chiave d'accensione)
8.NERO:MASSA
N.B.:
Il filo ROSSO N°7 del connettore A, delve essere collegato sotto chiave accensione dell'autobile per evitare che la batteria dell'auto si scarichi quando quest'ultima non viene utilizzata per diversi giorni.
CONNETTORE B
- VIOLA: ALTOPARLANTE POSTERIORE DESTRO (+)
2.VIOLANERO:ALTOPARLANTE POSTERIORE DESTRO(-) - GRIGIO: ALTOPARLANTE ANTERIORE DESTRO (+)
- GRIGIO/NERO:ALTOPARLANTE ANTERIORE DESTRO(-)
5.BIANCO:ALTOPARLANTE ANTERIORE SINISTRO (+)
6.BIANCO/NERO:ALTOPARLANTE ANTERIORE SINISTRO(-) - VERDE:ALTOPARLANTE POSTERIORE SINISTRO(+)
8.VERDE/NERO:ALTOPARLANTE POSTERIORE SINISTRO(-)
Manutenzione
SOSTUITUZIONDEIFUSIBILI
Se un fosibile si dovesse bruciere, controllare il collegameto elettrico e sostiluire il fosibile. Se il fosibile dovesse bruciarsi ancora dopo la sostituzione, potrebbe esserci un malfunzionamento interno. In quello caso, consultare il centro assistenza più vicino.
Italianolta
Attenzione
Usare il fusibile con l'amperaggio specificato per ciascun conduttore.
L'uso di fusibili con amperaggio superiore potrebbe dar luogo a seri danni.
ISTRUZIONI
Inserite il Pannello nell'apparecchio e premete il tasto PWR (1) per accendere l'autoradio. Per spegnere l'apparecchio, ripremete il tasto PWR poi premere il tasto REL (14) per estrare il pannello.
N.B.: Non estraete mai il pannello ad autoradio accesa.
SELEZIONE(2)VOLUME(3)
Il controlledo VOLUME regola l'uscila del suono. Seleziona anche le opzioni in RDS. Per selezione le altre funzioni premete leggermente il tasto SELECT (2) sino a che la funzione desiderata non appeare sul display. La figura 1在哪 come vengono selezionale le funzioni.
-
VOLUME (ruotare)
-
SELECT (premere)
3.BASSI
- ACUTI
5.BALANCE
6.FADER
- EQUALIZZATORE (FLAT-POP-CLASS-ROCK- EQ OFF)
8.VOLUMETA(TRAFICANOUCEMENT)
-
REGIONAL ON/OFF
-
LOCALE/DX
-
STEREO/MONO
-
LOUDNESS
3.CONTROLLOVOLUME
Ruotare il controlo Volume per augmentare o diminuire il livello Audio. Questa manopola se premuta poi essere esere usata per accederate alle funzioni BASSI / ACUTI /BILANCIA-MENTO / FADER.
VOLUME TA (2)
Regolare il volume desiderato del TA (Informazione Traffic).
REGON/OFF
Vedi paragrafo 5
4.PRESELEZIONI(1,2,3,4,5,6)
(A) MODALITA' RADIO:
Premutti leggermente, questi tasti selezionano direttamente una stazione preselezionata.
Se premuto più a lungo di 1 sec., la stazioneactually sintonizzata viene memorizzata.
Quando la modalita PTY e selezionata, il tasto PTY e condiviso come segue:
PTY gruppo musica --- PTY gruppo parlato --- SPENTO
MUSICA PARLATO
1.Musica POP, Musica ROCK 1. NOTIZIARI, AFFARI, INFO
2.Musica EASY, Musica LEGGERA 2. SPORT, EDUCAZIONE, DRAMMA
3.CLASSICA,ALTRAMusica 3.CULTURA,SCIENZEE,VARIE
4.JAZZ, COUNTRY 4. PREVISIONI TEMPO, FINANZE, BABBINI
5.Musica NAZIONALE, OLDIES 5. SOCIALE, RELIGIONE, TELEFONO
6.Musica FOLK 6. VIAGGI, DIVERTIMENO, DOCUMENTARI
(B) MODALITA' LETTORE USB/SD/MMC-MP3:
1.PAUSA 2. INTRO 3.RIPETIZIONE 4.CASUALE
RDS (Radio Data System) è unsystema di informazioni digitali radio sviluppato ed introdotto alla EBU (European Broadcasting Union). Trasmesso su canalae delle emissioni normali FM, L'RDS offre a una varietà di informazioni tipo il nome delle stazioni, il programma e le informazioni sul traffico e funzioni utili tipo la sintonizzazione automatica dei migliorari segnali disponibili nel programma scelto.
5. Funzione 'AF/REG' (FREQUENZE ALTERNATIVE)
Se premul leggermente, viene selezonata la modalita AF/REG. Quando la modalita AF/REG viene selezonata, la radio controlla continuamente il livello del segnale AF. Se premul per più di 2 secondi, viene attivata la modalità ACCESO / SPENTO Regionale.
- Modallta Reglonale ACCESO:
La commutation AF o la Ricerca PI SEEK è implementata a tutte les stationi che hanno lo"This codice PI della statione attuale. La scritta REG他们会 visualizzate sul display
-Modalità Regionale SPENTE
II codice Regionale nel tipo PI è注意事项: la commutatione AF o la Ricerca PI, SEEK è implementata.
6. Funzione 'TA' (ANNUNCI TRAFFICO)
Se premuto leggamente, viene selezionata la modalità TA acceso o spento.
Quando la modalita TA viene selezionata e un annunci sul traffico viene trasmesso - Quando I'apparecchio e in modalita CD/MP3, commutera su modalità radio temporaneamente.
- Se il livello del volume era molto la soglia ben udibile, verrà alzata al livello ben udibile.
- Quando una stazione TP viene ricevuta, la scritta TP viene visualizzata sul display.
Se premuto più a lungo, viene attenuata la modalità TA LOCAL / TA DISTANCE viene selezionata.
-Modalità TA LOCAL
Quando il segnale del collagato è sulla soglia di ricezione, la radio non commuta su quella stazione e l'ascoltatore non sente i disturbi. "TA LO2 viene visualizzato per alcuni secondi.
-Modalita TADISTANCE
La commutation TAriba de implementare la informatione della stazione attuale. "TADX" viene visualizzato per alcuni secondi.
7. Funzione 'PTY' (TIPO DI PROGRAMM)
PTY MUSICA----PTY PARLATO----PTY SPENTO
Quando si selezione PTY, ese è implementato dai tasti di presezione come descritto nei tasti di presezione. Quando si selezione PTY, la radio inizia a cercare l'informazione PTY correspondiente, se si farma se l'informazione PTY correspondiente viene trovata.
8.AUXIN
Ingresso Audio esterno per collegare MP3 player.
9.TASTOMODE(MODE)
Premendo Anything, l'utente puo selezionare
Modalita RADIO or Modalita Letlore USB / SD MP3 / PHONE o AUX-IN
10. TASTO BANDA
Ogni banda viene commutata premendo consecutivamente quello tasto FM1—FM2—FM3.
11. SINTONIZAZIONE AUTOMATICA O MANUALE (FREQSU>>OFREQGI< <)
(A) MODALITA' RADIO
Se premuto leggermente, questi tasti fungono da Ricerca Manuale.
Premendo più a lungo di 2 secondi, si attiva la Ricerca Automatica.
(B) MODALITA'USB-SD-MMC (MP3)
Premere per saltare il brano.
12. TASTOMUTE
Premiere il tasto Mute per abbassare Immeditamente il volume del suono. Premiere Mute di nuovo per riportare il volume all livello precedente.
13.DISPLAYLCD
Il display a cristalli liquidi alla lo stato attuale di ricezione e operazioni.
15. PORTA USB
15. INGRASSO SD/MMC CARD
- Premere (14) per abbassare il pannello frontale.
- Introduire la Card SD/MMC nell'ingresso per Card.
- Fissare di nuovo il pannello frontale all'apparechio principale. Lalettura inizi automaticamente.


17. TASTO PLAY/PAUSA
Durante lalettura, premere l tasto PAUSA (17) 'PAUSE' per fermare momentaneamente lalettura. Premere di nuovo per tornare allalettura normale.
18. TASTO INTRO (Scanslone di tutllI branl) (CD SCAN)
Quando questo tasto viene premuto, appeare l'indicazione 'SCN' sul display e i primi 10 secondi di agli brano viene riprodotto.
19. TASTOREPEAT REPEAT
Quando questo tasto viene premuto, appara l'indicazione 'RPT' e lagettura del brano attualeiene ripetu finché la modalità di ripetizione non viene cancellata, premendo il tasto 'RPT' di nuovo.
20. TASTORANDOM 'SHUFFLE' (CASUALE)
Quando questo tasto viene premuto, appeare l'indicazione 'SHF' e agli brano del disco viene letto in ordine casuale"Ince che nella sequenza normale.Per cancellare la modalità Casuale, premere di nuovo il tasto 'RANDOM'.
21. MICROFONO BLUETOOTH
Microfono ad alla sensibilitita per comunicazione a mani libere tramite Bluetooth.
22. RESET
Questa funzione non è disponibile in quello modello.
23.AMS/NUM
NUM: Ricerca diretta dei brani MP3. Premere quostotasto durante la riproduzione di brani MP3 e successivamente cercare il brano desiderato utilizzato i tasti 1 - 6 o il Volume.
AMS: Premere durante la ricezione Radio per memorizzare le stazioni in sequenza.
D3 Tag
Il nome del documento e il suo numero appariranno continuamente sul display durante lagettura del brano.
COME USAREIL BLUETOOTHNELLAVOSTRA AUTORADIO
Come accoppiare il Telefono all'autoradio
Prima di poterfare chiamate dalla vostra autoradio, si delve eseguirle l'accopplamento (PAIRING) fra il Telefono e l'autoradio. L'accoppiare è una procedura per connettere due dispositivi Bluetooth.
-
La funzione di Bluetooth di quello appeareccchio è sempre attivato, incominciare l'accoppiamento del Suo Telefono cellulare. Si riferisce al manuale del Suo cellulare su come accopiapiere correttamente.
-
Avviare la ricerca dispositivi Bluetooth disponibili, "CAR-BT" appeare. Digitare '0000' quando viene chiesto il codice.
-
Dopo aver accoppiato con successo (BT-OK apparre nel display), connettere all'autoradio se non si connette automatamente.
Come chiamare / ricevere chiamate
- Comporre il numero Telefonico utilizzando il prorio Telefono.
- Quando c'e una chiamata in entrata, premere "SEL" per riceverla.
- Premere "MODE" per rifiutare o terminare la chiamata.
Italianotai
Audio Streaming
- Se il mytro Telefono è compatible col formato "A2DP", potete reproducire musica sul mytro Telefono etrasferila all'autoradio.
- Assicurarsi che il vostro Telefon e l'autoradio siano accopiati e collegati.
- Riproduire la musica sul vostro Telefono seconde le sue modalità d'uso.
- L'autoradio mosteraisticallyamacque "A2DP"se rivee musica A2DP,ma per alcunie tefonfi dovrestate premeI tasto LD/MOD per camblare al modulo A2DP.
- Potete premere >> o << sull'autoradio per trovare i brani precedenti o successivi.
SPECIFICHE
TUNER
Sensibilità 2 dBμ
Separazione Stereo 35 dB
Rapporto Segnale/Disturbo 55 dB
Rispostadi frequenza 87.5-108 MHz
Passi canali (channel step) 50 kHz
Frequenza Intermedia 10.7 MHz
GENERALE
Voltaggio alimentazione 13.8V DC (10.8-15.6V accettabile)
Impedenza altoparlanti 4 o 8 ohm
Massima potenza d'uscita 25W (RMS) x 4CH
Note: Specifiche e disegno soggetti a possibili modifiche sanza preavviso.
ATENCLON







ManualeFacile