Oscar Twin 14 AMR214CTA - Climatizzazione ARGO - Manuale utente e istruzioni gratuiti
Trova gratuitamente il manuale del dispositivo Oscar Twin 14 AMR214CTA ARGO in formato PDF.
Domande degli utenti su Oscar Twin 14 AMR214CTA ARGO
0 domanda su questo apparecchio. Rispondi a quelle che conosci o fai la tua.
Fai una nuova domanda su questo apparecchio
Scarica le istruzioni per il tuo Climatizzazione in formato PDF gratuitamente! Trova il tuo manuale Oscar Twin 14 AMR214CTA - ARGO e riprendi in mano il tuo dispositivo elettronico. In questa pagina sono pubblicati tutti i documenti necessari per l'utilizzo del tuo dispositivo. Oscar Twin 14 AMR214CTA del marchio ARGO.
MANUALE UTENTE Oscar Twin 14 AMR214CTA ARGO
Solo ventilazione ....5
REGOLAZIONE FLUSSO D'ARIA 5
ACCESSORI (FORNITI SU RICHIESTA) 6
Filtro aria pulita 6
Kit contenitore o guida supporto unità esterna supplementari ......6
MANUTENZIONE E CURA 7
CONSIGLI UTILI 7
DICHIARAZIONE DI CONFORMITÀ
Questo prodotto è marcato CE in quanto conforme alle Direttive:
- Bassa Tensione n. 73/23 CEE e 93/68 CEE.
- Compatibilità Elettromagnetica n. 89/336 CEE, 92/31 CEE e 93/68 CEE.
Questa dichiarazione sarà nulla nel caso di impiego diverso da quello dichiarato dal Fabbricante e/o di mancata osservanza, anche solo parziale, delle istruzioni d'installazione e/o d'uso.
IL PRODOTTO

-
Pannello comando e controllo
-
Deflettore mandata aria
-
Maniglia trasporto (su entrambi i lati)
-
Griglia aspirazione aria
-
Ruote trasporto
-
Unità esterna
-
Tubo flessibile
-
Maniglia (appensione e trasporto)
-
Filtro aria
-
Cavo eletttrico con spina
-
Aggancio per unità esterna
-
Tubetto servizio scarico condensa
-
Contenitore o supporto unità esterna
Temperatura interna: Temperatura esterna
-
Pulsante marcia/arresto ①
-
Pulsante raffreddamento
-
Pulsante alta / bassa velocità ventilatore
-
Manopola termostato elettronico
-
Spia raffreddamento
-
Spia alta velocità ventilatore
-
Spia bassa velocità ventilatore
-
SPIA ALLARME LIVELLO ACQUA (ROSSO)
Si accende per malfunzionamento del sistema di evacuazione condensa.
-
Sportello comandi
-
Deflettore mandata aria in posizione per mandata verticale

- Verificare che la tensione monofase di alimentazione nel luogo di utilizzo sia di 220V-240V\~ 50Hz.
- Assicuratevi che l'impianto elettrico sia in grado di erogare la corrente di esercizio necessaria per il climatizzatore oltre a quella assorbita normalmente da altre utenze (elettrodomestici, illuminazione). Vedere gli assorbimenti massimi sulla targhetta dati posta sul climatizzatore.
- Si raccomanda l'installazione di un interruttore bipolare, con fusibile di protezione da 10 A del tipo ritardato, a monte della presa d'alimentazione.
•L'allacciamento alla rete elettrica del climatizzatore deve essere eseguito in conformità alle norme d'installazione vigenti.
- Assicuratevi che interruttori automatici e valvole di protezione dell'impianto siano in grado di sopportare una corrente di spunto di 35 A, (normalmente per un tempo inferiore a 1 secondo).
- Evitare di installare il climatizzatore in locali dove potrebbe essere investito da spruzzi d'acqua (es. lavanderie).
- Accertatevi che il pulsante marcia - arresto sul pannello di comando del climatizzatore sia nella posizione OFF.
- La presa dell'impianto deve essere sempre provvista di messa a terra efficiente.
- Non usare mai la spina come mezzo per arrestare o avviare il climatizzatore: usare sempre il pulsante marcia/arresto sul pannello di comando dell'unità.
•PRECAUZIONE!
Non inserite oggetti nel condizionatore. É molto pericoloso perché il ventilatore gira ad alta velocità.
•ATTENZIONE!
Il climatizzatore è dotato di un sistema di protezione del compressore dai sovraccarichi che non consente la partenza del compressore se non sono trascorsi almeno 3 minuti da un precedente arresto. Evitare quindi spostamenti veloci della manopola termostato nei due sensi quando il compressore è in funzione.
- Assicurare la libera circolazione dell'aria all'unità interna. Non ostruire con tendaggi o simili la griglia di aspirazione e quella di mandata. La parte superiore deve essere libera da qualsiasi ostacolo, non depositare oggetti sul climatizzatore.
- Il costruttore non si assume responsabilità alcuna nel caso in cui le norme di sicurezza e antinfortunistiche non vengano rispettate.
AVVERTENZE IMPORTANTI
-
Per rendere agevoli gli spostamenti del climatizzatore, appendete l'unità esterna al gancio posto sul retro dell'unità interna, avendo cura di non torcere il tubo flessibile, né fargli compiere curve con raggio molto stretto.
-
Per spostare l'unità esterna, afferratela sempre per la maniglia, mai per il tubo flessibile.
-
Non lasciate mai penzolare l'unità esterna dalla finestra, appesa al tubo flessibile.
-
Quando ritirate l'unità esterna dopo il funzionamento, scaricate l'eventuale condensa residua inclinando l'unità.
AVVERTIMENTO
- Prima di eseguire una qualsiasi operazione di spostamento o pulizia, assicuratevi che la spina sia disinserita dalla presa di corrente.
- Alcuni bordi e le alette della batteria condensante possono causare danni se maneggiati in modo improprio: usate le necessarie cautele quando pulite queste parti.

Il climatizzatore è composto da due unità collegate tra di loro da un tubo flessibile. L'unità interna, mobile su ruote, va collocata nel locale da condizionare, in prossimità di una finestra, porta-balcone o parete esterna. L'unità esterna, che assicura lo smaltimento del calore e della condensa, va collocata all'esterno, sul davanzale della finestra, sul balcone o appesa al muro.
L'unità esterna deve sempre essere mantenuta in posizione verticale e ben livellata. Assicurarsi che non vi siano ostacoli alla libera circolazione dell'aria. Un piedino sporgente sul retro dell'unità garantisce la minima distanza dalla parete (3 cm).
Garantire una distanza minima da eventuali pareti di cm. 15 sui lati e cm. 80 sul fronte dell'unità.
INSTALLAZIONE TIPO A
Se disponete di un balcone, oppure di una finestra con davanzale abbastanza profondo (min. 25 cm) potete appoggiare l'unità esterna liberamente. Per maggiore sicurezza consigliamo di fissare il piedino posteriore dell'unità al davanzale con un tassello ad espansione M6 x 20.
Il tubo flessibile potrà passare facilmente tra i battenti accostati della finestra o porta-balcone, bloccati in posizione di minima apertura.
INSTALLAZIONE TIPO B (CON CONTENITORE)
- Fissare il contenitore al muro sotto il davanzale della finestra.
- Inserire l'unità esterna nel contenitore e controllare che sia a livello.
INSTALLAZIONE TIPO C (CON SUPPORTO)
- Fissare la guida supporto al muro sotto il davanzale della finestra.
- Inserire il supporto nella maniglia dell'unità esterna e capovolgere quest'ultima come da figura.
- Posizionare il supporto e fissarlo al bordo dell'unità esterna con le viti.
- Inserire il supporto fissato all'unità esterna nella guida fissata al muro. Verificare che sia a livello.

text_image
M6 x 20 M6 x 20 Min. 25 cm. TIPO A
text_image
2 fori ø 10 50 210 200 CONTENITORE TIPO B
text_image
2 fori ø 10 guida supporto 140 100 min. 200 SUPPORTOTIPO C
MODALITA' D'USO
RAFFREDDAMENTO
Posizionate l'unità esterna fuori dal locale da condizionare e inserite la spina nella presa di corrente.
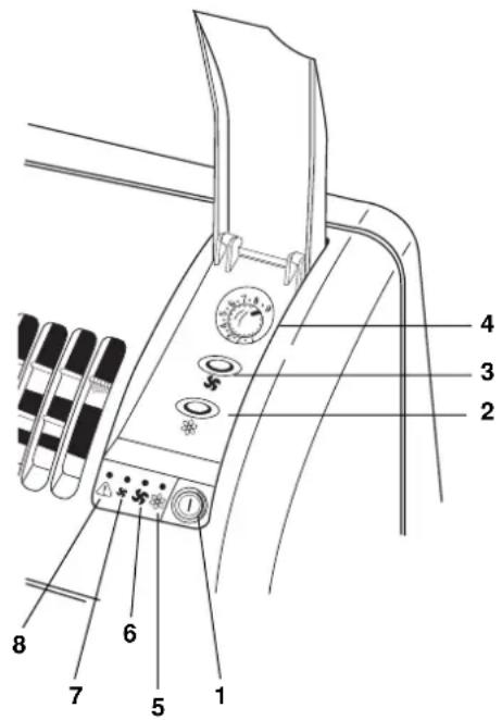
- Ruotare la manopola del termostato (4) verso destra, fino a raggiungere la posizione massimo freddo.
- Accendere il climatizzatore premendo il pulsante (1) Marcia/Arresto ①, le spie visualizzano le ultime funzioni selezionate.
- Selezionare la funzione raffreddamento (2), si accende la spia (5).
- Premere il pulsante (3) per selezionare l'alta velocità del ventilatore, si accende la spia (6).
- Quando la temperatura nel locale ha raggiunto il valore da voi desiderato premete di nuovo il pulsante (3) per selezionare la bassa velocità ventilatore, si accende la spia (7).
- Quindi ruotare lentamente la manopola del termostato verso sinistra fino ad ottenere l'arresto del compressore. A questo punto il climatizzatore è predisposto per funzionare automaticamente sotto il controllo del termostato, mantenendo nel locale la temperatura da voi desiderata.
- Per arrestare il climatizzatore premete nuovamente il pulsante (1) Marcia-Arresto, per riportarlo nella posizione OFF.
SOLO VENTILAZIONE
Per questa funzione l'unità esterna (valigetta) può essere sistemata sia esternamente al locale (davanzale, appesa al muro) che all'interno, agganciata all'unità.
Il climatizzatore stà funzionando in raffreddamento.
- Premere il pulsante (2) raffreddamento per arrestare il compressore, la spia (5) sarà spenta.
- Selezionare la velocità alta o bassa del ventilatore con il pulsante (3).
Avviamento del climatizzatore nella funzione di sola ventilazione.
- Avviare il climatizzatore premendo il pulsante (1) Marcia/Arresto.
- Accertarsi che la spia (5) sia spenta.
- Selezionare la velocità alta o bassa del ventilatore con il pulsante (3).
REGOLAZIONE FLUSSO D'ARIA
Potete regolare la direzione del flusso dell'aria agendo sul deflettore posto sulla bocca di mandata dell'aria; afferrate l'aletta del deflettore con entrambe le mani e ruotate verso di voi per orientare il flusso dell'aria.

Mandata verticale Mandata orizzontale

- Leggere queste istruzioni prima di iniziare la sostituzione.
- Le funzioni del "filtro aria pulita" sono: raccogliere la polvere e deodorare.
I NOTA
- La scatola di cartone contiene un filtro aria pulita, una molla ed una targhetta "color gauge for filter replacement".
- Aprire il sacchetto solo immediatamente prima di installare il filtro. Altrimenti si abbrevia la durata dell'effetto deodorante del filtro.
1 Procedura per l'installazione del filtro:
Aprire la griglia di ingresso aria e togliere il filtro standard. Applicare la targhetta "Color gauge for filter replacement" in una posizione facilmente visibile (all'interno dello sportello comandi).
2 Applicare la molla sul filtro standard:
Agganciare la molla sul filtro aria dal lato posteriore e inserirla nella scanalatura presente sul lato che porta la dicitura "FRONT" (per facilitare l'operazione si consiglia l'uso di un normale cacciavite).
3 Fissare il "filtro aria pulita" sul filtro standard con la molla applicata nel passo 2 precedente.
4 Collocare il filtro standard nell'unità in modo che la dicitura "FRONT" sia di fronte all'operatore e chiudere la griglia di ingresso aria.
Sostituzione del filtro aria pulita
- Il filtro aria pulita è smaltibile.
- Non gettare il telaio del filtro e la molla.
- Il filtrò usato non può essere riutilizzato anche dopo pulitura.
- Procurarsi il filtro aria pulita per la sostituzione presso il rivenditore più vicino.
- Controllare lo stato di contaminazione almeno ogni due settimane e sostituire il filtro quando il suo colore uguaglia quello della targhetta "Color gauge for filter replacement".

text_image
Filtro Standard Griglia di Ingresso aria
text_image
FRONT Filtro Standard Molla
"Filtro aria pulita"
Lato filtro standard: Bianco
(filtro raccolta polvere)
Lato molla: nero
(Filtro deodorante)

text_image
Filtro Standard MollaKIT CONTENITORE O SUPPORTO UNITA' ESTERNA SUPPLEMENTARI
Se si desidera usufruire del climatizzatore in vari locali, è possibile acquistare più contenitori o guide supporto per l'installazione dell'unità esterna.

CONTENITORE

text_image
2 fori ø 10 50 210 200

text_image
2 fori ø 10 100 min. 200GUIDA SUPPORTO
MANUTENZIONE E CURA
ATTENZIONE! Prima di procedere a operazioni di pulizia e manutenzione togliere la spina dalla presa di corrente.
1. Pulizia del Filtro d'aria
Il filtro deve essere controllato almeno una volta ogni due settimane di funzionamento. Il funzionamento con filtro sporco o intasato causa sempre una diminuzione dell'efficienza del climatizzatore e può provocare inconvenienti gravi. Il filtro è collocato dietro la griglia d'aspirazione sul fronte del climatizzatore e si estrae dalla parte superiore. Usate un aspirapolvere per asportare la polvere. Se ciò non fosse sufficiente lavate il filtro con acqua tiepida leggermente saponata, sciacquatelo con acqua fredda e lasciatelo asciugare prima di reinserirlo.
2. Pulizia involucro e griqlia.
Per pulire il climatizzatore strofinatelo con un panno soffice, leggermente inumidito. Per togliere eventuali macchie usate acqua saponata. Non usare solventi, benzina o altri composti chimici aggressivi, né acqua molto calda. Non versate acqua sul climatizzatore per pulirlo: potreste danneggiare i componenti interni o provocare un corto circuito.
3. Conservazione.
Quando prevedete di non usare il climatizzatore per un lungo periodo, prima di riporlo pulite il filtro e scaricate l'acqua di condensa dall'unità interna agendo sul tubetto di scarico posteriore e dall'unità esterna inclinandola. Non scollegate il tubo flessibile; se siete costretti a farlo, proteggete le due metà aperte degli attacchi rapidi con i tappi di plastica forniti in dotazione, serrandoli a fondo con una chiave fissa. Se mettete l'apparecchio in un ripostiglio, abbiate cura di mantenerlo sempre in posizione verticale, appendendo l'unità esterna per mezzo della maniglia al gancio posto sul retro dell'unità interna. Non appoggiate oggetti pesanti sul piano superiore e possibilmente proteggete l'apparecchio con un foglio di plastica.
4. Trasporto.
Quando trasportate il climatizzatore, mantenetelo se possibile in posizione verticale. Qualora ciò non fosse possibile, coricatelo su un fianco; quando arrivate a destinazione rimettete subito l'apparecchio in posizione verticale e attendete almeno 10 minuti prima di utilizzarlo in raffreddamento.
- Per la vostra sicurezza abbiate cura di verificare periodicamente lo stato del cavo di alimentazione; il collegamento elettrico dell'unità è di tipo X con cavo preparato in modo speciale; qualora fosse danneggiato dall'uso, per la sostituzione, rivolgersi al Centro Assistenza.

CONSIGLI UTILI
Se il climatizzatore non funziona, prima di richiedere l'intervento del Servizio di Assistenza verificare che:
- la spina sia correttamente inserita nella presa di corrente;
- l'interruttore generale sia inserito e che non vi sia alcun fusibile interrotto;
- il filtro aria sia pulito;
- il tubo flessibile sia correttamente posizionato, senza pieghe né curve troppo strette;
- la manopola del termostato sia nella posizione più idonea per la temperatura desiderata (ruotandola progressivamente in senso orario verificare che il compressore si avvii, dopo il periodo di ritardo);
- la temperatura ambiente sia superiore a 15 °C;
- tutte le istruzioni contenute in questo manuale siano state osservate scrupolosamente;
L'accensione della spia ⚠️ e il contemporaneo arresto del climatizzatore sono dovuti al mancato funzionamento della pompa o all'ostruzione del tubetto d'evacuazione della condensa; in questo caso rivolgetevi al Servizio di Assistenza.
Il condizionatore può continuare a funzionare in emergenza scaricando la condensa dal tubetto posteriore in un recipiente di altezza limitata; sfilare il tubetto e rimuovere il tappo. (vedi figura).

Legenda colori fili elettrici
Caratteristiche tecniche
– Riserva di carica senza alimentazione elettrica con batteria al litio di durata >= cinque anni
- Display 24 ore
- Programma giornaliero e settimanale
- 8 programmi d'accensione, 8 programmi di spegnimento.


text_image
SPEGNIMENTO MANUALE FUNZIONAMENTO CON PROGRAMMATORE ACCENSIONE MANUALE AUTO 0 REGOLAZIONE ORARIO POSIZIONE DI FUNZIONAMENTO IMPOSTAZIONE PROGRAMMI SELETTORE GIORNI DELLA SETTIMANA INDICAZIONE ACCESO/SPENTO INDICAZIONE FUNZIONE SKIP ATTIVA INSERIMENTO FUNZIONE SKIP IMPOSTAZIONE MINUTI IMPOSTAZIONE ORE MEMORIZZAZIONE PROGRAMMI 8 ACCENSIONI, 8 SPEGNIMENTI IMPOSTAZIONE GIORNO DELLA SETTIMANA 1 = LUNEDI, 7 = DOMENICA TASTO D'AZZERAMENTOModi di funzionamento del programmatore:
I: il condizionatore è permanentemente acceso (può essere spento con il pulsante marcia/arresto sul pannello comando del condizionatore.
AUTO: il condizionatore funziona con il programmatore.
0: il condizionatore è permanentemente spento (non può essere acceso neppure con il pulsante marcia/arresto del condizionatore).
ISTRUZIONI PER L'UTILIZZO DEL PROGRAMMATORE
1. Azzeramento del programmatore:
Accertarsi che il selettore sia sulla posizione RUN e premere il tasto R con la punta di una matita (l'indicazione sul display comincerà a lampeggiare).
2. Impostazione del giorno della settimana e dell'orologio:
Spostare il selettore sulla posizione Ⓗ, premere il tasto 1...7 fino ad impostare il giorno della settimana attuale (visualizzato con una freccia ▲ sul display), premere il tasto h per impostare l'ora attuale, premere il tasto m per impostare i minuti. Rimettere il selettore sulla posizione RUN.
3. Scelta dei giorni o dei blocchi dei giorni da programmare:
Premendo il tasto 1...7 è possibile programmare i giorni singolarmente e i seguenti blocchi di giorni:
1-2-3-4-5 (dal lunedì al venerdì)
6-7 (sabato e domenica)
1-2-3-4-5-6 (dal lunedì al sabato)
1-2-3-4-5-6-7 (dal lunedì alla domenica)
4. Impostazione dei programmi d'accensione e spegnimento:
- Spostare il selettore sulla posizione P (l'indicazione dell'orario sul display comincia a lampeggiare, vengono visualizzati il simbo-lo della lampadina e il numero 1 della prima impostazione d'orario).
- Premere il tasto 1..7 fino ad impostare il giorno o il blocco dei giorni che si vuole programmare (sul display appare una freccia ▲ in corrispondenza del giorno o tante frecce per il blocco dei giorni).
- Premere il tasto h e successivamente il tasto m ed impostare l'ora d'accensione.
- Premere il tasto P per impostare l'ora di spegnimento (l'indicazione dell'orario sul display ricomincia a lampeggiare, scompare il simbolo della lampadina e appare il numero 2).
- Confermare il giorno con il tasto 1..7 e impostare l'ora di spegnimento con i tasti h e m.
- Ripetere queste operazioni, in sequenza, fino ad un massimo di 8 programmi di accensione e 8 di spegnimento, distribuiti per i giorni che si intende programmare.
• Al termine della programmazione, posizionare i selettori sulla posizione RUN e AUTO.
NOTA: Nei giorni non programmati il condizionatore rimarrà spento.
5. Funzione SKIP:
La funzione SKIP (salto programma) è attiva solo durante il funzionamento automatico del programmatore (AUTO) + (RUN) e permette di cambiare da ON ad OFF e viceversa, premendo il tasto ✦; questa funzione rimane attiva fino al successivo intervento programmato.
Quando la funzione skip è attiva sul display appare il simbolo ✦.
Per disattivare la funzione SKIP, premere nuovamente il relativo tasto.
6. Visualizzazione, correzione o cancellazione dei programmi memorizzati:
Per visualizzare i programmi memorizzati, durante il funzionamento, spostare il selettore su P e premere ripetutamente il tasto P. È possibile, a questo punto, modificare gli orari di accensione e spegnimento con i tasti h e m e cancellare uno o più programmi, pre-mendo contemporaneamente i tasti P e ✗.
PROGRAMMATORE ELETTRONICO 24 ORE
Caratteristiche tecniche
– Riserva di carica senza alimentazione elettrica : 150 ore
- Display 24 ore
- Programma giornaliero e settimanale
- 6 programmi d'accensione, 6 programmi di spegnimento.

text_image
INDICAZIONE MODO DI FUNZIONAMENTO AUTO OFF - ON - AUTO ON - OFF INDICAZIONE PROGRAMMA MO TU WE TH FR SA SU +TH PROG AUTO 8 ON OFF 38 : 88 RN D AM P M INDICAZIONE ORA SOLARE/LEGALE INDICAZIONE RANDOM ATTIVA MEMORIZZAZIONE PROGRAMMI 6 ACCENSIONI, 6 SPEGNIMENTI IMPOSTAZIONE MINUTI PRG TIME DAY HR MIN +1A RST RCL IMPOSTAZIONE ORE IMPOSTAZIONE GIORNO DELLA SETTIMANA (O GRUPPO DI GIORNI) TASTO D'AZZERAMENTO TASTO RECALL : PER DISATTIVARE E RIATTIVARE I PROGRAMMIISTRUZIONI PER L'UTILIZZO DEL PROGRAMMATORE
1. Azzeramento del programmatore:
Premere il tasto RST con la punta di una matita.
2. Impostazione del giorno della settimana e dell'orologio:
Tenere premuto il tasto TIME mentre si imposta o si corregge l'ora; premere il tasto DAY fino ad impostare il giorno della settimana attuale (visualizzato con le abbreviazioni in inglese sul display), premere il tasto HR per impostare l'ora attuale, premere il tasto MIN per impostare i minuti.
3. Scelta dei giorni o dei blocchi dei giorni da programmare:
Premere il tasto PRG una volta: apparirà sul display "PROG 1 ON" che indica il programma di accensione da impostare. Premere il tasto DAY e appariranno in sequenza (ad ogni pressione del tasto) i seguenti blocchi di giorni o giorni singoli:
MO-TU-WE-TH-FR-SA-SU (blocco di giorni da lunedì a domenica)
MO-TU-WE-TH-FR-SA-SU (giorno per giorno singolarmente, ad ogni pressione del tasto)
MO-TU-WE-TH-FR (blocco di giorni da lunedì a venerdì)
SA-SU (sabato e domenica)
MO-TU-WE-TH-FR-SA (blocco di giorni da lunedì a sabato)
MO-WE-FR (lunedì, mercoledì e venerdì)
TU-TH-SA (martedì, giovedì e sabato)
4. Impostazione dei programmi d'accensione e spegnimento:
Dopo aver premuto il tasto PRG e il tasto DAY per scegliere il giorno o il blocco di giorni da programmare (v. punto 3)
- Premere il tasto HR e successivamente il tasto MIN ed impostare l'ora d'accensione.
- Premere di nuovo il tasto PRG per impostare l'ora di spegnimento (apparirà sul display "PROG 1 OFF" che indica il programma di spegnimento da impostare).
- Confermare il giorno o il gruppo di giorni con il tasto DAY e impostare l'ora di spegnimento con i tasti HR e MIN.
- Ripetere queste operazioni, in sequenza, fino ad un massimo di 6 programmi di accensione e 6 di spegnimento, distribuiti per i giorni che si intende programmare.
- Al termine della programmazione, premere il tasto TIME per ritornare all'ora corrente, altrimenti la programmazione non ha luogo (il display torna comunque automaticamente all'ora corrente dopo 2 minuti, se nessun tasto viene premuto).
NOTA: Nei giorni non programmati il condizionatore rimarrà spento.
5. Visualizzazione, correzione, disattivazione e riattivazione dei programmi memorizzati:
Per visualizzare i programmi memorizzati, durante il funzionamento, premere ripetutamente il tasto PRG.
E possibile, a questo punto, modificare gli orari di accensione e spegnimento con i tasti HR e MIN e attivare o disattivare uno o più programmi, premendo RCL (v. funzione RECALL al punto 6).
6. Funzione RECALL:
Se per qualsiasi ragione non si vuole fare eseguire un programma, senza però perdere la memoria impostata
• Premere il tastò PRG fino a visualizzare il programma da disattivare.
- Premere il tasto RCL con la punta di una matita (sul visore scompare l'orario impostato e appare "----").
• Premere il tasto TIME per tornare all'ora attuale.
- Per riattivare il programma ripetere la stessa procedura.
7. Passaggio ORA LEGALE/ORA SOLARE:
- Per passare dall'ora legale all'ora solare, tenere premuto il tasto TIME e premere uno dei tasti (apparirà il simbolo "+1h" sul display e l'orario corrente avanzerà di un ora).
- Per ritornare all'ora legalé ripetere la stessa procedura (il simbolo “+1h” sparirà e l'orario corrente diminuirà di un'ora).
8. Funzione RANDOM:
I programmi impostati saranno eseguiti con un ritardo da 2 a 32 minuti, in caso di interruzione di corrente, utilizzando questa funzione
• Tenere premuto il tasto TIME e premere il tasto PRG (sul display appare il simbolo "RND" per indicare che la funzione RANDOM è attiva).
- Per disattivare la funzione ripetere la stessa procedura (il simbolo "RND" scompare dal display).
9. Funzionamento manuale:
Premendo uno dei tasti si può intervenire manualmente sul funzionamento del programmatore; appariranno in sequenza: AUTO OFF - ON - AUTO ON - OFF
AUTO: il condizionatore funziona con il programmatore (é possibile passare da AUTO ON a AUTO OFF o viceversa: è una forzatura per accendere o spegnere il condizionatore, senza perdere il controllo del programmatore che continuerà a eseguire i programmi impostati di seguito).
ON: il condizionatore è permanentemente acceso (può essere spento con il pulsante marcia/arresto sul pannello comando del condizionatore).
OFF: il condizionatore è permanentemente spento (non può essere acceso néppure con il pulsante marcia/arresto del condizionatore).
ManualeFacile