Oscar Twin 14 AMR214CTA - Aire acondicionado ARGO - Manual de uso y guía de instrucciones gratis
Encuentra gratis el manual del aparato Oscar Twin 14 AMR214CTA ARGO en formato PDF.
Preguntas de los usuarios sobre Oscar Twin 14 AMR214CTA ARGO
0 pregunta sobre este aparato. Responde a las que conoces o haz la tuya.
Hacer una nueva pregunta sobre este aparato
Descarga las instrucciones para tu Aire acondicionado en formato PDF gratis! Encuentra tus instrucciones Oscar Twin 14 AMR214CTA - ARGO y toma tu dispositivo electrónico nuevamente en la mano. En esta página están publicados todos los documentos necesarios para el uso de su dispositivo. Oscar Twin 14 AMR214CTA de la marca ARGO.
MANUAL DE USUARIO Oscar Twin 14 AMR214CTA ARGO
Filtro depuración del aire 6
Kit contenedor o guía suporte suplementarios 6
MANTENIMIENTO Y LIMPIEZA 7
CONSEJOS PRACTICOS 7
DECLARACION DE CONFORMIDAD
Este Producto está marcado C€ porque responde a las Directivas:
- Baja Tensión n° 73/23 CEE y 93/68 CEE.
- Compatibilidad Electromagnetica n° 89/336 CEE, 92/31 CEE y 93/68 CEE.
Esta declaración no tendrá efecto en sólo caso de que se haga un uso diferente al declarado por el Fabricante, y/o por el no respeto, incluso parcial, de las intrucciones de instalación y/o de uso.
EL PRODUCTO
E

text_image
2 3 7 8 CONTENEDOR 13 SUPORTE 4 9 5 6 11 12 10 1. Panel de mandos y controles 2. Deflector salida aire 3. Asa de trasporte (en ambos lados) 4. Rejilla aspiración aire 5. Ruedas fácil transporte 6. Unidad exterior 7. Tubo flexible 8. Asa (suspensión y transporte) 9. Filtro aire 10. Cable eléctrico con clavijaLimites de funcionamiento:
Temperatura interior: Temperatura exterior
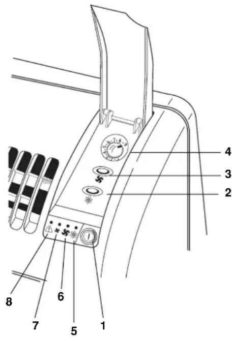
| 1. Pulsador arranque-parada | 1 |
| 2. Pulsador refrigeración | |
| 3. Pulsador alta o baja velocidad ventilador | |
| 4. Selector del termostato electrónico | |
| 5. Luz refrigeración | |
| 6. Luz alta velocidad ventilador | |
| 7. Luz baja velocidad ventilador | |
| 8. PILOTO AVISO NIVEL DE AGUA (ROJO) |
Se enciende cuando el sistema eliminación automática de la condensación no funciona correctamente.
- Copertura mandos
- Deflector salida aire en posición vertical

- Comprobar que la tensión eléctrica monofásica nominal de alimentación sea de 220/240 V \~ 50Hz.
- Asegurarse que la instalación eléctrica sea dimensionada para la corriente necesaria al acondicionador aparte de la corriente absorbida por otros aparatos. (electrodomésticos, luces, etc.). Véase las absorciones máximas indicadas en la placa de características del aparato.
- Se aconseja instalar antes del enchufe de alimentación un interruptor bipolar, con fusible de protección de 10 A del tipo retardado.
- La conexión a la red electrica de la unidad debe ser realizada conforme a las normas locales de electricidad.
- Asegurarse que los interruptores automáticos y válvulas de protección de la instalación sean capaces de soportar una corriente de arranque de 35 A (normalmente por un tiempo inferior a un segundo).
- Evitar instalar el acondicionador en lugares donde podría salpicarle el agua (como por ejemplo las lavanderias).
- Asegurarse que el pulsador arranque-parada situado en el panel de mandos esté en posición OFF.
- El enchufe de la instalación deberá estar dotado de una toma de tierra eficaz.
- No utilizar nunca el enchufe para parar o poner en marcha el acondicionador: usar siempre el interruptor del aparato.
•PRECAUCION
No introducir objetos en el acondicionador. Es muy peligroso porque el ventilador gira a alta velocidad.
•ATENCION!
El acondicionador está dotado de un sistema de protección contra sobrecargas que impide el arranque del mismo si no han transcurrido almenos 3 minutos desde la parada anterior. Por lo tanto, evitar desplazamientos frecuentes del selector del termostato hacia ambos sentidos cuando el compresor esté funcionando.
- Asegurarse de que el aire circule libremente en la unidad interior. No obstruir la salida y entrada del aire con cortinas o semejantes. No colocar nada encima del aparato de modo que no obstaculice el paso del aire.
- El fabricante no se asume ninguna responsabilidad si no vienen respetadas las normas de seguridad.
NOTA IMPORTANTE
- Para facilitar el desplazamiento del acondicionador, colgar la unidad exterior, a través del asa al gancho situado en el lado posterior de la unidad interior cuidando de no torcer et tubo flexible o de curvarlo con radios estrechos.
- Para desplazar la unidad exterior utilizar siempre el asa, nunca el tubo flexible.
- No colgar nunca la unidad exterior a través del tubo flexible.
- Cuando retire la unidad exterior, inclínela para vaciar el agua de condensación que aún pudiera contener en su bandeja
ADVERTENCIA
- Antes de proceder al desplazamiento o limpieza del acondicionador, desconectar el enchufe eléctrico.
- Algunos bordes y las aletas de la batería condensante pueden causar daños si se manejan de manera impropia: tener mucho cuidado al limpiar estas partes

text_image
UNIDAD INTERIOR
text_image
1000 DESNIVEL MAXIMO ADMITIDO
text_image
NO!
El acondicionador está formado por dos unidades conectadas entre sí por un tubo flexible. La unidad interior, portátil sobre ruedas, se sitúa en el local a acondicionar, próxima a una ventana, puerta balcón o pared exterior. La unidad exterior, que elimina el calor y la humedad, se coloca en el exterior sobre el alféizar de la ventana, el balcón o colgada a la pared.
E
COLOCACION UNIDAD EXTERIOR
La unidad exterior debe estar siempre en posición vertical y bien nivelada. Asegurarse que el aire alrededor de la unidad puede circular libremente. Un pie saliente posterior garantiza la distancia mínima a la pared (3 cm). Dejar una distancia mínima de 15 cm. entre los lados de la unidad y la pared, y de 80 cm. en la parte delandera.
INSTALACION TIPO A
Si se dispone de un balcón o ventana con una repisa profunda (min. 25 cm) se puede simplemente apoyar la unidad sobre ella. Para mayor seguridad aconsejamos fijar el pie posterior de la unidad a la repisa con un taco/tornillo M6 x 20. El tubo flexible se puede hacer pasar fácilmente entre los batientes de la ventana o puerta de balcón. Blocar los batientes, abiertos al mínimo
INSTALACION TIPO B (CON EL CONTENEDOR)
- Fijar el contenedor a la pared debajo del alféizar de la ventana.
- Introducir la unidad exterior en el contenedor y controlar que se encuentre nivelada.
INSTALACION TIPO C (CON EL SUPORTE)
- Fijar la guía suporte a la pared debajo del alféizar de la ventana.
- Introducir el suporte en la manilla de la unidad exterior y volcarla como indica la figura.
- Colocar el suporte y fijarlo al borde de la unidad exterior con los tornillos.
- Introducir el suporte, que está fijado a la unidad, en la guía fijada a la pared. Controlar que esté bien nivelada

TIPO C
COMO USARLO
REFRIGERACION
Instalar la unidad exterior de fuera de la habitación a acondicionar y conectar la clavija al enchufe.
- Desplazar hacia la derecha el selector (4) del termostato hasta la posición máximo frío.
- Pulsar el botón (1) arranque-parada ① para poner en marcha el acondicionador, las luces mostran las últimas funciones seleccionadas.
- Pulsar el botón (2) de refrigeración ✉, se enciende la luz (5).
- Pulsar el botón (3) para seleccionar la alta velocidad del ventilador, se enciende la luz (6).
- Cuando la temperatura del local alcance el valor deseado pulsar de nuevo el botón (3) para seleccionar la baja velocidad del ventilador, se enciende la luz (7).
- Finalmente desplazar lentamente hacia la izquierda el selector del termostato hasta la parada del compresor. A partir de ahora el acondicionador funciona automáticamente bajo el control del termostato, manteniendo en el local la temperatura deseada.
- Para parar el acondicionador pulsar nuevamente el botón arranque-parada (1) llevándolo a la posición OFF.
VENTILACION
Si se desea hacer circular aire en el local sin modificar la temperatura, independientemente de la posición de la unidad exterior que puede estar fuera o dentro del local (colgada a la unidad interior), actuar del siguiente modo.
El acondicionador estaba en función de refrigeración.
- Pulsar el botón (2) de refrigeración para parar el compresor, la luz (5) está apagada.
- Pulsar el botón (3) para seleccionar la velocidad alta o baja del ventilador.
Puesta en marcha del acondicionador en la función de ventilación.
- Poner en marcha el acondicionador pulsando el botón (1) arranque-parada.
- Comprobar que la luz (5) esté apagada.
- Pulsar el botón (3) para seleccionar la velocidad alta o baja del ventilador.
REGULACION DEL FLUJO DEL AIRE
Se puede regular la dirección del flujo del aire actuando sobre el deflector móvil situado en la boca superior de salida del aire; tomar una aleta del deflector con ambas manos y tirar hacia sí mismo para orientar el flujo del aire.

- Lea estas instrucciones antes de iniciar la operación.
- Las funciones del "filtro aire limpia" son las de recoger el polvo y eliminar olores
NOTA
- La caja de cartón contiene un filtro aire limpia, un resorte y una etiqueta "color gauge for filter replacement".
- Abrir la bolsa solo al momento final antes de instalar el filtro. Caso contrario se reduce el efecto deodorante del filtro
1 Procedimiento para instalar el filtro:
Abrir la rejilla frontal entrada aire y desmontar el filtro standard.
Aplicar la etiqueta "color gauge for filter replacement" en una posición visible fácilmente (en el interior copertura mandos)
2 Colocar el resorte en el filtro standard:
Enganchar el resorte en el filtro par la parte posterior y alojarlo en el canal situado en el lado donde está escrito "FRONT" (para facilitar la operación se aconseja el uso de un destornillador)
3 Fijar el "filtro aire limpia" al filtro standard mediante el resorte precedente.
4 Volver a colocar el filtro standard en el aparato de forma que la palabra "FRONT" se encuentre delante de quien realiza la operación y cerrar la rejilla entrada aire.
Sustitución del filtro aire limpia
- El filtro aire limpia se puede sustituir.
- Aprovechar el marco de plástico y el resorte.
- El filtro usado no puede utilizarse de nuevo ni siquiera después de lavarlo.
- Adquirir un nuevo filtro para sustitución en la tienda más cercana.
- Controlar el estado de contaminación almenos cada dos semanas y sustituir el filtro cuando su color es igual al de la etiqueta "color gauge for filter replacement".

text_image
Filtro Standard Rejilla entrada aire
text_image
FRONT Filtro Standard Resorte
"Filtro aire limpia" Lado filtro standard: blanco (filtro recoge polvo) Lado resorte: negro (filtro deodorante)

text_image
Filtro Standard ResorteKIT CONTENEDOR O GUIA SUPORTE SUPLEMENTARIOS
Si se desea utilizar el acondicionador en varios locales es posible adquirir otros contenedores o guías suporte para la unidad exterior.

CONTENEDOR

text_image
2 orificios ø 10 50 210 200

text_image
2 orificios ø 10 100 min. 200GUIA SUPORTE
MANTENIMIENTO Y LIMPIEZA
ATENCION! Antes de realizar cualquier operación de limpieza y/o de mantenimiento desconectar la clavija de su enchufe.
1. Limpieza del filtro del aire
El filtro debe ser controlado al menos una vez cada dos semanas de funcionamiento. El filtro sucio u obstruído causa una disminución de la eficacia del acondicionador y puede provocar graves inconvenientes. El filtro está situado detrás de la reijlla de aspiración del acondicionador y se extrae por la parte superior. Utilizar una aspiradora para eliminar el polvo almacenado. Si no fuese suficiente, lavar el filtro con agua templada ligeramente jabonosa, enjuagarlo con agua fría y secar antes de volver a montarlo.
2. Limpieza de la envolvente y rejilla.
Para limpiar el acondicionador basta frotarlo con un paño suave ligeramente humedecido. Para eliminar manchas usar agua jabonosa. No usar disolventes, gasolina o otros compuestos químicos agresivos ni agua demasiado caliente. No volcar agua sobre el aparato para limpiarlo; se pueden dañar los componentes internos o provocar un corto circuito.
3. Conservación.
Cuando se decide no utilizar el acondicionador por un largo período de tiempo, antes de retirarlo limpiar el filtro y vaciar el agua de condensación de la unidad interior, actuando sobre el tubo de descarga posterior y de la unidad exterior inclinándola. No desmontar el tubo flexible de conexión; si no se puede evitar, proteger las dos mitades abiertas de las conexiones rápidas con los tapones de plástico en dotación, apretándolos a fondo con una llave fija. Si desean meter el aparato en un desván o similar, colacarlo siempre en posición vertical. Suspender la unidad exterior por medio del asa, al gancho posterior de la unidad interior. No apoyar objetos pesados en la parte superior del aparato. Si es posible, protegerlo con un saco de plástico o similar.
4. Transporte.
Si desea transportar el acondicionador, mantenerlo siempre que sea posible en posición vertical. Si esto no fuese posible, ponerlo en horizontal apoyándolo sobre un lado; apenas llegado a destino colocarlo de nuevo en posición vertical y esperar al menos 10 minutos antes de utilizarlo en función de refrigeración.
- Para una mayor seguridad aconsejamos verificar periódicamente el cable de alimentación; la conexión electrica de la unidad es del tipo X con el cable preparado en modo especial; si éste presenta síntomas de deterioro háganlo sustituir para el distribuidor o el Servicio Asistencia.

text_image
LIMPIEZA DEL FILTRO
Si el acondicionador no funciona, antes de llamar al Servicio Asistencia Técnica verificar que:
- la clavija esté bien conectada al enchufe;
- el interruptor general de corriente esté conectado y los fusibles en perfectas condiciones;
- el filtro del aire esté limpio;
- el tubo flexible esté correctamente posicionado, sin pliegues ni curvas demasiado cerradas;
- el selector del termostato esté en la posición correcta para la temperatura deseada (desplazando el mismo en sentido horario hasta que arranque el compresor, después del tiempo de retardo);
- que la temperatura ambiente sea superior a 15 °C;
- todas las instrucciones contenidas en este manual han sido respetadas escrupulosamente;
Cuando el piloto ⚠ se enciende e inmediatamente después se apaga el acondicionador, se debe a que la bomba no funciona, o a que el tubito de descarga de la condensación, colocado dentro del tubo flexible de conexión, se ha obstruido. En ese caso, llamar al Servicio de Asistencia.
El acondicionador puede seguir funcionando en función de emergencia desaguando el líquido de condensación por el tubo posterior, en un recipiente de una altura limitada. Sacar el tubo y quitar el tapón. (véase la figura).

Filtro purificador de ar 6
FILTRO PURIFICADOR DE AR
1. Limpeza do filtro purificador
Leyenda de los colores de los cable electricos
Características técnicas
- Reserva de carga sin alimentación eléctrica con pilas de litio durante cinco años o más
– Pantalla 24 horas - Programa diario y semanal
- 8 programas ON, 8 programas OFF

text_image
PARADA MANUAL FUNCTIONAMIENTO CON EL PROGRAMADOR ARRANQUE MANUAL AUTO 0 REGULACION DEL RELOJ POSICION DE FUNCIONAMIENTO REGULACION DE LOS PROGRAMAS SELECTOR DIAS DE LA SEMANA INDICACION ENCENDIDO/APAGADO INDICACION DE LA FUNCION SKIP ACTIVACION DE LA FUNCION SKIP REGULACION DE LOS MINUTOS REGULACION DE LAS HORAS 88:88 16 MEMORIZACION DE LOS PROGRAMAS 8 PROGRAMAS ON, 8 PROGRAMAS OFF P 1..7 h m R BOTON DE RESET REGULACION DEL DIA DE LA SEMANA 1: LUNES, 7: DOMINGOModos de funcionamiento del programador:
I: el acondicionador está siempre encendido (usar directamente el pulsador arranque/parada del acondicionador para apagarlo) AUTO: el acondicionador funciona con el programador
0: el acondicionador está siempre apagado (no puede encenderse tampoco con el pulsador arranque/parada del acondicionador)
INSTRUCCIONES DE USO DEL PROGRAMADOR
1. Reset del programador:
Asegurarse de que el selector sea en la posición RUN y pulsar el botón R de reset con la punta de un lápiz (la indicación en la pantalla empieza a parpadear).
2. Regulación del día de la semana y de la hora curriente:
Desplazar el selector en al posición ⑨, pulsar el botón 1...7 hasta regular el día de la semana corriente (visualizado par una flecha ▲ en la pantalla), pulsar el botón h para regular la hora corriente, pulsar el botón m para regular los minutos. Desplazar de nuevo el selector en la posición RUN.
3. Elección de los días o de los bloqueos de días para programar:
Pueden programarse los días singularmente y los siguientes bloqueos de días, pulsando el botón 1...7:
1-2-3-4-5 (desde lunes hasta viernes)
6-7 (sábado y domingo)
1-2-3-4-5-6 (desde lunes hasta sábado)
1-2-3-4-5-6-7 (desde lunes hasta domingo)
4. Regulación de los programas de arranque y parada:
- Desplazar el selector en la posición P (la indicación de la hora en la pantalla empieza a parpadear, aparece el símbolo de la bombilla y el numero 1 de la primera regulación de la hora).
- Pulsar el botón 1...7 hasta regular el día de la semana o el bloqueo de los días que quieren programarse (en la pantalla aparece una flecha ▲ correspondiente al día o muchas flechas si se elige el bloqueo de los días).
- Pulsar el botón h y después el botón m para regular la hora de arranque.
- Pulsar el botón P para regular la hora de parada (la indicación de la hora en la pantalla empieza de nuevo a parpadear, el símbolo de la bombilla desaparece y aparece el numero 2).
- Confirmar el día con el botón 1...7 y regular la hora de parada con los botones h y m.
- Repetir estas operaciones en secuencia hasta máximo 8 programas de arranque y 8 programas de parada, divididos entre los días che se quieren programar.
- Al final de la regulación de los programas, desplazar los selectores en la posición RUN y AUTO.
NOTA: Durante los días que no han sido programados, el acondicionador se quedará apagado.
5. Función SKIP:
La función SKIP (salto de programa) puede activarse solo durante el funcionamiento automático del programador (AUTO) + (RUN) y permite de cambiar el modo de funcionamiento de ON hasta OFF y viceversa, pulsando el botón ✦; esta función se queda activada hasta el inicio del próximo programa memorizado.
Si la función SKIP está activada aparece en la pantalla el símbolo ✦.
Para anular la función SKIP, pulsar de nuevo el mismo botón.
6. Lectura, corrección o anulación de los programas memorizados:
Para leer los programas memorizados, durante el funcionamiento, desplazar el selector en P y pulsar varias veces el botón P. Es posible, de esta manera, corregir las horas de arranque y parada con los botones h y m y anular un programa o más, pulsando en el mismo tiempo los botones P y ✗.
PROGRAMADOR ELECTRONICO 24 HORAS
Características técnicas
- Reserva de carga sin alimentación eléctrica : 150 horas
– Pantalla 24 horas
– Programa diario y semanal - 6 programas ON, 6 programas OFF

text_image
INDICACION MODO DE FUNCIONAMIENTO AUTO OFF - ON - AUTO ON - OFF INDICACION PROGRAMA MO TU WE TH FR SA SU +TH PROC AUTO 8 ON 28:88 RND AM PM REGULACION DIA Y HORA CURRIENTES MEMORIZACION DE LOS PROGRAMAS 6 PROGRAMAS ON, 6 PROGRAMAS OFF PRG TIME DAY HR MIN +1h REGULACION DEL DIA DE LA SEMANA (O BLOQUEO DE DIAS) BOTON DE RESET Dias de LA SEMANA INDICACION ORARIO DE VERANO/DE INVIERNO INDICACION DE LA FUNCION RANDOM REGULACION DE LOS MINUTOS REGULACION DE LAS HORAS BOTON RECALL : PARAAPAGAR Y ENCENDER LOS PROGRAMASINSTRUCCIONES DE USO DEL PROGRAMADOR
1. Reset del programador:
Pulsar el botón RST de reset con la punta de un lápiz.
2. Regulación del día de la semana y de la hora corriente:
Tener pulsado el botón TIME mientras se regula o se corrige el reloj; pulsar el botón DAY hasta regular el día de la semana corriente (visualizado par las abreviaturas en inglés), pulsar el botón HR para regular la hora corriente, pulsar el botón MIN para regular los minutos.
3. Elección de los días o de los bloqueos de días para programar:
Pulsar el botón PRG una vez: en la pantalla aparece "PROG 1 ON" que indica la hora de arranque para programar.
Pulsar el botón DAY y aparecen en secuencia los siguientes bloqueos de días o los días singularmente:
MO-TU-WE-TH-FR-SA-SU (desde lunes hasta domingo)
MO-TU-WE-TH-FR-SA-SU (días singolos, cada vez se pulsa el botón)
MO-TU-WE-TH-FR (desde lunes hasta viernes)
SA-SU (sábado y domingo)
MO-TU-WE-TH-FR-SA (desde lunes hasta sábado)
MO-WE-FR (lunes, miércoles e viernes)
TU-TH-SA (martes, jueves y sábado)
4. Regulación de los programas de arranque y parada:
Después haber pulsado el botón PRG y el el botón DAY para elegir el día o el bloqueo de días para programar (véase punto 3)
- Pulsar el botón HR y después el botón MIN para regular la hora de arranque.
- Pulsar de nuevo el botón PRG para regular la hora de parada (en la pantalla aparece "PROG 1 OFF" que indica la hora de parada para programar).
- Confirmar el día con el botón DAY y regular la hora de parada con los botones HR y MIN.
- Repetir estas operaciones en secuencia hasta máximo 6 programas de arranque y 6 programas de parada, divididos entre los días que se quieren programar.
- Al final de la regulación de los programas, pulsar el botón TIME para volver a la hora corriente, de otra manera la programación no funciona (de todo modo la pantalla vuelve automáticamente a la hora corriente después de 2 minutos, si ningún botón es presionado).
NOTA: Durante los días que no han sido programados, el acondicionador se quedará apagado.
5. Lectura, corrección, activación y desactivación de los programas memorizados:
Para leer los programas memorizados, durante el funcionamiento, pulsar varias veces el botón PRG.
Es posible, de esta manera, corregir las horas de arranque y parada con los botones HR y MIN y desactivar o activar un programa o más, pulsando RCL (véase la función RECALL al punto 6).
6. Función RECALL:
Si, por cualquiera razón, no se quiere hacer ejecutar un programa, sin pero perder la memoria programada
- Pulsar el botón PRG hasta visualizar el programa para desactivar.
- Pulsar el botón RCL con la punta de un lápiz (en la pantalla desaparece la hora programada y aparece “--:--”).
- Pulsar el botón TIME para volver a la hora corriente.
- Para activar de nuevo el programa, repetir el mismo procedimiento.
7. ORARIO DE INVIERNO/DE VERANO:
- Para cambiar desde el orario de invierno hasta el orario de verano, tener pulsado el botón TIME y pulsar uno de los botones (en la pantalla aparece “+1h” y la hora cambia).
- Para volver al orario de verano repetir el mismo procedimiento (en la pantalla desaparece “+1h” y la hora cambia).
8. Función RANDOM:
Los programas memorizados empezarán con un retraso de 2 hasta 32 minutos, en caso de interrupción de corriente, utilizando esta función
- Tener pulsado el botón TIME y pulsar el botón PRG (en la pantalla aparece RND que indica la función RANDOM activa).
- Para desactivar la función, repetir el mismo procedimiento (en la pantalla desaparece RND).
9. Funcionamiento manual:
Pulsando uno de los botones se puede regular manualmente el programador; aparecerán en secuencia: AUTO OFF-ON-AUTO ON-OFF
AUTO: el acondicionador funciona con el programador (es posible pasar desde AUTO ON hasta AUTO OFF si queréis encender o apagar el acondicionador sin perder el control del programador; después el programador seguirá en efecto à ejecutar los programas memorizados
ON: el acondicionador está siempre encendido (usar directamente el pulsador arranque/parada del acondicionador para apagarlo)
OFF: el acondicionador está siempre apagado (no puede encenderse tampoco con el pulsador arranque/parada del acondicionador)
ManualFácil