Oscar Twin 14 AMR214CTA - Klimaanlage ARGO - Kostenlose Bedienungsanleitung
Finden Sie kostenlos die Bedienungsanleitung des Geräts Oscar Twin 14 AMR214CTA ARGO als PDF.
Benutzerfragen zu Oscar Twin 14 AMR214CTA ARGO
0 Frage zu diesem Gerät. Beantworten Sie die, die Sie kennen, oder stellen Sie Ihre eigene.
Eine neue Frage zu diesem Gerät stellen
Laden Sie die Anleitung für Ihr Klimaanlage kostenlos im PDF-Format! Finden Sie Ihr Handbuch Oscar Twin 14 AMR214CTA - ARGO und nehmen Sie Ihr elektronisches Gerät wieder in die Hand. Auf dieser Seite sind alle Dokumente veröffentlicht, die für die Verwendung Ihres Geräts notwendig sind. Oscar Twin 14 AMR214CTA von der Marke ARGO.
BEDIENUNGSANLEITUNG Oscar Twin 14 AMR214CTA ARGO
VOR INBETRIEBNAHME 3
KLIMAGERÄTEAUFSTELLUNG 4
ANWENDUNGSHINWEISE
Kühlung 5
Nur Ventilation ....5
LUFTSTROM-EINSTELLUNG 5
ZUBEHÖRTEILE (AUF ANFRAGE)......6
Luftfilter 6
Zusätzlicher Außeneinheit Stützkorb oder Halterungsführung Kit ......6
WARTUNG UND PFLEGE 7
NÜTZLICHE RATSCHLÄGE 7
KONFORMITÄTSERKLÄRUNG
Dieses Produkt ist mit CE -Zeichen gekennzeichnet, weil es den folgenden Richtlinien entspricht:
– Niederspannungsrichtilinie 73/23 EWG und 93/68 EWG.
– Elektromagnetische Verträglichkeit 89/336 EWG, 92/31 EWG und 93/68 EWG.
Bei falschem Einsatz des Gerätes und/oder Nichtbeachtung auch nur von Teilen der Bedienungsanleitung und der Installatinsanweisungen wird diese Erklärung ungültig.
DAS PRODUKT

- Schalt- und Kontrollpanel
- Luftzufuhr Klappe
- Transportgriff (beide Seiten)
- Luftansauggrill
- Transporträder
- Außeneinheit
- Schlauch
- Griff (Aufhängung und Transport)
- Luftfilter
- Stromkabel mit Stecker
- Kupplung für Außeneinheit
- Bedienung Kondenswasserflußrohr
- Außeneinheit Stützkorb oder Halter
Raumtemperatur:
MIN: 15° C D.B. / 12° C W.B.
MAX: 32° C D.B. / 23° C W.B.
Außentemperatur:
MIN: 15° C D.B.
MAX: 46° C D.B.
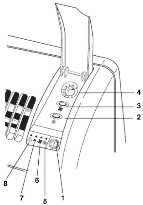
SCHALT-UND KONTTROLLPANEL
- Ein/Aus-Taste (ON-OFF) ①
- Kühlungs-Taste
- Hohe / niedrige Ventilatorgeschwindigkeits-Taste
- Wahlschalter des elektrischen Thermostats
- Kühlungs-Kontrolleuchte
- Hohe Ventilatorgeschwindigkeits-Kontrolleuchte
- Niedrige Ventilatorgeschwindigkeits-Kontrolleuchte
- Alarm-Kontrolleuchte (ROT) des Wasserstands
Sie leuchtet wegen Betriebsstörungen im Kondenswasserevakuations- System.
- Kontrollpanel Deckel
- Vertikale Luftzuführ klappe

- Überprüfen Sie, daß die einphasige Nennspannung am Anwendungsort 220V-240V\~ 50Hz ist.
- Vergewissern Sie sich, daß die elektrische Anlage einen eingemessene Betriebsstrom liefern kann, außer jenem der normalerweise von den anderen Geräten (z.B. Haushaltgeräte, Beleuchtungen) verbraucht wird. Sehen die Bedarfsspitze auf dem Datenschild vom Klimagerät.
- Ist ein zweipoliger Schalter mit Schutzsicherung (träge) zu 10A dem Versorgungsstecker anzubringen.
- Alle elektrische Anschlüsse müssen den örtlichen elektrischen Vorschriften entsprechen.
- Vergewissern Sie sich, daß die automatischen Schalter und die Schutzsicherungen der Anlage in der Lage sind, einen Zulaufstrom von 35A zu tragen (normalerweise weniger als 1 Sekunde Zeit lang).
- Das Klimagerät nicht an Orten aufstellen, in denen es von Wassertropfen naß gemacht werden könnte (z.B. in den Waschküchen).
●Vergewissern Sie sich, daß der Ein/Aus-Taste (ON/OFF) auf dem Schaltpanel des Klimagerätes sich auf der Position OFF befindet.
●Vergewissern Sie sich, daß die Steckdose der elektrischen Anlage immer mit wirksamer Erdung versehen ist. - Verwenden Sie den Gerätestecker nicht zum Ein- und Ausschalten des Gerätes: benutzen Sie immer den Gerätebetriebstaste, die auf dem Kontrollpanel gestellt ist.
•VORSICHT!
Niemals Gegenstände in die Klimaanlage hineinstecken. Es ist sehr gefährlich, da sich der Ventilator mit hoher Geschwindigkeit dreht.
•ACHTUNG!
Das Klimagerät ist mit einer Startverzögerung für den Kompressor ausgerüstet. Der Kompressor startet 3 Minuten verzögert nach einem vorstehenden EIN/AUS-Schaltvorgang. Vermeiden Sie schnelle Veränderungen des Thermostatsreglers gegen beiden Richtungen, wenn der Kompressor arbeitet.
- Vergewissern Sie sich, daß keine Hindernisse neben der Inneneinheit den Luftumlauf unterbrechen können. Den Luftzuführ und Luftansauggrill der Einheit mit Vorhängen oder ähnlich nicht versperren. Keine Gegestände auf das Gerät legen.
- Der Hersteller haftet nicht für unsachgemäßen Gebrauch oder Mißachtung nationaler Sicherheitsvorschriften.
WICHTIGE HINWEISE
- Um das Klimagerät bequem zu bewegen, die Außeneinheit an die Kupplung auf der Rückseite der Inneneinheit hängen. Scharfes Abnicken oder Quetschen des Schlauches vermeiden.
- Um die Außeneinheit zu bewegen, sie am Griff fassen (nie am Schlauch).
- Die Außeneinheit muß nie aus dem Fenster am Schlauch beumeln.
- Wenn Sie die Außeneinheit nach dem Betrieb wieder ins Hause bringen, lassen Sie das eventuelle Kondenswasser aus, indem man die Einheit neigt.
WARNUNG
- Vor jeder Bewegungs- oder Reinigungshandeln, den Stecker aus der Steckdose ziehen.
- Einige Metallkanten und die Lamellen des Austauschers sind scharf. Diese Teile sind daher mit großer Sorgfalt zu reinigen.

text_image
1000 BEGRENZUNG DES ERHÖHUNGSUNTERSCHIEDS
text_image
FALSH!
Das Klimagerät besteht aus zwei Einheiten, die untereinander durch einen Schlauch verbunden sind. Die auf 2 Räder fahrbare Inneneinheit in den zu klimatisierenden Raum, neben ein Fenster, eine Balkonstür oder eine Außenwand stellen. Die Außeneinheit, die die Wärme- und Kondenswasser-Beseitigung erlaubt, hinaus auf das Fensterbrett, auf den Balkon stellen, oder sie an die Wand hängen.
D
POSITION DER AUßENEINHEIT
Die Außeneinheit muß immer stehen und gut nivelliert sein. Vergewissern Sie sich, daß kein Gegenstand den Luftumlauf hindert. Ein überstehender kleiner Fuß auf der Rückseite der Einheit sichert einen Kleinstabstand von der Wand (3 cm.). Sie sollten einen Mindestabstand von cm. 15 (seitlich) und cm. 80 (stirnseitig) zwischen der Einheit und eventuellen Wänden schaffen.
AUFSTELLUNG TYP A
Wenn es einen Balkon oder ein tiefes Fensterbrett vom min.25 cm. gibt, können Sie die Außeneinheit dahin stellen. Es wird empfohlen, den kleinen Fuß der Einheit dem Fensterbrett durch einen Spreizdübel M6x20 aufzuschrauben. Den Schlauch zwischen den Flügeln der Tür durchstecken. Die Flügel sollen angelehnt bleiben.
AUFSTELLUNG TYP B (MIT STÜTZKORB)
- Den Stützkorb an der Wand unter dem Fensterbrett befestigen.
- Die Einheit in den Korb stellen und vergewissern Sie sich, daß sie nicht geneigt ist.
AUFSTELLUNG TYP C (MIT HALTER)
- Den Halterungsführung an der Wand unter dem Fensterbrett befestigen.
- Den Halter in den Außeneinheitsgriff einsetzen und die Einheit umwenden (sieh das Bild).
- Den Halter auf den Rand der Einheit mit den Schrauben befestigen.
- Den auf der Einheit befestigte Halter an die Wand einsetzen. Die Einheit muß nicht geneigt sein.

TYP C
ANWENDUNGSHINWEISE
KÜHLUNG
Die Außeneinheit außer dem zu klimatisierenden Raum stellen und den Stecker in die Steckdose einsetzen.
- Den Thermostatwahlschalter (4) nach rechts auf die Position höchster Kälte drehen.
- Die Ein-/Aus-Taste (1) ① drücken und das Klimagerät in Betrieb setzen. Die Kontrolleuchten zeigen die letzte gewählte Funktionen.
- Die Kühlungsfunktion ✿ wählen, indem Sie die Taste (2) drückt, die Kontrolleuchte (5) erscheint.
- Die Taste (3) drücken, um die höhe Ventilatorgeschwindigkeit zu wählen, die Kontrolleuchte (6) erscheint.
- Wenn die gewünschte Raumtemperatur erreicht wird, die Taste (3) noch drücken, um die niedrige Ventilatorgeschwindigkeit zu wählen, die Kontrolleuchte (7) erscheint.
- Den Thermostwahlschalter nach links zum Ausschalten des Kompressors langsam drehen. Das Klimagerät wird automatisch vom Thermostat kontrolliert und hält die gewünschte Raumtemperatur ein.
- Die Ein-/Aus-Taste (1) zum Ausschalten des Klimagerätes wieder drücken (Position OFF)
NUR VENTILATION
In dieser Betriebsart kann die Außeneinheit (Koffer) entweder außer dem Raum (auf das Fensterbrett, an die Wand) gestellt werden oder im Raum an der Einheit angehakt werden.
Das Klimagerät arbeitet in Kühlungs-Betriebsart.
- Die Kühlungs-Taste (2) zum Ausschalten des Kompressors drücken, die Kontrolleuchte (5) ist gelöscht.
●Die höhe oder niedrige Ventilatorgeschwindigkeit mit der Taste (3) wählen.
Einschalten des Klimagerätes in der Betriebsart "Nur Ventilation".
- Zum Einschalten des Klimagerätes die Ein-/Aus-Taste (1) drücken.
- Vergewissern Sie sich, daß die Kontrollleuchte (5) gelöscht ist.
●Die höhe oder niedrige Ventilatorgeschwindigkeit mit der Taste (3) wählen
LUFSTROM-EINSTELLUNG
Der Luftstrom kann eingestellt werden, indem man die Klappe auf dem Luftauslaß bewegt. Mit den beiden Händen eine Luftleitlamelle fassen und an sich ziehen, um den Luftstrom einzustellen

ZUBEHÖRTEILE (AUF ANFRAGE)
LUFTFILTER
- Lesen Sie diese Anleitung bevor Sie mit der Austauscharbeit beginnen.
- Dieser Luftfilter wirkt als Staubsammler und Deodorant.
ANMERKUNG
- Dieser Karton enthält einen Luftfilter, eine feder und ein Schild "color gauge for filter replacement".
- Den Beutel unmittelbar vor der Installation des Luftfilters öffnen. Andernfalls kann die Deodorantwirkung und die Haltbarkeit des Filters Schaden nehmen.
1 Filterinstallation:
Die Luftansauggrill öffnen und den Standard Filter entfernen.
Das Schild "color gauge for filter replacement" an eine sichtbare Stelle stecken (im Kontrollpanel Deckel)
2 Die Feder am Standard Filter befestigen:
Die Feder von der Rückseite im Luftfilter einhacken und auf der Seite mit der Markierung "FRONT" in die Nute einrasten lassen (ein normaler Schraubenzieher erleichert das Einsetzen).
3 Den Luftfilter mit der in Schritt 2 oben befestigen Feder am Standard filter befestigen
4 Den Standard Filter mit der Markierung "FRONT" zu ihnen einlegen und die Luftansauggrill schließen.
Austausch des Luftfilters
- Der Luftfilter ist ein Einwegfilter.
- Den Filterrahmen und die Feder nicht wegwerfen.
- Der alte Filter kann auch nach Reinigung nicht wiederverwendet werden.
- Kaufen Sie den Austauschfilter bei ihrem nächsten Händler.
- Die Verschmutzungsgrad mindestens alle zwei Wochen prüfen und den Filter austauschen, wenn er so schmutzig wie die Farbe des Schildes "color gauge for filter replacement" ist

text_image
Filter standard Luftansauggrill
text_image
FRONT Filter standard Feder
"Luftfilter"
Standard Filter Seite: weiß
(Staubsammler Filter)
Feder Seite: schwarz
(Deodorant Filter)

text_image
Filter StandardFeder
ZUSÄTZLICHER AUßENEINHEIT STÜTZKORB ODER HALTERUNGSFÜHRUNG KIT
Wenn man das Klimagerät in mehreren Zimmer brauchen will, ist es möglich mehrere Stützkorbe oder Halterungsführungen für die Installation der Außeneinheit kaufen

text_image
STÜTZKORB 2 löcher ø 10 50 210 200 HALTERUNG FÜHRUNG 2 löcher ø 10 100 min. 200WARTUNG UND PFLEGE
VORSICHT ! Vor Beginn der Reinigungs- und Wartungsvorgänge ist das Klimagerät abzuschalten und der Stecker aus der Steckdose zu ziehen.
1. Filterreinigung
Der Luftfilter muß wenigstens einmal alle 2 Betriebswochen überprüft und gereinigt werden. Der Betrieb mit schmutzigen oder verstopften Filtern kann die Leistung des Klimagerätes verkleinern. Der Filter ist hinter den Luftansauggrill angebracht und wird nach oben herausgeziehen. Zur Staubentfernung einen Staubsauger benutzen. Sollte dies nicht ausreichen, den Filter mit lauwarmen Seifenwasser waschen, gut mit frischem Wasser abspülen und vor dem Wiedereinsetzen trocknen lassen.
2. Gehäusereinigung.
Das Gehäuse nur mit weichem feuchtem Tuch abwischen. Wenn das Gehäuse Flecken aufweist, mit etwas lauwarmen Seifenwasser abwischen. Auf keinem Fall mit heißen Wasser, angreifenden chemischen Mitteln oder Benzin reinigen. Kein Wasser auf die Einheit gießen. Es könnte die inneren Komponenten beschädigen oder einen Kurzschluß verursachen.
3. Lagerung.
Vor der Lagerung für einen längeren Zeitraum den Filter reinigen und das Kondenswasser durch dem Kondenswasserflußrohr der Inneneinheit auslassen; den Kondenswasserbehälter der Außeneinheit entleeren, indem Sie die Einheit neigen. Der Schlauch ist nicht abzutrennen. Sollte es unumgänglich sein, sind die beiden offenen Hälften der Schnellanschlüsse mit den Kunststoffdeckeln, die als Ausstattung mitgeliefert wurden, zu schützen. Sie sind mit einem Maulschlüssel fest anzuziehen. Das Gerät immer senkrecht lagern und die Außeneinheit durch den Griff an die Kupplung auf der Rückseite der Inneneinheit hängen. Keine schweren Gegenstände auf das Gerät legen und das Klimagerät mit einem Plastik Beutel schützen.
4. Transport.
Das Gerät nur senkrecht transportieren. Falls dies nicht möglich ist, das Gerät auf eine Seite legen. So bald wie möglich das Gerät senkrecht wiederstellen. 10 Minuten warten, bevor es in Betriebsart "Kühlung" gebraucht wird.
- Aus Sicherheitsgründen das Stromkabel regelmäßig auf Schäden überprüfen; die elektrische Verbindung der Einheit ist X-Type, mit dem auf spezialer Weise vorbereiteten Kabel; wenn es beschädigt ist, lassen Sie es durch einen Servicefachmann ersetzen.

text_image
FILTERREINIGUNG
NÜTZLICHE RATSCHLÄGE
Falls das Klimagerät nicht funktioniert, vergewissern Sie sich, bevor den Eingriff des Technischen Kundendiensts verlangen, daß:
- der Stecker richtig in der Steckdose eingesetzt ist;
- der Hauptschalter eingeschaltet und keine Sicherung unterbrochen ist;
- der Luftfilter sauber ist;
- der Schlauch ordnungsgemäß verlegt ist, ohne Knick;
- der Thermostatwahlschalter sich auf der richtigen Position für die gewünschte Raumtemperatur befindet (indem Sie im Uhrzeigersinn drehen, vergewissern Sie sich, daß der Kompressor sich nach dem Abstandzeit einschaltet);
•die Raumtemperatur höher als 15 °C ist; - alle Anweisungen dieses Handbuches genau beachtet wurden;
Das Aufleuchten der Kontrollampe und das gleichzeitige Anhalten des Klimagerätes bedeuten, daß die Kondenswasserpumpe nicht funktioniert oder daß das Kondenswasserabflußrohr in dem Verbindungsschlauch verstopft ist. Auf diesem Fall den Eingriff des Technischen Kundendienstes verlangen.
Im Notfall kann das Klimagerät weiterlaufen, indem man das Kondenswasser von dem rückseitigen Rohr in ein ziemlich kleines Behälter ausläßt; das Röhrchen ausziehen und den Stopfen entfernen. (Sieh das Bild).

Beschriftung der Leitungs-Farben
Technische Eigenschaften
- Aufzugreserve, ohne elektrische Stromversorgung, mit 5 Jahren (oder mehr) Betriebsdauer Lithiumbatterie
- Display 24 Stunden
– Tägliches und wöchentliches Programm - 8 Programme ON, 8 Programme OFF

text_image
MANUELLE AUSSCHALTUNG BETRIEB MIT ZEITSCHLTUHR MANUELLE EINSCHALTUNG AUTO 0 1 2 3 4 5 6 7 88:88 16 BETRIEB POSITION EINSTELLUNG DER PROGRAMMEN WÄHLSCHALTER TAGEN DER WOCHE ON/OFF ANZEIGE FUNKTION SKIP ANZEIGE EINSCHALTUNG DER FUNKTION SKIP EINSTELLUNG DER MINUTEN EINSTELLUNG DER UHR PROGRAMMSPEICHERUNG 8 ON PROGRAMME, 8 OFF PROGRAMME P 1..7 h m R EINSTELLUNG VOM TAG DER WOCHE 1: MONTAG, 7: SONNABEND RESET TASTEBetriebsarten der Zeitschaltuhr:
I: das Klimagerät ist ständig ein (ON) (benutzen Sie die Ein/Aus Taste des Klimagerätes, um es auszuschalten)
AUTO: das Klimagerät arbeitet mit der Zeitschaltuhr
0: das Klimagerät ist ständig aus (OFF) (es kann nicht mit der Ein/Aus Taste des Klimagerätes einschalten werden)
BEDIENUNGSANLEITUNG VOM ZEITSCHALTUHR
1. Reset der Zeitschaltuhr:
Vergewissern Sie sich, daß der Wählschalter auf der Position RUN ist und drücken Sie die Reset Taste R mit der Spitze einer Feder (die Displayanzeige beginnt zu blinken).
2. Tag und Uhreinstellung:
Schieben Sie den Wählschalter auf die Position Ⓐ, drücken Sie die Taste 1...7, um den Tag der aktuellen Woche einzustellen (ein Pfeil ▲ erscheint auf dem Display), drücken Sie die Taste h, um die aktuelle Uhr einzustellen, drücken Sie die Taste m, um die Minuten einzustellen. Schieben Sie den Wählschalter auf die Position RUN wieder.
3. Wahl der einstellenden Tagen oder Gruppen von Tagen:
Es ist möglich die einzigen Tagen und die folgenden Gruppen von Tagen einzustellen, indem Sie die Taste 1...7 drücken:
1-2-3-4-5 (von Montag bis Freitag)
6-7 (Sonnabend und Sonntag)
1-2-3-4-5-6 (von Montag bis Sonnabend)
1-2-3-4-5-6-7 (von Montag bis Sonntag)
4. Ein-Ausschalten Programme Einstellung
- Schieben Sie den Schalter auf die Position P (die Uhranzeige auf dem Display beginnt zu blinken, das Zeichnen einer Glühbirne und der Nummer 1 der ersten Uhreinstellung erscheinen).
- Drücken Sie solange die taste 1...7, bis den Tag der Woche oder die Gruppe von Tagen eingestellt werden (ein Pfeil ▲ unter dem entsprechenden Tag erscheint, oder viele Pfeile erscheinen, wenn Sie die Gruppe von Tagen gewählt haben).
- Drücken Sie die Taste h und nachdem die Taste m, um den Einschaltuhrzeit einzustellen.
- Drücken Sie die Taste P, um den Ausschaltuhrzeit einzustellen (die Uhranzeige auf dem Display beginnt wieder zu blinken, das Zeichnen der Glühbirne verschwindet und der Nummer 2 erscheint).
- Quittieren Sie den Tag mit der Taste 1...7 und stellen Sie den Ausschaltuhrzeit mit den Tasten h und m ein.
- Wiederholen Sie diese Operationen, bis Maximum 8 ON Programme und 8 OFF Programme eingestellt werden, indem Sie unter den eingestellenden Tagen verteilen.
• Am Ende der Programme Einstellung, schieben Sie die Schaltern auf die Position RUN und AUTO.
ANMERKUNG: Während den nicht eingestellten Tagen bleibt das Klimagerät aus.
5. SKIP Betrieb:
Das Betrieb SKIP (Programm Sprung) kann nur während des automatischen Betriebs (AUTO) der Zeitschaltuhr eingestellt werden; indem Sie die SKIP Tastex» drücken, wechselt das Betriebsart des Klimagerätes von ON zu OFF und umgekehrt; das SKIP Betrieb ist aktiv bis dem folgenden eingestellten Programm.
Wenn das SKIP Betrieb aktiv ist, erscheint das Zeichnen ✦ auf dem Display.
Um das Betrieb SKIP auszuschalten, drücken Sie dieselbe Taste wieder.
6. Überprüfung, Korrektion oder Löschung der eingestellten Programmen
Um die eingestellte Programme während des Betriebs zu überprüfen, schieben Sie den Schalter auf P und drücken Sie vielen Malen den Schalter P.
Es ist möglich, auf dieser Weise, die Ein-ausschaltuhrzeiten mit den Tasten h und m zu wechseln und ein oder mehr Programme zu löschen, indem Sie gleichzeitig die Tasten P und xdrücken.
ELEKTRONISCHE ZEITSCHALTUHR 24-STUNDEN-PROGRAMM
Technische Eigenschaften
– Aufzugreserve, ohne elektrische Stromversorgung: 150 Stunden
- Display 24 Stunden
– Tägliches und wöchentliches Programm
- 6 Programme ON, 6 Programme OFF

text_image
BETRIEBSART ANZEIGE AUTO OFF - ON - AUTO ON - OFF PROGRAMMANZEIGE TAG UND UHREINSTELLUNG PROGRAMMSPEICHERUNG 6 ON PROGRAMME, 6 OFF PROGRAMME EINSTELLUNG VOM TAG DER WOCHE (ODER GRUPPE VON TAGEN) RESET TASTE MO TU WE TH FR SA SU PROG AUTO 8 ON OFF RND AM PM TAGEN DER WOCHE SOMMER/WINTERZEIT ANZEIGE RANDOMANZEIGE EINSTELLUNG DER MINUTEN EINSTELLUNG DER STUNDEN RECALL TASTE : UM DIE PROGRAM- MEN AUS/EINSCHALTENBEDIENUNGSANLEITUNG VOM ZEITSCHALTUHR
1. Reset der Zeitschaltuhr:
Drücken Sie die Reset Taste RST mit der Spitze einer Feder.
2. Tag und Uhreinstellung:
Halten Sie die Taste TÍME gedrückt, während Sie die Uhr einstellen oder korrigieren; drücken Sie die Taste DAY, um den aktuellen Tag der Woche einzustellen (die Abkürzungen auf Englisch erscheinen auf dem Display), drücken Sie die Taste HR, um die aktuelle Stunde einzustellen, drücken Sie die Taste MIN, um die Minuten einzustellen.
3. Wahl der einstellenden Tagen oder Gruppen von Tagen:
Drücken Sie die Taste PRG einmal: "PRÓG 1 ON" erscheint auf dem Display, daß die erste Einschaltuhrzeit eindeutet.
Drücken Sie die Taste DAY und die folgenden Gruppen von Tagen oder einzigen Tagen in Aufeinanderfolge erscheinen (jedes Mal die Taste gedrückt wird).
MO-TU-WE-TH-FR-SA-SU (von Montag bis Sonntag)
MO-TU-WE-TH-FR-SA-SU (die einzigen Tagen der Woche, jedes Mal die Taste gedrückt wird)
MO-TU-WE-TH-FR (von Montag bis Freitag)
SA-SU (Sonnabend und Sonntag)
MO-TU-WE-TH-FR-SA (von Montag bis Sonnabend)
MO-WE-FR (Montag, Mittwoch und Freitag)
TU-TH-SA (Dienstag, Donnerstag und Sonnabend)
4. Ein-Ausschalten Programme Einstellung
Nachdem die Taste PRG und die Taste DAY gedrückt zu haben, um die Gruppen von Tagen oder einzigen Tagen zu wählen
- Drücken Sie die Taste HR und nachdem die Taste MIN, um die Einschaltuhrzeit einzustellen.
- Drücken Sie nochmals die Taste PRG, um die Ausschaltuhrzeit einzustellen ("PROG 1 OFF" erscheint auf dem Display, daß die Ausschaltuhrzeit eindeutet).
• Quittieren Sie den Tag oder Gruppe von Tagen mit der Taste DAY und stellen Sie die Ausschaltuhrzeit mit den Tasten HR und MIN ein. - Wiederholen Sie diese Operationen, bis Maximum 6 ON Programme und 6 OFF Programme eingestellt werden, indem Sie unter den eingestellenden Tagen verteilen.
- Am Ende der Programme Einstellung, drücken Sie die Taste TIME, um die aktuelle Zeit erscheinen zu machen; anders funktioniert die Programmen nicht (auf jeden Fall erscheint die aktuelle Zeit nach 2 Minuten automatisch auf dem Display, wenn keine Taste gedruckt wird)
ANMERKUNG: Während den nicht eingestellten Tagen bleibt das Klimagerät aus.
5. Überprüfung, Korrektion, Ausschalten und Einschalten der eingestellten Programmen
Um die eingestellte Programme während des Betriebs zu überprüfen, drücken Sie vielen Malen die taste PRG.
Es ist möglich, auf dieser Weise, die Ein-Ausschaltuhrzeiten mit den Tasten HR und MIN zu wechseln und ein oder mehr Programme aus-einzuschalten, indem Sie die Taste RCL drücken (Sieh RECALL Funktion am Punkt 6).
6. RECALL Funktion:
Wenn Sie einen Programm nicht ausführen machen wollen, ohne die Programmspeicherung einzubüßen
- Drücken Sie die Taste PRG, bis zu dem ausschaltenden Programm.
- Drücken Sie die Taste RCL mit der Spitze einer Feder (auf dem Display verschwindet die eingestellte Uhrzeit und “--:-” erscheint).
- Drücken Sie die Taste TIME, um die aktuelle Zeit erscheinen zu machen.
- Um das Programm wieder einzuschalten, wiederholen Sie dasselbe Verfahren.
7. WINTER/SOMMERZEIT
- Um von Winterzeit zu Sommerzeit zu ändern, halten Sie die Taste TIME gedrückt und drücken Sie eine der Tasten (das Zeichen “+1h” erscheint auf dem Display und die Uhrzeit ändert).
- Um zur Winterzeit zurückzukehren, wiederholen Sie dasselbe Verfahren (auf dem Display verschwindet das Zeichen “+1h” und die Uhrzeit ändert).
8. RANDOM Funktion:
Die eingestellte Programme werden mit einer Verzögerung von 2 zu 32 Minuten ausführen, wenn die Stromversorgung unterbrecht, indem Sie diese Funktion benutzen
• Halten Sie die Taste TIME gedrückt und drucken Sie die Taste PRG (das Zeichen RND erscheint auf dem Display).
• Um diese Funktion auszuschalten, wiederholen Sie dasselbe Verfahren (auf dem Display verschwindet das Zeichen RND).
9. Manueller Betrieb:
Indem Sie eine der Tasten 📋 drücken, können Sie die Zeitschaltuhr manuell einstellen; der Display wird in Aufeinanderfolge zeigen: AUTO OFF-ON-AUTO ON-OFF
AUTO: das Klimagerät arbeitet mit der Zeitschaltuhr (es ist möglich von AUTO ON zu AUTO OFF ändern, wenn Sie das Klimagerät ein oder ausschalten wollen, ohne die Programmspeicherung der Zeitschaltuhr einzubüßen; dann wird sie tatsächlich die eingestellte programme ausführen)
ON: das Klimagerät ist ständig ein (ON) (benutzen Sie die Ein/Aus Taste des Klimagerätes, um es auszuschalten)
OFF: das Klimagerät ist ständig aus (OFF) (es kann nicht mit der Ein/Aus Taste des Klimagerätes einschalten werden)
EinfachAnleitung