Bravia KD55XG8596 - TELEVISOR SONY - Manual de uso y guía de instrucciones gratis
Encuentra gratis el manual del aparato Bravia KD55XG8596 SONY en formato PDF.
Questions des utilisateurs sur Bravia KD55XG8596 SONY
0 question sur cet appareil. Repondez a celles que vous connaissez ou posez la votre.
Poser une nouvelle question sur cet appareil
Descarga las instrucciones para tu TELEVISOR en formato PDF gratis! Encuentra tus instrucciones Bravia KD55XG8596 - SONY y toma tu dispositivo electrónico nuevamente en la mano. En esta página están publicados todos los documentos necesarios para el uso de su dispositivo. Bravia KD55XG8596 de la marca SONY.
MANUAL DE USUARIO Bravia KD55XG8596 SONY
Información de instalación para usar el Soporte de pared de Sony (SU-WL450)
Modelos compatibles:
KD-85XG85□□* / 75XG87□□* / 75XG85□□* / 65XG87□□* / 65XG85□□* / 55XG87□□* / 55XG85□□*
* En los nombres de modelo reales, “□□” indica los números y/o los caracteres específicos de cada modelo.
Información para los clientes
Por motivos de seguridad y protección del producto, Sony recomienda encarecidamente que la instalación del televisor la realice un distribuidor de Sony o un contratista autorizado. No intente realizar la instalación por su cuenta.
Información para los distribuidores y contratistas de Sony
Preste especial atención a la seguridad durante los procesos de instalación, mantenimiento periódico y revisión de este producto.
La instalación de este producto requiere disponer de suficiente experiencia, especialmente para determinar la solidez de la pared para soportar el peso del televisor. Asegúrese de confiar la instalación de este producto en la pared únicamente a distribuidores de Sony o contratistas autorizados, y preste especial atención a la seguridad durante el proceso de instalación. Sony queda exento de cualquier responsabilidad por daños o lesiones ocasionados por una manipulación incorrecta o una instalación inadecuada.
Por su seguridad y para una instalación correcta, siga las Instrucciones de manejo del soporte de pared, la Guía de configuración del televisor y las indicaciones de este manual.
Seguridad
Muchas gracias por la adquisición de este producto.
Información para los clientes
Para la instalación de este producto se requieren conocimientos suficientes. Asegúrese de contratar la instalación a un distribuidor o a un contratista Sony autorizado y preste especial atención a la seguridad durante la instalación. Sony no se hace responsable de los daños o lesiones causados por una mala utilización, una instalación incorrecta o la instalación de cualquier producto que no sea el especificado. Esto no afecta a sus derechos legales (en caso de haberlos).
Información para los distribuidores de Sony
Para la instalación de este producto se requieren conocimientos suficientes. Lea detenidamente este manual de instrucciones para realizar la instalación de manera segura. Sony no se responsabiliza de ningún daño o lesión provocados por una manipulación o instalación incorrectas. Entregue este manual al cliente después de la instalación.
Este manual de instrucciones muestra la manera correcta de manipular el producto, así como precauciones importantes necesarias para evitar accidentes. Lea detenidamente este manual y utilice el producto correctamente. Conserve este manual para poder consultarlo en el futuro.
Los productos de Sony están diseñados pensando en la seguridad. Sin embargo, si los productos se utilizan incorrectamente, pueden producirse lesiones graves a causa de un incendio o una descarga, o al volcarse o caerse el producto. Para evitar tales accidentes, asegúrese de observar las precauciones de seguridad.
PRECAUCIÓN
Productos especificados
El soporte de montaje mural está diseñado para utilizar con los TV especificados en el producto. Consulte la Guía de referencia del televisor para comprobar si se puede utilizar el soporte de pared.
Información para los clientes
ADVERTENCIA
Si no se tienen en cuenta las siguientes precauciones, existe el peligro de sufrir lesiones graves o incluso de muerte a raíz de un incendio o una descarga eléctrica, o a causa de que el producto se caiga.
Asegúrese de contratar la instalación a contratistas autorizados y mantenga a los niños alejados durante la instalación.
Si el soporte de montaje mural o el televisor no están instalados correctamente, pueden ocurrir los accidentes siguientes. Asegúrese de que la instalación la llevan a cabo contratistas autorizados.
- El televisor podría caerse y provocar lesiones graves como contusiones o fracturas.
- Si la pared en la que se instala el soporte de montaje mural es inestable, desigual o no es perpendicular al suelo, la unidad puede caerse y provocar daños personales o materiales. La pared debe ser capaz de soportar un peso de al menos cuatro veces el peso del televisor. (Consulte la Guía de referencia del televisor para conocer el peso del televisor).
- Si la instalación del soporte de montaje mural en la pared no es lo suficientemente resistente, es posible que la unidad se caiga y provoque daños personales o materiales.
Asegúrese de contratar el traslado o el desmontaje del televisor a contratistas autorizados.
Si otras personas que no son contratistas autorizados llevan a cabo el transporte o el desmontaje del televisor, ésta puede caerse y provocar daños personales y materiales. Asegúrese de que dos o más personas (tres o más personas para un televisor de 75 pulgadas o más) transporten o desmonten el televisor.
No quite los tornillos, etc., una vez montado el televisor.
Si lo hace, el televisor puede caerse y provocar daños personales o materiales.
No modifique las piezas del soporte de montaje mural.
Si lo hace, el soporte de montaje mural puede caerse y provocar daños personales o materiales.
No monte ningún otro equipo que no sea el producto especificado.
Este soporte de montaje mural se ha diseñado para utilizarse sólo con el producto especificado. Si monta un equipo distinto del especificado, puede caerse o romperse y provocar daños personales o materiales.
No aplique ningún peso que no sea el propio del televisor en el soporte de montaje mural. No sacuda el televisor hacia la izquierda, la derecha, arriba o abajo.
Si lo hace, el televisor puede caerse y provocar daños personales o materiales.
No se apoye en el televisor ni se cuelgue de éste.
No se apoye en el televisor ni se cuelgue de éste, ya que podría caerle encima y provocarle lesiones graves.
PRECAUCIÓN
Si no se tienen en cuenta las precauciones siguientes, podrían producirse daños personales o materiales.
No manipule el producto con fuerza excesiva cuando realice su limpieza o mantenimiento.
No aplique fuerza excesiva en la parte superior del televisor. Si lo hace, el televisor puede caerse y provocar daños personales o materiales.
Precauciones
- Si utiliza el televisor instalado en el soporte de montaje mural durante un largo período de tiempo, es posible que la pared que quede detrás o encima del televisor se descolore o que, si la pared está empapelada, se despegue el papel, dependiendo del material de la pared.
- Si se quita el soporte de montaje mural después de haber estado instalado en la pared, quedarán los orificios de los tornillos.
- No use el soporte de montaje mural en un lugar en el que pueda sufrir vibraciones mecánicas.
Instalación del soporte del montaje mural
Información para los distribuidores de Sony
ADVERTENCIA
Las instrucciones siguientes están destinadas únicamente a los distribuidores de Sony. Asegúrese de leer las precauciones de seguridad descritas anteriormente y preste especial atención a la seguridad durante la instalación, el mantenimiento y la comprobación de este producto.
No instale el soporte de montaje mural en superficies de paredes en las que puedan sobresalir las esquinas o los lados del televisor.
No instale el soporte de montaje mural en superficies de paredes, tales como una columna, en las que puedan sobresalir las esquinas o los lados del televisor. Si una persona o un objeto se golpea con la esquina o el lado saliente del televisor, pueden producirse daños personales o materiales.

No instale el televisor encima ni debajo de un aparato de aire acondicionado.
Si el televisor queda expuesto a goteo de agua o corriente de aire procedentes del aparato de aire acondicionado durante mucho tiempo, podría producirse un incendio, una descarga eléctrica o un fallo de funcionamiento.
Asegúrese de instalar el soporte de montaje mural firmemente en la pared siguiendo las instrucciones de este manual.
Si alguno de los tornillos queda suelto o se desprende, el soporte de montaje mural puede caerse y provocar daños personales o materiales. Asegúrese de utilizar los tornillos adecuados para el material de la pared e instale la unidad firmemente, utilizando cuatro o más tornillos de 8 mm de diámetro (o equivalentes).

Asegúrese de utilizar correctamente los tornillos y las piezas de sujeción suministrados siguiendo las instrucciones que se describen en este manual. Si utiliza artículos sustitutivos, el televisor podría caerse y dañarse o provocar daños personales.
Efectúe correctamente el montaje del soporte siguiendo el procedimiento descrito en este manual.
Si alguno de los tornillos queda suelto o se desprende, el televisor podría caerse y dañarse o provocar daños personales.
Asegúrese de apretar bien los tornillos en la posición correspondiente.
De lo contrario, el televisor podría caerse y dañarse o provocar daños personales.
Procure que el televisor no reciba golpes durante la instalación.
Si el televisor recibe algún golpe, puede caerse o romperse. Tales percances podrían causar heridas personales.
Asegúrese de instalar el televisor en una pared que sea perpendicular y plana.
De lo contrario, el televisor podría caerse y provocar daños personales.
Una vez que haya instalado correctamente el televisor, fije adecuadamente los cables.
Si alguna persona u objeto se enreda con los cables, correrá el peligro de sufrir heridas personales o de dañarse el televisor.
Evite que el cable de alimentación de ca o el cable de conexión queden atrapados.
Si el cable de alimentación de ca o el cable de conexión quedan atrapados entre la unidad y la pared o si se doblan o tuercen con fuerza, es posible que los conductores internos queden expuestos y que provoquen un cortocircuito o corte eléctrico. Esto podría originar un incendio o producir descargas eléctricas.

Los tornillos necesarios para fijar el soporte de montaje mural a la pared no están incluidos.
Utilice los tornillos adecuados para el material y la estructura de la pared en la que se proponga montar el soporte de montaje mural.
Tabla de contenidos
Preparación para la instalación....5
Verificación de las piezas 5
Definición del lugar para la instalación......6
Instalación de la base en la pared 8
Preparación para instalar el televisor......9
KD-85/75XG85□□, KD-75XG87□□ 9
KD-65/55XG87□□, KD-65/55XG85□□....11
Instalación del televisor en la pared ......13
KD-85/75XG85□□, KD-75XG87□□ ....13
KD-65/55XG87□□, KD-65/55XG85□□....15
Confirmación del final de la instalación.....18
Información adicional....18
Especificaciones....18
Instalación del televisor en la pared
El proceso de instalación varía según el televisor.
Utilice el soporte de pared SU-WL450 para instalar el televisor en la pared.
Nota
- Asegúrese de guardar los tornillos retirados en un lugar seguro, lejos del alcance de los niños.
Preparación para la instalación
- Tenga a mano la Guía de referencia y la Guía de configuración del televisor antes de la instalación.
- Asegúrese de disponer de un destornillador Phillips adecuado para los tornillos antes de efectuar el montaje.
- Confirme la posición de instalación del televisor.
- Prepare como mínimo cuatro tornillos de 8 mm de diámetro y uno de 5 mm o equivalente (no suministrado). Elija los tornillos adecuados para el material de la pared
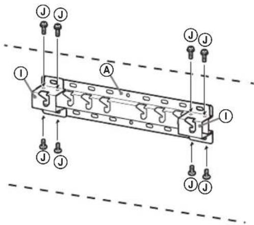
Verificación de las piezas
Suministrado con SU-WL450
- Compruebe que se hayan suministrado todas las piezas.
A Base (20) (1) B Polea (2)![]() | ![]() |
C PSW 6x20 (4) D PSW 4x20 concasquillo (2)![]() | ![]() |
E Separador (20) (2) F Correa (1)![]() | ![]() |
G Casquillo (20)(M4) (2)![]() | H PSW 4x20 (2)![]() |
I Adaptador de labase (2)![]() | J PSW 4x10 (8)![]() |
K Separador (60) (2)![]() | L PSW 6x50 (2)![]() |
M Casquillo (M4) (2)![]() | N PSW 4x50 (2)![]() |
Definición del lugar para la instalación
1 Decida la ubicación de instalación.
Asegúrese de que haya suficiente espacio en la pared para el televisor y de que la pared pueda soportar un peso al menos cuatro veces superior al del televisor.
Consulte la siguiente tabla acerca de la instalación del televisor en la pared. Para conocer el peso del televisor, consulte la Guía de referencia del televisor.
Montaje estándar Montaje estrecho

text_image
a b 80 c e d d ePunto del centro de la pantalla
Unidad: mm
| Nombre del modelo | Dimensiones de la pantalla | Dimensión del centro de la pantalla | Longitud para montaje | ||
| a | b | c | d | e | |
| Montaje estándar | Montaje estrecho | ||||
| KD-85XG85□□ | 1 909 | 1 097 251 | 803 142 100 | ||
| KD-75XG87□□KD-75XG85□□ | 1 673 | 963 | 107 | 595 | 116 |
| KD-65XG87□□KD-65XG85□□ | 1 450 | 836 99 | 523 115 | 73 | |
| KD-55XG87□□KD-55XG85□□ | 1 231 | 713 | 106 | 468 115 73 | |
Nota
- Las cifras de la tabla pueden ser distintas según la instalación.
- Cuando el televisor está instalado en la pared, el lado superior del televisor está ligeramente inclinado hacia delante.
Deje un espacio adecuado entre el televisor, el techo y las partes salientes de la pared, tal y como se muestra a continuación.
Unidad: mm

text_image
300100 100 100- Para garantizar la correcta ventilación y evitar la acumulación de polvo o suciedad:
— No coloque el conjunto del televisor tumbado o instalado del revés, de espaldas o de lado.
— No coloque el conjunto del televisor sobre estantes, alfombras, camas o armarios.
— No cubra el conjunto del televisor con telas, como cortinas, ni con objetos, como periódicos, revistas, etc.
— No instale el conjunto del televisor como se indica a continuación.
La circulación del aire queda bloqueada.

text_image
ParedNota
- Si se propone pasar los cables por la pared, realice un orificio en la pared para insertarlos antes de comenzar la instalación.
Para evitar comprimir los cables, realice un agujero en la pared fuera del perímetro de la base (20) Ⓐ, adaptador de la base ① y separador (20) Ⓔ, separador (60) Ⓗ.
2 Seleccione el tipo de montaje en la pared. Las distancias entre la parte posterior del televisor y la pared que pueden seleccionarse son las siguientes.
2-a Montaje estándar
2-b Montaje estrecho
Consulte la tabla del paso 1.
ADVERTENCIA
- Si se selecciona la opción 2-b, resulta más complicado acceder a los terminales de la parte posterior.

text_image
2-a 2-b3 Consulte la siguiente tabla sobre la ubicación del adaptador de la base. Si selecciona la opción 2-b, puede omitir este paso.
| Nombre del modelo | Posición de losganchos |
| KD-85XG85□□KD-75XG87□□KD-75XG85□□ | a |
| KD-65XG87□□KD-65XG85□□KD-55XG87□□KD-55XG85□□ | b |

text_image
a b c d 10 10 10 10 10 10 10 10 10 10 10 10 10 10 10 10 10 10 10 10 10 10 10 10 10 10 10 10 10 10 10 10 10 10 0Monte el adaptador de la base ① fijando el tornillo (PSW 4x10) ② a la base (20) Ⓐ si selecciona la opción 2-a.

4 Decida las posiciones de los tornillos para la instalación de la base (20) Ⓐ.
Consulte las especificaciones de la página 18.
Si selecciona la opción 2-a, utilice las posiciones de los orificios del adaptador de la base ①.
ADVERTENCIA
- La pared en la que se proponga instalar el televisor deberá ser capaz de soportar un peso al menos cuatro veces superior al del televisor (Consulte la Guía de referencia del televisor para conocer el peso del televisor.).
- Determine la resistencia de la pared en la que desea instalar el televisor. Si es necesario, refuércela.
Instalación de la base en la pared
- Utilice cuatro o más tornillos de 8 mm de diámetro o equivalentes (no suministrados).
- Fije cuatro tornillos a los orificios del adaptador de la base ① con la base (20) ⑧ (2-a solo).
- Instale la base (20) Ⓐ en la pared de manera horizontal.
2-a

Preparación para instalar el televisor
Consulte la Guía de configuración para la instalación del soporte.
KD-85/75XG85□□, KD-75XG87□□
1 Marque la ubicación de la instalación en la pared.
- Use cinta adhesiva, etc. (no suministrada) para marcar la ubicación del televisor cerca de la base o del adaptador de la base. Consulte la siguiente tabla.

text_image
Punto del centro de la pantalla Cinta adhesivaUnidad: mm
| Nombre del modelo | Longitud para marcar | Dimensión del centro de la pantalla | ||
| a | b | c | d | |
| KD-85XG85□□ | 1909 | 683 | 200 | 251 |
| KD-75XG87□□KD-75XG85□□ | 1673 | 468 | 200 | 107 |
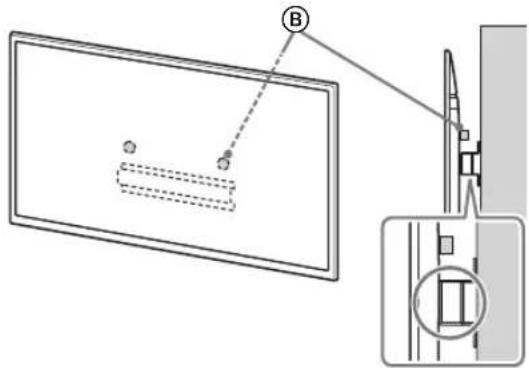
2 Quite los tornillos de la parte trasera del televisor.

text_image
1×2 2×23 Coloque las piezas de fijación del soporte de pared. Compruebe las piezas de fijación en "Suministrado con SU-WL450", en la sección "Verificación de las piezas" de la página 5.
Nota
- Fije las piezas de fijación mediante tornillos.
- Cuando use un destornillador eléctrico, establezca el par de torsión aproximadamente en 1,5 N·m {15 kgf·cm}.
- Asegúrese de guardar las piezas utilizadas o no utilizadas en un lugar seguro para usarlas a futuro. Conserve este manual para futuras consultas.
Montaje estándar (2-a)

text_image
Polea Ⓑ Tornillo (+PSW 6 x 20) Ⓔ Separador (60 mm) Ⓔ Correa Ⓕ Tornillo (+PSW 6 x 50) ⒺMontaje estrecho (2-b)
Nota
- Este tipo de montaje no permite utilizar algunos de los terminales de la parte posterior del televisor.

4 Conecte los cables necesarios al TV.
Asegúrese de conectar los cables antes de instalar el televisor en la pared. No podrá conectarlos cuando el televisor se encuentre instalado.
Consulte la Guía de referencia proporcionada con el televisor.
Nota
- Asegúrese de contratar la instalación de los cables en la pared a un contratista autorizado.
- Ate los cables de conexión para no pisarlos antes del montaje en la pared.
5 Desinstale el soporte de sobremesa del televisor.
- Retire de a una las esquinas del soporte de sobremesa. Sujete con firmeza el soporte de sobremesa con ambas manos de forma segura mientras otras personas levantan el televisor.
KD-85XG85□□

- Repita el paso anterior y retire la otra esquina del soporte de sobremesa.
Nota
- Se necesitan tres o más personas para desmontar el soporte de sobremesa.
- Tenga cuidado de no aplicar fuerza excesiva mientras desmonta el soporte de sobremesa del televisor, ya que podría caerse y provocar daños personales o materiales.
- Manipule el soporte de sobremesa con cuidado para no dañar el televisor.
- Tenga cuidado al levantar el televisor ya que si se desprende el soporte de sobremesa, este podría desequilibrarse y provocar lesiones personales.
- Tenga cuidado al retirar el soporte de sobremesa del televisor para evitar que se caiga y dañe la superficie sobre la que está el televisor.
KD-65/55XG87□□,
KD-65/55XG85□□
1 Quite los tornillos de la parte trasera del televisor.

text_image
1×2 2×22 Coloque las piezas de fijación del soporte de pared. Compruebe las piezas de fijación en "Suministrado con SU-WL450", en la sección "Verificación de las piezas" de la página 5.
Nota
- Fije las piezas de fijación mediante tornillos.
- Cuando use un destornillador eléctrico, establezca el par de torsión aproximadamente en 1,5 N·m {15 kgf·cm}.
- Asegúrese de guardar las piezas utilizadas o no utilizadas en un lugar seguro para usarlas a futuro. Conserve este manual para futuras consultas.
Montaje estándar (2-a)

text_image
Polea Ⓑ Tornillo (+PSW 6 x 20) Ⓔ Separador (60 mm) Ⓔ Correa Ⓕ Tornillo (+PSW 6 x 50) ⒺMontaje estrecho (2-b)
Nota
- Este tipo de montaje no permite utilizar algunos de los terminales de la parte posterior del televisor.

text_image
Polea Ⓑ Separador (20 mm) Ⓔ Correa Ⓕ Tornillo (+PSW 6 x 20) Ⓒ3 Conecte los cables necesarios al TV.
Asegúrese de conectar los cables antes de instalar el televisor en la pared. No podrá conectarlos cuando el televisor se encuentre instalado.
Consulte la Guía de referencia proporcionada con el televisor.
Nota
- Asegúrese de contratar la instalación de los cables en la pared a un contratista autorizado.
- Ate los cables de conexión para no pisarlos antes del montaje en la pared.
4 Desinstale el soporte de sobremesa del televisor.
- Retire de a una las esquinas del soporte de sobremesa. Sujete con firmeza el soporte de sobremesa con ambas manos de forma segura mientras otras personas levantan el televisor.

- Repita el paso anterior y retire la otra esquina del soporte de sobremesa.
Nota
- Se necesitan tres o más personas para desmontar el soporte de sobremesa.
- Tenga cuidado de no aplicar fuerza excesiva mientras desmonta el soporte de sobremesa del televisor, ya que podría caerse y provocar daños personales o materiales.
- Manipule el soporte de sobremesa con cuidado para no dañar el televisor.
- Tenga cuidado al levantar el televisor ya que si se desprende el soporte de sobremesa, este podría desequilibrarse y provocar lesiones personales.
- Tenga cuidado al retirar el soporte de sobremesa del televisor para evitar que se caiga y dañe la superficie sobre la que está el televisor.
Instalación del televisor en la pared
KD-85/75XG85□□, KD-75XG87□□
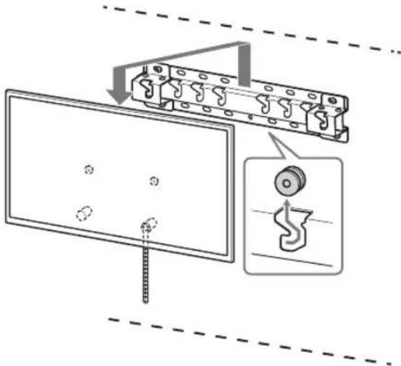
1 Levante el televisor.
- Para la colocación de las poleas Ⓑ al gancho de la base o el adaptador de la base, consulte la tabla del paso 3 en "Definición del lugar para la instalación" en la página 7.
- Cuando sujete el televisor, asegúrese de que la parte posterior del televisor toque la base o el adaptador de la base.
Nota
- Sujete el televisor con ambas manos de forma segura y asegúrese de que la correa Ⓔ y la parte inferior de televisor estén alineadas con la cinta adhesiva.
- Transporte el televisor con tres personas. La persona que está delante del televisor guiará a los demás para ajustar la posición.

- Tenga mucho cuidado al instalar el televisor en la pared, especialmente la persona que lo sostiene desde abajo, ya que el televisor puede caerse y provocar daños personales graves o incluso la muerte.

2 Instale el televisor en la base o el adaptador de la base.
- Deslice suavemente el televisor y cuelgue las poleas Ⓑ colocadas en la parte posterior del televisor en la base o el adaptador de la base, asegurándose de confirmar la forma de los orificios.
- Después de instalar el televisor en la pared, verifique que las poleas Ⓑ estén aseguradas firmemente en la base o el adaptador de la base.
- Suelte ambas manos lentamente para asegurarse de que el televisor no se caiga.

- Después de instalar el televisor en la pared, retire la cinta adhesiva, etc., de la pared.

ADVERTENCIA
- Asegúrese de que dos o más personas (tres o más personas para un televisor de 75 pulgadas o más) sujeten el televisor para transportarlo.

3 Cómo evitar que la parte inferior del TV se mueva.
- Recoja la correa Ⓔ y ajustela firmemente a la pared.

text_image
2-a 2-b I F F- Use un tornillo de 5 mm de diámetro o equivalente (no suministrado).
Nota
- Intente tirar la parte de abajo del TV levemente hacia adelante para asegurarse de que no se mueva solo en esa dirección. Si se mueve, significa que no se colocó correctamente, por lo que debe ajustar con firmeza la correa Ⓔ nuevamente.
KD-65/55XG87□□, KD-65/55XG85□□
1 Levante el televisor.
- Para la colocación de las poleas Ⓑ al gancho de la base o el adaptador de la base, consulte la tabla del paso 3 en "Definición del lugar para la instalación" en la página 7.
- Cuando sujete el televisor, asegúrese de que la parte posterior del televisor toque la base o el adaptador de la base.

- Sujete el televisor con ambas manos de forma segura.
2 Instale el televisor en la base o el adaptador de la base.
- Deslice suavemente el televisor y cuelgue las poleas Ⓑ colocadas en la parte posterior del televisor en la base o el adaptador de la base, asegurándose de confirmar la forma de los orificios.
- Después de instalar el televisor en la pared, verifique que las poleas Ⓑ estén aseguradas firmemente en la base o el adaptador de la base.
- Suelte ambas manos lentamente para asegurarse de que el televisor no se caiga.

- Asegúrese de que dos o más personas (tres o más personas para un televisor de 75 pulgadas o más) sujeten el televisor para transportarlo.

3 Cómo evitar que la parte inferior del TV se mueva.
- Recoja la correa Ⓔ y ajustela firmemente a la pared.

text_image
2-a 2-b F F- Use un tornillo de 5 mm de diámetro o equivalente (no suministrado).
Nota
- Intente tirar la parte de abajo del TV levemente hacia adelante para asegurarse de que no se mueva solo en esa dirección. Si se mueve, significa que no se colocó correctamente, por lo que debe ajustar con firmeza la correa F nuevamente.
Confirmación del final de la instalación
Verifique los siguientes puntos.
- Las poleas Ⓑ están firmemente ajustadas a la base o el adaptador de la base.
- Que los cables no estén retorcidos ni atrapados.
- La correa Ⓕ está colocada firmemente y sin holgura.
ADVERTENCIA
- La colocación inadecuada del cable de alimentación de ca, etc., puede ser causa de un incendio o de descargas eléctricas debido a un cortocircuito. Por razones de seguridad, no olvide confirmar que haya finalizado la instalación.
Información adicional
Para retirar el televisor, lleve a cabo el procedimiento de instalación a la inversa.

- Asegúrese de que dos o más personas (tres o más personas para un televisor de 75 pulgadas o más) sujeten el televisor para retirarlo.
Especificaciones

text_image
f h1 h2 g e d c b aDimensiones: (aprox.) [mm]
a : 400
b : 300
c : 200
d : 100
e : 80
f : 480
g : 100
h1 : 20 (caso 2-b)
h2 : 60 (caso 2-a)
Peso (solo base): (aprox.) [kg]
0,8
El diseño y las especificaciones están sujetos a cambios sin previo aviso.
ManualFácil













