Bravia KD55XG8596 - Televisor SONY - Manual de utilização gratuito
Encontre gratuitamente o manual do aparelho Bravia KD55XG8596 SONY em formato PDF.
Questions des utilisateurs sur Bravia KD55XG8596 SONY
0 question sur cet appareil. Repondez a celles que vous connaissez ou posez la votre.
Poser une nouvelle question sur cet appareil
Baixe as instruções para o seu Televisor em formato PDF gratuitamente! Encontre o seu manual Bravia KD55XG8596 - SONY e retome o controlo do seu dispositivo eletrónico. Nesta página estão publicados todos os documentos necessários para a utilização do seu dispositivo. Bravia KD55XG8596 da marca SONY.
MANUAL DE UTILIZADOR Bravia KD55XG8596 SONY
Informações de instalação para Utilizar o Suporte de Parede Sony (SU-WL450)
Modelos suportados:
KD-85XG85□□* / 75XG87□□* / 75XG85□□* / 65XG87□□* / 65XG85□□* / 55XG87□□* / 55XG85□□*
* Nos nomes de modelos actuais, o “☐☐” indica números e/ou caracteres específicos a cada modelo.
Para os clientes
Para proteção do produto e por motivos de segurança, a Sony recomenda vivamente que a instalação do seu televisor seja efetuada por agentes ou técnicos licenciados da Sony. Não tente instalá-lo sozinho.
Para os agentes e técnicos da Sony
Deve ser dada total atenção à segurança durante a instalação, durante qualquer manutenção periódica e durante qualquer verificação deste produto.
É necessário ter experiência suficiente para instalar este produto, especialmente para determinar se a parede tem robustez suficiente para suportar o peso do televisor. Certifique-se de que confia a instalação deste produto numa parede a agentes ou técnicos licenciados da Sony e dê a devida atenção à segurança durante a instalação. A Sony não poderá ser responsabilizada por quaisquer danos ou ferimentos causados por manuseamento incorreto ou instalação incorreta.
Para Segurança e instalação adequadas, siga as Instruções de Funcionamento do Suporte de Parede, Guia de Configuração do Televisor e as indicações neste manual.
Segurança
Obrigado por ter adquirido este produto.
Para os clientes
É necessária uma formação técnica adequada para instalar este produto. Solicite a instalação a agentes Sony ou a empresas contratadas autorizadas e preste especial atenção à segurança durante a instalação. A Sony não se responsabiliza por quaisquer danos ou ferimentos causados pela utilização indevida ou instalação incorrecta, nem pela instalação de um produto diferente do produto especificado. Os seus Direitos Estatuários (se existirem) não são afectados.
Para os agentes da Sony
É necessária uma formação técnica adequada para instalar este produto. Leia atentamente este manual de instruções para efectuar a instalação com segurança. A Sony não se responsabiliza por quaisquer danos ou ferimentos causados pela utilização indevida ou instalação incorrecta. Após a instalação, entregue este manual de instruções ao cliente.
Este manual de instruções descreve as precauções importantes necessárias para evitar acidentes e utilizar o produto de forma correcta. Leia-o na íntegra e utilize o produto correctamente. Guarde este manual para futuras consultas.
Os produtos da Sony são concebidos para oferecer a máxima segurança. No entanto, se utilizados de forma incorrecta, podem provocar ferimentos graves através de incêndio, choque eléctrico ou queda. Para evitar esse tipo de acidentes, respeite as precauções de segurança.
CUIDADO
Produtos especificados
Este Suporte para Montagem na Parede foi concebido para ser utilizado apenas com o televisor especificado. Para televisores, consulte o Guia de referência para verificar se o Suporte para Montagem na Parede pode ser utilizado.
Para os clientes
AVISO
O não cumprimento das precauções indicadas abaixo, pode provocar a morte ou ferimentos graves através de incêndio, choque eléctrico ou queda do produto.
Certifique-se de que a instalação é efectuada por representantes autorizados e mantenha as crianças afastadas do local durante a instalação.
Se o suporte de montagem na parede ou o televisor não forem instalados correctamente, podem ocorrer os seguintes acidentes. Certifique-se de que a instalação é efectuada por técnicos qualificados.
- O televisor pode cair e provocar ferimentos graves, como equimoses ou fracturas.
- Se a parede onde o Suporte para Montagem na Parede está instalado for instável, irregular ou não estiver perpendicular ao chão, o aparelho pode cair e provocar ferimentos ou danos materiais. A parede deve ser suficientemente forte para suportar um peso, no mínimo, quatro vezes superior ao do televisor. (Consulte o Guia de referência do televisor quanto ao respetivo peso.)
- Se a instalação do Suporte para Montagem na Parede não for suficientemente sólida, o aparelho pode cair e provocar ferimentos ou danos materiais.
Contrate técnicos qualificados para o transporte e desmontagem do televisor.
Se o transporte ou montagem for feito por pessoas que não os técnicos qualificados, o televisor pode cair e provocar ferimentos ou danos materiais. Certifique-se que o transporte ou a desmontagem do televisor deverá ser efetuado por duas ou mais pessoas (três ou mais pessoas para televisor de 75 polegadas e acima).
Não retire os parafusos, etc., após a desmontagem do televisor.
Se o fizer, o televisor pode cair e provocar ferimentos ou danos materiais.
Não faça quaisquer alterações nas peças do Suporte para Montagem na Parede.
Se o fizer, o Suporte para Montagem na Parede pode cair e provocar ferimentos ou danos materiais.
Não instale um equipamento diferente do especificado no suporte.
Este Suporte de Instalação na Parede foi concebido para ser utilizado apenas com o produto especificado. A instalação de qualquer outro equipamento pode resultar em queda ou quebra e provocar danos materiais ou ferimentos.
Não coloque nenhuma carga para além do televisor no Suporte para Montagem na Parede. Não agite o televisor para a esquerda/para a direita, para cima/para baixo.
Se o fizer, o televisor pode cair e provocar ferimentos ou danos materiais.
Não se encoste nem se pendure no televisor.
Não se encoste nem se pendure no televisor, pois este pode cair e provocar ferimentos graves.
CUIDADO
Se as seguintes precauções não forem observadas, poderão ocorrer ferimentos ou danos materiais.
Não faça demasiada força durante a limpeza ou manutenção do produto.
Não faça demasiada força na parte superior do televisor. Se o fizer, o televisor pode cair e provocar ferimentos ou danos materiais.
Precauções
- Se utilizar o televisor instalado no Suporte para Montagem na Parede durante muito tempo, a parede por trás ou por cima do televisor pode perder a cor e o papel de parede pode descolar-se, dependendo do material da parede.
- Se retirar o Suporte para Montagem na Parede depois de o instalar, os orifícios do parafuso ficam na parede.
- Não utilize o Suporte para Montagem na Parede num local num local sujeito a vibrações mecânicas.
Instalar o suporte para montagem na parede
Para os Agentes da Sony
AVISO
As seguintes instruções destinam-se apenas aos agentes da Sony. Leia as precauções de segurança na íntegra e preste muita atenção às medidas de segurança que é preciso respeitar durante a instalação, manutenção e verificação deste produto.
Não instale o suporte para montagem em paredes em que os cantos ou os lados do televisor fiquem afastados da parede.
Não instale o suporte para montagem na parede em colunas em que os cantos ou os lados do televisor fiquem afastados da parede. Se uma pessoa ou objecto embaterem no canto ou lado saliente do televisor, isso pode provocar ferimentos ou danos materiais.

Não instale o televisor por cima ou por baixo de um aparelho de ar condicionado.
Se o televisor ficar exposto a fugas de água ou correntes de ar do aparelho de ar condicionado durante muito tempo, pode ocorrer um incêndio, um choque eléctrico ou uma avaria.
Instale o suporte para montagem na parede com segurança seguindo as indicações deste manual de instruções.
Se algum dos parafusos estiver solto ou cair, o suporte para montagem na parede pode cair e provocar ferimentos ou danos materiais. Utilize os parafusos adequados ao material de que é feita a parede e fixe bem o suporte com quatro ou mais parafusos de 8 mm de diâmetro (ou equivalentes).

Utilize os parafusos e os acessórios fornecidos conforme as indicações deste manual de instruções. Se utilizar outros acessórios, o televisor pode cair e provocar ferimentos a alguém ou danos materiais no próprio televisor.
Monte o suporte correctamente, seguindo o procedimento explicado neste manual de instruções.
Se um dos parafusos se soltar ou cair, o televisor pode cair e provocar ferimentos a alguém ou danos materiais no televisor.
Aperte bem os parafusos na posição correcta.
Se não o fizer, o televisor pode cair e ferir alguém ou ficar danificado.
Não submeta o televisor a qualquer choque durante a instalação.
Se o televisor sofrer choques, pode cair ou partir-se. O que pode provocar ferimentos.
Instale o televisor numa parede perpendicular e plana.
Se não o fizer, o televisor pode cair e provocar ferimentos.
Depois de instalar correctamente o televisor, fixe bem os cabos.
Se as pessoas ou objectos ficarem emaranhados nos cabos, podem ferir-se ou danificar o televisor ou o monitor.
Não deixe o cabo de alimentação CA, nem o cabo de ligação ficarem trilhados.
Se o cabo de alimentação CA ou o cabo de ligação ficar trilhado entre o aparelho e a parede ou se os dobrar ou torcer à força, os condutores internos podem ficar à vista e provocar um curto-circuito ou a quebra do cabo eléctrico. Pode provocar um incêndio ou choque eléctrico.

Os parafusos necessários para fixar o Suporte para Montagem na Parede não estão incluídos.
Utilize os parafusos apropriados para o material de que é feita a parede e para a estrutura quando instalar o Suporte para Montagem na Parede.
Índice
Preparar a instalação ....5
Verificação das peças 5
Decidir sobre a localização da instalação ..... 6
Instalação da base na parede 8
Preparar a instalação do televisor....9
KD-85/75XG85□□, KD-75XG87□□ 9
KD-65/55XG87□□, KD-65/55XG85□□....11
Instalação do televisor na parede....13
KD-85/75XG85□□, KD-75XG87□□ ....13
KD-65/55XG87□□, KD-65/55XG85□□....15
Confirmar a conclusão da instalação .....18
Outras informações ....18
Especificações....18
Instalação do televisor na parede
O procedimento de instalação difere consoante o seu televisor.
Utilize o Suporte de Parede SU-WL450 para instalar o televisor numa parede.
Nota
- Guarde os parafusos que remover num lugar seguro e fora do alcance de crianças.
Preparar a instalação
- Tenha o Guia de Referência do Televisor e o Guia de Configuração à mão antes da instalação.
- Certifique-se de que tem uma chave de parafusos Phillips adequada aos parafusos antes de proceder à montagem.
- Confirme a posição de instalação do seu televisor.
- Prepare quatro ou mais parafusos de 8 mm de diâmetro e um parafuso de 5 mm ou equivalente (não fornecido). Escolha parafusos adequados para o material da parede.
Verificação das peças
Fornecido com o SU-WL450
- Verifique se todas as peças estão incluídas.
A Base (20) (1) B Polia (2)![]() | ![]() |
© PSW 6x20 (4) D PSW 4x20 com anilha (2)![]() | ![]() |
E Espaçador (20) (2) F Cinta (1)![]() | ![]() |
G Anilha (20) (M4) (2)![]() | [H] PSW 4x20 (2)![]() |
I Adaptador de base (2)![]() | J PSW 4x10 (8)![]() |
K Espaçador (60) (2)![]() | L PSW 6x50 (2)![]() |
M Anilha (M4) (2) N PSW 4x50 (2)![]() | ![]() |
Decidir sobre a localização da instalação
1 Decida sobre a localização da instalação.
Certifique-se de que a parede tem espaço suficiente para o televisor e que consegue suportar o quádruplo do peso do televisor.
Consulte a tabela seguinte relativa à instalação do televisor numa parede. Consulte o Guia de referência do televisor para saber qual é o peso do televisor.
Montagem padrão Montagem curta

text_image
a b 80 c e d d ePonto central do ecrã
Unidade: mm
| Nome do modelo | Dimensões do visor | Dimensão do centro do ecrã | Comprimento para montagem | |||
| a | b | c | d | e | ||
| Montagem padrão | Montagem curta | |||||
| KD-85XG85□□ | 1.909 | 1.097 | 251 | 803 | 142 | 100 |
| KD-75XG87□□KD-75XG85□□ | 1.673 | 963 | 107 | 595 | 116 | 75 |
| KD-65XG87□□KD-65XG85□□ | 1.450 | 836 | 99 | 523 | 115 | 73 |
| KD-55XG87□□KD-55XG85□□ | 1.231 | 713 | 106 | 468 | 115 | 73 |
Nota
- Os números da tabela podem variar ligeiramente dependendo da instalação.
- Quando o televisor estiver instalado na parede, a parte superior do televisor ficará ligeiramente inclinada para a frente.
Permite uma folga adequada entre o televisor e o tecto e as peças salientes da parede, conforme apresentado abaixo.
Unidade: mm

text_image
300100 100 100- Para garantir uma ventilação adequada e evitar a acumulação de sujidade e pó:
— Não instale o televisor na horizontal, virado ao contrário, invertido ou de lado.
— Não instale o televisor sobre uma prateleira, carpete ou cama, nem dentro de um armário.
— Não cubra o televisor com panos, como cortinas, nem com jornais, etc.
- Não instale o televisor como ilustrado em baixo.
Circulação de ar bloqueada.

text_image
ParedeNota
- Se desejar instalar os cabos numa parede, faça primeiro um orifício na mesma para introduzir os cabos antes de iniciar a instalação. Para evitar trilhar os cabos, prepare um orifício na parede no exterior do perímetro da base (20) Ⓐ, adaptador de base ① e do espaçador (20) Ⓔ, do espaçador (60) Ⓗ.
2 Seleccione o estilo de montagem na parede. A distância entre a parte traseira do televisor e a parede pode ser seleccionada conforme abaixo indicado.
2-a Montagem padrão 2-b Montagem curta
Consulte a tabela do passo 1.
AVISO
- Quando selecionar 2-b, o acesso ao terminal posterior é limitado.

text_image
2-a 2-b3 Consulte a tabela em baixo para saber qual é a localização de instalação do Adaptador da Base. Caso selecione 2-b, ignore este passo.
| Nome do modelo Localização do gancho | |
| KD-85XG85□□ | |
| KD-75XG87□□ | a |
| KD-75XG85□□ | |
| KD-65XG87□□ | |
| KD-65XG85□□ | b |
| KD-55XG87□□ | |
| KD-55XG85□□ | |

text_image
a b c dInstale o adaptador da base ① utilizando o parafuso (PSW 4x10) ② na base (20) ③ quando seleccionar 2-a.

4 Decida as posições dos parafusos para instalar a base (20) Ⓐ.
Consulte as especificações na página 18. Quando seleccionar 2-a, utilize as posições dos orifícios do adaptador da base ①.
AVISO
- A parede na qual o televisor será instalado deve ser capaz de suportar um peso quatro vezes superior ao peso do televisor (Consulte o Guia de referência do televisor quanto ao respetivo peso.).
- Determine a resistência da parede em que será instalado o televisor. Se necessário, reforce a parede.
Instalação da base na parede
- Utilize quatro ou mais parafusos de 8 mm de diâmetro ou equivalente (não fornecido).
- Instale quatro parafusos nos orifícios do adaptador da base ① com a base (20) Ⓐ (apenas 2-a).
- Instale a base (20) Ⓐ na parede, na horizontal.

text_image
2-a I A
text_image
2-b APreparar a instalação do televisor
Consulte o Guia de Configuração para a instalação do suporte.
KD-85/75XG85□□, KD-75XG87□□
1 Marque a localização da instalação na parede.
- Utilize fita de pintura, etc. (não fornecida) para marcar a localização do televisor perto da Base ou Adaptador de Base. Consulte a tabela seguinte.

text_image
a b (1.000) (300) c Ponto central do ecrã Fita de pintura dUnidade: mm
| Nome do modelo | Comprimento para marcação | Dimensão do centro do ecrã | ||
| a | b | c | d | |
| KD-85XG85□□ | 1.909 | 683 | 200 | 251 |
| KD-75XG87□□KD-75XG85□□ | 1.673 | 468 | 200 | 107 |
2 Remova os parafusos da parte de trás do televisor.

flowchart
graph TD
A["1×2"] --> B["Device"]
C["2×2"] --> B
B --> D["Device"]
style A fill:#f9f,stroke:#333
style C fill:#f9f,stroke:#333
3 Instale as peças de fixação do Suporte de Parede. Verifique quais são as peças de fixação consultando "Fornecido com o SU-WL450" na secção "Verificação das peças", na página 5.
Nota
- Aperte firmemente as peças de fixação utilizando parafusos.
- Quando utilizar uma chave de parafusos elétrica, configure o binário de aperto para aproximadamente 1,5 N·m {15 kgf·cm}.
- Guarde as peças que utilizar ou não utilizar num lugar seguro para poder utilizá-las no futuro. Guarde este manual para poder consultá-lo no futuro.
Montagem padrão (2-a)

text_image
Polia Ⓑ Parafuso (+PSW 6 x 20) Ⓔ Espaçador (60 mm) Ⓔ Cinta Ⓕ Parafuso (+PSW 6 x 50) ⒺMontagem curta (2-b)
Nota
- Com este estilo de montagem, não poderá utilizar alguns dos terminais da parte de trás do Televisor.

4 Ligue o(s) cabo(s) necessário(s) ao televisor.
Certifique-se de que liga os cabos antes de instalar o televisor na parede. Não poderá ligar os cabos quando o televisor estiver instalado.
Consulte o Guia de referência fornecido com o seu televisor.
Nota
- Certifique-se de que o encaminhamento dos cabos ao longo da parede é efectuado por agentes autorizados.
- Junte os cabos de ligação para evitar tropeçar neles antes da montagem na parede.
5 Separe o Suporte de Fixação para Mesas do televisor.
- Remova um lado do Suporte de Mesa do Televisor de cada vez. Firmemente segure no Suporte de Mesa do Televisor com ambas as mãos enquanto outra pessoa levanta o televisor.
KD-85XG85□□

- Três ou mais pessoas são necessárias para desencaixar o Suporte de Mesa do televisor.
- Tenha cuidado para não exercer demasiada força enquanto desencaixa o Suporte De Mesa do Televisor, pois pode causar a queda do televisor e resultar em ferimentos pessoais ou danos físicos ao televisor.
- Tenha cuidado quando manuseia o Suporte de Mesa do Televisor para prevenir danos ao televisor.
- Tenha cuidado ao levantar o televisor, pois o Suporte de Mesa do Televisor é desencaixado, o Suporte de Mesa do Televisor pode cair e provocar ferimentos pessoais.
- Tenha cuidado ao remover o Suporte de Mesa do Televisor para evitar que caia e danifique a superfície onde se encontra o televisor.
KD-65/55XG87□□,
KD-65/55XG85□□
1 Remova os parafusos da parte de trás do televisor.

text_image
1×2 2×22 Instale as peças de fixação do Suporte de Parede. Verifique quais são as peças de fixação consultando "Fornecido com o SU-WL450" na secção "Verificação das peças", na página 5.
Nota
- Aperte firmemente as peças de fixação utilizando parafusos.
- Quando utilizar uma chave de parafusos elétrica, configure o binário de aperto para aproximadamente 1,5 N·m {15 kgf·cm}.
- Guarde as peças que utilizar ou não utilizar num lugar seguro para poder utilizá-las no futuro. Guarde este manual para poder consultá-lo no futuro.
Montagem padrão (2-a)

text_image
Polia Ⓑ Parafuso (+PSW 6 x 20) Ⓔ Espaçador (60 mm) Ⓔ Cinta Ⓕ Parafuso (+PSW 6 x 50) ⒺMontagem curta (2-b)
Nota
- Com este estilo de montagem, não poderá utilizar alguns dos terminais da parte de trás do Televisor.

3 Ligue o(s) cabo(s) necessário(s) ao televisor.
Certifique-se de que liga os cabos antes de instalar o televisor na parede. Não poderá ligar os cabos quando o televisor estiver instalado.
Consulte o Guia de referência fornecido com o seu televisor.
Nota
- Certifique-se de que o encaminhamento dos cabos ao longo da parede é efectuado por agentes autorizados.
- Junte os cabos de ligação para evitar tropeçar neles antes da montagem na parede.
4 Separe o Suporte de Fixação para Mesas do televisor.
- Remova um lado do Suporte de Mesa do Televisor de cada vez. Firmemente segure no Suporte de Mesa do Televisor com ambas as mãos enquanto outra pessoa levanta o televisor.

- Três ou mais pessoas são necessárias para desencaixar o Suporte de Mesa do televisor.
- Tenha cuidado para não exercer demasiada força enquanto desencaixa o Suporte De Mesa do Televisor, pois pode causar a queda do televisor e resultar em ferimentos pessoais ou danos físicos ao televisor.
- Tenha cuidado quando manuseia o Suporte de Mesa do Televisor para prevenir danos ao televisor.
- Tenha cuidado ao levantar o televisor, pois o Suporte de Mesa do Televisor é desencaixado, o Suporte de Mesa do Televisor pode cair e provocar ferimentos pessoais.
- Tenha cuidado ao remover o Suporte de Mesa do Televisor para evitar que caia e danifique a superfície onde se encontra o televisor.
Instalação do televisor na parede
KD-85/75XG85□□, KD-75XG87□□
1 Levante o televisor.
- Para a localização das polias Ⓑ para pendurar na Base ou Adaptador de Base, consulte a tabela do passo 3 em "Decidir sobre a localização da instalação" na página 7.
- Certifique-se que a parte de trás do televisor toca a Base ou Adaptador de Base quando segura no televisor.
Nota
- Segure firmemente o televisor com ambas as mãos e certifique-se que a Cinta Ⓔ e a parte inferior do televisor estão alinhados com a fita de pintura.
- Transporte o televisor com três pessoas e a pessoa que está na frente do televisor lidera os outros para ajustar a posição.

- Tenha muito cuidado ao instalar o televisor na parede especialmente para a pessoa que está a suportar a parte de baixo do televisor, o televisor pode cair, provocando sérios ferimentos corporais ou mesmo a morte.

- Deslize suavemente para baixo o televisor e pendure as polias Ⓑ presas à parte de trás do televisor à Base ou Adaptador de Base, certificando-se de que confirma a forma dos orifícios.
- Depois de instalar o televisor na parede, confirme se as polias Ⓑ estão bem presas à base ou ao adaptador de base.
- Liberte ambas as mãos lentamente para assegurar que o televisor não cai.

- Certifique-se que duas ou mais pessoas (três ou mais pessoas para televisor de 75 polegadas e acima) seguram o televisor quando o transportam.

3 Evitar que a parte de baixo do televisor se mova.
- Elimine a folga da cinta Ⓕ e prenda-a firmemente à parede.

text_image
2-a 2-b I F F- Utilize um parafuso de 5 mm de diâmetro ou equivalente (não fornecido).
Nota
- Tente puxar a parte de baixo do televisor ligeiramente para si, para se certificar de que não se move para a frente. Se houver algum movimento, não é fixado correctamente e a cinta F deve voltar a ser firmemente presa.
KD-65/55XG87□□, KD-65/55XG85□□
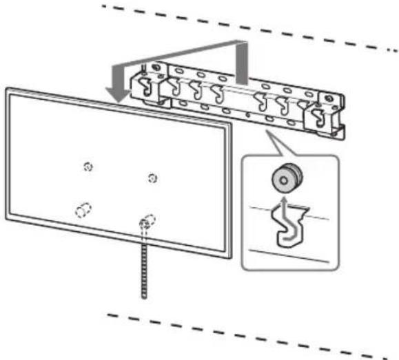
1 Levante o televisor.
- Para a localização das polias (B) para pendurar na Base ou Adaptador de Base, consulte a tabela do passo 3 em "Decidir sobre a localização da instalação" na página 7. - Certifique-se que a parte de trás do televisor toca a Base ou Adaptador de Base quando segura no televisor.

- Segure firmemente o televisor com ambas as mãos.
2 Instale o televisor na Base ou Adaptador de Base.
- Deslize suavemente para baixo o televisor e pendure as polias Ⓑ presas à parte de trás do televisor à Base ou Adaptador de Base, certificando-se de que confirma a forma dos orifícios.
- Depois de instalar o televisor na parede, confirme se as polias Ⓑ estão bem presas à base ou ao adaptador de base.
- Liberte ambas as mãos lentamente para assegurar que o televisor não cai.

- Certifique-se que duas ou mais pessoas (três ou mais pessoas para televisor de 75 polegadas e acima) seguram o televisor quando o transportam.

3 Evitar que a parte de baixo do televisor se mova.
- Elimine a folga da cinta Ⓔ e prenda-a firmemente à parede.

text_image
2-a 2-b F F- Utilize um parafuso de 5 mm de diâmetro ou equivalente (não fornecido).
Nota
- Tente puxar a parte de baixo do televisor ligeiramente para si, para se certificar de que não se move para a frente. Se houver algum movimento, não é fixado correctamente e a cinta ^F deve voltar a ser firmemente presa.
Confirmar a conclusão da instalação
Verifique os seguintes pontos.
- As polias Ⓑ estão penduradas com firmeza na base ou no adaptador de base.
- Os cabos de alimentação e ligação não estão dobrados nem trilhados.
- A cinta Ⓕ está bem presa, sem folga.
AVISO
- A instalação incorrecta do cabo de alimentação CA, etc., pode provocar um incêndio ou choque eléctrico devido a um curto-circuito. Verifique se a instalação está terminada, por medida de segurança.
Outras informações
Quando remover o televisor, inverta o procedimento de instalação anterior.

- Certifique-se que duas ou mais pessoas (três ou mais pessoas para televisor de 75 polegadas e acima) seguram o televisor quando o removem.
Especificações

text_image
f h1 h2 g e d c b aDimensões: (Aprox.) [mm]
a : 400
b : 300
c : 200
d : 100
e : 80
f : 480
g : 100
h1 : 20 (caso 2-b)
h2 : 60 (caso 2-a)
O design e as especificações estão sujeitos a alterações sem aviso prévio.
ManualFácil













