750GH - Calefacción DOVRE - Manual de uso y guía de instrucciones gratis
Encuentra gratis el manual del aparato 750GH DOVRE en formato PDF.
Preguntas frecuentes - 750GH DOVRE
Preguntas de los usuarios sobre 750GH DOVRE
0 pregunta sobre este aparato. Responde a las que conoces o haz la tuya.
Hacer una nueva pregunta sobre este aparato
Descarga las instrucciones para tu Calefacción en formato PDF gratis! Encuentra tus instrucciones 750GH - DOVRE y toma tu dispositivo electrónico nuevamente en la mano. En esta página están publicados todos los documentos necesarios para el uso de su dispositivo. 750GH de la marca DOVRE.
MANUAL DE USUARIO 750GH DOVRE
Declaración de conformidad 3
Seguridad 4
Condiciones de instalacion.4
Condieones generales 4
Chimenea 4
Ventilación de la estancia 5
Suelos y paredes 6
Descripción del producto.6
Instalacion 7
Preparación 7
Preparación del adaptorde conexión.. 7
Colocacion e instalacion 9
Uso. 9
Primer uso 9
Combustible 9
Encendido 10
Alimentar con madera 10
Alimentar con briquetas de lignito (sólo. para
750GM) 11
Alimentar con carbón de antracita (sólo..para
750GM) 11
Instrucciones para el quemado. 12
Extinction del fuego 12
Eliminado de cenizas 12
Nieblas y brumas 13
Posibles problemas 13
Mantenimiento 13
Chimenea.13
Limpieza yOTHERMANTENIMIENTo periodico. 13
Anexo 1: Especificaciones技术水平... 17
Anexo 2: Medidas 19
Anexo 3: Distancia a materiales...
inflammables 20
Anexo 4: Diagnóstico de problemas. 22
23
Introduccion
Estimado cliente,
con la compra de este aparato de calefaction
DOVRE, ud. ha adquirido un producto de calidad.
Este producto forma parte de una nuevo generation de aparatos de calefacción respetuos con el medio ambiente y con un consumo de energia mas eficiente. Estos aparatos hacen un uso optimo tanto del calor por convecacion como del calor por irradiacion
Su aparato DOVRE ha sido fabricado con los mas
moderos procesos de fabricacion. En caso de averia en su aparato, pueda enviar su reclamacion. Este acto declaral serviceo专业技术e DOVRE.
El aparato no pueda modificarse; utilise siempre Dovre nv, Nijverheidsstraat 18 B-2381 Weelde, componentes originales.
El aparato está 创建 para el uso en viviendas.
Debe conectarse de/DDema hermetica a una chimenea que funcione correctamente.
que las estutas 750GH y 750GM se producen en conformidad con EN 13240.
Le aconsejamos que haga instalar su aparato por un instalador certificado.
DOVRE no se hace responsable de los problemas o danos originados por la instalacion inadequada de sus produits.
- Durante la instalación,onga en cuenta los consejos de seguridad que se describe a continuación.
En este manual podra leer como instalar, utilizar y mantener su aparato de calefacción DOVRE de manera segura. Si desea Obtener mas informacion o datos技术和aderencias, o siiene problemas con la instalacion,pongase en contacto con su distribuidor.

© 2012 DOVRE NV
En el marco de la mejor continua de nuestros Productos, las specifications del aparato suministrado peuvent variar de aquellas descriñas en este manual, sin necessities de previo avis.
DOVRE N.V.
Correo electrónico :
info@dovre.be
Seguidad
Atencion! Siga las instrucciones de seguidad del fabricante al pie de la letra.
Lea atentamente las instrucciones para la instalacion, uso y mantenimiento del aparato antes deponerlo enfuncionamento.
La instalacion del aparato debe cumplir con todas las normativas y regulaciones vigentes en su País de residencia.
El aparato debe cumplir con todas las dispositions locales y las dispositions que tengan relacion con normativas nacias o europeas.
Lea las instrucciones sobre la instalacion, use y mantenimiento que viene suministradas con el aparato.
Haga instalar su aparato por un instalador certificado. Esteouldra informarle de todas las dispositions y normativas vigentes.
Este aparato se ha disnado para fines de calefacion. Todas las superficies delismo, incluyendo el cristal y el tubo de connexion, poderan alcanzar temperatas muy elevadas (más de 100^) ! Para Manipular el aparato cuando esté en functionamento,utilice una "manofra" o quantes protectores contra el calor.
Evite colocar cortinas, prendas, ropa lavada u.
otros materiales inflamables sobre el aparato en las cercanias del mesmo.
Cuando el aparato está en funciona, n utilise sustancias inflamables o explosivas en las proximas.
Evite incendios en la chimenea haciéndola limpiar periodicamente. Nocede la puerta abierta@m我以为 el fuego esté encendido
En caso de fuego de chimenea: ciderre las entradas de aire del aparato y llame a los bomberos.
En caso de que el cristal de su aparato se roto o agrietado, deben reemplazar el cristal antes de volver a utiliser el aparato.
Mantenga la habitacion donde secoloque el aparato bien ventilada. Una ventilacion insufiente de la habitacion可以使 producir una combustion insufficiente y la liberacion de gases toxicos. Consulte la section "Condiones de instalacion" para saber mas sobre la necessities de ventilacion.
Condiciones de instalación
Condiciones generales
El aparato debe connectarse a una chimenea en\ buen estado
Para realizar la connexion: lea el anexo "Especificaciones Tecnicas"
Informese en su département local de bomberos y / o en su compañero aseguradora sobre posibles requisitos y prescricciones.
Chimenea
La chimenea o conducfo de humos es necessities para:
La evacuación de los gases inflamables, mediante el tiro natural.
El aire caliente que está dentro de la chimenea es más ligero que el aire exterior, y este provoca que el aire se eleve.
La succion del aire, necessitiesa para la combustion del combustible dentro del aparato.
dUn conductor de humos en mal estado能把 occasional el returno de los gases alAbrir la puerta del aparato. Los daños producidos por el returno de gases estan excluidos de la garantia.
No connecte various aparatos a la mismam Chimenea (por exemple, conectar además del aparato, una caldera de calefacción central), a menos que las normativas locales o naciasas asi lo permitan.
Su instalador pode asesorarle sobre las normativas de seguidad de la chimenea.Consulte la Normativa Europea EN13384 para hacer un calculo adecuado de la capacité de su chimenea.
La chimenea debe cumplir con las siguientes conditions :
La chimeneaDebe estar fabricada en materiales ignificugos,preferentamente materiales ceramicos o acero inoxidable.
La chimenea doit estar herméticamente cerrada bien limpia, y doit asegurar un tiro sufiente.
Lo ideal es encontrar un tiro/presión de 15 - 20 PA durante una energia normal.
La chimenea debe ser lo mas vertical posible - desde el punto de salute del aparato.Las desviaciones y / o posibles tramos horizontales dificultan la evacuacion de los gases inflamables, pudiendo originar acumulaciones de hollin.
El interior del tubo no debe ser demasiado grand para evaporar que los gases inflamables se enfienden demasiado rápido y se reduzca la capacité de tiro.
Es aconsejable que la chimeneaonga el mismodiametro que el cuello de conexion del aparato.
i Para el diametro nominal: consulte el anexo "Especificaciones Tecnicas" Cuando el conductor de humos está bien aislado, el diametro pueda ser algo mas grande (como maximo el doble de la section del cuello de conexion).
La seccion (superficie) del conducto de humos ha de ser constante en toda su longitud. Los ensanchamientos y (muy especialmente) los estrechamientos peuvent obstaculizar la evacuation de los gases inflamables.
Al aplicar la caperuza o sombrerete sobre la chimenea: evite que la caperuza estreche la calidad de la chimenea o que obstaculice la liberacion de gases de combustion.
La chimenea debe desembocar en una zona del Puede crear una ventilacion adiconal poniendo un atjado que no este obstaculizada por edificios rejilla de ventilacion en algoo de los muros exteriores. adjacentes, arboles cercanos u otheros obstaculos. de la habitacion.
La parte de la chimenea situada fuera de la viviendaDebe estar aislada.
La chimenea deben tener una alta minima de 4 metros.
Puede seguir esta sencilla regla sencilla: 60~cm sobre la parte mas alta del tejado.
Si el caballete del tejado está situado a más de 3 metros de laitters de la chimenea: sigas las medidas indicadas en la?sigaiente imagen.A = el punto mas alto del tejado bajo de una distancia de 3 metros.

Ventilación de la estancia
Para que la combustión sea adecuada, el aparato necessitiesaire (oxigeno).Este aireenta por las tomas de aire regulables y procede del espacio en el que está situado el aparato.
Unavilacioninsuficanteocasonauna combustion incompleteyla consiguiente liberacionde gases toxicos.
Una regla sencilla es que la entrada de aire debe ser de 5,5cm^2 /kW . Se necessitiesa ventilacion adicular en los seguidentes casos:
- Cuando el aparato está en un espacio bien aislado.
Cuando existe ventilación mecánica en el espacio, p.ej. un sistema de extracción de aire central, o una campana extractora en una cucina abierta.
Puede create una ventilacion adiconal poniendo una rejilla de ventilacion en algoo de los muros exteriores de la habitacion.
Procure queothersaparatosdeairecaliente(como secadoras,aparatosdecalefacionocalefactoresde bano)tengan su propio accesodeaireexterior,ouque estén apagadosm吲traselaparatoestafionando.
Suelos y paredes
El sueño sobre elrial se coloca el aparato debe t una calidad dearga suficiente.El peso del aparato se encuentra en el anexo "Especillasiones tecnicas".

Proteja los sueños inflamables instalando una placía ignífuga que los aislen de la radiación calor. Consulte el anexo "Distancia con materiales inflamables".

Retire los materiales inflamables como el linóleo, las alfombras, etc. de debajo de la placà ignífuga.

Mantenga siempre una distancia de seguidade entre el aparato y materiales inflamables tales, como paredes de madera y muebles.

Tenga en cuenta que el tubo de conexión también irradia calor. Procure que haya sido suficiente distancia o proteccion ent el tubo de conexion y los materiales inflamables.
La regla de tres para un tubo sencillo es d una distancia equivalente a tres vezes el diametro. En caso de que el tubo lve un revestimiento protector, esta distancia peute reducirse a una vez el diametro.

Las alfombras deben colocarse a una distanci minima de 80 cm del fuego.

Proteja los sueños inflamables delante de la estufa instalando una placaprotectora ignifuga para protegerlo contra la possible caida de cenizas. Dicha placaprotectora debecumpir con las regulaciones naciales vigentes.

Encontrará las medidas de la placaprotectora ignifuga en el anexo "Distancia de materiales, inflamables".

Para mas requisitos de seguridad contra incendios, consulte el anexo "Distancia de materiales inflamables".
Descripción del producto

-
Regulador de entrada de aire secundario
-
Puerta de Ilenado
- Pestillo de la puerta de llenado
- Puerta
- Puerta del cajón cenicero
JAR Regulador de entrada de aire principal
7. Pestillo de la trampilla de limpieza
8. Pestillo de la puerta
Characteristicas del aparato
El aparato se pueda conectar en la parte posterior o en la parte superior a la chimenea.
El apartoiene provisto de una empunadura suela, también llamada "mano fria".
El aparato tiene una puertaSeparated para el rellen o de combustible, la llamada "puerta de llenado".
ParaAbrir las puertas, coloque la "manofria" (A) en el asa (B) en las puertas;vea la asigniente figura.

El aparato 750GH está provisto de placas de vermiculita.
El aparato 750GH está provisto de una trampilla limpieza que se pueda qutar.
El aparato 750GH está provisto dePlaces de hierrofundido.
El aparato 750GH está provisto de una parrilla a工程技术 de lacial cae la ceniza.
a r c a t e r i s t i c a adiconal de 750GM
El aparato es apto para la alimentacion con lena briquetas de lignito y carbon de antracita.
Instalación
Preparación
Nada mas recibir el aparato, compruebe que no este dañado (por exemple durante el transporte) que noonga defectos. La parte inferior del apa está montado en un pallet mediante tornillos.

Si detecta daños o defectos en el aparato, encienda el aparato todas ypongase en contacto con su vendedor.
Retire los componentes desmontables (placas refractarias, cajon cenicero, esculo termico lateral) del aparato antes de instalarlo.

Quitando these components desmontables, le sera mas fácil Manipular y mover el aparato sin dañarlo.

Fijese en la posicion original de these elements antes de retirarlos, para que recuerde su posicion afterwards de la instalacion.
- Abra la puerta.
- Retire primo las placas refractarias.

Las placas de hierro protegen la camarara de combustion y transmits en calor al exterior.
Montar el asa
El aparey viene provisto de una empuñadura sueña, también llamada "mano fria".
Fije el asa de madera al reductor mediente el tornillo Mdx50 suministrado con el aparato; vase la asignienteImagen.

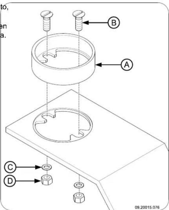
Preparación del adaptor de conexión
Al conectar el aparato a la chimenea, pueda optar entre realizar la connexion en la parte superior o en la parte posterior del aparato; vea la.), figura.
Cierre la salute que no va a utiliser con la tapa de cierre que viene suministrada con el aparato.
En la calidad que si va a utiliser, monte el adaptado de connexion correspondiente.
La masilla refractaria y los materiales de fjacion vienen suministrados con el aparato.
- Cuando se utilizes la connexion posterior del aparato, es necesario realizar una abertura en el escudo térmico. El escudo técnico muestra una incisión en el punto en el que se debe realizar esta abertura.

Conectar en la parte superior
- Destornille el escudoTERM del aparato:
- Cierre la abertura de gas residual en la parte posterior del aparato con la tapa de cierre suministrada (A). Utilice la plac de fijacion (B) el pero M6x25 (C) para montar la tapa en el aparato; vea la siguientes figura.

- Monte el cuello de conexión (A) con los dos 5. pernos M8x25 (B) y las arandelas (C) y tuercas M8 (D) en la abertura de gas residual en la parte superior; vea lasuma figure. 6.

- Utilice la masilla para chimeneas suministrada para el sellado tanto del cuello de conexión como de la tapa de cierre con el aparato.
- Atornille-Newamente el escudo terme del y aparato:
Conectar en la parte posterior
- Destornille el escudo terme del aparato:
- Haga una abertura en el escudoTERMINO cortando con la cizalla recta la parte precortada del escudoTERMICO.
- Monte el cuello de connexion con los materiales de sujecion en la abertura de gas residual, en la parte posterior.
- Cierre la abertura de gas residual con los materiales de sujeción en la parte superior del aparato, con la tapa de cierre suministrada.
- Utilice la masilla para chimeneas suministrada para el sellado tanto del cuello de connexion como parte de la tapa de cierra con el aparato.
- Atornille-Newamente el escudo termino del apparato:
Colocación e instalación
- Coloque el aparato en un lugarADEducado, sobreuna superficie lisa y nivelada.
- Conecte herméticamente el aparato a la chimenea.
- Vuelva a colocar los elementos desmontados en el aparato.
Nunca deje el aparato encendido sin las placas refractarias.
El aparato ya está lista para su uso.
Uso
Primer uso
Cuando utilise el aparato por primera vez, déjelo encendido a fuego lento durante的一些as horas. Estohara que la pintura anticalorica se endurezca. Estopodium producir algo de homo y olores desagradables Ventile la habitacion abriendo puertas y argentanas.
Combustible
El aparato 750GH solo es apto para quemar lena natural; serrada, hendida y suficientemente seca..
El aparato 750GM también es apto para quemar briquetas de lignito y carbon de antracita.
No实用性 whatsoever. Ya que estos podriani dañar seriamente el aparato.
Los siguientes combustibles no deben utilizar porque contaminan el medio ambiente yadelmas ensucian considerablemente la chimenea, pudiendoninger a occasionar un incendio de chimenea:
Maderas tratadas como maderas de deshecho, maderas pintadas, maderas impregnadas, maderas tratadas, multiplex y aglorado.
Plástico, papel usado y residuos domesticos.
Madera
Utilice preferentemente maderas duras como roble, haya, abedul y madera de arboles fructales.Esta madera quema mas lentamente y con menos llama. Las maderas de coniferas contienen mas
resina, queman mas rápido y producen más chispas.
Utilice maderas secas con un percentaje maximo de humedad del 20% . Paraarlo, las maderas debenemarksar al menos 2 años.
Tale y corte las maderas cuando todas estaan verdes. La madera verde se corta mas fácilmente, );,, , y mas rapiido. Almacene la madera bajo techo, en un lugar casdonde circule libremente el viento.
No utilise maderas humedes en el aparato. Las maderas humedes no producen calor debido a que la energia se pierde al evaporarse la humedad. Esto produce acumulaciones de hollin en la puerta del aparato y en el conductor de humos. El vapor de agua se condensa en el aparato y se filtra al exterior a trovés de las juntas, pudiendo occasionar manchas negras en el suelo. Además, el vapor de agua podra condensarse en el conductor de humos, formando creosota. La creosota es una sustancia muy inflamable y pueda originar incendios en la chimenea.
Briquetas de lignito
Las briquetas de lignito tienen más o menos las mismas propiedades calóricas que la leña.
Preocúpes de hacer una buena base de carbón vegetal, antes de alimentar con briquetas de lignito.
Para encender la chimenea, siga las instrucciones en el párrafo "Encendido".
Carbón de antracita
El carbón de antracita se divide en categorías sobre la base de característica,amongas establescidas legally, tales como el percentaje de substancias volátiés. El contenido de ceniza del carbón de antracita fluctúa entre el 3 % y el 13 % .Minternas meno sea el contenido de ceniza, mayor sera el valor calórico y tendrá que retirar la ceniza con menos Frequencia.
De preferencia, use el carbón de antracita de la categoría A, con un contenido bajo de ceniza.
Utilice el formattingo recomendado de 12/22 o 20/30.
Para encender la chimenea, siga las instrucciones en el párrafo "Encendido".
Encendido
Compruebe que el conductor de humos tiene tiro suficiente encendiando una bola de papel de periodico sobre el deflector de humos. Una chimenea fria tendrá un tiro insufiente, lo que occasiona la entrada de humano en la habitacion. Encendiendo el aparato del modo que le indicamos a continuacion, evitaré este problema.
- Colque dos lenos de時間 medio-grande cruzados entre sí.
- Coloque sobre los lenos dos capas de leña más fina de forma encrecruzada.
- Coloque una pastilla de encendido bajo la capa inferior de leña y enciendala siguiendo las instrucciones que vienen en el paquete de la misma.

=Abierto Cerrado

- Cierre la puerta del aparato y abra las entradas aire principal y secundaria del aparato abriendo completeness los reguladores de tiro primario y secundario; vase la asigniente figura.
- Deje que el fuego arda intensamente hasta que quede una capa de brasas vivas. A continuación ya pueda introducir lasumae carga y regulare aparato; consulte los apartados "Alimentar con madera", "Alimentar con briquetas de lignito (solo para el modelo 750GM)" y "Alimentar con carbón de antracita (sólo para el modelo 750GM)".
Alimentar con madera
Una vez que haya encendido el fuego tal y como se especifica en las instrucciones:
- Abra despacio la puerta del aparato.
- Reparta lasbrasas por la base de fuego de manera homogenea.
- Coloque various lenos sobre lasbrasas.

Apilado de madera sueleta
Apilando los lenos de眼看 a suelta, la madera se La quema de briquetas de lignito produce una gran quema mucho mas rapiido, ya que el oxigeno puecantidad de cenizas. Elimine el excesso regularmente. llgar a todas las partes de la madera. Utilice un Consulte el apartado "Eliminado de cenizas" para ver apilamento suejo si quiere促成 un fuego las instrucciones. rapidamente.
Apilamento compacto

Si desea informacion sobre las propiedades y el uso de las briquetas de lignito, consulte con su distribuidor de briquetas de lignito, o lea las instrucciones en el envase de las briquetas.
Una vez que haya seguido las instrucciones para el encendido:
- Abra despacio la puerta del aparato.
- Reparta lasbrasas por la base de fuego de manera homogenea.
- Coloque las briquetas de lignito sobre lasbras vivas.
- Cierre la puerta.
- Para el llenadoCEE siguierte utilise la puerta delllenado del aparato.
Alimentar con carbón de antracita (sólo para 750GM)
Apilando los lenos de manera compacta, la madera quema más lentamente, ya que el oxigeno no puedaninger a todas las areas de la madera. Utilice un apilamento compacto si desea mantener el fuego encendido durante mucho tiempo.
-
Cierre la puerta del aparato.
-
Cierre la entrada de aire principal yooter abierta 1a Abra completely la entrada de aire principal.
entrada secundaria. 2.Abra despacio la puerta del anarato
Llene el aparato hasta un maximo de un tercig de su capacité.
Reporta lasbrasas por la base de fuego de manera homogenea.
-
Para el llenadoCEE quieite utilise la puerta delllenado del aparato.
-
Distribuya una pala de carbón sobre lasbras vivas y espere a que los carbones ardan, antes deponer la",[para].
Alimentar con briquetas de lignito (sólo para 750GM)
- Agregue ahora más carbón.
Las briquetas de lignito arden de眼看 a la madera. Asegürese de que circula suficiente aire bajo el fuego Manipulando la entrada de aire principal. Para mas informacion, consulte el apartado "Alimentar con madera". 6
Asegürese que el fuego no se apague porponer de una vez demasiado carbón.
Ha renlenado al máximo cuando la brasa del renlenado anterior aun está un poco visible.
-
Cierre la puerta.
-
Deje arder los carbones algunos Minutes muy bien Introducir regularmente pequeñasCNTIDADE y regule la entrada de aire con la entrada de airebriquetas de lignito o carbon de antracita es mejor principal. que colocarlas de una vez.

Cuando el salva-troncos o las láminas de hierro fundido comienzan a arder rojos, está alimentando demasiado.
Instrucciones para el quemado

No deje la puerta abierta@m间隙s el fuego encendido

Encienda un fuego vivo de vez en cuando.
Si tiene el aparato calentando a fuego lento durante mucho tiempo, podrián formarse depósitos de alquitrán y creosota bajo de chimenea. La carbonilla y la creosota son materiales muy inflamables. Si se producenblemsiados sedimentos de这些东西 materiales, pueda inflamarse si se alcancan repentinamente grandes temperatas.
Encendiendo de vez en cuando fuegos intensos, se eliminan los posibles restos de carbonilla y creosota.
Además si el fuego esblemado débil suec.
I acumularse alquitrán en el vidrio y en la pue.
del aparato.
Por ello, en caso de una temperatura exterior suave es preferibleJKLM que el aparato caliente a fuego fuerte duranteunas horas quedeojarlo calendar a fuego lento durante mucho tiempo.
Regule la entrada de aire con la entrada de aire2 secundaria.

La entrada de aire secundaria airea no solo el fuego, sino el cristal del aparato, evitando asi3 la acumulación de仇恨.
Abra la toma de aire principal si la entrada de aire por la secundaria es insufiente, o si quiere avivar el fuego.
Introducir regularmentePICpeas cantidades de leños es mejor que.agregar muchos bloques alismo tiempo.
Extinción del fuego
Deje deañadir combustible y que el fuego se vaya apagando por si mesmo. No intente sofocar el fuego reduciendo la entrada de aire: podrián liberarse gases tóxicos. Deje que el fuego se consumes por si mesmo. Vigile el fuego hasta que este esté bien apagado. Una vez que el fuego se haya extinguido Completely, está PODRA cerrar todas las entradas de aire.
Eliminado de cenizas
Després de quema briquetas de lignito y carbon de antracita que'da relativamente mucha ceniza. Elimine alde forma periodica el excesso de cenizas.
Cuando se quema leña en el aparato, queda unacantidad relativamentekleque de cenizas.Esta cama de cenizas no solo es un buena aislante para la base de fuego del aparato, sino que además favorecela combustión. Asi que puedadeferuna capa finalde cenizas en el suejo del aparato.
No obstaculice la entrada de aire situada en el sueño de la chimenea nicede que se acumule ceniza en la parte posterior de las placas de hierro. Paraarlo, el eliminne de forma periodica el excesso de cenizas.
La ceniza nunca pueda tocar la parte inferior de la parrilla. La parrilla se calienta en excesso y se daña.
- Abra la puerta de la ceniza del aparato.
- En el aparato 750GH: abra la trampilla de limpieza y use la pala de tiro suministrada para arrastrar la ceniza en el cajón cenicero.
- Retire el cajón cenicero con la mano fria suministrada y vacie el cajón cenicero; vea lasuma.
1

- Vuelva a colocar el cajón cenicero en su situ y cierra la trampilla de limpieza del aparato.
Nieblasybrumas
Las nieblas y las brumas en el exterior puede dificultar la calidad de los gases inflamables por la chimenea. Estas peuvent hacer que el humano baje el conducto y ocasione olores. En conditiones de Niebras o brumas, le recomendamos que no utilise aparato a menos que sea realmente requisiteo.
Posibles problemas
Consulte el anexo "Diagnóstico de problemas" para SOLUTIONAR posibles problemas durante la utilización del aparato.
Mantenimiento
Siga las instrucciones de mantenimiento que se describes en esta sección paramantener su aparato en las miglioras conditiones.
Chimenea
En manyos paises, la ley obliga a revisar y lluevar un mantenimiento regular de los conductos de humos.
Al principio de la temporada de calefaction: haga limpiar la chimenea por un deshollinadorrial.
Durante la temporada de calefaction y si la El deflector de humos está fjado mediante un perno chimenea no se ha utilisé durante un长大o situado entre la conexión posterior y el conductor de la periodo de tiempo: haga que un先进技术综合素质idad de aire secundaria. Este perno está controle los niveles de holín. atornillado al deflector de humos.
El deflector de humos está fijiado mediante un pero.
situado entre la connexion posterior y el conductor de la
adtrada de aire secundaria. Este pero está
atornillado al deflector de humos.
Al final de la temporada de calefacción: ciderre la chimenea mediante una bola de papel de periodico.
Limpieza yOTHERMantenimiento periodico.

No limpie el aparato cuando este todas esta está caliente.
- Limpie el exterior del aparato con un paño seco que no suele pelugas.
Al final de la temporada de fríos, limpie muy bien el interior del aparato:
Paraarlo,retireprimero lasplacas refractarias.
- Alternatively, you can also consider using the "plus" option.
Retire y limpie el deflector de humos. En el capitulo "Instalacion" encontraras instructaciones sobre como extraer y colocar el deflector de homo.
Comprobar las instalas refractarias
Las placas refractarias son consumibles sometidos a un gran desgaste. Revise regularamente las placas refractarias y sustitúyalas si fuera besoinario.
En el capitulo "Instalacion" encontraras instrucciones sobre como extraer y colocar las placas refractarias.

Las placas refractarias aislantes de vermiculita peuvent做不到lerqueasigretassin que estotoenga un efecto adverso en su funciona.

Las placas de hierro interiores duraran mucho tiempo si limpia las cenizas acumuladas en su parte posterior regularmente. Si no retina la acumulación de ceniza de la placía está no podra proyeclar el calor correctamente y puedaninger a deformarse o rajarse.

No encienda nunca el aparato sin las placas refractarias.
Quitar el deflector de humo
- Desatornille la tuerca situada en la parte posterior; No utilise produits abrasivos o corrosivos para vexe la suiviente imagen. limpiar el cristal.

- Tire del deflector hacía afuera de tal modo que tuerca se suele de la parte posterior.
- Extraiga el deflector de humos por la puerta frontal.
Limpieza del cristal
Si el cristal se limpia correctamente, la suciedad tarda
más en acumularse. Proceda de lasuma做不到.
- Quite el polvo y la suciedad con un paño seco.
- Limpie el cristal con un limpiador especial para cristales de estufa:
a. Extienda el limpiador con una esponja de cucina, frote la superficie del cristal y déjelo actuarolesminutos.
b. Retire la sueidad con un paño humedo o papel de cocina.
- Vuelva a limpiar el cristal con su producto limpiacristales habitual.
- Seque el cristal con un pano seco o con papel cocina.
Utilice sempre guantes para proteger sus manos.
En caso de que el cristal de su aparato se haya roto o agrietado, deben reemplazar el cristal antes de volver a utiliser el aparato.
No deje restos del limpiador de cristales para estufas entre el cristal y la puerta de hierro.
Mantenimiento de estufas esmaltadas
Nunca limpie el aparato si todas esta está caliente. Utilice un jabon verde suave y agua tibia para limpar las superficies esmaltadas de la estufa. Utilice la minima calidad de agua posible y seque muy bien la superficie para prevenir corrosion. Nunca utilise lana de acero uthers productos abrasivos. No ponga nunca calderas directamente sobre el esmalte de la estufa; utilise un salvamanteles para evacitar daños.
Engrasado
Aunque los componentes de hierro ya son de una
manera autoengrasantes,debeb lubricar las partes
moviles con cierta regularidad.
Lubrique las partes moviles (como sistemas de guiado, pernas, pestillos y tomas de aire) con grasa especial para chimeneas, que encontrará en establishimientos especializados.
Reparar danos en la pintura
Puede repararPEGOs daños en la pintura con la+.
ayuda de un bote de spray de pintura anticalorica que.
podra adquirir donde su proveedor habitual.
Reparar la superficie esmaltada
El esmaltado es un proceso artesanal que pueda hacer que aparezcan pequeñas diferencias de color y daños en el aparato. Los aparatos son sometimes en la fabricula a un control visual, es decir, el controlador mira desde una distancia de 1 metro, durante 10segundos,la superficie.
Los eventuales danos que no se advierten seran considerados OK. Junto con el aparato se suministra una pintura especial anticalorica con la cuales seediumen reparar微量元素 (del transporte). Coloque la pintura anticalorica en capas delgadas y
deje/secar muy bien antes de comenzar a usar el aparato.
Comprobación del sellado
Compruebe que la junta de sellado de la puerta cierra correctamente. Este material se deteriora con el tiempo y ha deambiarse regularmente.
Compruebe que el aparato noonga fugas de aire. Selle posibles rendijas con masilla para chimeneas.
Deje que la masilla se endurezca complemente antes de encender el aparato, si no la humedad de la masilla se evaporara la fuga volverá a Abrirse.
Ajustar bulón de cierre
Controle si la puerta cierra bien y ajuste el bulón de cierre si fuere besoinario.
- Desplace el escudoTERMino hacer arriba y levante la parte inferior del escudoTERMico de los labios de posicionamento en la pared lateral del aparato; vea la?sigue figura.


- Ahora se pueda acceder al bulón de cierre ajustable. Suelte los pernos 2x M6 y ajuste el bulón de cierre. Apriete bajo Nuevoamente los pernos.
- Coloque el escudoTERMICO de vuelta siguiendo las instrucciones para sacar el escudoTERMICO enorden invertido.
Ajustar puerta
Controle si la puerta cierra bien y ajuste el bulón de cierre si fuere besoinario.
-
Abra la puerta; la bisagra ahora es visible y accesible.
-
Incline el escudoTERMico alejandolo de la parte accesible. inferior del aparato y bajo el escudoTERMico de manera que quede libre del pasador en la parte2. Suelte los dos pernos M8 (A) e atornille a inferior de la placaca superior; vea la?sigue figura. continuacion los dos tornillos de ajuste (B) hacia adentro o hacia afuera, hasta que la puerta se ajuste bien contra el frente; vea la?sigue figura.

3. Vuelva a preparar los permos (A) y ciderre la puerta de llenado.
Ajuste del regulador de tiro
Si el regulator de tiro (C) de la entrada de aire secundaria está demasiado rígido, es possible ajustarlo utilizingos tornillos (A) y (B) situados en la plaza frontal; véase lasuma imagen.

Anexo 1: Especillasiones|tecnicas
| Modelo 750GH | |
| Potencia nominal 9 kW | |
| Conexión de la chimenea (diámetro) 150 mm | |
| Peso +/- 175 kg | |
| Combustible recommendado Leña | |
| Característica combustible, longitudinal máximo de la leña 50 cm | |
| Combustible Leña | |
| Caudal másico de gases residuales 7.8 g/s | |
| Aumento de la temperatura medido en la sección de medicación 311 K | |
| Temperatura medida en laitters del aparato | 417 °C |
| Tiro minimo | 12 Pa |
| Emisión de CO (13%o) | 0,09 % |
| Emisión de NOx (13%o)O | 142 mg/Nm3 |
| Emisión de CnHm (13%o)D | 107 mg/Nm3 |
| Emissiones de partículas | 33 mg/Nm3 |
| Emissiones de partículas según la norma NS3058-NS3059 | 8.28 gr/kg |
| Rendimiento 75,8 % |
| Modelo 750GM 750GM 750GM | |||
| Potencia nominal 9 kW | |||
| Conexión de la chimenea (diámetro) 150 mm | |||
| Peso +/- 175 kg | |||
| Combustible recommendado Leña | |||
| Caracteristicas combustible, longitud má de la leña | 50 cm | ||
| Combustible Leña Briquetas de lignito | Carbún de antracita | ||
| Caudal@másico de gases residuales 6.9 | g/s 6.7 g/s | 8.1 g/s | |
| Aumento de la temperatura medido en sección de medicación | a 337 °K | 347 °K | 316 °K |
| Temperatura medida en la salute del aparato | 394 °C | 400 °C | 367 °C |
| Tiro minimo | 12 Pa 12 Pa 12 Pa | ||
| Emisión de CO (13%o) | 0,19 % | 0,10 % | 0,07 % |
| Emisión de NOx (13%o)O | 75 mg/Nm3 | 133 mg/Nm3 | 110 mg/Nm3 |
| Emisión de CnHm (13%o)D | 152 mg/Nm3 | 32 mg/Nm3 | 40 mg/Nm3 |
| Emissiones de partículas | 11 mg/Nm3 | 26 mg/Nm3 | 13 mg/Nm3 |
| Rendimiento 75,5 % 75,8 | % 76,1 | % |
Anexo 2: Medidas
750GH / 750GM



09-00062-000_750GH-GM
Anexo 3: Distancia a materiales inflamables
750GH y 750GM - Distancia minima en milimetros

| * Tubo | de conexión protegido (aislado) |
| Materiales inflamables | |
| Material ignífugo, grosor 100 mm |
750GH y 750GM - Medidas de la plac i gnifuga

Anexo 4: Diagnóstico de problemas
| Problema | |||||
| ● | Leña no termina de arder | ||||
| ● | No da suficiente calor | ||||
| ● | Retorno de homo cuando se agrega combustible | ||||
| ● | El fuego arde demasiado fuerte, no se pueda regular bien. | ||||
| El vidrio se opaca | |||||
| possible causa解決ión | solucion possible | ||||
| ● | ● | ● | tiro insufiente | Unam Chimenea fría produce casi siempre un tiro insufiente. Siga las instrucciones sobre el encendido en el capitulo "Uso"; abra una ventsa. | |
| ● | ● | ● | ● Leña demasiado humeda Utilice siemre leña con un máximo del 20% de humedad. | ||
| ● | ● | ● | ● Leños demasiado grandes | Utilice trozos de leña pequeños. Utilice trozos de leña cortados con un contorno máximo de 30 cm. | |
| ● | ● | ● | ● | La leña no está bien apilada | Coloque la leña de talmana que el aire pueda pasado entre los bloques (apilamento abierto, véase "alimentar con leña"). |
| ● | ● | ● | ● Funcionamente insufiente de la chimenea | Asegúrese de que la chimenea cumpla todos los requisitos: 4 metros de alto como minimo, diámetro adecuado, bien aislada, interior liso, sin demasiados recovecós, sin obstrucciones (nidos de pájaro, demasiado depuesto de hollín), herméticamente cerrada (sin fisuras). | |
| ● | ● | ● | ● Laitters de la chimenea no es correcta carea elementos que la obstruyan. | Laitters de laitters de laitters de laitters de laitters de laitters de laitters de laitters de laitters de laitters de laitters de laitters de laitters de laitters de laitters de laitters de laitters de laitters de laitters de laitters de laitters de laitters de laitters de laitters de laitters de laitters de laitters de laitters de laitters de laitters de laitters de laitters de laitters de laitters de laittera. | |
| ● | ● | ● | ● Tomas de aire en posición incorrecta | Abra Completely las entradas de aire. | |
| ● | ● | ● | ● Laitters entre el aparato y la chimenea no es correcta | Laitters de aire estar herméticamente cerrada. | |
| ● | ● | ● | ● Presión minima en el espacio donde encontrar el aparato | se Apague todos los sistemas de extracción de aire | |
| ● | ● | ● | ● Suministro insufiente de aire fresco | Cree una corriente de aire fresco, por ejemplo utilizingando una toma de aire exterior. | |
| ● | ● | ● | ● Condiciones climáticas adversas? Inversión térmica (cambio de direction en la corriente de aire Dente de la chimenea debido a las elevadas temperatas exteriores), vientos de fuerza extrema | En los casos de inversión térmica, desaconsejamos el uso del aparato. Si fuera necesario, ponga una caperuza a la chimenea. | |
| ● | Corrientes en la habitación | Evite las corrientes de aire en la habitación; no instale el aparato en las cercanlas de puertas o de fuentes de aire caliente. | |||
| Las llamas tocan el cristal | Eviteponer los leynos demasiado cerca del cristal. Cierre un poco más el acceso de aire principal | ||||
| ● | El aparato tiene fugas de aire Comprue la junta de sellado de la puerta y las juntas del aparato. | ||||
Indices
A
Abertura de gas residual cerrar.8.
Abrir
cajón cenicero.12
Adaptador de connexion
pare posterior.8.
pare superior.8.
advertencia condiciones de seguro 4.
Advertencia limpiador de cristales de estufa.14
Agregar combustible
returno de homo 22
Alfombras 6
Alimentar carbón de antracita 11
rellenar combustible 11
Almacenaje de madera. 9
Alquitrán 12
Apilado de lenos. 10
Aumento de la temperatura
seccion de medicacion. 17-18
Aviso cristal roto o agrietado 4,14 fuego de chimenea 9,12 incendio de la chimenea 4 materiales inflamables.4 normativas 4 placas de hierro fundido 9 placas refractarias 9 superficie caliente 4 ventilacion 4-5
B
Bisagra
ajustar 15
Briquetas de lignito. 9
Bruma, no encender 13
Bulón de cierre
ajustar 15
C
Cajon cencero abrit. 12
Capa de acabado, mantenimiento 14
Capacidad de energia. 6
Caperuza 5
Caperuza sobre chimenea. 5
Carbón
carbón de antracita 9
contenido de ceniza 9
Chimenea
altura 5
condiciones 5
conexion a 9
diamefo de conexion. 17-1
mantimiento 13
Cierre de puerta
ajuste 15
Colocacion medidas 19
Combustible
adequado 9
agregar 12
apto 9
briquetas de turba 9
cantidad necesaria 13
carbon de antracita 9
leña 9
Ilenado 11
no apto 9
rellenar 12
Combustible adequado 9
Combustible no apto. 9
Condieones climatologicas, no encender... 13
conectar en la chimenea
parte superior.8
Conectar en la chimenea parte posterior 8.
Conexión medidas. 19
Creosota 12
Cristal limpieza 14 opacimiento 22
Cuello de conexión 8 montar 8
D
Deflector de humos desmontar.13...
E
Eliminado de cenizas 12
Eliminar cenizas.12
Eliminar cenizas.12. lignito.11
Emissiones de particulas.17:18
Encendido 10. briquetas de lignito.11. calor insufficiente 13,22 el aparato no se pueda regular.bien.22 el fuego arde demasiado fuerte 22 introducir combustible. 10 introducir el combustible 12
Engrasado. 14
Entrada de aire principal 10
Entrada de aire secundaria. 10
Entradas de aire 10
EscudoTERMICHacerunaabertura 8
Extinguir el fuego 12
F
Fuego encendido 10
extinction 12
Fuego de encendido 10
Fuga de aire. 15
G
Gas residual caudal maso 17-18
Humo en el primer uso 9
1
Introducir el combustible 12
J
Junta de sellado puerta 15
L
Laca 9
Lena no termina de arder. 22
Leñahawk 22
Lignito cenizas.11. encendido 11
Limpiador de cristales de estufa 14
Limpieza
aparato 13
cristal. 14
Limpieza de la chimenea 13
M
madera 9
Madera
almacenado 9
humeda 9
secar. 9
tipos adecuados 9
Madera de coniferas 9
Maderahumeda 9
Mantenimiento
chimenea 13
engrasado 14
limpieza aparato 13
limpieza cristal 14
placas refractarias 13
sellado 15
Materials inflamables distancia a 20
Medidas. 19
N
Niebla, no encender. 13
Nivel de llenado maximal del aparato. 11
0
Oxigenacion del fuego 12
P
Paredes seguridad contra incendios 6
Peso 17-18
Placas de hierro fundido
aviso.9
Placas refractarias
aviso.9
mantenimiento.13
Potencia nominal.13,17-18
Prevencion fuego de chimenea.12
Puerta
ajustar.15
cierre 15
junta de sellado.15
Q
Quemar
briquetas de lignito 11
R
Regular entrada de aire 12
Rejilla de ventilacion. 5
Rellenar
briquetas de lignito. 12
carbón de antracita 12
Rellenar combustible. 12
Secado de la madera 9
Seguridad contra incendios
distancia a materiales inflamables. 20
muebles 6
paredes 6
suelo 6
SolutiOn de problemas. 13, 22
Suelos
capacidad de energia 6
seguridad contra incendios 6
Suministro de aire exterior. 5
conexión a 9
T
Tapa de cierre 8
Temperatura. 17-18
Tiro 17-18
Tomas de aire
ajuste 16
V
Ventilación 5
regla de tres 5
Vidrio
limpieza 14
Vidrios
opacimiento 22
Contenuo
Introduzione 3
ManualFácil