750GH - Heating DOVRE - Free user manual and instructions
Find the device manual for free 750GH DOVRE in PDF.
Frequently Asked Questions - 750GH DOVRE
User questions about 750GH DOVRE
0 question about this device. Answer the ones you know or ask your own.
Ask a new question about this device
Download the instructions for your Heating in PDF format for free! Find your manual 750GH - DOVRE and take your electronic device back in hand. On this page are published all the documents necessary for the use of your device. 750GH by DOVRE.
USER MANUAL 750GH DOVRE
Installieconditions 4
Algemeen. 4
Schoorsteen 4
schoorsteenbrand. 4, 9, 12
ventilatie 4-5
Declaration of conformity 3
Safety 4
Installation requirements..4
General 4
Flue or chimney 4
Ventilation of the area 5
Floor and walls 6
Product description 6
Installation 7
Preparation 7
Preparing the connection to chimney. 7
Installing and connecting.8
Use. 9
First use. 9
Fuel 9
Lighting.9
Burning wood 10
Burning brown coal briquettes (750GM only)
Burning anthracite coal (750GM only).... 11
Advice for use. 12
Extinguishing the fire 12
Removing ashes 12
Fog and mist. 12
Solving problems 13
Maintenance 13
Chimney. 13
Cleaning and maintenance. 13
Appendix 1: Technical data. 17
Appendix 2:Measurements. 19
Appendix 3: Distance from combustible
material 20
Appendix 4: Diagnostic diagram. 22
Index 23
Introduction
Dear user,
In buying this DOVRE heating appliance, you have chosen a high quality product. This product is part of a new generation of energy saving and environmentally friendly heating appliances. These appliances make optimal use of convection heat as well as thermal radiation (radiant heat).
- Your DOVRE appliance has been manufactured
with state-of-the-art production equipment. In the
unlikely event of a malfunction, you can always
rely on DOVRE for support and service.
The appliance is not to be modified; always use
original parts.
The appliance is intended for use in a living room. It
must be connected hermetically to a well
functioning chimney.
We advise you to let an authorized and compete
installation company install the appliance.
DOVRE cannot be held liable for any problems or
damage resulting from incorrect installation.
Observe the following safety rules when installing
and using the appliance.
In this manual, you can read how the DOVRE heatingGehem
appliance can be installed, used and maintained
safely. Should you require additional information or
technical data, or should you experience an
installation problem, please contact your supplier first.


Notified body: 1625
© 2012 DOVRE NV
Due to continuous product improvement, specifications of the appliance supplied may vary from the description in this brochure without prior notice.
DOVRE N.V.
Please note: All safety regulations must be complied with strictly.
Carefully read the instructions for installation, use and maintenance before you start using the appliance.
The appliance must be installed in accordance with the laws and requirements of your country.
All local regulations and the regulations relating to national and European standards must be observed when installing the appliance.
Read the instructions for installation, use and maintenance supplied with the appliance.
It is preferable to have the appliance installed by an authorized and competent installation company. They will be aware of the applicable regulations and requirements.
The appliance is designed for heating purposes. All surfaces, including the glass and the connecting tube, can get very hot (over 100^ ! For operation, use a so-called "cold hand" or an oven glove.
Don't place any curtains, clothes, laundry or other combustible materials on or near the appliance.
Don't use flammable or explosive substances near the appliance when it is in use.
Avoid a chimney fire by having the chimney swept regularly. Never burn wood with an open door.
In the case of a chimney fire: close all air of the appliance and alert the fire brigade.
If the glass in the appliance is broken or cracked, it must be replaced before you can use the appliance again.
Make sure there is adequate ventilation in the room where the appliance is installed. The combustion will be incomplete in case of insufficient ventilation, which results in toxic gases being produced and spread through the room. See the chapter "Installation requirements" for more information on ventilation.
Installation requirements
General
The appliance must be connected tightly to a well-functioning chimney.
For the connection measurements: see the appendix "Technical data".
Ask the fire brigade and/or your insurance company about any specific requirements and regulations.
Flue or chimney
The flue or chimney is needed for:
Disposing of the combustion gases through natural draught.
The warm air in the flue or chimney is lighter than the outside air so it rises.
The intake of air, needed for the combustion of fuel in the appliance.
open A poorly functioning flue or chimney can cause smokers to escape into the room when the door is opened.
mamage caused by smoke emissions into the room is not covered by the warranty.
Do not connect multiple appliances (such as a boiler for central heating) to the same flue, unless local or national regulations allow this.
Ask your installer for advice regarding the flue. Refer to the European norm EN13384 for a correct calculation for the flue.
The flue must satisfy the following requirements:
The flue or chimney must be made of fire resistance material, preferably ceramics or stainless steel.
The flue or chimney must be airtight and well cleaned and guarantee sufficient draught.
i
A draught/vaccuum of 15 - 20 Pa during normal operation is ideal.
Starting from the flue spigot, the flue must run a vertically as possible. Changes in direction and horizontal pieces disrupt the outward flow of combustion gases and may cause the deposit of soot.

The interior measurements should not be too big prevent the combustion gases from cooling down too much, thereby reducing the draught.
The flue or chimney must ideally have the same diameter as the connection collar.
i
For the nominal diameter: see the appendix "Technical data". If the smoke channel is well insulated, the diameter may be slightly bigger (up to 2x the section of the connection collar)
To good combustion, the appliance needs air (oxygen). That air is supplied via adjustable air inlets from the area where the appliance is installed.
The combustion will be incomplete in case of insufficient ventilation, which results in toxic gases being produced and spread through the area.
The section (area) of the smoke channel must constant. Wider segments and (in particular) narrower segments disrupt the outward flow of combustion gases.
- When using a cover plate or exhaust hood: mal- sure that the cover does not restrict the flue out and that the cap does not impede the outward of combustion gases.
The chimney must end in a zone that is not affected by surrounding buildings, adjacent trees, other obstacles.
The chimney part outside the house must be insulated.
The chimney must be at least 4 metres high.
As a rule of thumb: 60cm above the ridge of the roof.
If the ridge of the roof is more than 3 metres away from the flue: stick to the measurements in the following figure. A = the highest point of the roof within a distance of 3 metres.
As a rule of thumb, the air supply should be 5.5cm^2 /kW Extra ventilation is needed when:
The appliance is in an area that is well insulated.
There is mechanical ventilation, for example a central extraction system or an extraction hood in an open kitchen.
You can provide extra ventilation by having a flow ventilation louvre installed in the outside wall.
Make sure that other air consuming appliances (such as tumble-driers, other heating appliances or a bath room fan) have their own supply of outside air, or are switched off when you use the appliance.
Floor and walls
The floor on which the appliance is placed must be sufficient load bearing capacity. For the appliance, weight: see the appendix "Technical data".

Protect a flammable floor from heat radiation by means of a fireproof protective plate. See the appendix "Distance from combustible material".

Remove combustible material such as linoleum, carpets/rugs and similar materials below the fireproof protective plate.

Keep enough distance between the appliance and combustible materials such as wooden walls and furniture.

The connecting tube radiates heat too. Ensure 2. Filling door that there is sufficient distance or a shield between the connecting tube and combustible 3. Filling door bolt material. 4. Door
The rule of thumb for a single-walled tube is a distance of 3x the diameter. If a lining shell is Ash pan door fitted around the tube, a distance of 1x the diameter is permissible.

Carpets and rugs must be at least 80 cm away from the fire. 8. Door bolt

Protect a flammable floor from possible falling Features of the appliance ash in front of the fire with the aid of a fireproof protective plate. The protective plate must The appliance can be connected to the comply with national standards

For the dimensions of the fireproof protective plate: see the appendix "Distance from combustible material".

For further requirements in connection with fire safety: see the appendix "Distance from combustible material".
Product description

-
Secondary air slide
-
Filling door 3. Filling door bolt
- Door a
i5.Ash pan door - Primary air slide
- Ash door bolt way
- Door bolt
Features of the appliance
The appliance can be connected to the chimney at the rear or at the upper side.
The appliance is supplied with a loose handle, the so-called "cold hand".
The appliance is fitted with a separate door for adding fuel; the so-called "filling door".
To open the, place the "cold hand" (A) in the bolt (B) on the doors; see following figure.

The appliance 750GH is fitted with vermiculite inner plates.
The appliance 750GH is fitted with a removable ashing hatch.
The appliance 750GM is fitted with cast-iron inner plates.
The appliance 750GM is fitted with a grate through which the ash falls.
Additional feature of the 750GM
The appliance is suitable for the burning of wood, brown coal briquettes and anthracite coal.
Installation
Preparation
- Please check the appliance for damage caused during transport or any other damage or defects immediately after delivery. The appliance is attached to the pallet with screws at the bottom.
If you detect damage caused during transport or any other damage or defects, do not use appliance and notify the supplier.
- Remove the removable parts (fire-resistant inner plates, ash pan, side wall heat shield) from the appliance before you start installing the appliance.

By removing removable parts, it is easier to move the appliance and to avoid damage.

Note the location of those removable parts, so that you have no difficulties in installing the parts in the right place later on.
- Open the door.
- Remove the fire-resistant inner plates.

Cast iron inner plates protect the combustion chamber and dissipate heat to the environment.
Fitting the handle
The appliance is supplied with a loose handle, the so-called "cold hand".
Fit the wooden handle to the adaptor using screw M8x50 provided; see following figure.
de

Preparing the connection to chimney
When connecting the appliance to the chimney you have the choice of connecting via either the upper side or the rear; see following figure.
Plug the outlet that you don't want to use with the corresponding cover that was supplied.
Install the corresponding connection collar that was supplied on the outlet that you want to use.
theSealant and materials supplied.
- When connecting to the upper side an opening has to be made in the heat shield. At the spot when the
opening has to be made an incision has been made in the heat shield.

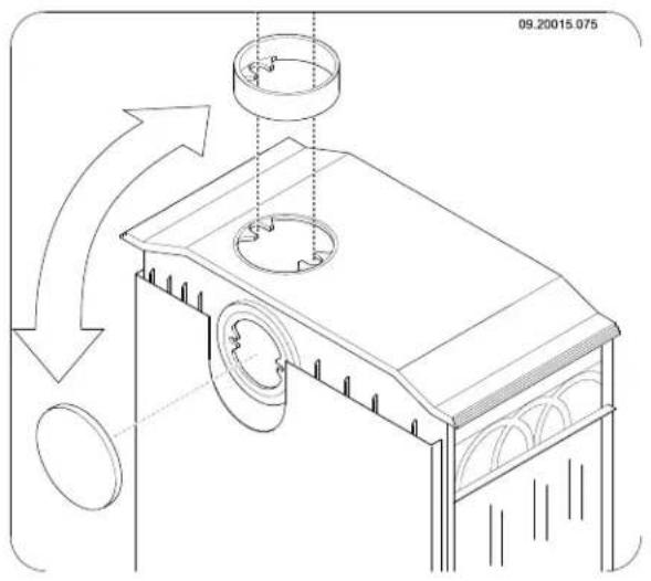
Connecting to the upper side
- Unscrew the heat shield from the appliance.
- Shut off the flue gas opening on the rear side of appliance with the cover (A) provided. Use the mounting plate (B) and bolt M6x25 (C) to fit the cover to the appliance; see the following figure.


the supplied stove sealant for sealing both the connection collar and the cover with the appliance.
5. Screw the heat shield back onto the appliance.
Connecting to the rear side
- Unscrew the heat shield from the appliance.
- Make the opening in the heat shield by cutting the pre-cut section out of the heat shield using plate shears.
- Fit the connection collar to the flue gas opening on the rear side using the fixing materials.
-
Using the fixing materials shut off the flue gas opening on the rear side of the appliance with the cover provided.
-
Fit the connection collar (A) to the flue gas opening Use the supplied stove sealant for sealing both the on the upper side using the two screws M8x25 (B) connection collar and the cover with the appliance. and the washers (C) and nuts M8 (D); see the 6. Screw the heat shield back onto the appliance. following figure.
Installing and connecting
- Install the appliance in the right place, and make sure it is level.
-
Connect the appliance hermetically to the flue.
-
Install all the parts you removed in the right places Saw the wood to size and split it when it is still in the appliance. Fresh. Fresh wood is easier to split, and split wood
Never use the appliance without the fire-resistant inner sheets.
The appliance is now ready for use.
Use
First use
When you use the appliance for the first time, make may also condense in the chimney and form an intense fire and keep it going for a good few hours. Creosote is a highly flammable This will cure the heat-resistant paint finish. This may compound and may cause a chimney fire.
result in some smoke and odours. You could open windows and doors for a while in the area where appliance is located.
Fuel
Appliance 750GH is only suitable for the burning of natural wood; sawn and chopped wood that is sufficiently dry.
Appliance 750GM is also suitable for the burning of brown coal briquettes and anthracite coal.
Do not use other fuels, as they can lead to serious damage to the appliance.
You are not allowed to use the following fuels, as they the percentage of volatile substances. The ash pollute the environment and because they heavily content of anthracite coal is between 3% and 13% . the appliance and flue, which may lead to a chimney. The lower the ash content, the higher the net heating fire: value and the less often you have to remove ash.
Treated wood, such as scrap wood, painted wood, Preferably use category A anthracite coal with a impregnated wood, preserved wood, plywood and low ash content. chipboard. Use the recommended size 12/22 or 20/30
Plastics, scrap paper and domestic waste.
Wood
Hardwood, such as from oaks, beeches, birches and fruit trees, is the ideal fuel for your stove. type of wood burns slowly with calm flames. Softwood contains more resins, burns faster and gives off more sparks.
- Use dried wood that contains no more than 20% instead of up the chimney. By lighting the fire in the moisture. The wood must have dried for at least way described here, you can avoid this problem. years.
- Stack two layers of medium sized logs crosswise
- Stack two layers of kindling crosswise on top of the logs.
- Place a firelighter cube in the lower layer of kindling and light the cube according to the instructions on the packaging.


Burning wood
- Close the door of the appliance and open the
primary air inlet and the secondary air inlet of thafter you have followed the instructions for lighting: appliance by completely opening the primary and
secondary air sliders; see the following figure.
-
Slowly open the door of the appliance.
-
Let the fire develop into a good blaze until there is glowing bed of charcoal. After this you can add
more fuel and start to control the appliance; see3. Stack a few logs on the charcoal bed.
the paragraphs "Burning wood", "Burning brown
coal briquettes (750GM only)" and "Burning
anthracite coal (750GM only)".
Open stacking

If the logs are stacked openly, the wood will burn quickly as the oxygen can reach each log easily. If
you want to use the stove for a short while, make an supplier or see the brown coal briquettes' open stack.
Compact stacking

After you have followed the instructions for lighting:
- Slowly open the door of the appliance.
- Spread out the charcoal bed evenly across the bottom of the fire compartment.
- Place the brown coal briquettes on the charcoal bed.
- Close the door.
- To subsequently add fuel, use the filling door of the appliance.
Burning anthracite coal (750GM only)

Always close the secondary air slide when burning anthracite coal.
If the logs are stacked tightly, the wood will burn mater you have followed the instructions for lighting:
slowly as the oxygen can only reach some logs easily. If you want to burn wood for a longer period, make a compact stack. 2
-
Open the primary air slide completely.
-
Slowly open the door of the appliance.
-
Close the door of the appliance.
-
Spread out the charcoal bed evenly across the bottom of the fire compartment.
-
Close the primary air inlet and leave the secondary air inlet open. 4.
-
Spread a shovelful of coal on the charcoal bed and wait with the next shovelful until the coals start to glow.
Fill the appliance up to one third capacity.
-
Now add more coal.
-
To subsequently add fuel, use the filling door the appliance.

Be careful not to smother the fire by adding too much coal at once.
Burning brown coal briquettes (750GM only)

You have added as much as you can once the glow of the previous load is only just visible.
Brown coal briquettes burn in almost the same way 6asClose the door.
wood. Using the primary air inlet, ensure sufficient supply of air under the fire. For further information the paragraph "Burning wood".
- Allow the coals to burn well for a few minutes and see control the air supply using the primary air slider.
Burning brown coal briquettes creates a lot of ash. Regularly remove excess ash. See the paragraph "Removing ashes" for instructions.

If the fire basket or the cast-iron plates start to glow red you have overfed the fire.

For the properties and use of brown coal
briquettes: consult your brown coal briquettes
Advice for use

Never burn wood with an open door.

Regularly burn wood with intense roaring
Removing ashes
After the brown coal briquettes and anthracite coal has been burnt, a relatively large amount of ash is left over. Therefore, remove any excess ash frequently.
If you frequently have low intensity fires, tar and creosote may be deposited in the chimney. Tar and creosote are highly combustible substances. Thicker layers of these substances might catch fire when the temperature in the chimney increases suddenly and steeply. Therefore it is necessary for the fire to regularly burn very intensely, so that layers of tar and creosote disappear.
Low intensity fires also cause tar deposits on the stove window and door.
When the outside temperature is not very low it is better to burn wood intensely for a few hours instead of having a low intensity fire for long period of time.
After the wood has been burnt, a relatively small amount of ashes is left over. This bed of ashes is a good insulating layer for the bottom of the fire compartment and improves combustion. Therefore, you can leave a thin layer of ashes on the bottom of the fire compartment.
However, the air supply through the bottom of the fire compartment must not be impeded and no ash should be allowed to accumulate behind a cast iron inner plate. Therefore, remove any excess ash frequently.
The ash should never reach the underside of the grate.
This will cause the grate to overheat and be damaged.
- Open the ash door of the appliance.
Control the air supply with the secondary air inlet.

The secondary air inlet not only supplies air to
the fire but to the glass as well, so that it did not get dirty so quickly.
- With appliance 750GH: remove the ash removal port and use the supplied scraper to sweep the excess ash into the ash pan..
Remove the ash pan using the "cold hand" provided and empty the ash pan; see next figure.
- Open the primary air inlet for the time being if the air supply by the secondary air inlet is inadequate or if you want to fan the fire.
It is better to add a small amount of logs regularly than to add many logs at the same time.
Regularly adding small amounts of brown coal briquettes or anthracite coal is better than adding a large amount of brown coal briquettes or anthracite coal at once.
Extinguishing the fire

Do not add fuel and just let the fire go out. If a fire stall the ash pan and close the ash door of the damped down by reducing the supply of air, harmful appliance.
substances will be produced and released. Therefore,
let the fire go out naturally. Keep an eye on the until it has gone out. When the fire has died completely, all air inlets can be closed.
Fog and mist
Fog and mist hinder the flow of flue gases through the flue. Smoke can blow back and cause a stench. If it is not strictly necessary, it is better not to use the stove in foggy and misty weather.
Solving problems
Refer to the appendix "Diagnostic diagram" to solve any problems in using the appliance.
Maintenance
Follow the maintenance instructions in this chapter to keep the appliance in good condition.
Chimney
In many countries, people are legally required to have their chimney checked and maintained.

The insulating vermiculite inner plates may develop hairline cracks, but that does not affect their performance adversely.

Cast-iron inner plates go a long way if you frequently remove the ash that may pile up behind them. If accumulated ash behind a cast-iron plate is not removed, the plate cannot dissipate the heat anymore to its surroundings and that may cause the plate to warp or crack.

Never use the appliance without the fireresistant inner plates.
Removing the baffle plate
At the beginning of the heating season: have the chimney swept by an expert.
The baffle plate is secured with a bolt located between the rear connection and the secondary air duct. The
During the heating season and after the chimney has not been used for a long time: have the chimney checked for soot deposits.
bolt is fixed to the baffle plate.
After the heating season: seal off the chimney with a ball of paper.
- Remove the nut on the rear side; see the following figure.
Cleaning and maintenance

Do not clean the appliance when it is still warm.
Clean the exterior of the appliance with a dry lint-free cloth.
At the end of the heating season, you can clean the interior of the appliance thoroughly:
If necessary, first remove the fire-resistant inner plates.
If necessary, clean the air supply ducts.
- Remove the baffle plate at the top of the applian and clean it. See the chapter "Installation" for instructions on removing and installing the baffle plate.

Checking fire-resistant inner plates
The fire-resistant inner plates are consumables and subject to wear. Check the fire-resistant inner plates frequently and replace them when necessary.
- Pull the baffle plate forwards so that the bolt comes free from the rear side.
- Remove the baffle plate via the front door.
See the chapter "Installation" for instructions on removing and installing the inner plates.
Cleaning glass
-
Dirt clings less easily to well-cleaned glass. Proceed as follows:
-
Remove dust and loose soot with a dry cloth.
- Clean the glass with stove window cleaner:
a. Apply stove window cleaner to a kitchen sponge, rub down the entire glass surface give the cleaning agent time to react.
b. Remove the dirt with a moist cloth or kitchen tissue.
- Clean the glass again with a normal glass clean product.
- Rub the glass clean with a dry cloth or kitchen tissue.
Do not use abrasive or aggressive products to clean the glass.
Wear household gloves to protect your hands.
If the glass in the appliance is broken or cracked, it must be replaced before you can use the appliance again.
Make sure that no stove window cleaner runs between the glass and the cast-iron door.
Maintaining enamelled fire
Never clean the appliance when it is still hot. The enamelled surface of the fire can be cleaned most
effectively with a mild green soap and lukewarm
water. Use as little water as possible, rub the surface
dry and prevent the formation of rust. Wire wool or Check that the door is properly closed and adjust the other abrasives should never be used. Never placeacking cam as necessary.
kettle directly onto an enamelled fire; use a stand and
prevent damage from occurring.
Lubrication
Although cast-iron is slightly self-lubricating, you will still have to lubricate moving parts frequently.
Lubricate the moving parts (such as guide systems, hinge pins, latches and air slides) with heat resistant grease that is available in the specialist trade.
Touching up damaged paint
dSmall areas of damaged paint finish can be touched up with a spraying can of special heat-resistant paint to finish available from your supplier.
Touching up the enamelled surface
Enamelling is a process carried out by traditional and methods, meaning that it is possible that small colour differences and damage may occur. The appliances undergo a visual inspection in the factory, that is to say, the inspector looks at the surface for a period of 10 seconds from a distance of 1 metre.
Any damage that does not stand out is regarded as OK. A special heat-resistant paint is supplied along with the apparatus, with which minor damage caused during transport can be touched up.
Apply the heat-resistant paint in thin layers and leave to dry well before using the appliance.
Checking the seal
Check whether the sealing rope of the door is still in good condition and works well. The sealing rope is subject to wear and needs to be replaced in time.
Check the appliance for air leaks. Close any chinks with stove sealant.
Let the sealant harden fully before you start a fire in the appliance, because otherwise any moisture in the sealant will form bubbles in the sealant and cause a new air leak.
Re-adjusting the locking cam
Check that the door is properly closed and adjust the locking cam as necessary.
- Slide the heat shield up and lift up the under side of the heat shield from the positioning tabs on the side wall of the appliance; see following figure.

- Tip away the heat shield on the under side of the appliance and let the shield fall so that it comes loose from the pin on the under side of the top plate; see following figure.

-
The adjustable locking cam is now accessible. Unscrew the bolts 2x M6 and adjust the locking cam. After that, tighten the screws.
-
Replace the heat shield by following the instructions for the removal of the heat shield in reverse order.
Adjusting the door
Check that the door is properly closed and adjust the locking cam as necessary.
- Open the door; the hinge is now visible and accessible.
- Unscrew the two bolts M8 (A) and then screw the two adjustment screws (B) in or out until the door correctly meets the front; see following figure.

- Tighten the bolts (A) again and close the filling door.
Adjusting the air slider
If the air slider (C) of the secondary air inlet does not move easily, you can adjust the air slider using the two screws (A) and (B) in the front plate; see following figure.

Appendix 1: Technical data
| Model 750GH | |
| Nominal output 9 kW | |
| Flue connection (diameter) 150 mm | |
| Weight +/- 175 kg | |
| Recommended fuel Wood | |
| Fuel property, max. length wood 50 cm | |
| Fuel Wood | |
| Mass flow of flue gases 7.8 g/s | |
| Temperature increase measured in measuring section 311 K | |
| Temperature measured downstream from the flue spigot | 417 °C |
| Minimum draught | 12 Pa |
| CO emission (13%Q) | 0,09 % |
| NOx emission (13%Q) | 142 mg/Nm3 |
| CnHm emission (13%Q) | 107 mg/Nm3 |
| Particulate emission | 33 mg/Nm3 |
| Particulate emission in accordance with NS3058-NS3059 | 8.28 gr/kg |
| Efficiency | 75,8 % |
| Model 750GM 750GM 750GM | |||
| Nominal output 9 kW | |||
| Flue connection (diameter) 150 mm | |||
| Weight +/- 175 kg | |||
| Recommended fuel Wood | |||
| Fuel property, max. length wood 50 cm | |||
| Fuel Wood Brown coal briquettes Anthracite coal | |||
| Mass flow of flue gases | 6.9 g/s | 6.7 g/s | 8.1 g/s |
| Temperature increase measured in measuring section | 337 °K | 347 °K | 316 °K |
| Temperature measured downstream from the flue spigot | 394 °C | 400 °C | 367 °C |
| Minimum draught | 12 Pa | 12 Pa | 12 Pa |
| CO emission (13%2) | 0,19 % | 0,10 % | 0,07 % |
| NOx emission (13%2) | 75 mg/Nm3 | 133 mg/Nm3 | 110 mg/Nm3 |
| CnHm emission (13%2) | 152 mg/Nm3 | 32 mg/Nm3 | 40 mg/Nm3 |
| Particulate emission | 11 mg/Nm3 | 26 mg/Nm3 | 13 mg/Nm3 |
| Efficiency | 75,5 % | 75,8 % | 76,1 % |
Appendix 2:Measurements
750GH / 750GM



09-00062-000_750GH-GM
Appendix 3: Distance from combustible material
750GH and 750GM - Minimum distances in millimetres

| * Protective (insulated) connection pipe | |
| Combustible material | |
| Incombustible material, thickness 100 mm | |
750GH and 750GM - Dimensions of fireproof protective plate

Minimal dimensions of fireproof protective plate
| A (mm) | B (mm) | |
| Din 18891 500 300 | ||
| Germany 500 300 | ||
| Finland 400 100 | ||
| Norway 300 100 |
Appendix 4: Diagnostic diagram
| Problem | ||||||
| ● | Wood does not keep burning | |||||
| ● | Gives off insufficient heat | |||||
| ● | Smoke emissions into the room when adding wood | |||||
| ● | Fire in appliance is too intense, is hard to adjust | |||||
| ● | Deposit on the glass | |||||
| Possible cause Possible | solution | |||||
| ● | ● | ● | ● | Insufficient draught | A cold flue usuallyfails to create sufficient draught. Follow the instructions for lighting in the "Use" chapter; open a window. | |
| ● | ● | ● | ● | Wood too damp Use wood with no more | more than 20% moisture. | |
| ● | ● | ● | ● | Pieces of wood too big | Use smallpieces of kindling. Use split logs no larger than 30 cm in circumference. | |
| ● | ● | ● | ● | ● | Wood stacked up incorrectly | Stackup the wood in a way that allows an adequate air flow between the logs (open stacking, see "Burning wood") |
| ● | ● | ● | ● | Chimney does not work properly | Check whether the chimney meets the requirements: at least 4 metres high, right diameter, well insulated, smooth inside, not too many bends, no obstructions in chimney (bird'snest, too much soot deposit), hermetically tight (no chinks). | |
| ● | ● | ● | ● | Chimney stack incorrect Sufficiently high | high above the roof, no obstacles in its vicinity | |
| ● | ● | ● | ● | ● | Air inlets set incorrectly Open the air | inletscompletely. |
| ● | ● | ● | ● | Appliance connected to chimney incorrectly | Connection should be hermetically tight. | |
| ● | ● | ● | ● | Vacuum in area where appliance is installed | Switch off extraction systems. | |
| ● | ● | ● | ● | Insufficient supply of fresh air | Provide an adequate air supply; if necessary use connection to outside air. | |
| ● | ● | ● | ● | Adverse weather conditions? Inversion (reversed air flow in chimney because of a high outside temperature) extreme wind velocities | We recommend you don't use the appliance in the case of inversion. Install an extra hood on the flue to increase the draught if need be. | |
| ● | Draught in the living room | Avoid draught in the living room, do not place the appliance near a door or heating air ducts. | ||||
| ● | Flames touch the glass | Make sure the wood does not lie too close to the glass. Slide the primary air inlet cover closer to the "Closed" position. | ||||
| ● | Appliance isleaking air Check the door seals and the appliance joints. | |||||
Index
A
Adding anthracite coal.12. brown coal briquettes.12
Adding fuel.12
Adding wood smoke emissions into the room.22....
Air inlets.10 adjusting.15
Air leak 14
Air supply for fire.12
Ash pan open.12
Ashes remove.12
B
Baffle plate removing 13
Brown coal ash 11
burning. 11
Brown coal briquettes 9
Burning adding fuel 11 anthracite coal.11. brown coal briquettes.11
Burning wood 10
add fuel 12
adding logs 10
appliance is hard to adjust 22
fire is too intense 22
insufficient heat 13, 22
C
Carpet 6
Cast-iron inner plates. 9
Chimney height 5
sweep 13
Chimney connection rear side 8 upper side.8
Chinks in appliance 14
Clean glass 14
Cleaning appliance 13
Coal anthracite coal 9 ash content. 9
Combustible material distance from 20
Connection measurements. 19
Connection collar 8 fitting. 8
Connection to chimney rear side 8 upper side 8
Control air supply. 12
Cover 8
Cover on flue. 5
Creosote 12
D
Damp wood 9
Door adjusting 15 fastening 15 sealing rope 14
Door lock adjusting 14
Draught.17-18
Drying of wood 9
E
Efficiency 17-18
F
Filling height 11
Finishing coat, maintenance. 14
Fire extinguishing 12 lighting 9
Fire-resistant inner plates maintenance 13
Fire-resistant inner sheets warning 9
Fire going out. 12
Fire safety
distance from combustible material. 20...
floor.6
furniture 6
walls.6
Floors
fire safety.6.
load bearing capacity 6
Flue
connection diameter.17-18
connection to.8
maintenance 13
requirements.4
Flue gas
mass flow.17-18
Flue gas opening.8.
shutting off 8
Fog, do not burn wood..12
Fuel
adding 12
adding wood 11
anthracite coal 9
brown coal 9
necessary amount 13
suitable 9
unsuitable 9
wood 9
G
Glass
clean 14
deposit 22
H
Heat shield
making opening. 7
Heat, insufficient....
Heat,insufficient
Hinge
setting 15
Hood on the flue. 5
1
Installation
measurements 19
K
Kindled fire 9
Kindling 22
L
Lighting 9
Load bearing capacity of floor 6
Locking cam
pre-adjusting 14
Lubricant. 14
Lubricate. 14
M
Maintenance
chimney. 13
clean glass 14
cleaning the appliance. 13
fire-resistant inner plates 13
lubrication 14
sealing 14
Measurements. 19
Mist, do not burn wood 12
N
Nominal output 13, 17-18
0
Open
ash pan. 12
P
Paint finish 9
Particulate emission 17-18
Prevent a chimney fire. 12
Primary air inlet 10
R
Removal of ashes 12
Remove ashes 12
Removing ash
brown coal 11
s
Screens
clean 14
deposit 22
Sealing rope for door 14
Secondary air inlet. 10
shutting off 8
Smoke
on first use 9
Smoke emissions into the room.4..22...
Softwood.9
Solving problems.13..22
Stacking logs.10
Storing wood.9
Stove window cleaner.14
Suitable fuel.9
Supply of outside air.5
connection ta. 8
Sweep chimney.
T
Tar 12
Temperature. 17-18
Temperature increase
measuring section. 17-18
U
Unsuitable fuel 9
V
Ventilation. 5
rule of thumb 5
Ventilation louvre. 5
W
Walls
fire safety. 6
Warning
cast-iron inner plates 9
chimney fire 4,9,12
combustible materials 4
fire-resistant inner plates. 9
glass broken or cracked 4, 14
hot surface 4
regulations 4
stove window cleaner. 14
terms and conditions for insurance 4
ventilation. 4-5
Weather conditions, do not burn wood. 12
Weight 17-18
Wood 9
damp 9
does not keep burning 22
drying. 9
right sort 9
storing 9
Table des matieres
Introduction 3
Bois 9 conservation. 9
essence adaptée 9
mouille. 9
Raccordement dimensions
Pose
dimensions 19
Calor, insufficiente 13, 22
EasyManual