GW14763 - Termostato Gewiss - Manual de uso y guía de instrucciones gratis
Encuentra gratis el manual del aparato GW14763 Gewiss en formato PDF.
Preguntas de los usuarios sobre GW14763 Gewiss
0 pregunta sobre este aparato. Responde a las que conoces o haz la tuya.
Hacer una nueva pregunta sobre este aparato
Descarga las instrucciones para tu Termostato en formato PDF gratis! Encuentra tus instrucciones GW14763 - Gewiss y toma tu dispositivo electrónico nuevamente en la mano. En esta página están publicados todos los documentos necesarios para el uso de su dispositivo. GW14763 de la marca Gewiss.
MANUAL DE USUARIO GW14763 Gewiss
Saltare al punto P09.

ADVERTENCIAS GENERALES
Contenido del embalaje 94
DESCRIPCION GENERAL
En breve 95
Posicion de los mandos 96
Descripción mandos 97
Modalidad de control 98
Modalidad de funciona 98
INSTRUCCIONES DE EMPLEO
Programacion paramedos 100
Réset y reajuste de los valeurs preprogramados 110
Forzado temporal de la temperatura 110
Parámetros preprogramados 111
Comportamento a la caía y al reajuste de la alimentación bus 112
Sustitución bateria. 113
Limpieza del termostato 114
INSTRUCCIONES DE INSTALLACION
Correcto positionalamento 115
Montaje de la base de soporte 115
Advertencias para la instalacion KNX/EIB 116
Conexiones electricas 117
Inicializacion con unidad base Easy 118
Finalizacion 119
Programacion con unidad base Easy 119
DATOS TECNICOS 122
ADVERTENCIAS GENERALES
jAtencion! La seguridad del aparato está garantizada solo si se respetan las instrucciones ahora indicadas. Por lo tanto esnecessary leerlas y conservarlas. Los productos Chorus deben instalarse conforme a lo previsto por la norma CEI 64-8 para los aparatos para uso domestico y similar, en ambientes sin polvo y donde no sea necesaria una proteccion especial contra la penetracion de agua.
La organized de vente GEWISS se incluye a disposicion para informaciones技术icas.
Gewiss SpA se reserva el derecho de aportar Cambios al producto descririto en este manual enequalquiermomento ysin preaviso.
Containido del embalaje
El Termostato Easy - de pared permite controlar la temperatura del ambiente en la que se ha instalado. La regulación de la temperatura se efectúa controlando, a工程技术 del bus KNX/EIB del sistema de Home Automation, los actuadores KNX/EIB que controlan los elementos de calentimiento o acondicionamento, incluidos los fan-coil.
En unión con el Cronotermostat Easy - de pared (GW 10 761 - GW 14 761), del cui recibe mediante bus el tipo y modalidad de funciona bajo el termostato permite realizar instalaciones de termorregulación multizona. Los values de set-point realizados por el termostat son los programados localmente. El termostato prevé:
- 2 temas de funciona: calefaction y acondicionamento;
- 4 modalidades de funciona: OFF, Económico, Preconfort y Confort;
- 4 temperatas de regulacion para el calentimiento (Teconomico, Tprecomfort, Tcomfort, Tantihielo);
- 4 temperatas de regulacion para el acondicionamento (Teconomico, preconfort, Tcomfort, Tproteccion_altas Temperatas);
- 3 algo-rimos de control, se pueda selectionar localmente: de 2+puntos (mando ON/OFF), PI (control de tipo PWM) y control de las velocidades de un fan coil (automatico o manual).
El termostato está alimentado desde la linea bus y está dotado de una pantalla LCD con retroiluminacion temporizada, 5 pulsadores de mando, un sensor integrado para la deteccion de la temperatura ambiental (cuyo valor se envia al bus cada 15 minutes), una bateria recargable (incluida) para el mantenimiento de la fecha y hora visualizada en la pantalla (en caso de caida de la tension bus).
Los canales de salute del termostato peuvent ser configurados para:
- enviar el mando ON/OFF a actuadores KNX/EIB (máx 2) que controlan los elementos de calefacción/acondicionamento;
- regular la velocidad del fan-coil (máx 3 velocidades);
- transmitir las programaciones (como y modalidades de funciona) y los datos corriere (temperatura medida) a otros dispositivos, por exemple el indicator remoto GSM.
Los canales de entrada del termostato peuvent ser configurados para:
- programar desdecontrolremoto,conotrosdispositivosKNX/EIB (porejemplo el cronotermostat o elindicadorremotoGSMEasy) tipo y modalidaddefunacionamiento deltermostat;
- controller escenarios, asociando a un escenario una modalidad y un tipo de funciona;
- controlar una sealsilacion en entrada, por exemple un contacto de aperture planta, para apagar temporalmente el termostato.
El dispositivo se instala en la pared realizando la brida suministrada, que pueda fjarse al muro con tacos o atornillarse encima de una caja empotrable redonda o cuadrada.
DESCRIPCION GENERAL
Posión de los mandos
El termostato está dotado de una pantalla LCD retroiluminada y de cinco pulsadores de mando siempre accesibles.

DESCRIPCION GENERAL
Descripción mandos
PULSADORES DE MANDO Simbolo Pág.
1 Regulación velocidad fan coil FAN 100
② Regulación temperatura (+) / Sección parámetros 110
3 SeLECTION modalidad funcional / confirmacion 98
4 Regulación temperatura (-) / Sección parámetros 110
5 Programacion parametros SET 100
SEÑALIZACIJNES EN LA PANTALLA
6 Modalidad de funciona del fan coil conectado AUTO
7 Modalidad de funciona manual del fan coil conectadoAN
8 Termostat en modalidad de funciona 0FF
Modalidad de funciona velocidad OFF fan coil activa velocidad1
velocidad 2
velocidad 3
10 Activación calefacción
11 Activación acondicionamento
Diferencial termico
13 Set-point temperatura - Modalidad de funciona T. Te T
14 Día de lapellana
15 Reloj
16 Funcionamento en calefaction
17 Funcionamento en acondicionamento
18 Habilitación mandos desde controlremoto
19 Unidad de medida temperatura ^ C / ^ F
20 Temperatura ambiente medida
21 Programación parámetros SET
Modalidad de control
El termostato pueda programarse en 2 différentes modalidades de control:
- Slave: el funciona depende del dispositivo configurado como Master (por exemple el cronotermostat EIB Easy GW 10 761), que programa tipo y modalidad de funciona del termostat. En esta modalidad el termostat usa los set point programados localmente. Es possible cambio el set-point de temperatura programado (variación max ± 3°C),@msteadas no es possible cambiar la modalidad de funciona. El set-point modificado permanecerá正值 hasta que el dispositivo Master no envie una nuevo modalidad de funciona.
- Stand alone: tipo y modalidad de funciona del termostato se programan localmente. El funciona no depende de ningún(other dispositivo. En la modalidad Stand-alone es possible variar el set point libremente yHAVilitar el termostato a la recepcion de mandos remotos que provienen de other dispositivos, como por exemple un pulsador o el indicator remotGSM EIB Easy GW 90 861.
Modalidad de funciona
El termostato prevé 4 différentes modalidades de funciona:
ECONOMICO
PRECONFORT
- CONFORT
- OFF/ANTIHIELO / PROTECCION ALTAS TEMPERATURAS
En la modalidad de control STAND ALONE, para conmutar de una modalidad a另一边 se utilizes la tecla
En la modalidad de control SLAVE la tecla no está habitada, ya que la modalidad de funciona el programa desde el dispositivo configurado como Master.

En los functionarios economico, preconfort y comport el cronotermostat aplicata permanente los set point de temperatura correspondentes. En la pantalla aparecen la temperatura ambiente medida y el symbolo T., T: T
DESCRIPCION GENERAL
SIGNIFICADO DE T. T: T
| Simbolo | Calefacción Acondicionamiento | |||
| Set point | Modalidadfuncionamiento | Set point | Modalidadfuncionamiento | |
| T. | TECONOMICO | Economico TCONFORT | Confort | |
| T: | TPRECONFORT | Preconfort TPRECONFORT | Preconfort | |
| T: | TCONFORT | Confort TECONOMICO | Economico | |

El funciona antihielo antihielo es activo solo en calefaction, con la instalacion de termorregulacion apagada (OFF). En este caso el termostato utilizes el set point de temperatura antihielo programado, reactivando la instalacion de caleffacion solo si la temperatura ambiental descende bajo TANTIHIELO.
En la pantalla aparecen la noto OFF y la temperatura ambiente medida.

El funciona proteccion altas temperatas está activo solo en acondicionamento, de instalacion de termorregulacion apagada (OFF).
En este caso el termostato utilizes el set point de proteccion altas temperatas programado, reactivando la instalacion de acondicionamento solo si la temperatura ambiental supra T PROTECCION ALTAS TEMPERATURAS.
En la pantalla aparecen la noto OFF y la temperatura ambiente medida.
INSTRUCCIONES DE EMPLEO
Durante el funciona, laactivacion de la calefaction o del acondicionamento estan signaledas de laforma seguiente:

Calefaction
El símbolo indica que el mando de activación se ha enviado al actuador de mando de la caldera o de la electroválvula de zona.
Si el termostato no recibe del actuador el Reconocimiento de la activacion efectuada, el symbolo empieza a parpadear. Sucesivamente, a cada minuto del reloj, el termostato envia-Newamente el mando de activacion hasta que no recibe un Reconocimiento positivo.

Acondicionamento
El símbolo indica que el mando de activación se ha enviado al actuador de mando del acondicionador o de la electrovalvula de zona. Si el termostato no recibe del actuador el Reconocimiento de la activación efectuada, el símbolo empieza a parpadear. Sucesivamente, a cada minuto del reoj, el termostato envía;nuevamente el mando de activación hasta que no recibe un Reconocimiento positivo.

Funcionamento con control fan coil activo
Si en la programacion de los paramedros se activa el control del fan coil, en la pantalla aparece el symbolo
Presionando repetidamente el pulsador FAN es possible!.
cantar la velocidad del fan coil o programar la modalidad AUTO, en la cuales la velocidad del fan coil se regula automatically segun la diferencia entre el set point programado en el dispositivo y la temperatura medida. El indicator de la velocidad del fan coil programada parpadea cuando el ventilador está activo.
Configuración parámetros
Para programar los parámetros del termostato presionar la tecla SET. En la pantalla aparece lanota SET y el símbolo con el tipo de funciona bajo programado (calefaction o acondicionamento) empieza a parpadear.
INSTRUCCIONES DE EMPLEO
Es possible programar los siguientes parámetros:
| Tipo de funciona (calefacción/acondicionamiento) |
| Día de la/semana |
| Horas |
| Minutos |
| Unidad de medida temperatura |
En este momento, según el tipo de funciona,[10] es possible modifier en secuencia:
| Calefacción Acondicionamiento | |
| P01calef. - Set Point P01acond - Set Point | T- |
| P02calef. - Set Point P02acond - Set Point | T: |
| P03calef. - Set Point P03acond - Set Point | T: |
| P04calef. - Set Point TANTIHELO P04acond | - Set Point TPROTECCION ALTAS TEMPERATURS |
| P05 - Lógica de control P05 - Lógica de control | |
| P06 - Tiempo de ciclo P06 - Tiempo de ciclo | |
| P07 - Valor diferencial de regulación PWM | P07 - Valor diferencial de regulación PWM |
| P08 - Valor diferencial de regulación ON/OFF | P08 - Valor diferencial de regulación ON/OFF |
| P09 - Modalidad de control P09 - Modalidad de control | |
| P10 - Habitación control remoto P10 - Habitación control remoto | |
Para desplazar la secuencia, confirmando el valor del parámetro visualizo, presionar la tecla hasta que no aparezca el parámetro que se desea modificar.
Laitters del procedimiento de programacion de los paramedos se efectua presionando neutramente la tecla SET o, automatistically, afterwards 30 segundos desde la ultima vez que ha pulsado.
Para programar los parámetros de calefacción y acondicioncimiento es必須o efectuar ambas secuencias (en la segunda secuencia se pueda confirmar los parámetros iguales, modificando solo los espécíficos).
INSTRUCCIONES DE EMPLEO

Selección calefaction/acondicionamento
Cuando el的概率, parpada, es possible seleccionar el tipo de funciona con las teclas . Para confirmar la seleccion, presionar la tecla antes de 30 segundos.

Configuración del día de la hora
Cuando la barra del día de la peninsula parpadea, seleccionar el día corriente con las teclas (lunes=1, martes=2, domingo=7).
Para confirmar el valor programado, presionar la tecla antes de 30 segundos.

Configuración de la hora
Cuando las cifras de la hora parpadean, programar la hora con las teclas
Para confirmar el valor programado, presionar la tecla antes de 30 segundos.

Configuración de los Minutes
Cuando las cifras de los Minutes parpadean, programar los关键时刻 con las teclas
Para confirmar el valor programado, presionar la tecla antes de 30segundos.

Configuración unidad de medida temperatura
Cuando el símbolo °C o °F de la temperatura empieza a parpadear, selecciónar launidad de medida de la temperatura con las teclas AV
Para confirmar el valor programado, presionar la tecla antes de 30 segundos.

ISTRUCCIONES DE EMPLEO

P01calef. - Configuración Set Point (calefacción)
Cuando aparezca el símbolo T el valor de temperatura empezará a parpadear. Regular el valor deT (T ECONOMICO) con las teclas
Para confirmar el valor programado, presionar la tecla antes de 30segundos.

P01acond - Configuracion Set Point T (acondicionamento)
Cuando aparezca el símbolo, Te valor de temperatura empezará a parpadear. Regular el valor de (TCONFORT) con las teclas A
Para confirmar el valor programado, presionar la tecla antes de 30segundos.

P02calef. - Configuración Set Point (calefaction)
Cuando aparezca el símbolo Te valor de temperatura empezará a parpadear. Regular el valor de T= (TPRECONFORT) con las teclas A V
Para confirmar el valor programado, presionar la tecla antes de 30segundos.

P02acond - Configuración Set Point T= (acondicionamento)
Cuando aparezca el símbolo Te valor de temperatura empezará a parpadear. Regular el valor de PRECONFORT) con las teclas AV Para confirmar el valor programado, presionar la tecla antes de 30 segundos.
INSTRUCCIONES DE EMPLEO

P03calef. - Configuración Set Point (catefacción)
Cuando aparezca el significo valor de temperatura empezar a parpadear. Regular el valor de (T CONFORT) con las teclas
Para confirmar el valor programado, presionar la tecla antes de 30segundos.

P03acond - Configuracion Set Point (acondicionamento) Cuando aparezca el symbolo, Te valor de temperatura empezará a parpadear. Regular el valor de T (TECONOMICO) con las teclas AV
Para confirmar el valor programado, presionar la tecla antes de 30segundos.

P04calef. - Configuración valor temperatura antihielo
Cuando aparezca el símbolo 12 el valor de temperatura empezará a parpadear. Regular el valor de la temperatura antihielo con las teclas
Para confirmar el valor programado, presionar la tecla antes de 30segundos.

P04acond - Configuración valor protección altas temperatas
Cuando aparezca el símbolo, el valor de temperatura empezará a parpadear. Regular el valor de la temperatura protección altas temperatas con las teclas Para confirmar el valor programado, presionar la tecla ^© antes de 30segundos.
jATENCION!
Entre los values de set point existen los siguientes vinculos.

INSTRUCCIONES DE EMPLEO

P05 - Lógica de control
Cuando aparece lanota P 05,programar la lógica de control de la instalación de termorregulación con las teclas. (00 = control de 2+puntos,01 = control proportional (PWM),02 = control fan coil)
Para confirmar el valor programado, presionar la tecla antes de 30segundos. Se pueda programar lógicas de control differsente para calefacción y acondicionamiento. Si se ha elegido el control de 2+puntos o el control fan coil saltar al punto P08,para el control proportional ir al punto P06.
CONTROL DE 2 PUNTOS
La instalación de termorregulación se desactiva cuando la temperature ambiente es equivalente a set point y se reactiva cuando:
- la temperatura es equivalente o inferior a set point
- para la calefaction;
- la temperatura es equivalente o superior a set point + para el acondicionamento.
Los graficos que siguen muestran dos temas de funciona.
CALEFACING

Paraatarvenirascommutaciones,eltermostatopuedeesperarha2minutosanpestedeenviarelmando deactivacionalactuadorquecontrola lainstalaciondetermorregulacion.
INSTRUCCIONES DE EMPLEO
CONTROL PROPORCIONAL (PWM)
La banda proportional (de set point a set point - T para la calefacción, de set point a set point + para el acondicionamento) se divide en quatre zonas iguales. El termostato controla, al final de cada tiempo de ciclo, la temperatura ambiente y, según la diferencia detectada, modula la proportión de los mandos ON y OFF transmitidos durante el tiempo de ciclo. Los graficos que siguen demuestran el comportamento del control proportional en calefacción y en acondicionamento.

ACONDICIONAMIENTO

INSTRUCCIONES DE EMPLEO
CONTROL FAN COIL
Cuando la temperatura alcanza el valor set point en calefacción), o set point + (en acondicionamento), se envía un mensaje de ON para la activación del fan coil en el tipo de funcionacho selección y un mensaje de ON para el encendido del ventilador del fan coil mismoa velocidad V1. Con el set point -2 (en calef.) o setpoint +2 en acond.) se activa la velocidad V2, de setpoint-3 (en calent.) o set point +3 (en acond.)se activa la velocidad V3.
ventilador apagado


ventilador apagado
INSTRUCCIONES DE EMPLEO
Para evaporar continuas commutaciones, el termostato可以选择 esperar hasta 2 horas antes de enviar el mando de activacion al actuator que controla la instalacion de termorregulacion o a los canales del actuator que controlan la velocidad del fan coil.

P06 - Configuración de tiempo de ciclo
Cuando aparece lanota P06,programar la longitud del tiempo de ciclo con las teclas .Los posibles valores son: 5,10,20,30,40,50,60 minutes. Se pueda programar tiempos de cicloVRTentes para calefacion y acondicionamento. Para confirmar el valor programado,presionar la teclaantes de 30 segundos.

P07 - Configuración valor diferencial de regulación PWM
Cuando aparezca el símbolo P07, programar el valor del diferencial de regulación PWM con las teclas AV Se pueda programar valores diferencias de regulación PWM发展模式 para calefacción y acondicionamiento. Para confirmar el valor programado, presionar la tecla antes de 30 segundos.
Saltar al punto P09.

P08 - Configuración diferencial de regulación para control de dos+puntos o fan coil
Cuando aparezca el símbolo programar el valor del diferencial de regulación con las teclas AV Para confirmar el valor programado, presionar la tecla antes de 30segundos.
El diferencial de regulacion es la desviacion entre el setpoint programado y la temperatura efectiva de activacion. Se pueda programar differencias de regulacion differentes para calefacion y acondicionamento. Salvo situaciones particulares, se aconsejamanter los values previamente programados.
INSTRUCCIONES DE EMPLEO

P09 - Configuración modalidad de control
Cuando aparece lanota P09,programar la modalidad de control del termostato con las teclas (OO = SLAVE, 01 = STAND ALONE)
Para ulteriores informaciones ver el parágrafo Modalidad de control.
Si se ha elegido la modalidad SLAVE la programacion se ha terminado. Presionar la tecla SET para volver al funciona normal.
Si se ha elegido la modalidad STAND ALONE作為 al punto P10.

P10 - Habilitación de los controlles remotos
Cuando aparece lanota P10,habilitar o deshabilitar los mandos remotos con las teclas (OFF = mandos remotos deshabilitados,ON = mandos remotos habilitados)
La habilación está SIGNALada en la pantalla por el symbolo.
La habilación de los mandos remotos permite programar desde controlremoto el tipo y la modalidad defuncioncimiento, por ejemplo mediante el indicatorremoto GSM EIB Easy (GW 90 861).
La programación se ha terminado. Presionar la tecla SET para volver al funciona normal.
Forzado temporal de la temperatura
En las modalidades de funciona AUTO Economico, Preconfort y Confort es possible forzar temporalmente el set point de temperatura activo, utilizing las teclas para programar el valor deseado. Confirmar el valor presionando la tecla o esperar 5 segundos.

Laactivación del forzado se indica en la pantalla por el parpadeo del symbolo TToTTe Enel caso de modalidad de control SLAVE,la variación de la temperatura del set-point se limita a una variación de ± 3^ y permanece activa hasta la recepcion de una nuevo modalidad por el dispositivo Master.
Résey reajuste de los valeurs preprogramados
Presionando contemporáneamente las teclas FAN y SET durante 2 seguidos, con el dispositivo alimentado desde la tension bus, se efectúa el reajuste completo del termostato.
Atencion: todos los paramedos programados se anularan.
Cuando se enciende de nuevo, el termostato vuye a utiliser los parámetros pre programados en la fabrica. El termostato se pone en calefaction, en la modalidad OFF.
INSTRUCCIONES DE EMPLEO
Parámetros preprogramados
Día de la hora 1: lunés
Hora 00:00
Set point temperatura de calefaction T1 16 °C
T2 18°C
T3 20°C
TANTHIELO 5^
Set point temperatura T1 24 °C de acondicionamento T2 26 °C
T3 28°C
TPROTECCION ALTAS TEMPERATURAS 35 °C
Unidad de medida temperatura ^ C
Lógica de control 2+puntos
Diferencial de regulación Calefacción 0,2^ control de 2 punto Acondicionamento 0,5^
Diferencial de regulación control proportional 1,6 °C
Tiempo de ciclo 20关键时刻
Modalidad de control Slave
INSTRUCCIONES DE EMPLEO
Comportimiento a la caía y al reajuste de la alimentación bus
Al caer la alimentacion bus, el dispositivo no vale a cabo ningunaersion.
Hora y Fecha se mantienen desde la alimentacion tampón (bateria recargable),@msteadas que lasdemasprogramaciones se conservan en una memoria no volatil.
Con alimentación suministrada exclusivamente por la bateria se Tiene una autonomía de 36 horas en las siguientes conditiones:
- visualización hora activa;
- medida y visualización temperatura no activa (aparecen guiones);
retroiluminación no activa; - teclas frontales no activas (excluyendo la presión contemporánea de FAN y SET).
En ausencia de la alimentacion bus la presion contemporanea de FAN y SET durante 2 segundos provoca la desconexion, internamente al dispositivo, de la bateria recargable.Esta func tion se utilize para preservar la eficiencia de la bateria cuando el dispositivo no se utilizes durante un长大o periodo. La bateria se desconnecta;nuevamente,de modo automatico, cuando el dispositivo recibe la alimentacion desde el bus.
Los programas ajustados no se pierden en caso de ausencia de la alimentacion bus ni en caso de desconexion de la bateria.
El dispositivo es Completely operativo Dentro máximo 5segundos desde el reajuste de la alimentacion bus.
En ausencia o desconexión de la alimentación tampón (bateria recargable), al reajuste de la alimentación bus el termostato se reactiva en modalidad OFF.
INSTRUCCIONES DE EMPLEO
Sustitución bateria
Quitar el tornillo de fijación, que se encuesta debajo del dispositivo, y desenchufar el termostato de la base de soporte, siguiendo la secuencia ilustrada en la figura.


Extraer la tapa de cierre de la cavidad bateria y cambiar la bateria recargable con other del mesmo tipo (ML1120) respetando las polaridades indicadas.

INSTRUCCIONES DE EMPLEO
Volver a enganchar el termostato en la base de soporte, siguiendo la secuencia ilustrada en la figura y fijarlo;nuevamente con el tornillo colocado bajo del dispositivo.


ATENCIón
- Si el termostato no ha sido alimentado por el bus durante la sustitución de la bateria, volver aactualizar Fecha y hora.
- No tire la bateria al fuego.

- Las pilas son desechos especials, cada eliminación está reglamentada por(PCasdispositionesdeley,ydeben serconferidasaloscentros especials de recogida.
Limpieza del termostato
Para limpar el termostato utiliser un paño seco.
INSTRUCCIONES DE INSTALLACION

ATENCION: La instalacion del dispositivo debe efectuarse exclusivamente por personalriallicado,siguiendo la normativa vigente y las lineas guia para las instalaciones KNX/EIB.
Correcto posicionamento
Para la correcta detectacion de la temperature del ambiente a controlar, el termostato no debe ser instalado en recintos, circa de puertas o ventanas, al lado de calefactores o acondicionadores y no debe ser golpeado por corrientes de aire y por la iluminacion solar directa.

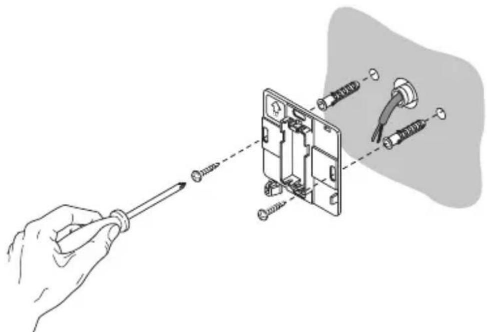
Montaje de la base de soporte
La base de soporte se colocá a una alta desde tierra de 160 cmapproximadamente y pueda fjarse directamente a la pared, con tacos o encima de una caja redonda o cuadrada de 2 unidades (con intereje orificios 60~mm
Montaje con tacos

INSTRUCCIONES DE INSTALLACION
Montaje en caja redonda (o cuadrada)

Advertencias para la instalacion KNX/EIB
- La longitud de la linea bus entre el termostato Easy y el alimentador no debe superar los 350 metros.
- La longitud de la linea bus entre el termostato Easy y el más lejano dispositivo KNX/EIE a dirigir no deben superar los 700 metros.
- Para evaporar senales y sobretensiones no deseadas, si es possible no de vida a circuitos de anillo.
- Mantener una distancia de al menos 4 mm entre los cables individualmente aislados de la linea bus y los de la linea electrica.

- No dañé el conductor de continuaidad electrica del blindaje.

INSTRUCCIONES DE INSTALLACION

ATENCION: los cables de senal del bus no realizados y el conductor de continua Electrica no deben nunca tocar elementos bajo tension o el conductor de tierra.
Conexiones electrolyicas

Esquema de las conexiones electricas
- Antes de proceder a la connexion al bus KNX/EIB, introducir la bateria recargable para la memoria tampón (ver parágrafo Sustitución bateria).
- Conectar el cable rojo del cable bus a la borna roja (+) del terminal y el cable negro a la borna negra (-). Al terminal bus se pueda conectar hasta 4 lineas bus (cables del mesmo color en la mesma Borna).

- Aislar la pantalla, el conductor de continua electrica y los cables blanco y amarillo del cable bus (en el caso de que se utilizes un cable bus de 4 conductores), que no son necessarios.
INSTRUCCIONES DE INSTALLACION
- Introducir la borna bus en los pies especialicos del dispositivo. El sentido correcto de insertion está determinado por las guías de*fijación.

Inicialización con unidad base Easy
- Alimentar el dispositivo a工程技术 del bus y esperar 5seguidos hasta que sea Completely operativo.
-
Consequir el dispositivo del systema con uno de los siguientes procedimientos:
-
Adquisión automatica (el dispositivo tiene aún las programaciones de fabrica): -kaar en la unidad base Easy el menu "Aplicación → Nueva direccion" o "Aplicación → Editor direccion": el dispositivo se reconoce automatistically.
- Adquisión manual (las programaciones de fabrica se han modificado): - elegir en la unidad base Easy el menu "Aplicación →Buscar dispositivo"; - presionar brevamente (< 2segundos) la tecla de programación. El LED de programación se iluminará durante el proceso de adquisión.

El dispositivo adquirido desdela unidad base Easy se indica con el numero asignado en los canales de los menos "Aplicacion Nueva direccion" o "Aplicacion Editar direccion".
INSTRUCCIONES DE INSTALLACION
Finalizacion
Volver a enganchar el termostato en la base de soporte, siguiendo la secuencia ilustrada en la figura y fijarlo con el tornillo suministrado.


Programación con unidad base Easy
Programar el termostato mediante la unidad base Easy (código GW 90 831).
El canal del termostato, a utiliser en la función que se desea create, pueda ser seleccionado a elección:
- presionando contemporáneamente las teclas , durante un tiempo >5 segundos para activar la modalidad de programación. Seleectionar el canal que sedea utilizing con las teclas, confirmando la elección con la tecla:el canal correspondiente se resaltará en la lista de los canales de los menos "APLICación Nueva direccion" o "Alicacion Editar direccion" Para saber de la modalidad deprogramacion presionar contemporaneamente las teclas ;
- directamente de la lista de los canales de los nombres "Aplicación → Nueva direccion" o "Aplicación → Editoraring".
INSTRUCCIONES DE INSTALLACION
Los canales disponibles en la modalidad de programación son:

StS (Status - Estatus)
A utiliser para enviar a dispositivos remotos (por ejemplo el indicatorremoto GSM EIB Easy-GW 90 861):
- modalidad y tipo de funciona;
- temperatura medida (cada 15 horas o en cada variación). En launidad base el canal se indica como "ClimStatus X.2".

A utiliser para enviar el mando ON/OFF a los actuadores KNX/EIB que controlan la instalación de calefaction. En launidad base el canal se indica como "Cmd+info X.3".

CdC (Command Cooling - Mando refrigeración)
A utiliser para enviar el mando ON/OFF a los actuadores KNX/EIB que controlan la instalación de acondicionamiento. En launidad base el canal se indica como "Cmd+info X.4".

Cd1 (Command 1 - Velocidad 1 fan coil)
A utiliser para enviar el mando ON/OFF al canal del actuador que controla la velocidad 1 del fan coil. En launidad base el canal se indica como "Cmd+info X.5".

Cd2 (Command 2 - Velocidad 2 fan coil)
A utiliser para enviar el mando ON/OFF al canal del actuador que controla la velocidad 2 del fan coil. En launidad base el canal se indica como "Cmd+info X.6".

Cd3 (Command 3 - Velocidad 3 fan coil)
A utilizes para enviar el mando ON/OFF al canal del actuador que controla la velocidad 3 del fan coil. En la unidad base el canal se indica como "Cmd+info X.7".
INSTRUCCIONES DE INSTALLACION
Nota bene. Los canales Cd1, Cd2 y Cd3 se deben usar solo en el caso de uso del termostato en la modalidad de control fan coil.
En la 创建ación de las失落as arriba indicadas no esnecessary selecciónar una失落a función en la unidad base puis el enlace está créé automatistically.

SLA (Slave)
Autilizarparaprogramar:
- desde control remoto, conthersdispositivos KNX/EIB, el tipo y la modalidad de functonamento del termostato. Ejemplos de dispositivos realizables son el indicator remoto GSM EIB Easy, el panel de mando y visualizacion Easy, la interfaz contactos 4 canales Easy etc;
- la modalidad OFF del termostato, con prioridad en los demásmandos, si se recibe la senalización de ventsa abierta. Con la senalización de ventsa cerrada el termostato vuelve en la modalidad de funciona bajo precedente o en la delultimate mando recibido durante el uso OFF;
- la memorización de escenarios, max 8: el termostato memoriza el tipo y la modalidad de funciona bajo y el set point corrientes. En launidad base el canal se indica como "ClimSlave X.1".
En caso de combinacion entre el canal "slave" y la interfaz contactos 4 canales (GW 90 834) se proponen, en la unidad base, las siguientes unidades.
| Nombres de las unidades en la unidad base Easy | |
| frentes mando gestion frentes (por contacto ventsa) | |
| escenario mando de gestión de escenarios | |
| modo climatización para termorregulación (modalidad) |
Para ulteriores informaciones en los procedimientos de programacion hagase referencia a la documentoacion de la unidad base Easy.
DATOS TÉCNICOS
Comunicación Bus KNX/EIB
Alimentación Mediente bus KNX/EIB, 29 V cc SELV
- 1 bateria recargable tipo ML1220 3 V para la
actualización Fecha/hora en caso de ausencia
tensión bus
AbsorciOn corriente desde el bus 5 mA
Elementos de mando 5 pulsadores frontales
Elementos de visualización 1 PDT retroiluminada de LED
(temporizada con la intervencion del usuario)
1 LED rojo de programación
Intervalo de visualización 0 ÷ +45^ C
temperatura
Elementos de medida 1 sensor NTC
resolución de medida: 0,1 °C
exactud medida: ± 0,5^ de 20^ intervalo
entre medidas sucesivas: 1 minuto
Intervalos de regulacion T antihielo: +2÷ +7^
temperatas T proteccion altas temperatas: +30÷ +40^
Otros set point: +5 ÷ +40^ C
Ambiente de uso Interno, lugares secs
Temperatura de funciona -5 ÷ +45^ C
Temperatura de almacenaje -25÷+70°C
Humedad relativ Max 93% (no condensante)
Conexión al bus Borne de conexión, 2 pin 0 1 mm
Grado de proteccion IP20
Dimisión (B x H x P) 85 x 95 x 23 mm
Referencias normativas Directiva sobre baja tensión 2006/95/CE
Directiva compatibilidad electromagnética 89/336/CEE
Certificaciones KNX/EIB
INHALTSVERZEICHNIS
Seite
ALLGEMEINE HINWEISE
Packungsinhalt 124
ManualFácil