ML 8810 - Impresora matricial OKI - Manual de uso y guía de instrucciones gratis
Encuentra gratis el manual del aparato ML 8810 OKI en formato PDF.
| Título | Descripción |
|---|---|
| Tipo de producto | Impresora matricial de 24 agujas |
| Resolución de impresión | 240 x 216 dpi |
| Velocidad de impresión | 550 caracteres por segundo (cps) en modo de alta velocidad |
| Alimentación eléctrica | AC 220-240V, 50/60Hz |
| Dimensiones aproximadas | 400 x 350 x 200 mm |
| Peso | Alrededor de 5,5 kg |
| Compatibilidades | Compatible con Windows, Linux y Mac OS |
| Tipo de conectividad | USB, paralelo y serie |
| Funciones principales | Impresión de documentos, facturas e informes |
| Mantenimiento y limpieza | Limpieza regular de las cabezas de impresión y de los rodillos |
| Piezas de repuesto y reparabilidad | Piezas disponibles para el mantenimiento y la reparación |
| Normas de seguridad | Cumple con las normas CE y RoHS |
| Garantía | 1 año de garantía del fabricante |
Preguntas frecuentes - ML 8810 OKI
Descarga las instrucciones para tu Impresora matricial en formato PDF gratis! Encuentra tus instrucciones ML 8810 - OKI y toma tu dispositivo electrónico nuevamente en la mano. En esta página están publicados todos los documentos necesarios para el uso de su dispositivo. ML 8810 de la marca OKI.
MANUAL DE USUARIO ML 8810 OKI
Resumen de instalación
Desempaque 23
Configurar la impresora 24
Hacer prueba de autoverificacion . . .29
Cargue papel 29
Conexión a la computadora 32
Paso1:
Desempaque
Verificar el contenido
Si falta algo n componente,pongase en contacto de inmediato con su distribuidor.

1 Impresora
2 Apiladora
3 Cable de alimentación
4 Cartucho de cinta
No se muestra en el gráfico: documentoación
Requisitos de空間
Cologne la impresora sobre una superficie plana y estable.
Verificar si existe suficiente espacio para realizar la instalacion:
Ancho: 90 cm (35,4")
Profundo
- Detrás de la impersonora: 60 cm (23,6")
- En fremte de la impresora: 32 cm (12,6")
-
General: 153 cm (60,2")
-
Alto: 46 cm (18") minimo
Requisitos ambientales
- Temperatura de funciona: 5 a 40^ C (41 a 104^ F )
- Humedad: 30 a 85% RH
Documentación
Su impresora trae lasuma documentacion:
- esta Guía de Instalación
Cómo preparar la impressora para su funciona.
- Folleto con información sobre Seguidad y Regulaciones
Información sobre seguridad importante,adelmas de información sobre regulaciones generales (FCC,
Energy Star, IC, etc.) y la Ficha de Seguridad de los Materiales de la cinta.
Componentes de la impresora Vista de frente

1 Cartucho de cinta
7 Perilla de la platina
2 La guía de papel
8 Interruptor de alimentación
3 Plataforma de hojas
9 Panel
4 Soporte de hojas
10 Apiladora
5 Cabezal de la impresora
11 Cubierta
6 Panel de control
Vista posterior

1 Apiladora
3 Puerto paralelo
2 Conector de alimentacion
4 Puerto USB
Paso 2: Configurar la impresora
Retire la sujeción de envío del CZal de impresión
- Abra la taps utilizing los asideros en todos los días.

- Retire laophilia plastica protectora del panel.

- Incline el panel de visualización hacíaasted.

- Saque la sujeción de envío (1).

Nota
Conserve las sujeciones y los materiales de empaque en caso de que necesite enviar la impresora.
- Empujé el panel de visualización hacía su posición original.

- Cierre la tapa.

Instale el cable de alimentación de energia
- Asegúrese de que el interruptor de la impresora está apagado (OFF).

- Instale el cable de alimentacion en la parte posterior de la impresora.

- Enchufe elOTHERextremo en un tomacorriente conectado a tierra apropiado.
Instalación del cartucho de cinta
- Encienda la impresora.
El brazal de impresión se levanta, se mueve hacía la izquierda, luego se coloca en el centro y se detiene.

- Apague la impresora antes deAbrir la cubierta.

iAdvertencia! Asegúrese de que la impersona está apagada antes de partir la tapa.
- Abra la cubierta.

- Asegúrese de que el CZal de impresión está centroidro (ubicado en "Ribbon set position" [Posición para colocar cinta]).

- Desempaque el cartucho de cinta y retire las piezas de proteccion (1).

- Abra las extensiones de la cinta en algunos lados del cartucho hasta que calculen en su lugar.

- Incline el panel de visualización hacíaasted.

- Observe la clavija negra (1) sobre cada se coloca la perilla de la cinta, y las guías (2) – una en cada extremo - en las que se colocan las extensiones de la cinta.

- Coloque las extensiones de la cinta (1) en las guías (2), Coloque la perilla tensora (3) sobre la clavija, luego presionefirmamente el cartucho en ambos lados.

- Saque un poco la cinta en el extremo izquierdo del cartucho para aflojarla, bajo deslice la cinta debajo del CZe巳al de impresion. Asegurese de que la cinta no quede doblada ni que se salga de las extensiones de la cinta durante el proceso.

- Asegúrese de que la cinta pase por las hendiduras en cada extension de guía de la cinta.

iPrecaución! Siempre gire la perilla de la cinta en sentido horario: si lo gira en sentido contrario (antihorario) la cinta pueda atascarse.
- Gire la perilla de la cinta en sentido horario (en la direccion indica por la flecha moldeadas) para tensarrialquier holgura que tengla cinta.

- Empuje el panel de visualización hacía su posición original.

- Cierre la tapa.

iPrecaución!
Si la taps no cierra con fácilad, no la fuerc. Es possible que el extremo derecho del cartucho de cinta no este colocado correctamente. Abra la tapa y colóquelo en su lugar.
Instale el Apilador
Con elazo plano hacla impresora y elazo corrugado hacia arriba,deslice el apilador en los
canales en también lados del apoyo, empujándolo tdo lo que se pueda.

Retire la película protectora
Retire la película plástica protectora que se encuesta sobre parte transparente de la taps.

Paso 3:
Hacer prueba de autoverificacion
Antes de continuar, haga una prUEba de autoverificacion para constatar que la impresora funciona correctamente. Al hacerlo se imprime una lista de las fuentes disponibles.
- Apague la impresora.
- Mantenga presionado MODE y LF cuando escribe la impresora. Suéltelos cuando aparezca el mensaje RELEASE SW en la segunda linea del panel.
- Cuando la impresora termina de iniziarse, la pantalla le indica que debe cargar papel..
- Coloque una hoja:tamañopapel o mas grande en la plataforma enequalquier parte de "Paper range when Auto Align is ON" (Lugar para papel cuando la Alineación Automática estáactivada).

La impresora alimenta la hora. Se imprime la prueba y la hora es devuelta a la plataforma. La prueba de autoverificacion está lista.

Paso 4:
Cargue papel
Hojas individuales/Formularios ("MANUAL")
La impresoraiene configurada de la fabrica para
- hojas individuales/formularios (Alimentacion manual)
- Modo Auto Align (Auto Alineación)
- separación del CZ de impresión automatico (Auto Gap [Auto Separación])
Especillas del papel, para utilizes con el modo Auto Align (Auto Alineacion)
Márgenesolestimosdeimpresión
14 pulgadas (6,4 mm) en todos los bordes
Hojas individuales
- Tamaño
- Ancho minimo: 100 mm (3,9")
- Ancho máximo: 364 mm (14,3")
- Largo minimo: 70 mm (2,8")
- Largo máximo: 420 mm (16,5")
- Peso
- Minimo: 13,8 lb. US Bond (52 g/m²)
- Maximo: 55,8 lb. US Bond (210 g/m²)
Formularios multipartes individuales
Tamaño
- Ancho minimo: 100 mm (3,9")
- Ancho máximo: 364 mm (14,3")
- Largo minimo: 70 mm (2,75")
- Largo(Maximo: 420 mm (16,5")
Grosor
- Hasta 8 formularios multicopia (original + 7)
- Con un grosor máximo de: 0,48 mm (0,0189")
Cargar hojas individuales/Formularios
- Extienda hacía afuera los soportes de hojas (1) yuya la guía de hojas (2) todo lo possible hacía la derecha (la distancia que pueda recorrer la guía de hoja es limitada).

- Coloque una hoja:tamañopapel o mas grande en la plataforma enequalquier parte de "Paper range when Auto Align is ON" (Lugar para papel cuando la Alineación Automática estáactivada).

La hora seonga en posicion para imprimir, y es alineada automatically con el trayecto de impresion.
Formularios continuos ("FRONT (Delantera)")
Especillasiones
Ancho
- Minimo: 102 mm (4")
-
Maximo: 406 mm (16")
-
Formularios de grosor individual
-
Peso: 14 a 34 lb. US Bond (52,6 a 128g / m^2 )
-
Formularios de varias partes: Alimentador de orugas delantero
-
Hasta 8 formularios multicopia (original + 7)
-
Con un grosor(Maximo de: 0,48 mm (0,0189")
-
Formularios de varias partes: Alimentador de orugas trasero optional
-
Hasta 6 formularios multicopia (original + 5)
- Con un grosor máximo de: 0,36 mm (0,0142")
Configurar la impresora para imprimir formas continuas

- Si hay una hoja cargada en la plataforma, retírela.
- Con la impresora encendida, presione SEL para colocar la impresora fuera de linea.
- Presione MODE una o dos veces hasta que aparezca el mensaje FRONT en la?). linea del panel.
La impresora cambia de trayecto y se coloca en estado en linea. El mensaje FRONT aparece en lasegunda linea del panel.
Nota
Para volver a la alimentación de hojas sueltas, siga los mismos pasos, presionando MODE varias vezes hasta que el mensaje MANUAL aparezca en la?).
la?).
Cargue papel continuo
- Empuje hacía adentro los soportes de hojas y levante la plataforma de alimentación de hojas.

-
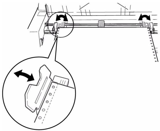
Levante la palanca de cierre de la oruga izquierda, bajo que la oruga izquierda a la posicion adecuada para el margen izquierdo de impresion..
-
Lamarca▼ en la regla (1) -o el centro del hueco con forma de diamante (2) -representa el centro donde se imprime el primerarácter.
Nota
El movimiento de la oruga de arrastre izquierda se limita a asegurar de que el papel cubra el detector de falta de papel.

-
Empuje la palanca de cierre hacer bajo para fazer la oruga en su lugar.
-
Levante la palanca de cierre (1) de la oruga derecha (2) y deslice la oruga para ajurarla al ancho de las hojas continuas que tiene cargadas. Centre el soporte del papel (3) entre las dos orugas.

- Abra ambas tapas de las orugas y colque los primeros tres huecos de las hojas continuas sobre las clavijas.

iImportante!
Asegúrese de que mismo número de huecos estánsutilizados en ambas orugas.De lo contrario, el papel se atasará.

- Cierre las cubiertas de alimentadores y posicione con exactitud la oruga de arrastre derecha para centrar los agujeros del papel en las espigas de ambas orugas, bajo empujé hacer進一步 la palanca de bloqueo.

- Baje la plataforma.
- Coloque la pila de hojas continuas más abajo de la impersonora de眼看 que quede alineada con ella con un margen máximo de desplazamente hacía los lados de 3 cm (1 pulgada) (1).

Cómo(desprenderlas hojascontinuas
- Con el indicator SEL encendido, presione SHIFT. Las formas continuas avanzan hacía el apilador.
- Desprendera la hoja continua impresa a lo长大o de la linea perforada.

- Presione SHIFT.
El formulario vuye a entrada en la impresora y queda lista para imprimir.
Cómo retirar las hojas continuas
- Siga las instrucciones anteriores para retirar la parte impresa.
- Presione SEL.
- Presione LOAD.
- El formulario se desliza con las orugas..
- Levante la plataforma y retire el formulario de las orugas.
- Baje la plataforma.
Paso 5:
Conexión a la computadora
iPrecaución!
No connecte el puerto USB y el puerto paralelo al mesmo tiempo.
Puerto USB
Nota
No se suministra el cable de interfaz USB con la impersonora. Use un cable USB compatible con las specifications 2.0 de USB
- Apague la impresora.
- Conecte el cable USB al puerto USB de la impresora.

- Fije el cable en uno de los canales de sujeción (1) en uno de los extremos del chasis en la parte posterior de la impressora para que no estorbe.

- onecte el cable USB al puerto USB de la computadora.

- Encienda la impresora..
Puerto paralelo
Nota
La impresora no trae un cable paralelo. Utilice un cable paralelo bidireccional blindado, compatible con IEEE-1284 de una longitud maximizinga de 6 pies (1,2 m).
- Apague la impresora.
- Conecte el cable paralelo al puerto paralelo de la impersona y sujételo con los ganchos de metal.

- Fije el cable en uno de los canales de sujeción (1) en uno de los extremos del chasis en la parte posterior de la impresora para que no estorbe.

- Conecte el cable paralelo al puerto paralelo de la computadora y sujételo con los tornillos.

- Encienda la impresora.
Querto de red (Solamente el Modelo 8810n)
Nota
No se suministra un cable Ethernet® con la impresora. Utilice un cable Ethernet con dos pares de hilos trenzados y un enchufe RJ45.
El servidor de impresión de red es del tipo 10/100 Base-T Ethernet.
Tramas
- IEEE 802.3 y 802.3
- Ethernet-II
- SNAP
-
Auto Detector
-
Protocolos de red
-
TCP/IP
-
IPX/SPX (NetWare)
-NetBEUI -
Funciones
-
Autodiagnostico
- Impresión de banner
- Configuración con el navegador Web
- Notification por correo electrónico del estado de la impresora.
Para mayor informacion, vea la Guia del Nombre en linea del CD que viene con su impresora for more information.
Para conectar el puerto Ethernet
- Apague la impresora.
- Conecte un extremo del cable Ethernet al puerto 10/100B en la parte posterior de la impressora.
- Conecte el otro extremo del cable Ethernet de red.
- Remova a película de plástico protetora do panei do display.

- Incline o paine do display para frente.

Retire a película protetora
O procedimento de autodiagnosticismo está conclusido.
Etapa 4:
Colocação do papel
-
Empurre a alavanca de trabajo para baixo para prender o tracionador esquerdo no lugar.
-
Levante a alavanca de trabajo (1) dotramacion direito (2) e mova otramacion paraque se alanhe com a largura do formulariocontinuo que está送去 utilizado. Centralize osupporte para papel (3) entre osdos trazonadores.

ManualFácil