ML 8810 - Imprimante matricielle OKI - Notice d'utilisation et mode d'emploi gratuit
Retrouvez gratuitement la notice de l'appareil ML 8810 OKI au format PDF.
| Intitulé | Description |
|---|---|
| Type de produit | Imprimante matricielle 24 aiguilles |
| Résolution d'impression | 240 x 216 dpi |
| Vitesse d'impression | 550 caractères par seconde (cps) en mode haute vitesse |
| Alimentation électrique | AC 220-240V, 50/60Hz |
| Dimensions approximatives | 400 x 350 x 200 mm |
| Poids | Environ 5,5 kg |
| Compatibilités | Compatible avec Windows, Linux et Mac OS |
| Type de connectivité | USB, parallèle et série |
| Fonctions principales | Impression de documents, factures et rapports |
| Entretien et nettoyage | Nettoyage régulier des têtes d'impression et des rouleaux |
| Pièces détachées et réparabilité | Pièces disponibles pour la maintenance et la réparation |
| Normes de sécurité | Conforme aux normes CE et RoHS |
| Garantie | 1 an de garantie constructeur |
FOIRE AUX QUESTIONS - ML 8810 OKI
Téléchargez la notice de votre Imprimante matricielle au format PDF gratuitement ! Retrouvez votre notice ML 8810 - OKI et reprennez votre appareil électronique en main. Sur cette page sont publiés tous les documents nécessaires à l'utilisation de votre appareil ML 8810 de la marque OKI.
MODE D'EMPLOI ML 8810 OKI
Sommaire de l'installation
Déballage 12
Installe l'imprimante 13
Effectuer un autodiagnostic. 18
Chargement du papier 18
Connexion à l'ordinateur 21
Vérifiez le contenu
Si des éléments sont manquants, avertissez immédiatement votre revendeur.
Étape 1: Déballage
1 Imprimante 2 Empileuse 3 Cordon d'alimentation 4 Cartouche de ruban
Non illustrée : Documentation
Exigences d'espace
Placez l'imprimante sur une surface stable et solide.
Assurez-vous d'avoir assez d'espace pour l'installation :
Largeur:90cm(35,4") Profondeur
- derrière l'imprimante : 60 cm (23,6")
- avant l'imprimante : 32 cm (12,6")
- générales : 152,9 cm (60,2")
- Hauteur : 45,7 cm (18") minimum
Exigences environnementales
- Température de fonctionnement : 5 à 40°C (41 à 104°F)
- Humidité : 30 à 85% RH
Documentation
Votre imprimante est dotée des documentation suivantes :
- Ce Guide d'installation
Pour installer et mettre rapidement votre imprimante à l'œuvre.
- Livret sur les informations de sécurité et de réglementation.
Informations sur la sécurité importantes, ainsi que les informations réglementaires générales (FCC, Energy Star, IC, etc.) et la fiche technique santé-sécurité pour le ruban.
- Le Guide de l'utilisateur, un fichier PDF Acrobat situé sur le CD inclus avec l'imprimante.

Information sur les modes d'impression, caractéristiques telles que le détachement de formulaires et l'espacement automatique, le réglage de haut de page, utilisation des réglages par défaut de l'imprimante, dégagement des bourrages, etc.
Composants de l'imprimante vue frontale

1 Cartouche de ruban 7 Bouton d’entraînement 2 Guide-papier d'alimentation 8 Interrupteur 3 Plate-forme feuille 9 Panneau d'affichage 4 Support de papier 10 Empileuse 5 Tête d'impression 11 Couverture 6 Panneau de commande
Vue arrière

1 Empileuse 3 Port parallèle 2 Prise 4 Port USB
Retirez l'élément d'emballage protégeant la tête d'impression
- Ouvrez le capot en saisissant les poignées de chaque côté.

- Décollez le film plastique de l'affichage

- Inclinez le panneau d'affichage vers vous.

- Retirez l'élément d'emballage protégeant la tête d'impression(1).

Remarque
Conservez tous les éléments protecteurs et d'emballage au cas où vous auriez besoin d'expédier l'imprimante.
- Repoussez le panneau d'affichage à sa position d'origine.

- Fermer le capot

Installation du cordon d'alimentation
- Assurez-vous que l'imprimante est hors tension :

- Branchez le cordon d'alimentation à l'arrière de l'imprimante.

- Branchez l'autre extrémité du cordon à une prise murale mise à la terre.
Installation du ruban
La tête d'impression se soulève, se déplace vers la gauche puis revient au centre et s'arrête.

- Éteignez l'imprimante avant d'ouvrir le capot.

Avertissement! Nous préconisons la mise hors circuit de l'imprimante préalablement à l'enlèvement du capot de celle-ci.
- Ouvrez le capot.

- Vérifiez si la tête d'impression est centrée (à la position Ribbon Set [réglage du ruban]).

- Déballez le ruban et retirez les verrous (1).

- Tirez les bras de chaque côté du ruban vers l'extérieur jusqu'à ce qu'ils s'enclenchant en place.

- Inclinez le panneau d'affichage vers vous.

- Notez l'ergot noir (1) sur lequel se pose le bouton de la cartouche de ruban, ainsi que les guides (2) – un à chaque extrémité – sur lesquels se posent les bras de la cartouche de ruban.

- Passez les bras de la cartouche de ruban (1) à côté des guides (2) et placez le bouton de bobinage de la cartouche (3) sur l'ergot, puis enfoncez fermement la cartouche à chaque extrémité.

- Tirez légèrement le ruban à l'extrémité gauche de la cartouche pour obtenir un peu de jeu, puis glissez le ruban sous la tête d'impression. Prenez garde de ne pas tordre le ruban, le plier ou le sortir des bras de la cartouche lors de l'installation.

- Veillez à ce que le ruban soit bien enfilé dans l'encoche de chacun des guides de bras de la cartouche.

Attention! Tournez toujours le bouton de bobinage du ruban dans le sens horaire : le tourner dans le sens inverse (vers la gauche) peut entraîner le bourrage du ruban.
- Tournez la molette dans le sens horaire (indiqué par les flèches moulées) pour tendre le ruban.

- Repoussez le panneau d'affichage à sa position d'origine.

- Fermer le capot.

Attention!
Si le couvercle ne se ferme pas facilement, ne le forcez pas : l'extrémité droite de la cartouche de ruban n'est pas correctement installée dans l'imprimante ; ouvrez le capot et replacez la cartouche correctement. Puis fermez le volet.
Installation de l'empileuse
Glissez la trieuse dans les rainures à chaque extrémité du support avec le rebord plat vers l'imprimante et le
côté dépoli vers le haut et en l'insérant aussi loin que possible.

Retirez la pellicule protectrice
Enlevez la pellicule protectrice qui se trouve sur la fenêtre du couvercle.

Effectuer un autodiagnostic
Avant de continuer, effectuez un autodiagnostic pour vérifier si l'imprimante fonctionne correctement. Cette fonction imprime la liste des polices disponibles.
- Éteignez l'imprimante.
- Maintenez appuyez MODE et LF enfoncée tout en la rallumant que RELEASE SW (relâchez l'interrupteur) s'affiche sur la deuxième ligne de l'écran.
- À la fin de l'initialisation de l'imprimante, l'affichage vous demandera d'insérer le papier.
- Placez une feuille de format lettre ou plus grand sur la plate-forme n'importe où dans la zone Paper range when Auto Align is On (plage de papier lorsque la fonction d'auto-alignment est activée).

La feuille est alimentée. L'essai s'imprime et la feuille est retournée à la plate-forme.
L'autodiagnostic est terminé.
Feuilles et formulaires individuellement ("MANUAL")
L'imprimante est réglée à l'usine pour
- Feuilles et formulaires individuellement Mode Auto Align (auto-alignment)
- Espacement automatique de la tête d'impression (Auto Gap [l'espacement automatique])
Marges d'impression minimum
6,4 mm (1/4 po) de tous les côtés
Feuille individuelle
- Largeur minimale : 100 mm (3,9 po.) Largeur maximale : 364 mm (14,3 po.)
- Longueur minimale : 70 mm (2,75 po.)
- Longueur maximale : 420 mm (16,5 po.)
Grammage
- Minimale 13,8 lb., bond US (52 g/m²) Maximum: 55,8 lb., bond US (210 g/m²)
Multi-exemplaires
- Largeur minimale : 100 mm (3,9 po.) Largeur maximale : 364 mm (14,3 po.)
- Longueur minimale : 70 mm (2,75 po.)
- Longueur maximale : 420 mm (16,5 po.)
Épaisseur
- Formulaires en huit exemplaires maximum (origine + 7)
- Épaisseur maximale : 0,48 mm (0,0189 po.)
Chargement des feuilles et formulaires simples
- Écartez les supports de papier (1) et déplacez le guide-papier (2) aussi loin que possible vers la droite (la portée du guide-papier est limitée).

- Placez une feuille de format lettre ou plus grand sur la plate-forme n'importe où dans la zone Paper range when Auto Align is On (plage de papier lorsque la fonction d'auto-alignment est activée).

La feuille s'ajuste en position d'impression et s'aligne automatiquement afin qu'elle soit à l'équerre avec le trajet d'impression.
Spécifications
Largeur
- Minimum: 102 mm (4 po.) Maximum: 406 mm (16 po.)
- Formulaires à une épaisseur
- Plage de grammages : 52.6 à 128 g/m² (bond US de 14 à 34 lb.)
- Multi-exemplaires : Tracteur d'alimentation avant
- Formulaires en huit exemplaires maximum (origine + 7)
- Épaisseur maximum : 0.48 mm (0.0189 po.)
- Multi-exemplaires : Tracteur d'alimentation arrêté en option
- Formulaires en six exemplaires maximum (origine + 5)
- Épaisseur maximale : 0.36 mm (0.0142 po.)
Configurez l'imprimante pour du papier en continu

- Si une feuille est déjà sur la plateforme, enlevez-la.
- Lorsque l'imprimante est sous tension, appuyez sur SEL pour mettre l'imprimante hors ligne.
- Appuyez plusieurs fois sur MODE jusqu'à ce que FRONT (avant) s'affiche sur la deuxième ligne de l'écran.
L'imprimante change de trajet et revient en ligne. FRONT s'affiche sur la deuxième ligne de l'affichage.
Remarque
Pour revenir à l'alimentation de feuilles individuelles, suivez les mêmes étapes, en appuyant à plusieurs reprises sur MODE jusqu'à ce que MANUAL s'affiche sur la deuxième ligne de l'affichage.
Chargement du papier en continu
- Poussez les supports de papier vers l'intérieur et soulevez la plateforme d'alimentation de papier.

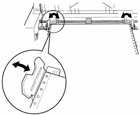
- Soulevez le levier de verrouillage du tracteur gauche, puis déplacez le tracteur gauche pour régler la marge gauche voulue.
- e l'emplacement du centre du premier caractère imprimé.
Remarque
Le mouvement du tracteur gauche est limité pour s'assurer que le papier couvre le capteur de fin de papier.

- Rabaissez le levier de verrouillage pour verrouiller le tracteur gauche en place.
- Soulevez le levier de verrouillage (1) du tracteur droit (2) et déplacez le tracteur pour correspondre à la largeur du formulaire en continu que vous utilisez. Centrez le support (3) entre les tracteurs.

- Ouvrez le couvercle des deux tracteurs et placez les trois premiers trous du formulaire papier en continu sur les ergots.

Important!
Veillez à ce que le même nombre de trous soit engagé sur chaque tracteur. Sinon, le papier se bourrera.

- Rabattez les volets d’entraîneur. Déplacez le tracteur de droite de façon à centrer les perforations du papier par rapport aux picots, puis abaissez le levier de verrouillage.

- Abaissez doucement la plate-forme.
- Placez la pile de formulaires en continu sous l'imprimante avec un décalage d'au moins 3 cm (1 po) (1).

Détachement des formulaires en continu imprimés
- Avec le témoin SEL allumé, appuyez sur SHIFT. Les formulaires en continu avancent vers le pileur.
- Déchirez le formulaire imprimé le long des perforations.

- Appuyez sur SHIFT.
Les formulaires font marche arrière dans l'imprimante et sont prêts pour la prochaine impression.
Dépose des formulaires en continu
- Suivez les étapes ci-dessus pour enlever la partie imprimée.
- Appuyez sur SEL.
- Appuyez sur LOAD.
Les formulaires font marche arrière sur les tracteurs.
- Soulevez la plate-forme et enlevez les formulaires des tracteurs.
- Abaissez doucement la plate-forme.
Attention!
Ne branche pas les ports USB et parallèles en même temps.
Remarque
L'imprimante est livrée sans câble d'interface USB. Utilisez un câble USB compatible avec la norme USB 2.0.
- Éteignez l'imprimante.
- Connectez le câble USB au port USB de l'imprimante.

- Fixez le câble dans une des rainures (1) moulées dans le boîtier de chaque côté du dos de l'imprimante pour les garder à l'écart.

- Connectez le câble USB au port USB de l'ordinateur.

L'imprimante est livrée sans cable d'interface parallele. Un cable bidirectionnel blindé conforme IEEE-1284 de 6 pieds (1,2 m) maximum est requis.
- Éteignez l'imprimante.
- Connectez le câble parallèle au port parallèle de l'imprimante et fixez le connecteur à l'aide des clips métalliques.

- Fixez le câble dans une des rainures (1) moulées dans le boîtier de chaque côté du dos de l'imprimante pour les garder à l'écart.

- Connectez l'autre extrémité au port parallèle de l'ordinateur et fixez-le en place au moyen de vis.

Remarque
Votre imprimante n'est pas livrée avec un câble Ethernet®. Utilisez un câble Ethernet doté de deux paires de fils torsadés et d'une fiche RJ45.
Le serveur d'imprimante réseau est Ethernet 10/100 Base-TX.
- Frame Types
- IEEE 802.3 et 802.3
- Ethernet-II
- SNAP
- Auto Detect
Protocoles réseau
- TCP/IP
- IPX/SPX (NetWare) - NetBEUI
- Types de trame
- IEEE 802.3 et 802.3
- Ethernet-II
- SNAP
- Auto Detect (Détection auto)
- Protocoles réseau
- TCP/IP
- IPX/SPX (NetWare) - NetBEUI
- Fonctions
Autodiagnostic - Bannière prise en charge - Configuration par navigateur Web - Notification par courriel de l'état de l'imprimante
Pour plus d'informations, consultez le Guide de l'utilisateur en ligne sur le CD fourni avec l'imprimante.
Pour brancher le port ethernet
- Éteignez l'imprimante.
- Branchez une extrémité du câble Ethernet dans le port 10/100BASE-T au dos de l'imprimante.
- Connectez l'autre extrémité du câble Ethernet au port réseau.
Notice Facile